Нормативные документы размещены исключительно с целью ознакомления учащихся ВУЗов, техникумов и училищ.
Объявления:

ГОСТ 19127-73*

МЕЖГОСУДАРСТВЕННЫЙ СТАНДАРТ

НАКЛАДКИ ДВУХГОЛОВЫЕ К РЕЛЬСАМ
ТИПОВ Р43

Конструкция и размеры

ИПК ИЗДАТЕЛЬСТВО СТАНДАРТОВ

Москва

МЕЖГОСУДАРСТВЕННЫЙ СТАНДАРТ

НАКЛАДКИ ДВУХГОЛОВЫЕ К РЕЛЬСАМ ТИПА Р43

Конструкция и размеры

Double-headed fish plates for P43 rails.

Design and dimensions

ОКП 11 3100

ГОСТ
19127-73*

Взамен ГОСТ 4133-54
в части накладок
к рельсам типа Р43

Утвержден Постановлением Государственного комитета стандартов Совета Министров СССР от 14 сентября 1973 г. № 2157. Срок введения установлен

с 01.01.75

Ограничение срока действия снято по протоколу № 4-93 Межгосударственного Совета по стандартизации, метрологии и сертификации (ИУС 4-94)

* Переиздание (август 1998 г.) с Изменением № 1, утвержденным в июне 1985 г. (ИУС 9-85)

1. Настоящий стандарт распространяется на стыковые двухголовые накладки к железнодорожным рельсам типа Р43.

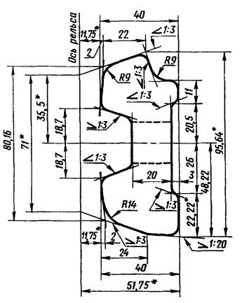
2. Конструкция и размеры накладок должны соответствовать указанным на черт. 1 (расчетные данные указаны в приложении).

Черт. 1

* Размеры для справок

Черт. 2

* Размеры для справок

3. Исполнения накладок и расположение болтовых отверстий с наружной стороны накладок должны соответствовать указанным на черт. 2.

Выбор исполнения накладок устанавливается по согласованию между изготовителем и потребителем.

Условное обозначение накладки к рельсам типа Р43 исполнения 1:

Накладка 1Р43 ГОСТ 19127-73

То же, исполнения 2.

Накладка 2Р43 ГОСТ 19127-73.

(Измененная редакция, Изм. № 1).

4. Радиусы закруглений, не указанные на чертеже, выполняются размером 2-6 мм.

5. Предельные отклонения по размерам накладки в миллиметрах должны соответствовать указанным ниже:

По размерам болтовых отверстий со стороны продавливания........... ±0,5

По смешению отверстий от номинального расположения................. ±1,0

По высоте.................................................................................................. ±0,5

По толщине шейки................................................................................... ±0,8

По длине................................................................................................... ±4,0

Высота накладки проверяется шаблоном по опорным поверхностям.

6. Размеры, на которые не установлены предельные отклонения, в готовых накладках не контролируются, но должны обеспечиваться технологией с точностью до ±1,0 мм.

7. Технические требования - по ГОСТ 4133-73.

ПРИЛОЖЕНИЕ

Справочное

РАСЧЕТНЫЕ ДАННЫЕ

Площадь поперечного сечения проката, см2....................... 26,65

Расстояние до центра тяжести, см:

от верха накладки................................................................... 4,92

от низа накладки..................................................................... 4,53

от внешней грани.................................................................... 1,88

Угол наклона осей к горизонту:

главной..................................................................................... -4º 03’

нейтральной............................................................................ 23º 08’

Момент инерции, см4:

относительно центральных осей:

горизонтальной....................................................................... 190,0

вертикальной........................................................................... 27,1

центробежный......................................................................... -11,6

относительно главных осей:

наибольший............................................................................. 190,8

наименьший............................................................................ 26,3

Момент сопротивления, см3:

по верху накладки................................................................... 38,9

по низу накладки.................................................................... 42,1

по внешней грани (наибольший).......................................... 14,4

Масса, кг:

1 м проката.............................................................................. 20,92

накладки исполнения 1.......................................................... 16,01

накладки исполнения 2.......................................................... 9,49

Примечание. Масса определена, исходя из номинальных размеров и плотности стали 7850 кг/м3.

ПРИЛОЖЕНИЕ. (Измененная редакция, Изм. № 1).

2008-2013. ГОСТы, СНиПы, СанПиНы - Нормативные документы - стандарты.