
ГОСУДАРСТВЕННЫЙ СТАНДАРТ СОЮЗА ССР
ПОДКЛАДКИ КОСТЫЛЬНОГО
СКРЕПЛЕНИЯ К РЕЛЬСАМ ТИПА Р43
КОНСТРУКЦИЯ И РАЗМЕРЫ
ГОСТ 7056-77
Москва
ИНФОРМАЦИОННЫЕ ДАННЫЕ
1. РАЗРАБОТАН И ВНЕСЕН Министерством черной металлургии СССР
РАЗРАБОТЧИКИ
Н.М. Воронцов, И.С. Гринь, А.В. Дюбина, Л.Л. Корсун
2. УТВЕРЖДЕН И ВВЕДЕН В ДЕЙСТВИЕ Постановлением Государственного Комитета СССР по стандартам от 09.01.77 № 27
3. ВЗАМЕН ГОСТ 7056-66
4. ССЫЛОЧНЫЕ НОРМАТИВНО-ТЕХНИЧЕСКИЕ ДОКУМЕНТЫ
|
Обозначение НТД, на который дана ссылка |
Номер пункта |
|
ГОСТ 3280-84 |
5. Ограничение срока действия снято по протоколу № 2-93 Межгосударственного Совета по стандартизации, метрологии и сертификации (ИУС 2-93)
6. ПЕРЕИЗДАНИЕ (сентябрь 1998 г.) с Изменением № 1, утвержденным в апреле 1987 г. (ИУС 7-87)
ГОСУДАРСТВЕННЫЙ СТАНДАРТ СОЮЗА ССР
|
ПОДКЛАДКИ КОСТЫЛЬНОГО
СКРЕПЛЕНИЯ Конструкция и размеры The plates of spike fastening for type P43 rails. Construction and dimensions |
ГОСТ |
Дата введения 01.01.78
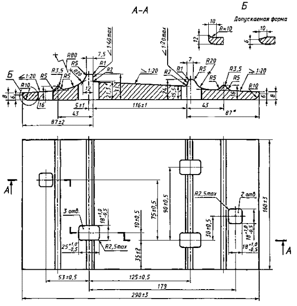
1. Настоящий стандарт распространяется на подкладки Д43 костыльного скрепления к железнодорожным рельсам типа Р43 для путей промышленного транспорта.
Показатели технического уровня, установленные настоящим стандартом, соответствуют требованиям высшей категории качества.
(Измененная редакция, Изм. № 1).
2. Конструкция и размеры подкладок, предельные отклонения по размерам в готовых подкладках должны соответствовать указанным на чертеже.
3. Предельные отклонения по толщине подкладки должны быть не более ±1 мм.
4. Размеры подкладок, для которых не указаны предельные отклонения, не контролируются, но должны обеспечиваться технологией изготовления с точностью ±1 мм.
5. Масса подкладки, исходя из номинальных размеров и относительной плотности стали 7850 кг/м3 - 5,26 кг.
6. Технические требования к подкладкам - по ГОСТ 3280.

* Размеры для справок.
Примечание. Предельные отклонения размеров отверстий указаны со стороны продавливания.
Условное обозначение подкладки типа Д43:
Подкладка Д43 ГОСТ 7056-77