Нормативные документы размещены исключительно с целью ознакомления учащихся ВУЗов, техникумов и училищ.
Объявления:

ГОСТ 9581-80

МЕЖГОСУДАРСТВЕННЫЙ СТАНДАРТ

НАКОНЕЧНИКИ КАБЕЛЬНЫЕ
АЛЮМИНИЕВЫЕ И МЕДНО-АЛЮМИНИЕВЫЕ,
ЗАКРЕПЛЯЕМЫЕ ОПРЕССОВКОЙ

КОНСТРУКЦИЯ И РАЗМЕРЫ

ИПК ИЗДАТЕЛЬСТВО СТАНДАРТОВ

Москва

МЕЖГОСУДАРСТВЕННЫЙ СТАНДАРТ

НАКОНЕЧНИКИ КАБЕЛЬНЫЕ АЛЮМИНИЕВЫЕ И МЕДНО-АЛЮМИНИЕВЫЕ, ЗАКРЕПЛЯЕМЫЕ ОПРЕССОВКОЙ

Конструкция и размеры

Aluminium and copper-aluminium pressfastened thimbles.
Construction and sizes

ГОСТ
9581-80

Дата введения 01.01.83

1. Настоящий стандарт распространяется на алюминиевые и медно-алюминиевые кабельные наконечники, закрепляемые опрессовкой и предназначенные для оконцевания проводов и кабелей с алюминиевыми жилами сечением от 16 до 300 мм2 на напряжение до 35 кВ.

2. Конструкция, основные размеры, условное обозначение с указанием вида климатического исполнения по ГОСТ 15150, коды ОКП, предельные отклонения и расчетная масса алюминиевых наконечников и место нанесения маркировки должны соответствовать указанным на черт. 1 и в табл. 1.

Кабельные наконечники могут изготавливаться с защитным металлическим покрытием Н6 или Ц6 или с покрытием контактной поверхности зажимной части наконечника медью, никелем или цинком, нанесенными способом газодинамического напыления.

(Измененная редакция, Изм. № 1-4).

3. Конструкция, основные размеры, условное обозначение с указанием вида климатического исполнения по ГОСТ 15150, коды ОКП, предельные отклонения и расчетная масса медно-алюминиевых наконечников и место нанесения маркировки должны соответствовать указанным на черт. 2 и в табл. 2.

(Измененная редакция, Изм. № 1, 2).

4. Алюминиевые наконечники и хвостовик медно-алюминиевых наконечников должны изготовляться из круглых тянутых алюминиевых труб марок АДОМ и АД1М по ГОСТ 18475.

Допускается применение этих труб с контролем размера внутреннего диаметра для кабельных наконечников по технической документации, утвержденной в установленном порядке.

Зажимная часть медно-алюминиевых наконечников должна изготовляться из меди марки М0 или M1 по ГОСТ 859, ГОСТ 495 и соединяться с алюминиевой частью наконечника сваркой.

Допускается изготовление алюминиевых наконечников и хвостовиков к медно-алюминиевым наконечникам из алюминиевых круглых прутков марок АДОМ и АД1М по ГОСТ 21488.

Допускается не выполнять требования п. 3.12 по ГОСТ 23981 в случае химической обработки или нанесения защитного металлопокрытия в процессе изготовления кабельных наконечников.

(Измененная редакция, Изм. № 1, 3).

5. Алюминиевые наконечники, изготовляемые из алюминиевых труб, при наличии указания в заказе должны выполняться уплотненными для предотвращения просачивания кабельного пропиточного состава.

(Измененная редакция, Изм. № 2).

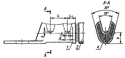
6. Основные размеры спрессованных соединений указаны в приложении 1.

7. Остальные требования - по ГОСТ 23981.

8. Структура условного обозначения, указания по маркировке наконечников приведены в приложении 2.

(Введен дополнительно, Изм. № 1).

9. Предельные отклонения размеров св. 1 мм: отверстий Н16, валов h16, остальных ±  по ГОСТ 25346, размеров углов ±  - по ГОСТ 8908.

(Введен дополнительно, Изм. № 2).

Черт. 1


Таблица 1

Размеры в мм

Обозначение

Код ОКП

Диаметр контактного стержня

D

d

d1

с

L

l1

l2

S**

В, не более

Rmax

Расчетная масса 1000 шт., кг, не более

из трубки

из прутка

из трубки

из прутка

из трубки

из прутка

16-8-5,4-А-УХЛ3

34 4983 0011

8

8,4

10

5,4

1,2

59±1

59±1

30

22

9

3,5

3,5

16,5

13

9,2

8,3

16-8-5,4-А-УХЛ2

34 4983 0013

16-8-5,4-A-T2

34 4983 0012

25-8-7-А-УХЛ3

34 4983 0021

12

7,0

1,3

62±1

61±1

4,5

4,5

18,0

12,9

12,6

25-8-7-A-УХЛ2

34 4983 0023

25-8-7-А-Т2

34 4983 0022

35-10-8-А-УХЛ3

34 4983 0031

10

10,5

14

8,0

1,5

68±1

66±1

27

12

5,0

5,0

20,0

13

19,6

17,5

35-10-8-А-УХЛ2

34 4983 0033

35-10-8-А-Т2

34 4983 0032

50-10-9-А-УХЛ3

34 4983 0041

16

9,0

1,8

75±1

70±1

36

5,5

6,0

23

16

28,8

24,9

50-10-9-А-УХЛ2

34 4983 0043

50-10-9-A-T2

34 4983 0042

70-10-11-А-УХЛ3

34 4983 0051

18

11,0

86±2

81±2

38

32

13

6,0

7,0

25,0

20

38,0

35,5

70-10-11-А-УХЛ2

34 4983 0053

70-10-11-А-Т2

34 4983 0052

70-10-12-А-УХЛ3

34 4983 0061

12,0

1,5

5,5

5,5

35,7

33,7

70-10-12-А-УХЛ2

34 4983 0063

70-10-12-А-Т2

34 4983 0062

95-12-13-А-УХЛ3

34 4983 0071

12

13,0

20

13,0

1,8

89±2

83±2

40

6,5

7,5

28,0

44,5

41,8

95-12-13-А-УХЛ2

34 4983 0073

95-12-13-А-Т2

34 4983 0072

120-12-14-А-УХЛ3

34 4983 0081

22

14,0

2,0

96±2

90±2

48

7,0

7,0

33,0

59,9

55,5

120-12-14-А-УХЛ2

34 4983 0083

120-12-14-А-Т2

34 4983 0082

120-16-14-А-УХЛ3*

34 4983 0091

16

17,0

15

58,6

54,2

120-16-14-А-УХЛ2*

34 4983 0093

120-16-14-А-Т2*

34 4983 0092

150-12-16-А-УХЛ3*

34 4983 0101

12

13,0

24

16,0

107±2

100±2

42

13

8,5

34,0

24

74,0

72,5

150-12-16-А-УХЛ2

34 4983 0103

150-12-16-А-Т2

34 4983 0102

150-16-16-А-УХЛ3*

34 4983 0111

16

17,0

15

7,0

72,0

71,2

150-16-16-А-УХЛ2*

34 4983 0113

150-16-16-А-Т2*

34 4983 0112

150-12-17-А-УХЛ3

34 4983 0121

12

13,0

17,0

1,8

13

6,5

6,5

61,3

60,4

150-12-17-А-УХЛ2

34 4983 0123

150-12-17-А-Т2

34 4983 0122

150-16-17-А-УХЛ3*

34 4983 0131

16

17,0

15

60,0

58,6

150-16-17-А-УХЛ2*

34 4983 0133

150-16-17-А-Т2*

34 4983 0132

185-16-18-А-УХЛ3

34 4983 0141

26

18,0

2,0

116±2

108±2

50

47

7,5

7,5

36,0

27

78,9

75,1

185-16-18-А-УХЛ2

34 4983 0143

185-16-18-А-Т2

34 4983 0142

185-20-18-А-УХЛ3*

34 4983 0151

20

21,0

19

75,3

73,2

185-20-18-А-УХЛ2*

34 4983 0153

185-20-18-А-Т2*

34 4983 0152

185-16-19-А-УХЛ3

34 4983 0161

16

17,0

19,0

1,8

116±2

108±2

47

15

7,0

7,0

36,0

27

70,0

68,3

185-16-19-А-УХЛ2

34 4983 0163

185-16-19-А-Т2

34 4983 0162

185-20-19-А-УХЛ3*

34 4983 0171

20

21,0

19

68,5

64,8

185-20-19-А-УХЛ2*

34 4983 0173

185-20-19-А-Т2*

34 4983 0172

240-20-20-А-УХЛ3

34 4983 0181

28

20,0

2,0

126±3

117±3

53

52

7,5

7,5

40,0

28

86,4

80,4

240-20-20-А-УХЛ2

34 4983 0183

240-20-20-А-Т2

34 4983 0182

240-20-22-А-УХЛ3

34 4983 0191

30

22,0

2,0

132±3

122±3

56

53

7,5

7,5

42,5

31

115,6

106,5

240-20-22-А-УХЛ2

34 4983 0193

240-20-22-А-Т2

34 4983 0192

300-20-24-А-УХЛ3

34 4983 0201

34

24,0

2,5

145±3

131±3

60

60

9,5

9,5

48,0

41

150,0

140,0

300-20-24-А-УХЛ2

34 4983 0203

300-20-24-А-Т2

34 4983 0202

___________

* Допускается применять в технически обоснованных случаях.

** Размеры для справок.

*** l - длина жильной части хвостовика наконечника.


Черт. 2


Таблица 2

Размеры в мм

Обозначение

Код ОКП

Диаметр контактного стержня

D

d

d1

с

L

l1 ± 1,0

s**

s1**

В

Rmax

Расчетная масса 1000 шт., кг, не более

16-6-5,4-МА-УХЛ3

34 4985 0011

6

6,4

10

5,4

1,2

63±2

30

20

3,5

4,5

15,0

13

23,1

16-6-5,4-МА-Т2

34 4985 0012

25-8-7-МА-УХЛ3

34 4985 0021

8

8,4

12

7,0

1,3

66±2

4,5

5,5

18,0

30,7

25-8-7-МА-Т2

34 4985 0022

35-10-8-МА-УХЛ3

34 4985 0031

10

10,5

14

8,0

1,5

71±2

24

5,0

6,0

20,0

16

45,2

35-10-8-МА-Т2

34 4985 0032

50-10-9-МА-УХЛ3

34 4985 0041

16

9,0

1,8

78±2

36

5,5

6,5

23,0

58,6

50-10-9-МА-Т2

34 4985 0042

70-10-11-МА-УХЛ3

34 4985 0051

10

10,5

18

11,0

1,8

90±3

38

28

6,0

7,0

25,0

20

79,6

70-10-11-МА-Т2

34 4985 0052

70-10-12-МА-УХЛ3

34 4985 0061

12,0

1,5

5,5

6,5

75,9

70-10-12-МА-Т2

34 4985 0062

95-12-13-МА-УХЛ3

34 4985 0071

12

13,0

20

13,0

1,8

93±3

40

6,5

7,5

28,0

97,8

95-12-13-МА-Т2

34 4985 0072

120-12-14-МА-УХЛ3

34 4985 0081

22

14,0

2,0

100±3

48

30

7,0

8,0

31,0

126,2

120-12-14-МА-Т2

34 4985 0082

16

17,0

120-16-14-МА-УХЛ3*

34 4985 0091

120,0

120-16-14-МА-Т2*

34 4985 0092

16,0

150-12-16-МА-УХЛ3

34 4985 0101

12

13,0

24

107±3

34

34,0

24

153,2

150-12-16-МА-Т2

34 4985 0102

150-16-16-МА-УХЛ3*

34 4985 0111

16

17,0

149,0

150-16-16-МА-Т2*

34 4985 0112

150-12-17-МА-УХЛ3

34 4985 0121

12

13,0

17,0

1,8

6,5

7,5

139,1

150-12-17-МА-Т2

34 4985 0122

150-16-17-МА-УХЛ3*

34 4985 0131

16

17,0

135,0

150-16-17-МА-Т2*

34 4985 0132

185-16-18-МА-УХЛ3

34 4985 0141

26

18,0

2,0

115±3

50

38

7,5

8,5

36,0

28

152,6

185-16-18-МА-Т2

34 4985 0142

185-20-18-МА-УХЛ3*

34 4985 0151

20

21,0

148,0

185-20-18-МА-Т2*

34 4985 0152

185-16-19-МА-УХЛ3

34 4985 0161

16

17,0

19,0

1,8

7,0

8,0

177,6

185-16-19-МА-Т2

34 4985 0162

185-20-19-МА-УХЛ3*

34 4985 0171

20

21,0

172,0

185-20-19-МА-Т2*

34 4985 0172

240-20-20-МА-УХЛ3

34 4985 0181

28

20,0

2,0

122±3

53

40

7,5

8,5

40,0

157,5

240-20-20-МА-Т2

34 4985 0182

240-20-22-МА-УХЛ3

34 4985 0191

30

22,0

2,0

128±3

56

7,5

8,5

42,5

31

206,9

240-20-22-МА-Т2

34 4985 0192

300-20-24-МА-УХЛ3

34 4985 0201

34

24,0

2,5

140±3

60

9,5

10,5

48,0

41

250,0

300-20-24-МА-Т2

34 4985 0202

_____________

* Допускается применять в технически обоснованных случаях.

** Размеры для справок.

*** l - длина жильной части хвостовика наконечника.


ПРИЛОЖЕНИЕ 1
Рекомендуемое

ОСНОВНЫЕ РАЗМЕРЫ ОПРЕССОВАННЫХ СОЕДИНЕНИЙ

Рекомендуемые размеры опрессованных соединений кабельных наконечников приведены на чертеже и в таблице.

1 - наконечник; 2 - кабель

Размеры в мм

Типоразмер

Сечение, мм2/класс жилы по ГОСТ 22483

L

L1

R

b

d

d1

h

16-6-5,4

16-8-5,4

16/1; 16/2

12,5

10

5,0

1,5

4,5

2,0

5,5

25-8-7,0

16/3; 25/1; 25/2

35-10-8

25/3; 35/1 35/2

11

7,0

6,5

3,0

7,5

50-10-9

35/3; 50/1

70-10-11

50/2; 70/1; 70/2

17,0

16

8,0

3,0

10,0

6,5

9,5

70-10-12

50/3; 95/1

95-12-13

70/3; 95/2

120-12-14

120-16-14

120/1

20,0

19

10,0

11,5

8,0

11,5

150-12-16

150-16-16

95/3; 120/2; 185/1

150-12-17

150-16-17

120/4; 150/1; 150/2

185-16-18

185-20-18

185/2

24,0

22

12,5

14,5

9,0

12,5

185-16-19

185-20-19

150/3

240-20-20

240/1

15,0

14,0

240-20-22

240/2

4,0

17,0

10,0

300-20-24

185/3; 240/3; 300/1; 300/2

26,0

24

16,0

(Измененная редакция, Изм. № 1).

ПРИЛОЖЕНИЕ 2
Обязательное

СТРУКТУРА УСЛОВНОГО ОБОЗНАЧЕНИЯ НАКОНЕЧНИКОВ

(Введено дополнительно, Изм. № 1).

ИНФОРМАЦИОННЫЕ ДАННЫЕ

1. РАЗРАБОТАН И ВНЕСЕН Министерством монтажных и специальных строительных работ СССР

РАЗРАБОТЧИКИ

Б.Л. Делибаш, В.Н. Алексеенко

2. УТВЕРЖДЕН И ВВЕДЕН В ДЕЙСТВИЕ Постановлением Государственного комитета СССР по стандартам от 07.02.80 № 610

Изменение № 3 принято Межгосударственным Советом по стандартизации, метрологии и сертификации (протокол № 10 от 04.10.96)

За принятие проголосовали:

Наименование государства

Наименование национального органа по стандартизации

Азербайджанская Республика

Азгосстандарт

Республика Армения

Армгосстандарт

Республика Беларусь

Госстандарт Беларуси

Республика Грузия

Грузстандарт

Республика Казахстан

Госстандарт Республики Казахстан

Киргизская Республика

Киргизстандарт

Республика Молдова

Молдовастандарт

Российская Федерация

Госстандарт России

Республика Таджикистан

Таджикгосстандарт

Туркменистан

Главная государственная инспекция Туркменистана

Республика Узбекистан

Узгосстандарт

Украина

Госстандарт Украины

4. ССЫЛОЧНЫЕ НОРМАТИВНО-ТЕХНИЧЕСКИЕ ДОКУМЕНТЫ

Обозначение НТД, на который дана ссылка

Номер пункта, приложения

Обозначение НТД, на который дана ссылка

Номер пункта, приложения

ГОСТ 495-92

4

ГОСТ 21488-97

4

ГОСТ 859-2001

4

ГОСТ 22483-77

Приложение 1

ГОСТ 8908-81

9

ГОСТ 23981-80

4, 7

ГОСТ 15150-69

2, 3

ГОСТ 25346-89

9

ГОСТ 18475-82

4

 

 

5. Ограничение срока действия снято Постановлением Госстандарта СССР от 14.09.92 № 1173

6. ПЕРЕИЗДАНИЕ (май 1999 г.) с Изменениями № 1, 2, 3, утвержденными в августе 1983 г., июне 1987 г., феврале 1997 г. (ИУС 12-83, 9-87, 5-97)

2008-2013. ГОСТы, СНиПы, СанПиНы - Нормативные документы - стандарты.