ГОСТ Р МЭК 60598-2-18-98
ГОСУДАРСТВЕННЫЙ СТАНДАРТ РОССИЙСКОЙ ФЕДЕРАЦИИ
СВЕТИЛЬНИКИ
Часть 2
ЧАСТНЫЕ ТРЕБОВАНИЯ
Раздел 18
СВЕТИЛЬНИКИ ДЛЯ ПЛАВАТЕЛЬНЫХ БАССЕЙНОВ И АНАЛОГИЧНОГО ПРИМЕНЕНИЯ
ГОССТАНДАРТ РОССИИ
Москва
Предисловие
1 РАЗРАБОТАН И ВНЕСЕН Всероссийским научно-исследовательским, проектно-конструкторским светотехническим институтом им. С.И. Вавилова (ООО «ВНИСИ»)
2 ПРИНЯТ И ВВЕДЕН В ДЕЙСТВИЕ Постановлением Госстандарта России от 19 март 1998 г. № 60
3 Настоящий стандарт представляет собой полный аутентичный текст международного стандарта МЭК 60598-2-18 (1993) «Светильники. Часть 2. Частные требования. Раздел 18. Светильники для плавательных бассейнов и аналогичного применения»
4 ВВЕДЕН ВПЕРВЫЕ
ГОСУДАРСТВЕННЫЙ СТАНДАРТ РОССИЙСКОЙ ФЕДЕРАЦИИ
Светильники
Часть 2
Частные требования
Раздел 18
СВЕТИЛЬНИКИ ДЛЯ ПЛАВАТЕЛЬНЫХ БАССЕЙНОВ И АНАЛОГИЧНОГО ПРИМЕНЕНИЯ
Luminaires. Part 2. Particular requirements. Section 18. Luminaires for swimming pools and similar applications
Дата введения 1999-01-01
Настоящий стандарт устанавливает специальные требования к стационарным светильникам с лампами накаливания, предназначенным для использования в воде и/или непосредственной близости от нее, например в плавательных бассейнах, фонтанах, гребных и садовых водоемах.
Примечание - Правила устройства электроустановок для плавательных бассейнов установлены в МЭК 364-7-702.
Стандарт не распространяется на светильники, не находящиеся в контакте с водой (например установленные за стеклянным иллюминатором, который отделен от светильника), ручные и переносные светильники.
Стандарт следует применять совместно с соответствующими разделами МЭК 598-1, на которые имеются ссылки.
18.1.1 Нормативные ссылки
В настоящем стандарте использованы ссылки на следующие стандарты:
МЭК 245-1 (1985)* Кабели с резиновой изоляцией на номинальное напряжение до 450/750 В включительно. Общие требования
МЭК 364-7-702 (1983) Электрические установки зданий. Часть 7. Требования к монтажу и размещению. Раздел 702. Плавательные бассейны
МЭК 598-1 (1992)* Светильники. Часть 1. Общие требования и методы испытаний
МЭК 742 (1983)* Трансформаторы разделительные и безопасные разделительные трансформаторы. Технические требования
______________
* См. приложение А.
Применяют положения раздела 0 МЭК 598-1. Испытания, приведенные в соответствующем разделе МЭК 598-1, проводят в последовательности, указанной в настоящем стандарте.
В настоящем стандарте применяют определения, приведенные в разделе. 1 МЭК 598-1.
Светильники должны классифицироваться в соответствии с положениями раздела 2 МЭК 598-1 совместно с требованиями 18.4.1-18.4.3 настоящего стандарта.
18.4.1 По способу защиты от поражения электрическим током светильники должны быть класса III и иметь внешние и внутренние цепи, которые работают при напряжении не более 12 В.
18.4.2 По степени защиты от попадания пыли и влаги светильники следует классифицировать следующим образом.
18.4.2.1 Части светильника, которые находятся в контакте с водой водоемов, фонтанов и т. д., должны быть классифицированы как водонепроницаемые под давлением (IPX8).
18.4.2.2 Части светильника, не соприкасающиеся с водой, должны быть классифицированы как пыле- и брызгозащищенные (IP54).
18.4.3 Светильники в зависимости от способа установки лампы, замены лампы и способа присоединения к источникам питания следует классифицировать следующим образом.
18.4.3.1 Категория А. Светильники, присоединение к источнику питания, замена ламп которых происходит со стороны, не соприкасающейся с водой.
18.4.3.2 Категория В. Светильники, замена ламп которых происходит со стороны, соприкасающейся с водой, но тогда, когда вода частично или полностью удалена.
18.4.3.3 Категория С. Светильники, которые полностью вынимают из воды для замены ламп.
Применяют положения раздела 3 МЭК 598-1 совместно с требованиями 18.5.1 - 18.5.4 настоящего стандарта.
18.5.1 Светильники, предназначенные для использования только в воде, следует маркировать: «Использовать, только погрузив в воду».
18.5.2 Светильники,
предназначенные для использования с безопасным разделительным трансформатором,
следует маркировать в соответствии с МЭК 742 символом
«Для работы только с безопасным
разделительным трансформатором»
Выходную мощность трансформатора (в вольт-амперах) указывают на светильнике или в инструкции по эксплуатации, прилагаемой к светильнику.
18.5.3 Светильники должны быть снабжены инструкцией по эксплуатации. Эти инструкции должны содержать всю необходимую информацию по монтажу, подключению к источнику питания, работе и обслуживанию светильника.
18.5.4 В инструкции к светильнику изготовитель должен дать указания по его монтажу, уделяя особое внимание защите от коррозии, например исключая контакт алюминия и его сплавов с бетоном или аналогичными материалами, или не допускать электрохимического воздействия разнородных металлов.
В прилагаемой информации по правильной установке светильников изготовитель должен учитывать требования МЭК 364-7-702.
Применяют положения раздела 4 МЭК 598-1 совместно с требованиями 18.6.1 и 18.6.2 настоящего стандарта.
18.6.1 Светильники испытывают на механическую прочность следующим образом.
Детали светильника, включая защитные стекла, которые находятся в контакте с водой при нормальном использовании, должны быть подвергнуты испытанию ударом с энергией 0,7 Н·м по направлению давления воды. Испытание проводят на открытом воздухе. После этого испытания образец не должен иметь видимых значительных повреждений (см. 4.13 МЭК 598-1).
18.6.2 Светильники испытывают на коррозионную устойчивость следующим образом.
Детали светильника, которые находятся в контакте с водой при нормальном использовании, должны быть погружены в искусственную морскую воду температурой (25 ± 2) °С в течение 14 сут. После этой обработки на поверхности деталей не должно быть видимых следов коррозии или шероховатостей. Следы коррозии, устраняемые протиркой, не принимают во внимание.
Состав искусственной морской воды следующий:
- раствор А - 28,0 г NaCl; 5,0 г MgCl2·6H2O; 2,4 СаС12·Н2О растворить в 885 мл дистиллированной воды;
- раствор В - 7,0 г MgCO4·7H2O; 0,2 г NaHCO3 растворить в 100 мл дистиллированной воды.
Раствор В медленно добавляют в раствор А и хорошо перемешивают. Смесь отстаивают в течение 24 ч и затем фильтруют. Окончательное значение жесткости (рН) смеси должно быть между 7 и 8 при дополнительном добавлении бикарбоната натрия (NaHCO3). Во время стабилизации значения рН пузырьки воздуха легко проходят через смесь.
Материалы испытательного устройства должны быть такими, чтобы они не могли повлиять на результаты испытаний.
Применяют положения раздела 11 МЭК 598-1.
Положения раздела 7 МЭК 598-1 не применяют.
Применяют положения разделов 14 и 15 МЭК 598-1 совместно с требованиями 18.9.1 настоящего стандарта.
18.9.1 Контактные зажимы для присоединения к источнику питания должны обеспечивать присоединение проводов с номинальным сечением от 1,5 до 4,0 мм2 включ.
Применяют положения раздела 5 МЭК 598-1 совместно с требованиями 18.10.1-18.10.5 настоящего стандарта.
18.10.1 Соединительные провода (концы) недопустимы.
18.10.2 Выключатели на гибких кабелях и шнурах недопустимы.
18.10.3 Номинальное сечение жил присоединительных кабелей или шнуров должно быть не менее 1,5 мм2.
18.10.4 Светильники категории В (см. 18.4.3.2) должны иметь несъемный гибкий кабель или шнур, по крайней мере равноценный по своим механическим и электрическим характеристикам типу 245 МЭК 57 по МЭК 245-1.
18.10.5 Для светильников категории С (см. 18.4.3.3) любой несъемный гибкий кабель или шнур должен иметь механические и электрические свойства, по крайней мере равноценные типу 245 МЭК 57 по МЭК 245-1.
Применяют положения раздела 8 МЭК 598-1.
Применяют положения раздела 12 МЭК 598-1 совместно с 18.12.1 настоящего стандарта.
Светильники с классификацией IP, превышающей IP20, должны подвергаться соответствующим испытаниям по 12.4-12.6 МЭК 598-1 после испытаний по 9.2, но до испытаний по 9.3 МЭК 598-1, указанных в 18.13 настоящего стандарта.
18.12.1 При испытаниях на старение и тепловых испытаниях по разделу 12 МЭК 598-1 светильник устанавливают (насколько возможно) как для нормального использования в соответствии с инструкцией, поставляемой изготовителем. Если положение светильника может изменяться, следует выбрать то положение, которое создает наиболее тяжелый тепловой режим.
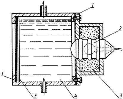
Температура воды перед светильником должна поддерживаться на уровне (ta ± 10) ºС. Соответствующее устройство для испытания светильника, у которого передняя часть находится в контакте с водой, показано на рисунке 1.

1 - уплотнение; 2 -
испытуемый образец; 3 - песок с размером частиц около 1 мм;
4 - вода; 5 - стеклянная
перегородка
Рисунок 1 - Рекомендуемое устройство для испытания светильников, передняя часть которых соприкасается с водой
Применяют положения раздела 9 МЭК 598-1 совместно с требованиями 18.13.1 настоящего стандарта. Испытания по 18.13.1 должны предшествовать испытаниям по разделу 9 МЭК 598-1. Для проверки надежности уплотнений и аналогичных устройств светильник следует демонтировать до такой степени, которая необходима для нормального обслуживания, например для замены лампы, а затем опять собрать перед испытаниями по разделу 9 МЭК 598-1.
Для светильников с классификацией IP, превышающей IP20, порядок испытаний, указанный в разделе 9 МЭК 598-1, должен быть таким же, как в 18.12 настоящего стандарта.
18.13.1 Светильник должен подвергаться испытанию на тепловой удар следующим образом.
Светильник работает на открытом воздухе до достижения стабилизации температуры, затем его погружают на 30 с в воду температурой (20 ± 2) °С так, чтобы все детали, которые при нормальной работе соприкасаются с водой, были погружены в воду ниже ее поверхности.
Испытания не проводят на светильниках, имеющих маркировку в соответствии с 18.5.1 настоящего стандарта.
Применяют положения раздела 10 МЭК 598-1.
Применяют положения раздела 13 МЭК 598-1.
(справочное)
СООТВЕТСТВИЕ СТАНДАРТОВ МЭК ГОСУДАРСТВЕННЫМ СТАНДАРТАМ
|
Обозначение стандартов МЭК |
Обозначение государственных стандартов |
|
МЭК 245-1 (1985) |
ГОСТ Р МЭК 245-1-95 |
|
МЭК 598-1 (1992) |
ГОСТ Р МЭК 598-1-96 |
|
МЭК 742 (1983) |
ГОСТ 30030-93 (МЭК 742-83) |
|
Ключевые слова: частные требования, требования, методы испытаний |