Нормативные документы размещены исключительно с целью ознакомления учащихся ВУЗов, техникумов и училищ.
Объявления:

ГОСГОРТЕХНАДЗОР РОССИИ

Утверждены
постановлением
Госгор
технадзора России
от
16.05.03 г. 31

Зарегистрировано в Минюсте России
27.05.03, рег. 4597

ПРАВИЛА
УСТРОЙСТВА И БЕЗОПАСНОЙ
ЭКСПЛУАТАЦИИ ЛИФТОВ

ПБ 10-558-03

Москва

ПИО ОБТ

2003

СОДЕРЖАНИЕ

1. Общие положения. 2

2. Общие требования к строительной части. 3

3. Шахта. 3

4. Размещение оборудования. 9

5. Механическое оборудование лифтов. 12

5.1. Дверь шахты.. 12

5.2. Направляющие. 15

5.3. Лебедка. 16

5.4. Кабина. 17

5.5. Противовес и уравновешивающее устройство кабины.. 19

5.6. Ловители. 20

5.7. Ограничитель скорости. 21

5.8. Буфера. 22

5.9. Тяговые элементы и подвеска. 23

6. Электрическое оборудование лифтов. 24

6.1. Общие требования. 24

6.2. Электропривод лифта. 26

6.3. Виды и система управления. 27

6.4. Электрические устройства и цепи безопасности. 31

6.5. Электропроводка и электрооборудование. 34

6.6. Освещение и розетки питания. 35

7. Грузоподъемность. вместимость кабины.. 36

8. Выдача разрешения на применение лифтов. 37

9. Монтаж, техническое обслуживание и ремонт. 38

10. Регистрация и ввод лифта в эксплуатацию.. 38

11. Техническое диагностирование и обследование лифтов. 39

12. Эксплуатация лифта. 43

13. Диспетчерский контроль за работой лифта. 45

14. Порядок расследования аварий и несчастных случаев. 46

15. Заключительные положения. 46

Приложение 1 Термины и определения. 46

Приложение 2 Паспорт лифта. 48

Приложение 3 Акт  полного технического освидетельствования лифта. 51

Приложение 4 Акт приемки лифта в эксплуатацию.. 52

Приложение 5 Акт периодического технического освидетельствования лифта. 53

Приложение 6 Порядок проведения испытаний узлов безопасности. 53

Приложение 7 Электронные компоненты. предотвращение отказов. 64

Приложение 8 Размеры ключевины устройства отпирания замка (мм) 68

Приложение 9 Требования к содержанию монтажного чертежа. 68

Приложение 10 Требования к размерам отверстий в ограждении движущихся частей механизмов в зависимости от расстояния между ограждением и движущимися частями. 68

Приложение 11 Порядок проведения испытаний стеклянных панелей на удар маятником.. 69

Приложение 12 Допустимые размеры строительной части при установке лифтов в существующих зданиях. 72

Приложение 13 Нормы браковки стальных канатов. 72

1. ОБЩИЕ ПОЛОЖЕНИЯ

1.1. Настоящие Правила устройства и безопасной эксплуатации лифтов (далее по тексту - Правила) устанавливают требования:

а) к устройству и установке электрических лифтов с приводом трения, приводом с барабаном или со звездочкой;

б) к вводу в эксплуатацию, эксплуатации, техническому диагностированию лифтов и диспетчерскому контролю за работой лифтов.

Настоящие Правила не распространяются на лифты, устанавливаемые в шахтах горной и угольной промышленности, на судах и иных плавучих средствах, на платформах для разведки и бурения на море, на самолетах и других летательных аппаратах.

1.2. Требования, изложенные в настоящих Правилах, отражают специфику лифтового оборудования, не повторяют общепринятые технические требования к электрическим, механическим или строительным конструкциям.

1.3. Настоящие Правила устанавливают требования по обеспечению безопасности:

а) пользователей;

б) обслуживающего персонала;

в) лиц, осуществляющих инспекционный контроль;

г) людей, находящихся вне шахты лифта, машинного и блочного помещений (при их наличии), и защите объектов при использовании лифтов по назначению, их техническом обслуживании и ремонте.

1.4. Конструкция лифтового оборудования должна обеспечивать возможность его перемещения с применением грузоподъемных средств, если размеры, масса или форма оборудования не позволяют сделать это вручную.

1.5. Каждый поставляемый лифт* комплектуется следующей документацией:

* Комплект лифтового оборудования, предназначенный для монтажа лифта на месте его эксплуатации.

а) паспорт, в соответствии с приложением 2, и прилагаемые к нему документы:

1) монтажный чертеж;

2) принципиальная электрическая схема с перечнем элементов схемы и электрическая схема соединений (электроразводки);

3) копия сертификата на лифт, противопожарные двери и другие, сертифицированные в установленном порядке, элементы лифта;

4) копия разрешения на применение лифта;

Разработку дубликата утраченного паспорта, соответствующего приложению 2, допускается выполнять специализированной по лифтам организации.

б) руководство по эксплуатации, включающее:

1) краткое описание лифта;

2) условия и требования безопасной эксплуатации лифта, в том числе: порядок технического обслуживания, ремонта, технического диагностирования лифта;

3) методику безопасной эвакуации людей из кабины;

4) перечень быстроизнашиваемых деталей;

5) указание о сроке службы лифта;

в) инструкция по монтажу;

г) ведомость ЗИП, содержащая сведения о запасных частях, инструменте, принадлежностях и материалах, которые по рекомендации изготовителя или поставщика могут быть включены в комплект поставки лифта*.

* Объем приобретаемого ЗИП определяет заказчик лифта при заключении контракта на поставку лифта.

д) ведомость комплекта запасных изделий для пусконаладочных работ, включенных в комплект поставки лифта;

е) перечень документации, поставляемой с лифтом. Ответственность за комплектование и содержание документации несет поставщик лифта.

Число комплектов документации при поставке нескольких лифтов одной модели определяется по соглашению между поставщиком и заказчиком лифта, но не менее 1 комплекта на 5 лифтов, при этом паспортом должен быть снабжен каждый лифт.

Лифты, поставляемые из других стран, комплектуются документацией на русском языке.

1.6. Допускается вносить изменения по расположению оборудования в монтажный чертеж организации, осуществляющей монтаж, техническое обслуживание и ремонт лифтов, за исключением случая изменения расположения лебедки**.

** Поворот лебедки на 180° не является изменением ее расположения.

Изменения должны быть заверены подписью специалиста, печатью или штампом организации, внесшей изменения.

1.7. При обнаружении недостатков конструкции или дефектов изготовления лифтового оборудования претензии (рекламации) предъявляются к поставщику этого оборудования.

1.8. Конструкция лифта должна обеспечивать возможность эвакуации людей из кабины при его неисправности или при прекращении энергоснабжения лифта.

Эвакуация должна осуществляться персоналом, обученным методике безопасной эвакуации людей.

1.9. Конструкция лифта должна обеспечивать возможность снятия кабины с ловителей одним из следующих способов:

а) вручную, посредством устройства, воздействующего на привод;

б) посредством электропривода;

в) посредством стационарных или переносных грузоподъемных средств.

1.10. Точность автоматической остановки кабины при эксплуатационных режимах работы должна быть в пределах ±35 мм.

1.11. Отклонение рабочей скорости движения кабины от номинальной скорости не должно быть более 15 %.

1.12. Определение основных терминов, примененных в тексте настоящих Правил, приведено в приложении 1.

2. ОБЩИЕ ТРЕБОВАНИЯ К СТРОИТЕЛЬНОЙ ЧАСТИ

2.1. Строительная часть для размещения оборудования лифта должна быть рассчитана на нагрузки, возникающие при эксплуатации и испытаниях лифта, а также на нагрузки, возникающие при обрыве всех тяговых элементов, и соответствовать строительным нормам и правилам, утвержденным в установленном порядке.

2.2. Строительная часть для установки лифта должна отвечать требованиям норм пожарной безопасности.

2.3. Необходимость устройства отопления и вентиляции помещений, предназначенных для размещения оборудования лифта, устанавливается при проектировании здания (сооружения) в соответствии с требованиями, предъявляемыми изготовителем к условиям его эксплуатации.

3. ШАХТА

3.1. Шахта лифта должна быть отделена от примыкающих к ней площадок и лестниц, на которых могут находиться люди или оборудование:

а) стенами, полом и перекрытием или

б) расстоянием, достаточным для обеспечения безопасности.

3.2. Кабина, противовес лифта и уравновешивающее устройство кабины должны находиться в одной шахте.

3.3. Полностью огражденная шахта

В ограждении шахты лифта допускаются следующие отверстия и проемы:

а) проемы дверей шахты лифта на этажных площадках;

б) проемы дверей для обслуживания оборудования и аварийных дверей, а также отверстия для смотровых люков;

в) выпускные отверстия для удаления газов и дыма в случае пожара;

г) вентиляционные отверстия;

д) отверстия, необходимые для работы лифта и расположенные между шахтой лифта и машинным или блочным помещением.

3.4. Частично огражденная шахта и шахта, имеющая частично не сплошное (сетчатое и т.п.) ограждение.

Высота сплошного ограждения (рис. 1) в местах, доступных для людей, должна быть:

1) не менее 3,5 м со стороны двери шахты лифта на этажной площадке;

2) не менее 2,5 м с других сторон, если расстояние до движущихся частей лифта не превышает 0,5 м.

Если расстояние до движущихся частей лифта превышает 0,5 м, то величину 2,5 м можно последовательно уменьшать до высоты не менее 1,1 м на расстоянии в 2,0 м (рис. 2).

Расстояние между ограждением и краем межэтажных перекрытий, ступеней и площадок должно быть не более 0,15 м.

3.5. Ограждение шахты

3.5.1. Сплошное ограждение шахты лифта должно выдерживать нагрузку, равную 300 Н, равномерно распределенную по круглой или квадратной площадке площадью 5 см2 и приложенную под прямым углом в любой ее точке с упругой деформацией, не превышающей 15 мм, при этом остаточная деформация не допускается.

Рис. 1. Расстояние до движущихся элементов лифта:

А - расстояние до движущихся элементов лифта; Б - расстояние между ограждением и краем межэтажных перекрытий, ступеней и площадок;

Н1 - высота ограждения со стороны этажной площадки; Н2 - высота ограждения с остальных сторон

3.5.2. Плоские или формованные стеклянные панели, применяемые для ограждения шахты в доступных для людей местах, должны быть выполнены из многослойного стекла и иметь высоту в соответствии с требованиями п. 3.4.

Рис. 2. Высота ограждения шахты в зависимости от расстояния до движущихся элементов лифта:

А - расстояние до движущихся элементов лифта; Н - высота ограждения

3.5.3. Пол приямка под каждой из направляющих лифта, за исключением случая подвесных направляющих, должен быть рассчитан на нагрузку, создаваемую массой направляющих в сумме с усилием, возникающим в момент срабатывания ловителей.

3.5.4. Пол приямка под опорами буфера кабины должен быть рассчитан на статическую нагрузку, определяемую по формуле:

4gn×(K + Q) (Н),

где K - масса кабины и конструктивных элементов, которые подвешиваются к кабине (часть подвесного кабеля, уравновешивающих канатов и цепей и т.д.), (кг);

Q - номинальная грузоподъемность (масса), (кг);

gn - величина ускорения свободного падения (9,81 м/с2).

3.5.5. Пол приямка под опорами буфера противовеса или в зоне под перемещающимся уравновешивающим грузом должен быть рассчитан на статическую нагрузку, определяемую по формуле:

4gn×(K + xQ) (Н) для противовеса;

4gn×xK (Н) для уравновешивающего устройства кабины,

где K - масса кабины и конструктивных элементов, которые подвешиваются к кабине, (часть подвесного кабеля, уравновешивающих канатов и цепей и т.д.), (кг);

Q - номинальная грузоподъемность (масса) (кг);

gn - величина ускорения свободного падения (9,81 м/с2);

x - коэффициент уравновешивания номинальной грузоподъемности противовесом или коэффициент уравновешивания массы кабины уравновешивающим устройством кабины.

3.5.6. При наличии под приямком лифта пространства (помещения), доступного для людей, основание приямка должно быть рассчитано на восприятие нагрузки не менее 5000 Н/м2, а противовес или уравновешивающее устройство кабины должны быть оборудованы ловителями.

3.5.7. Места крепления подвесных направляющих должны быть рассчитаны на нагрузку, создаваемую массой направляющих в сумме с усилием, возникающим в момент срабатывания ловителей.

3.6. При расстоянии между порогами проемов дверей шахты лифта на смежных этажных площадках более 11 м и невозможности перехода пассажиров из кабины одного лифта в кабину соседнего лифта в шахте должны быть установлены аварийные двери так, чтобы расстояние по высоте между порогами проемов дверей не превышало 11 м.

Допускается не устанавливать аварийные двери в случаях, когда отсутствуют примыкающие к шахте лифта площадки (в зоне требуемой установки аварийных дверей), с которых можно эвакуировать людей.

3.7. Вентиляционные отверстия должны быть закрыты решеткой, через отверстия которой не должен проходить шарик диаметром 21 мм при приложении к нему перпендикулярно решетке нагрузки 10 Н. Механическая прочность решетки должна удовлетворять требованиям п. 3.5.1.

3.8. Внутренняя поверхность шахты лифта ниже порога любой шахтной двери на этажной площадке должна удовлетворять следующим требованиям:

а) образовывать вертикальную, непосредственно соединенную с порогом двери шахты лифта сплошную гладкую поверхность, высота которой должна составлять не менее половины зоны отпирания дверей плюс 0,05 м, а ширина - не менее ширины в свету входного проема кабины плюс по 0,025 м с каждой стороны;

б) не иметь выступов более 5 мм. Выступы, превышающие 2 мм, должны иметь скос под углом не менее 75° к горизонтали;

в) соединяться с перемычкой над проемом следующей двери или продолжаться вниз жестким гладким скосом, под углом не менее 60° к горизонтальной плоскости. Длина проекции этого скоса на горизонтальную плоскость должна быть не менее 20 мм.

3.9. Зона движения противовеса или уравновешивающего устройства кабины должна быть ограждена со стороны, доступной для обслуживающего персонала, на высоту не менее 2,5 м над уровнем пола приямка. Расстояние между уровнем пола приямка и нижней частью ограждения должно быть не более 0,3 м.

Ширина ограждения (стационарного или съемного) должна быть не менее ширины противовеса плюс 0,1 м с каждой стороны.

При наличии в ограждении отверстий также должны выполняться требования приложения 10.

Допускается не устанавливать ограждение в следующих случаях:

а) при расстоянии между нижней точкой противовеса, находящегося на полностью сжатом буфере, и уровнем пола приямка более 2,5 м;

б) в зоне прохождения прикрепленных к противовесу компенсирующих канатов или цепей.

3.10. В шахте может находиться несколько лифтов. В этом случае между движущимися частями различных лифтов должны быть установлены перегородки.

Перегородка должна начинаться от пола приямка или от нижней точки перемещения кабины, противовеса или уравновешивающего устройства кабины и заканчиваться не ниже чем в 2,5 м над уровнем пола нижней этажной площадки.

Перегородка должна устанавливаться на всю высоту шахты, если расстояние от края крыши кабины одного лифта до подвижных частей кабины, противовеса или уравновешивающего устройства кабины смежного лифта менее 0,5 м.

Ширина перегородки, установленной на всю высоту шахты, должна быть не менее ширины подвижной части или тех ее элементов, которые должны быть ограждены, плюс 0,1 м с каждой стороны.

При наличии в перегородках отверстий также должны выполняться требования приложения 10.

3.11. Высота шахты лифта

3.11.1. Высота шахты лифта, оборудованного лебедкой с канатоведущим шкивом или барабаном трения, должна быть такой, чтобы при противовесе, находящемся на полностью сжатых буферах, одновременно обеспечивались:

а) возможность перемещения кабины по направляющим на расстояние не менее (0,1 + 0,035v2)* (м);

* Величина 0,035v2 соответствует половине тормозного пути кабины, движущейся со скоростью, на 15 % превышающей номинальную: 1,15v2/2 = 0,0337v2, с округлением до 0,035v2.

б) зазор между уровнем предназначенной для размещения обслуживающего персонала площадки на крыше кабины и расположенной в проекции кабины нижней частью перекрытия шахты (включая балки и размещенные под перекрытием конструктивные элементы) не менее 1,0 + 0,035v2 (м);

в) зазор между нижней частью перекрытия шахты и частями направляющих башмаков или роликов, креплений канатов, перемычки или частей вертикально-раздвижных дверей не менее 0,1 + 0,035v2 (м);

г) свободное пространство над кабиной, достаточное для размещения параллелепипеда с размерами не менее 0,5×0,6×0,8 м, лежащего на одной из своих граней. У лифтов с прямой подвеской тяговые канаты и их крепления могут находиться в этом пространстве при условии расположения канатов на расстоянии, не превышающем 0,15 м от одной из вертикальных поверхностей параллелепипеда.

3.11.2. При находящейся на полностью сжатых буферах кабине лифта, оборудованного лебедкой с канатоведущим шкивом или барабаном трения, должна обеспечиваться возможность перемещения противовеса по направляющим на расстояние не менее 0,1+0,035v2 (м).

Для лифтов, оснащенных уравновешивающими канатами с натяжным блоком, который оборудован устройством против подскока (тормозящим или запорным устройством), величину 0,035v2 при расчете зазоров допускается заменить на величину возможного перемещения блока (в зависимости от применяемой запасовки) плюс 1/500 высоты подъема кабины, но не менее 0,2 м, учитывая упругость канатов.

3.11.3. Высота направляющих лифта, оборудованного лебедкой с барабаном или звездочкой, должна обеспечивать возможность перемещения кабины от уровня верхнего этажа до верхнего буфера на расстояние не менее 0,5 м.

3.11.4. При нахождении кабины лифта, оборудованного лебедкой с барабаном или звездочкой, на полностью сжатых верхних буферах должны обеспечиваться:

а) зазор между уровнем площадки для размещения обслуживающего персонала на крыше кабины и расположенной в проекции кабины нижней частью перекрытия шахты (включая балки и размещенные под перекрытием конструктивные элементы) должен быть не менее 1 м;

б) зазор между нижней частью перекрытия шахты и установленными на крыше кабины деталями оборудования - не менее 0,3 м, а между частями направляющих башмаков или роликов, креплений канатов, перемычки или частей вертикально-раздвижных дверей - не менее 0,1 м;

в) свободное пространство над кабиной, достаточное для размещения параллелепипеда с размерами не менее 0,5×0,6×0,8 м, лежащего на одной из своих граней. У лифтов с прямой подвеской тяговые канаты и их крепления могут находиться в этом пространстве при условии расположения канатов на расстоянии, не превышающем 0,15 м от одной из вертикальных поверхностей параллелепипеда.

3.11.5. При нахождении кабины лифта, оборудованного лебедкой с барабаном или звездочкой, на полностью сжатых буферах высота направляющих уравновешивающего устройства кабины должна обеспечивать возможность его дальнейшего перемещения не менее чем на 0,3 м.

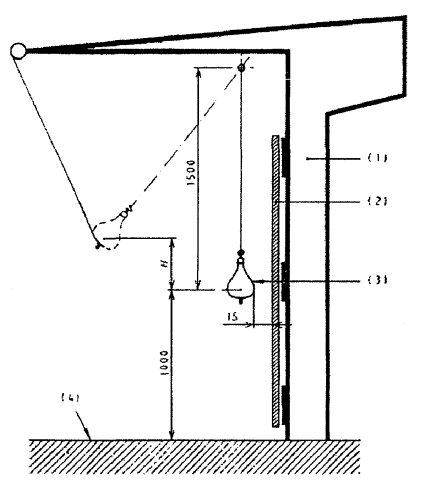
3.12. Приямок

3.12.1. В нижней части шахты лифта должен быть предусмотрен приямок.

Приямок должен быть защищен от попадания в него грунтовых и сточных вод.

3.12.2. Должен обеспечиваться безопасный доступ обслуживающего персонала в приямок. Приямок глубиной более 2,5 м оборудуется для доступа в приямок дверью, соответствующей требованиям п. 5.1.3.

3.12.3. Приямок глубиной более 0,9 м от порога дверного проема для входа в приямок оборудуется стационарным устройством (лестница, скобы и т.д.), расположенным в пределах досягаемости из дверного проема.

3.12.4. При нахождении кабины на полностью сжатых буферах должно обеспечиваться:

а) свободное пространство в приямке, достаточное для размещения прямоугольного параллелепипеда с размерами не менее 0,5×0,6×1,0 м, лежащего на одной из своих граней;

б) зазор от пола приямка до нижних частей кабины не менее 0,5 м. Допускается уменьшение зазора до 0,1 м между полом приямка и башмаками, щитами под порогами кабины, элементами вертикально-раздвижных дверей кабины, а также деталями ловителей и каркаса кабины, расположенными в пределах 0,2 м от направляющих.

3.12.5. В шахте лифта должно быть установлено электрическое устройство безопасности, соответствующее требованиям п. 6.4.30.

Расположение электрического устройства безопасности должно обеспечивать его доступность при открытии двери для входа в приямок и с пола приямка. В зависимости от глубины приямка должно устанавливаться одно или два устройства:

а) если расстояние от пола приямка до порога двери для входа в него не более 1,55 м, то приямок должен быть оборудован одним электрическим устройством безопасности:

расстояние от пола приямка до управляющего элемента электрического устройства безопасности должно быть не более 2,0 м;

расстояние над уровнем порога двери для входа в приямок до управляющего элемента электрического устройства безопасности должно быть не менее 0,45 м;

горизонтальное расстояние от крайних точек порога в зоне проема двери до управляющего элемента электрического устройства безопасности должно быть не более 0,75 м;

б) если расстояние от пола приямка до порога двери для входа в него более 1,55 м, то приямок должен быть оборудован двумя электрическими устройствами безопасности:

расстояние над уровнем порога двери для входа в приямок до управляющего элемента верхнего электрического устройства безопасности должно быть не менее 1,0 м;

горизонтальное расстояние от крайних точек порога в зоне проема двери до управляющего элемента верхнего электрического устройства безопасности должно быть не более 0,75 м:

расстояние от пола приямка до управляющего элемента нижнего электрического устройства безопасности должно быть не более 1,2 м.

3.13. В шахте лифта не допускается устанавливать оборудование и прокладывать коммуникации, не относящиеся к лифту, за исключением систем пожарной и охранной сигнализации, диспетчерского контроля и систем, предназначенных для отопления и вентиляции шахты. При этом любые устройства управления и регулировки отопительной аппаратуры должны размещаться вне шахты лифта.

3.14. Освещение шахты лифта должно отвечать требованиям п. 6.6.6. Включение освещения шахты должно производиться, из шахты и/или машинного помещения. Установленный в шахте выключатель освещения должен быть доступен при открывании двери шахты: горизонтальное расстояние от крайних точек, порога в зоне проема двери до управляющего элемента выключателя должно быть не более 0,75 м.

3.15. В приямке лифта должна быть предусмотрена электрическая розетка, отвечающая требованиям п. 6.6.5.

3.19. Расстояние между кабиной, противовесом и элементами шахты

Расстояния между элементами кабины и шахты, указанные на рис. 3, должны обеспечиваться на всем протяжении срока службы лифта.

3.19.1. Горизонтальное расстояние между внутренней поверхностью шахты лифта и порогом кабины, обрамлением дверного проема шахты и ближней створкой раздвижных дверей кабины должно быть не более 0,15 м.

Рис. 3. Расстояния между элементами кабины и шахты

Допускается увеличение этого расстояния до:

а) 0,2 м на участке шахты, высота которого не превышает 0,5 м;

б) 0,2 м по всей высоте подъема грузового лифта, оборудованного вертикально-раздвижными дверями.

Для кабин, оборудованных дверьми с механическим замком, который отпирается только в зоне отпирания дверей, указанное расстояние не ограничивается. Движение кабины должно осуществляться только при запертой двери кабины, за исключением случаев, предусмотренных в п. 5.1.13.1.

3.19.2. Горизонтальное расстояние между порогом кабины и порогом дверей шахты лифта должно быть не более 0,035 м.

3.19.3. Горизонтальное расстояние между створками двери кабины и створками двери шахты лифта должно быть не более 0,12 м.

3.19.4. При сочетании распашной двери шахты и складчатой двери кабины в любой из зазоров между этими дверьми не должен проходить шар (цилиндр) диаметром 0,15 м (рис. 4).

Рис. 4

3.19.5. Горизонтальное расстояние между элементами кабины и противовеса или уравновешивающего устройства кабины должно быть не менее 0,05 м.

4. РАЗМЕЩЕНИЕ ОБОРУДОВАНИЯ

4.1. Оборудование лифта - лебедка, связанные с ней механические и электрические устройства и блоки должны размещаться в специальном, защищенном от воздействия внешних факторов помещении. Доступ посторонних лиц в это помещение не допускается.

4.2. Доступ к помещениям

4.2.1. Освещение проходов к помещениям, в которых размещено оборудование лифта, должно соответствовать требованиям п. 6.6.8.

4.2.2. Доступ в помещение, в котором размещено оборудование лифта, осуществляется по горизонтальным площадкам. При расположении помещения и подхода к нему в разных уровнях с перепадом, превышающим 0,35 м, должны применяться стационарные лестницы, удовлетворяющие следующим условиям:

а) лестница высотой более 1,50 м должна устанавливаться под углом не более 60° к горизонтали;

б) ширина лестницы в свету должна быть не менее 0,35 м, ширина ступенек - не менее 25 мм. В случае устройства вертикальной лестницы расстояние между ступенями и стеной, расположенной за лестницей, не менее 0,15 м. Ступени должны быть рассчитаны на нагрузку 1500 Н;

в) лестница высотой более 0,5 м должна оснащаться перилами высотой не менее 0,9 м или поручнем;

г) высота лестницы должна быть не более 4,0 м.

Между дверью, закрывающей проем для доступа в помещение для размещения оборудования, и неподвижной лестницей должна быть устроена горизонтальная площадка. Между линией открывания двери и примыкающей к площадке лестницей должно оставаться расстояние не менее 500 мм. Размеры площадки должны позволять распашной двери полностью открываться. При разнице в уровнях более 500 мм площадка должна быть оснащена перилами высотой не менее 900 мм.

4.2.3. В помещениях с размещенным оборудованием лифта установка оборудования и прокладывание коммуникаций, не относящихся к лифту, не допускается.

В этих помещениях могут находиться:

а) механизмы и приспособления для обслуживания лифтов;

б) оборудование для вентиляции, кондиционирования или

обогрева воздуха за исключением парового отопления;

в) охранная и пожарная сигнализация;

г) оборудование пожаротушения.

4.2.4. В помещениях должно быть установлено устройство для подвески грузоподъемных средств, предназначенных для проведения ремонтных работ. На этом устройстве или рядом с ним должна быть указана его грузоподъемность или допустимая нагрузка.

Допускается применение иных грузоподъемных средств, обеспечивающих безопасность проведения ремонтных работ.

4.3. Машинное и блочное помещения

4.3.1. Машинное и блочное помещения должны иметь сплошное ограждение со всех сторон и на всю высоту, перекрытие и пол.

4.3.2. Ограждение машинного и блочного помещений должно отвечать требованиям п. 3.5.1. Пол машинного и блочного помещения должен иметь нескользкое и не образующее пыль покрытие.

4.3.3. Двери для доступа в машинное и блочное помещения, вместе с замками, должны выдерживать в запертом положении нагрузку в 300 Н, равномерно распределенную по круглой или квадратной площадке площадью 5 см2 и приложенную к дверной панели под прямым углом в любой ее точке и с любой стороны с упругой деформацией, не превышающей 15 мм, при этом остаточная деформация не допускается.

4.3.4. Дверь для доступа в машинное помещение должна быть сплошной и не открываться вовнутрь. Дверной проем должен иметь размеры в свету:

ширина - не менее 0,8 м;

высота - не менее 1,8 м.

Вход в машинное помещение через люк не допускается.

4.3.5. Дверь для доступа в блочное помещение должна быть сплошной и не открываться вовнутрь. Дверной проем должен иметь размеры в свету:

ширина - не менее 0,6 м;

высота - не менее 1,4 м.

Допускается вход в блочное помещение из машинного помещения через люк.

4.3.6. Люк для доступа людей в блочное помещение должен иметь размеры в свету не менее 0,8 × 0,8 м. Крышка люка должна быть сплошной. Усилие открывания крышки люка не более 150 Н.

В закрытом положении крышка люка должна выдерживать без остаточной деформации нагрузку 2000 Н, приложенную на площади 0,2 м × 0,4 м в любом месте крышки люка.

Крышка люка не должна открываться вниз, за исключением случая, когда она связана с выдвижной лестницей.

4.3.7. Сплошная крышка люка для подачи материалов и оборудования в машинное или блочное помещения не должна открываться вниз. Усилие, требуемое для открытия крышки люка, не должно превышать 150 Н.

Прочность крышки люка должна отвечать требованиям п. 4.3.6.

4.3.8. Двери и крышки люков для доступа в машинное и блочное помещения должны быть оборудованы замками, отпираемыми снаружи ключом, а изнутри помещения - без ключа.

Крышку люка для доступа в блочное помещение из машинного помещения допускается не оборудовать замком.

Крышки люков, используемых только для подачи материалов, допускается запирать только изнутри.

4.3.10. Размеры

4.3.10.1. Высота в свету зон обслуживания оборудования в машинном помещении должна быть не менее 2,0 м, высота в свету прохода к зонам обслуживания оборудования должна быть не менее 1,8 м. Высота в свету измеряется от пола прохода или зоны обслуживания до элементов перекрытия.

Над вращающимися частями лебедки должно быть свободное пространство высотой не менее 0,3 м.

При нахождении лебедки в машинном помещении в шахте лифта допускается расположение канатоведущего шкива при условии возможности его проверок, испытаний и обслуживания из машинного помещения.

4.3.10.2. Высота в свету блочного помещения, измеренная от пола до элементов перекрытия, должна быть не менее 1,5 м.

Над блоками должно быть свободное пространство высотой не менее 0,3 м.

4.3.10.3. Перед расположенными в машинном помещении устройствами управления должна быть предусмотрена зона обслуживания (свободная площадка) с размерами:

а) глубина, измеренная от наружной поверхности шкафов или панелей, не менее 0,75 м;

б) ширина равна полной ширине шкафа или панели, но не менее 0,5 м.

4.3.10.4. Для обслуживания подвижных частей механического оборудования, расположенного в машинном помещении, и ручного перемещения кабины должна быть предусмотрена зона обслуживания (свободная площадка) с размерами не менее 0,5×0,6 м.

4.3.10.5. Ширина проходов к зонам обслуживания по пп. 4.3.10.3 и 4.3.10.4 должна быть не менее 0,5 м. При отсутствии движущихся частей это расстояние допускается уменьшить до 0,4 м.

4.3.10.6. При размещении в блочном помещении устройств управления эти помещения должны соответствовать требованиям пп. 4.3.10.1, 4.3.10.3, 4.3.10.5.

4.3.11. В машинном или блочном помещении, пол которого имеет несколько уровней, для перехода с одного уровня на другой должна быть устроена стационарная лестница (ступени) под углом к горизонтали не более 60° или пандус с углом наклона не более 20° при разнице уровней более 0,35 м.

При разнице уровней пола машинного или блочного помещения более 0,5 м лестница (ступени), пандус, предназначенные для перехода на верхнюю площадку, должны быть оборудованы перилами высотой не менее 0,9 м. Верхняя площадка оборудуется такими перилами в зоне перепада уровней.

4.3.12. Вокруг отверстий над шахтой лифта должны быть устроены бортики, выступающие не менее чем на 0,05 м над уровнем плиты перекрытия или пола. Минимальное расстояние от края отверстия до проходящих через него подвижных элементов должно быть не менее 0,01 м.

4.3.13. Освещение машинного помещения должно соответствовать требованиям п. 6.6.9. Выключатель освещения устанавливается в машинном помещении, на расстоянии не более 0,75 м от входа в машинное помещение, на высоте не более 1,6 м от уровня пола.

В машинном помещении должна быть установлена розетка питания согласно п. 6.6.5.

4.3.14. Освещение блочного помещения должно соответствовать требованиям п. 6.6.10. Выключатель освещения блочного помещения устанавливается в блочном помещении, на расстоянии не более 0,75 м от входа и на высоте не более 1,6 м от уровня пола.

В блочном помещении должна быть установлена одна розетка питания согласно п. 6.6.5.

При нахождении в блочном помещении устройств управления должны выполняться требования п. 4.3.13.

4.3.15. В блочном помещении рядом с входом (входами) должно находиться электрическое устройство безопасности, отвечающее требованиям п. 6.4.31.

4.3.16. Использование машинного или блочного помещения для прохода через них на крышу или в другие помещения здания (сооружения), не относящиеся к лифту, не допускается.

4.4. Размещение оборудования лифтов без машинного помещения

4.4.1. Элементы шахты, на которых размещается оборудование, должны быть рассчитаны на нагрузки, возникающие в процессе эксплуатации и испытаний лифта.

4.4.2. Высота в свету зон обслуживания оборудования в шахте должна быть не менее 2,0 м, высота в свету прохода к зонам обслуживания оборудования должна быть не менее 1,8 м.

Высота в свету измеряется от выступающих конструкций в шахте до пола прохода или пола зоны обслуживания.

Над вращающимися частями привода должно быть свободное пространство высотой не менее 0,3 м. Это требование не распространяется на привод, расположенный под перекрытием шахты.

4.4.3. Для обслуживания устройств управления, расположенных в шахте, перед ними должна быть предусмотрена зона обслуживания (свободная площадка) с размерами:

а) глубина от наружной поверхности шкафов или панелей не менее 0,75 м;

б) ширина равна полной ширине шкафа или панели, но не менее 0,5 м.

4.4.4. Для обслуживания подвижных частей механического оборудования, расположенного в шахте, должна быть предусмотрена зона обслуживания (свободная площадка) с размерами не менее 0,5×0,6 м.

4.4.5. Должна быть предусмотрена возможность обслуживающему персоналу самостоятельно покинуть зону обслуживания при заблокированной кабине.

4.4.6. Управление устройствами для проведения эвакуации пассажиров из кабины, а также проведения динамических испытаний в соответствии с требованиями п. 4.4.8 должно осуществляться снаружи шахты.

4.4.7. Обслуживание и проверки оборудования (лебедка, связанные с ней механические и электрические устройства и блоки), размещенного в шахте, допускается производить с крыши неподвижной кабины. При этом должны быть выполнены следующие требования:

а) неконтролируемое или непредвиденное движение кабины при проведении работ по обслуживанию и проверкам должно блокироваться. Для этой цели допускается использование ловителей;

б) приведение в действие блокировочного устройства должно контролироваться электрическим устройством безопасности, соответствующим п. 6.4.34.

4.4.8. Работы в приямке по техническому обслуживанию и проверке оборудования допускается выполнять при соблюдении следующих условий:

а) должно быть предусмотрено устройство для остановки кабины. После остановки кабины расстояние между выступающими элементами кабины и полом приямка не менее 2,0 м;

б) приведение в действие блокировочного устройства контролируется электрическим устройством безопасности по п. 6.4.34;

4.4.9. При невозможности обслуживания оборудования по пп. 4.4.7 и 4.4.8 должна применяться стационарная площадка в шахте лифта.

Площадка должна выдерживать без остаточной деформации нагрузку 2000 Н, приложенную на площади 0,2×0,4 м в любом месте.

Площадка должна иметь перила, отвечающие требованиям п. 5.4.3.3.

Положение площадки в исходном (нерабочем) состоянии должно контролироваться электрическим устройством безопасности по п. 6.4.32.

Площадка должна быть оборудована устройством для перевода ее в рабочее положение. Приведение в действие этого устройства должно осуществляться снаружи шахты.

4.4.10. Освещение зон размещения оборудования должно соответствовать требованиям п. 6.6.11.

Внутри шахты в зоне обслуживания устанавливаются выключатель освещения и розетка питания по п. 6.6.5.

4.4.11. Оборудование лифта, расположенное снаружи шахты, должно размещаться в шкафу, оборудованном дверью (дверями). Дверь не должна открываться внутрь шкафа и должна иметь отпираемый ключом замок. Запирание двери допускается выполнять без ключа.

Для обслуживания оборудования должна быть предусмотрена зона обслуживания, соответствующая требованиям пп. 4.4.3. и 4.4.4.

Освещение шкафа должно соответствовать требованиям п. 6.6.12, выключатель освещения должен устанавливаться внутри шкафа.

4.4.12. Устройства управления по п. 4.4.6 должны быть защищены от несанкционированного доступа и обеспечивать:

а) режим «Управление из машинного помещения» по п. 6.3.12;

б) индикацию о направлении движения кабины и о достижении ею зоны отпирания дверей или возможность наблюдения за работой привода.

Освещение устройств управления должно соответствовать требованиям п. 6.6.13.

Перед устройствами управления должна быть свободная площадка с размерами не менее 0,5×0,6 м и высотой в свету не менее 2,0 м.

Для выполнения работ по эвакуации пассажиров должна быть предусмотрена двухсторонняя связь между пассажиром и обслуживающим персоналом.

5. МЕХАНИЧЕСКОЕ ОБОРУДОВАНИЕ ЛИФТОВ

5.1. Дверь шахты

5.1.1. Проемы в стенах шахты лифта для доступа в кабину лифта должны быть оборудованы сплошными дверями.

5.1.2. Двери шахты лифта должны отвечать требованиям норм, относящимся к пожарной безопасности соответствующего здания или сооружения.

5.1.3. Двери шахты лифта вместе с замками должны выдерживать в запертом положении нагрузку в 300 Н, равномерно распределенную по круглой или квадратной площадке площадью 5 см2 и приложенную к дверной панели под прямым углом в любой ее точке с упругой деформацией, не превышающей 15 мм, при этом остаточная деформация и изменение функционирования после снятия нагрузки не допускаются.

5.1.4. Высота в свету проема двери шахты на этажной площадке должна быть не менее 2,0 м.

5.1.5. Ширина в свету дверного проема дверей шахты лифта не должна превышать ширины в свету проема дверей кабины.

5.1.6. Проем двери шахты должен быть оборудован порогом, рассчитанным на нагрузки, возникающие при загрузке кабины.

5.1.7. Наружная поверхность автоматических раздвижных дверей не должна иметь впадин или выступов более 0,003 м. Кромки впадин или выступов менее 0,003 м должны быть скошены в направлении открывания дверей или закруглены.

5.1.8. Для ограждения дверей допускается применение многослойного стекла, испытанного в соответствии с требованиями приложения 11.

Данное требование не распространяется на прозрачные смотровые панели по п. 5.1.10.

Каждое стекло должно иметь маркировку с указанием следующей информации:

а) название и торговая марка фирмы - поставщика стекла;

б) тип стекла;

в) маркировка стекла.

5.1.9. Двери с механическим приводом

5.1.9.1. Автоматические двери с механическим приводом.

Усилие, необходимое для предотвращения закрывания двери, не должно превышать 150 Н, за исключением первой трети перемещения двери. Кинетическая энергия двери шахты и механических деталей, с которыми эта дверь жестко связана, при средней скорости закрывания должна быть не более 10 Дж.

Средняя скорость закрывания раздвижной двери рассчитывается для всего пути ее перемещения за вычетом:

а) 0,025 м от крайних положений створок в случае дверей центрального открывания;

б) 0,05 м от крайних положений створки в случае дверей бокового открывания.

Устройство должно автоматически включить реверсирование закрывающихся дверей при или перед воздействием створки на препятствие, находящееся в дверном проеме.

Устройство реверсирования устанавливается на кабине. Допускается устанавливать это устройство на двери шахты. Последние 0,05 м перемещения каждой ведущей створки двери могут находиться вне воздействия этого устройства.

В случае одновременного действия соединенных между собой дверей кабины и шахты требования настоящего пункта остаются в силе для их объединенного дверного механизма.

В случае отключения реверса при наличии в дверном проеме препятствия кинетическая энергия двери шахты не должна превышать 4 Дж во время движения двери с отключенным реверсом.

Усилие, необходимое для предотвращения открывания складчатой двери, не должно превышать 150 Н. Измерение этого усилия следует проводить на открытой двери, при этом расстояние между соседними наружными краями панелей или между наружным краем панели и порталом двери должно быть 0,1 ± 0,01 м.

5.1.9.2. Вертикально-раздвижные двери.

Вертикально-раздвижные двери могут быть применены только у грузового лифта, в котором не допускается транспортировка пассажиров. При этом:

а) створки должны быть подвешены не менее чем на двух независимых несущих элементах;

б) коэффициент запаса прочности несущих элементов должен быть не менее 8;

в) при применении в качестве несущих элементов стальных канатов отношение диаметра огибаемого канатом шкива к диаметру каната должно быть не менее 25;

г) створки двери, закрываемой (открываемой) вручную, должны быть уравновешены;

д) несущие элементы должны быть защищены от схода с канавок шкивов или звездочек.

5.1.9.3. Усилие закрытия автоматической распашной двери шахты должно быть не более 150 Н.

5.1.10. Дня открывающейся вручную двери шахты должна быть предусмотрена информация о наличии кабины на этаже:

а) одно или несколько прозрачных смотровых окон в дверях шахты, одновременно удовлетворяющих следующим условиям:

1) механическая прочность в соответствии с требованием п. 5.1.3;

2) толщина прозрачной части не менее 0,006 м;

3) прозрачная суммарная площадь окна одной двери шахты лифта не менее 0,015 м2;

4) ширина прозрачной части окна не менее 0,06 м и не более 0,15 м. Нижний край смотровых окон шириной более 0,08 м должен находиться на высоте не менее 1,0 м над уровнем этажной площадки;

или

б) световой сигнал - «кабина на данном этаже».

5.1.11. Зазор между створками, между обвязкой дверного проема и створками или между створками и порогом при закрытой двери должен быть не более 0,006 м.

При приложении в любой точке нагрузки от руки (без инструмента), равной 150 Н, в направлении открывания ведущей дверной панели (панелей) горизонтально-раздвижных или складчатых дверей указанные зазоры не должны превышать:

а) 0,03 м для дверей бокового открывания;

б) 0,045 м для дверей центрального открывания.

5.1.12. Горизонтально-раздвижная и вертикально-раздвижная двери шахты в закрытом положении должны удовлетворять следующим требованиям:

а) створки должны перекрывать не менее чем на 0,015 м обвязку дверного проема сверху и с боковых сторон у горизонтально-раздвижной двери и со всех сторон - у вертикально-раздвижной двери; при односторонне-раздвижной двери со стороны притвора створки допускается не перекрывать створкой обвязку дверного проема;

б) у горизонтально-раздвижной двери при односторонне закрывающихся створках перекрытие одной створки другой должно быть не менее 0,015 м, а зазор между этими створками не должен быть более 0,006 м.

5.1.13. Дверь шахты на этажной площадке должна быть оборудована автоматическим замком, запирающим ее прежде, чем кабина отойдет от уровня этажной площадки на расстояние 0,2 м.

Автоматический замок должен исключать отпирание двери снаружи шахты, за исключением случая, предусмотренного в п. 5.1.13.6.

5.1.13.1. У лифта с автоматическими дверями шахты и кабины допускается их открывание при приближении кабины к этажной площадке, когда расстояние от уровня пола кабины до уровня пола этажной площадки не превышает 0,2 м, при этом скорость движения кабины должна быть не более 0,63 м/с.

5.1.13.2. У грузового лифта допускается доводка кабины до уровня этажной площадки при проведении погрузочно-разгрузочных работ при открытых дверях шахты и кабины при нахождении уровня пола кабины в пределах 0,2 м от уровня пола этажной площадки, при этом скорость движения кабины должна быть не более 0,3 м/с.

5.1.13.3. Движение кабины должно быть возможным после перемещения запирающего элемента автоматического замка двери шахты на величину не менее чем на 0,007 м в ответную часть замка (рис. 5).

Рис. 5. Запирающее устройство автоматического замка двери шахты

Запирающее устройство замка автоматической двери должно непосредственно воздействовать на электрическое устройство безопасности по п. 6.4.15.

5.1.13.4. При приложении к запертой двери шахты усилия 300 Н в направлении ее открывания не должно происходить отпирание двери.

5.1.13.5. Замок двери шахты должен быть испытан в соответствии с приложением 6, на замке должна быть установлена табличка с указанием фирмы изготовителя и идентификационного номера.

5.1.13.6. Двери шахты должны отпираться снаружи специальным ключом.

После отпирания автоматическая дверь шахты должна закрываться и запираться автоматически при отсутствии кабины в зоне отпирания дверей шахты.

5.1.13.7. Дверь шахты на этажной площадке, закрываемая вручную, кроме автоматического замка, должна быть оборудована неавтоматическим замком или устройством, удерживающим дверь в закрытом положении.

5.1.14. Каждая дверь шахты на этажной площадке должна быть оборудована электрическим устройством безопасности по п. 6.4.12, контролирующим закрытие двери.

Допускается объединение указанного устройства автоматической горизонтально-раздвижной двери шахты с устройством, контролирующим запирание двери, при условии, что его срабатывание зависит от закрытия двери шахты.

Закрытие створок раздвижной двери, не запираемых замком, должно контролироваться электрическим устройством безопасности по п. 6.4.16. Указанное требование не распространяется на двери, створки которых в закрытом положении соединены неразмыкаемой кинематической связью.

У многостворчатой раздвижной двери, состоящей из нескольких соединенных гибкой кинематической связью створок (например, посредством каната, ремня или цепи), допускается запирать только одну створку при условии, что такое однократное запирание предотвращает открывание других створок и что они не снабжены ручкой.

5.1.15. Дверь должна быть оборудована устройством, предотвращающим выход створок из направляющих.

Горизонтально-раздвижные двери шахты лифта должны иметь направляющие сверху и снизу.

Вертикально-раздвижные двери шахты лифта должны иметь направляющие с обеих сторон.

5.1.16. Двери для технического обслуживания оборудования, аварийные двери, смотровые люки шахты

5.1.16.1. Двери для технического обслуживания оборудования должны иметь размеры в свету:

высота - не менее 1,8 м;

ширина - не менее 0,6 м.

Аварийные двери должны иметь размеры в свету:

высота - не менее 1,8 м;

ширина - не менее 0,35 м.

Смотровые люки должны иметь размеры в свету:

высота - не более 0,5 м;

ширина - не более 0,5 м.

5.1.16.2. Двери для технического обслуживания оборудования и аварийные двери, а также смотровые люки не должны открываться внутрь шахты.

5.1.16.3. Двери для технического обслуживания оборудования, аварийные двери и смотровые люки должны быть оборудованы отпираемым ключом замком; закрытие и запирание этих дверей и люков допускается без применения ключа.

Двери для технического обслуживания оборудования и аварийные двери должны открываться изнутри шахты лифта без ключа, даже если они заперты.

5.1.16.4. Двери для технического обслуживания оборудования и аварийные двери, а также смотровые люки должны быть сплошными, удовлетворять тем же требованиям к механической прочности, что и двери шахты лифта на этажной площадке, а также соответствовать требованиям норм пожарной безопасности, действующим для данного здания или сооружения.

5.1.16.5. Закрытие дверей и люков должно контролироваться электрическим устройством безопасности по п. 6.4.17.

5.2. Направляющие

5.2.1. Движение кабины, противовеса и уравновешивающего устройства кабины должно осуществляться по жестким стальным направляющим.

5.2.2. Направляющие, их крепления и соединения должны быть рассчитаны на нагрузки, возникающие при рабочем режиме лифта и при его испытаниях.

Прогиб направляющих под действием указанных нагрузок не должен вызывать:

а) выход башмаков кабины, противовеса или уравновешивающего устройства кабины из направляющих;

б) самопроизвольное отпирание дверей шахты;

в) нарушений условий работы устройств безопасности.

5.2.3. Расчетная величина прогиба направляющих должна быть не более:

а) 0,005 м по обеим осям для направляющих кабины, противовеса или уравновешивающего устройства кабины, оборудованных ловителями;

б) 0,01 мм по обеим осям для направляющих противовеса или уравновешивающего устройства кабины, не оборудованных ловителями.

5.2.4. Высота направляющих кабины, противовеса или уравновешивающего устройства кабины должна быть такой, чтобы при возможных перемещениях кабины, противовеса или уравновешивающего устройства кабины за пределы крайних рабочих положений башмаки не сходили с направляющих.

5.2.5. Концы смежных отрезков направляющих в месте стыка должны быть предохранены от взаимного смещения.

5.2.6. Крепление направляющих должно обеспечивать возможность регулирования направляющих при осадке здания или сжатии бетона и температурных деформациях.

5.3. Лебедка

5.3.1. На лифтах могут применяться следующие типы лебедок:

а) со шкивом или барабаном трения, с использованием канатов или ремней;

б) барабанная с канатами;

в) со звездочкой и цепью (цепями).

5.3.2. Лебедка и элементы ее крепления должны быть рассчитаны на нагрузки, возникающие в процессе эксплуатации и испытаний лифта. Лебедка барабанная или со звездочкой дополнительно должна быть рассчитана на нагрузки, возникающие при посадке кабины на верхний буфер.

5.3.3. Лебедку барабанную или со звездочкой допускается применять на лифтах с номинальной скоростью не более 0,63 м/с.

5.3.4. На лифтах, оборудованных лебедкой барабанной или со звездочкой, использование противовеса не допускается; допускается применение уравновешивающего устройства кабины.

5.3.5. У лебедки со шкивом или барабаном трения должно быть обеспечено сцепление тяговых элементов (канатов или ремней) со шкивом или барабаном, то есть способность передачи силы трением при рабочем режиме и испытаниях.

5.3.6. У лебедки со шкивом или барабаном трения должна быть исключена возможность подъема:

а) пустой кабины при противовесе, находящемся на буфере, и работающем на подъем приводе в течение времени, не превышающего оговоренного п. 6.3.18.

б) подъема противовеса при находящейся на буферах кабине и работающем на спуск приводе в течение времени, не превышающего оговоренного п. 6.3.18.

5.3.7. Между приводными элементами канатов, ремней или Цепей (шкив, барабан, звездочка) и тормозным барабаном (диском) должна быть неразмыкаемая кинематическая связь.

Для передачи крутящего момента от электродвигателя допускается применение ременной передачи. Количество ремней должно быть не менее 2 и их натяжение должно контролироваться по п. 6.4.14.

5.3.8. Доступные вращающиеся элементы лебедки:

а) ремни и цепи;

б) шкивы, блоки, шестерни и звездочки;

в) выступающие валы двигателя, шкива (барабана) трения должны быть ограждены от случайного прикосновения.

Допускается не ограждать штурвалы для ручного перемещения кабины, тормозные барабаны и гладкие цилиндрические валы, нерабочие поверхности которых должны быть окрашены в желтый цвет.

5.3.9. Спадание канатов, ремней или цепей с приводных и направляющих элементов должно быть исключено как при рабочих режимах лифта, так и при его испытаниях.

5.3.10. Должна быть предусмотрена возможность перемещения кабины при отключении электропитания лифта:

а) для ручного перемещения кабины лебедка может быть оборудована штурвалом, при этом прилагаемое к штурвалу усилие, необходимое для перемещения кабины с номинальной нагрузкой вверх, не должно превышать 235 Н. Применение штурвала со спицами или кривошипной рукоятки не допускается;

б) съемный штурвал должен храниться в машинном помещении. При нахождении в машинном помещении нескольких лебедок съемные штурвалы должны иметь соответствующую маркировку (окраску) лебедки соответствующего лифта. Электрическое устройство безопасности, отвечающее требованиям п. 6.4.28, должно размыкать цепь безопасности при установке штурвала на лебедку.

Направление движения кабины при вращении штурвала должно быть указано на лебедке или непосредственно на штурвале.

в) при перемещении кабины штурвалом должна быть предусмотрена возможность контроля из машинного помещения нахождения кабины в зоне отпирания дверей.

5.3.11. При применении барабанной лебедки, кроме того, должны быть выполнены следующие требования:

а) барабан должен иметь нарезанные по винтовой линии канавки, соответствующие диаметру каната;

б) при нахождении кабины (противовеса) на полностью сжатых буферах на барабане должно оставаться не менее полутора запасных витков каждого, закрепленного на барабане каната, не считая витков, находящихся под зажимным устройством;

в) на барабане должен быть намотан только один слой каната;

г) угол отклонения канатов относительно канавок должен быть не более 4°;

е) барабан должен иметь реборды, возвышающиеся над навитым канатом на высоту не менее одного диаметра каната. Со стороны (сторон) крепления каната реборду допускается не выполнить.

5.3.12. Лебедка должна быть оборудована автоматически действующим механическим тормозом нормально-замкнутого типа:

а) тормозной момент должен создаваться при помощи пружины сжатия или груза;

б) тормоз должен состоять из двух систем торможения, все механические элементы тормоза, задействованные в процессе приложения усилия к тормозному барабану или диску, должны дублироваться, в том числе толкатель электромагнита;

в) каждая из систем торможения должна создавать усилие торможения, достаточное для остановки и удержания кабины с грузом, масса которого равна номинальной грузоподъемности лифта;

г) применение ленточных тормозов не допускается;

е) лебедка, для которой предусмотрено ручное перемещение кабины по п. 5.3.10, должна быть оборудована устройством для ручного растормаживания. При прекращении воздействия на это устройство действие тормоза должно автоматически восстанавливаться.

5.4. Кабина

5.4.1. Кабина лифта должна быть рассчитана на нагрузки, возникающие при рабочем режиме и испытаниях лифта.

5.4.2. Купе кабины.

5.4.2.1. Купе кабины должно иметь сплошные стены, пол и потолочное перекрытие (крыша) и входные проемы для доступа пользователей. Допускаются проемы для аварийных люков и дверей.

5.4.2.2. Стены кабины должны выдерживать нагрузку в 300 Н, равномерно распределенную по круглой или квадратной площадке площадью 5 см2 и приложенную под прямым углом в любой ее точке изнутри кабины с упругой деформацией, не превышающей 15 мм, при этом остаточная деформация не допускается.

5.4.2.3. Для ограждения кабины допускается применение многослойного стекла, испытанного в соответствии с требованиями приложения 11.

Каждое стекло должно иметь маркировку с указанием следующей информации:

а) название и торговая марка фирмы - поставщика стекла;

б) тип стекла;

в) маркировка стекла.

Стена кабины со стеклом, установленным ниже 1,1 м от уровня пола, должна быть оборудована поручнем, установленным на высоте 0,9 - 1,1 м и закрепленным независимо от стекла. Перила должны выдерживать горизонтальную нагрузку 440 Н и вертикальную нагрузку 1270 Н, приложенные разновременно в любой точке.

5.4.3. Потолочное перекрытие (крыша кабины).

5.4.3.1. Крыша кабины в любом месте должна выдерживать без остаточной деформации нагрузку 2000 Н, приложенную на площади 0,2×0,4 м.

5.4.3.2. На крыше кабины должна быть предусмотрена свободная площадка для обслуживающего персонала площадью не менее 0,12 м2. Размер меньшей стороны площадки должен быть не менее 0,25 м.

5.4.3.3. Если зазор, измеренный в горизонтальной плоскости перпендикулярно от внешнего края крыши кабины до ограждения шахты, превышает 0,3 м, то крыша кабины со стороны этого зазора должна быть оборудована перилами высотой не менее 0,9 м.

При измерении зазора имеющиеся в ограждении шахты ниши с размерами менее 0,3×0,3 м (ширина×высота) не учитываются.

5.4.3.3.1. В конструкцию перил должны входить поручень, обшивка понизу высотой 0,1 м и поперечина, расположенная на половине высоты перил. Перила должны выдерживать горизонтальную нагрузку 440 Н и вертикальную нагрузку 1270 Н, приложенные разновременно в любой точке.

5.4.3.3.2. Зазор, измеренный в горизонтальной плоскости, между наружным краем поручня и оборудованием, расположенным в шахте (противовес, выключатели, направляющие, кронштейны и т.п.), должен быть не менее 0,1 м.

5.4.3.3.3. Расстояние между перилами и краем крыши кабины должно быть не более 0,15 м.

5.4.3.4. Стекло, применяемое для потолочного перекрытия кабины, должно быть ламинированным (многослойным) и выдерживать нагрузку по п. 5.4.3.1.

5.4.4. На крыше кабины должны быть предусмотрены:

а) аппараты управления по п. 6.3.14;

б) устройство остановки лифта по п. 6.4.22;

в) электрическая розетка по п. 6.6.5.

5.4.5. Под порогом кабины на всю ширину дверного проема должен быть установлен вертикальный щит заподлицо с передней кромкой порога.

Вертикальная часть щита должна заканчиваться скосом, угол которого с горизонтальной плоскостью должен быть не менее 60°. Проекция этого скоса на горизонтальную плоскость должна составлять не менее 0,02 м.

Высота вертикальной части щита, включая высоту порога кабины, должна быть не менее 0,75 м.

У кабины лифта, перемещающейся по наклонно установленным направляющим (в пределах 15°), указанный щит должен быть установлен параллельно внутренней поверхности стены шахты со стороны входа в кабину.

5.4.6. Высота кабины, измеренная от пола до потолочного перекрытия, должна быть не менее 2,0 м. При определении высоты кабины находящиеся на потолочном перекрытии и выступающие не более 0,05 м элементы (плафон, решетка, багет и т.п.) не учитываются.

5.4.7. Высота в свету входного проема кабины должна быть не менее 2 м и не менее высоты двери шахты.

5.4.8. Входной проем кабины должен быть оборудован дверью.

5.4.8.1. Дверь кабины должна быть сплошной. В вертикально-раздвижных дверях допускается применение сетки или перфорированного листа. Размеры ячеек сетки или отверстий перфорированного листа должны быть не более 0,01 м по горизонтали и 0,06 м по вертикали.

5.4.8.2. Зазор между створками, между обвязкой дверного проема и створками или между створками и порогом при закрытой двери должен быть не более 0,006 м.

5.4.8.3. Распашные двери не должны открываться наружу.

5.4.8.4. При оборудовании двери шахты смотровыми окнами в соответствии с п. 5.1.11 дверь кабины также должна быть оборудована смотровыми окнами.

Смотровое окно должно соответствовать требованиям п. 5.1.11 и располагаться на двери кабины так, чтобы визуально совмещаться со смотровым окном (окнами) двери шахты, когда кабина находится на уровне этажной площадки.

5.4.8.5. Двери кабины в закрытом положении должны выдерживать нагрузку в 300 Н, равномерно распределенную по круглой или квадратной площадке площадью 5 см2 и приложенную изнутри кабины перпендикулярно к плоскости двери в любой ее точке с упругой деформацией, не превышающей 15 мм, при этом остаточная деформация и изменение функционирования после снятия нагрузки не допускается.

5.4.8.6. Для ограждения дверей кабины допускается применение многослойного стекла, испытанного в соответствии с требованиями приложения 11.

Каждое стекло должно иметь маркировку с указанием следующей информации:

а) название и торговая марка фирмы - поставщика стекла;

б) тип стекла;

в) маркировка стекла.

5.4.8.7. Обращенная в кабину поверхность автоматических раздвижных дверей не должна иметь впадин или выступов более 0,003 м. Кромки впадин и выступов менее 0,003 м должны быть скошены в направлении открывания дверей или закруглены. Требование не распространяется на изготовленные из сетки или перфорированного листа вертикально-раздвижные двери.

5.4.8.8. Горизонтально-раздвижные двери с автоматическим приводом и складчатые двери должны соответствовать требованиям п. 5.1.9.1.

5.4.8.9. Вертикально-раздвижные двери должны соответствовать требованиям п. 5.1.9.2.

5.4.8.10. Дверь кабины должна быть оборудована электрическим устройством безопасности по п. 6.4.18, контролирующим закрытие двери и предотвращающим движение кабины при открытых дверях, за исключением случая, оговоренного в пп. 5.1.13.1 и 5.1.13.2.

Если горизонтально-раздвижная дверь кабины состоит из нескольких, соединенных прямой кинематической связью створок (например, система рычагов), указанное электрическое устройство безопасности допускается устанавливать:

а) только на одну створку (быстрая створка в случае многостворчатых дверей);

б) на привод дверей, имеющий прямую кинематическую связь со створками.

5.4.8.11. У горизонтально-раздвижной двери кабины, состоящей из нескольких, имеющих косвенную кинематическую связь створок (посредством каната, ремня или цепи), указанное электрическое устройство безопасности допускается устанавливать только на ведомую створку при условии, что ведущая створка имеет прямую кинематическую связь с приводом дверей.

5.4.8.12. Дверь кабины должна быть оборудована автоматическим замком в случае, предусмотренном п. 3.19.1. Автоматический замок должен соответствовать требованиям п. 5.1.13.

5.4.8.13. Усилие открывания дверей кабины, стоящей в зоне отпирания дверей, должно быть не более 300 Н.

5.4.8.14. Пороги и направляющие дверей должны соответствовать требованиям пп. 5.1.6 и 5.1.15.

5.4.9. При оборудовании кабины аварийным люком его размеры в свету должны быть не менее 0,35×0,5 м. Аварийный люк должен быть сплошным, не должен открываться внутрь кабины и в открытом положении выступать за габариты кабины.

Люк должен быть оборудован замком, отпираемым с наружной стороны кабины без ключа, а изнутри кабины ключом, отвечающим приложению 8.

5.4.10. Кабину допускается оборудовать аварийной дверью для перехода людей в кабину соседнего лифта при выполнении следующих условий:

а) дверь не должна открываться наружу;

б) створка двери должна быть сплошной;

в) расстояние между кабинами должно быть не более 0,75 м;

г) в проходе между кабинами не должны размещаться тяговые канаты, вертикально расположенные провода и кабели;

д) проход между кабинами не должен пересекать зону движения противовеса;

ж) аварийная дверь должна быть оборудована замком, отпираемым с наружной стороны кабины без ключа, а изнутри кабины ключом, отвечающим приложению 8.

5.4.11. Запирание аварийной двери и люка должно контролироваться электрическим устройством безопасности по п. 6.4.19.

После отпирания аварийной двери или люка автоматическое возвращение лифта в режим «Нормальная работа» не допускается.

5.4.12. Кабина со сплошными дверями должна быть оборудована вентиляционными отверстиями, расположенными вверху и внизу кабины.

Площадь вентиляционных отверстий, как в верхней, так и в нижней части кабины должна составлять не менее чем по 1 % полезной площади пола кабины.

Вентиляционные отверстия должны быть выполнены или размещены так, чтобы через них не прошел изнутри кабины в шахту стержень диаметром 0,1 м.

5.4.13. Кабина должна быть оборудована ловителями, соответствующими требованиям п. 5.6.

5.4.14. Кабина должна быть оборудована башмаками. Конструкция башмаков должна исключать выход кабины из направляющих, самопроизвольную посадку кабины на ловители, а также ограничивать горизонтальное перемещение кабины относительно направляющих.

5.4.15. В кабине лифта должны быть указаны сведения:

а) грузоподъемность в кг;

б) вместимость (количество человек);

в) фирма - изготовитель лифта;

г) заводской номер.

5.5. Противовес и уравновешивающее устройство кабины

5.5.1. Противовес и уравновешивающее устройство кабины должны быть рассчитаны на нагрузки, возникающие:

а) при рабочем режиме лифта;

б) при посадке противовеса на ловители (при оборудовании противовеса ловителями) и буфера;

в) при посадке уравновешивающего устройства кабины на ловители (при оборудовании уравновешивающего устройства кабины ловителями);

г) при посадке кабины на буфера и ловители.

Нагрузки, действующие на противовес или уравновешивающее устройство кабины при посадке их на ловители, должны определяться при скорости движения противовеса или уравновешивающего устройства кабины в соответствии с п. 5.7.2.

Нагрузки, действующие на противовес при посадке его на буфера, должны определяться при скорости движения противовеса в соответствии с п. 5.8.2.

Нагрузки, действующие на противовес или уравновешивающее устройство кабины при посадке кабины на ловители или буфера, должны определяться при скорости движения кабины в соответствии с пп. 5.7.1 и 5.8.2.

5.5.2. Конструкции противовеса или уравновешивающего устройства кабины, в состав которых входят грузы, должны исключать их самопроизвольное смещение, как в горизонтальной, так и в вертикальной плоскостях.

5.5.3. Противовес или уравновешивающее устройство кабины должны быть оборудованы башмаками. Конструкция башмаков должна исключать выход противовеса (уравновешивающего устройства) из направляющих, самопроизвольную посадку противовеса (уравновешивающего устройства) на ловители, а также ограничивать горизонтальное перемещение противовеса (уравновешивающего устройства) относительно направляющих.

5.5.4. Противовес и уравновешивающее устройство кабины должны быть оборудованы ловителями в случае, предусмотренном п. 3.5.6.

5.6. Ловители

5.6.1. Ловители должны останавливать и удерживать на направляющих движущуюся вниз кабину (противовес или уравновешивающее устройство кабины) при их включении от действия ограничителя скорости.

Допускается использование ловителей для торможения и/или остановки движущейся вверх кабины при превышении ее скорости более величины по п. 5.7.1.

5.6.2. Ловители должны быть испытаны в соответствии с приложением 6.

5.6.3. Ловители кабины, противовеса и уравновешивающего устройства кабины должны приводиться в действие своим ограничителем скорости.

Ловители противовеса или уравновешивающего устройства кабины лифта с номинальной скоростью не более 1,0 м/с допускается приводить в действие устройством, срабатывающим от обрыва или слабины тяговых элементов.

5.6.4. Кабина лифта с номинальной скоростью более 1 м/с должна быть оборудована ловителями плавного торможения.

Допускается применение:

а) ловителей резкого торможения с амортизирующим элементом, если номинальная скорость лифта не более 1 м/с;

б) ловителей резкого торможения, если номинальная скорость лифта не более 0,63 м/с.

При оборудовании кабины более чем одним ловителем на каждую из направляющих все ловители должны быть плавного торможения.

5.6.5. Противовес или уравновешивающее устройство кабины по п. 3.5.6 лифта с номинальной скоростью более 1 м/с должны оборудоваться ловителями плавного торможения.

5.6.6. Ловители должны автоматически принимать исходное положение и быть готовыми к работе после подъема кабины, противовеса или уравновешивающего устройства кабины, остановленных ловителями.

5.6.7. Величина среднего замедления кабины с номинальным грузом при посадке на ловители должна быть не более:

а) 9,81 м/с2 для ловителей плавного торможения;

б) 25 м/с2 для ловителей резкого торможения.

5.6.8. Срабатывание ловителей кабины должно контролироваться электрическим устройством безопасности по п. 6.4.23, размыкающим цепь безопасности до или в момент срабатывания ловителей.

5.6.9. Ловители с регулируемым усилием торможения должны быть опломбированы изготовителем.

5.6.10 Ловитель должен быть снабжен табличкой с указанием:

а) фирмы - производителя данного ловителя;

б) идентификационного номера.

5.7. Ограничитель скорости

5.7.1. Ограничитель скорости, приводящий в действие ловители кабины, должен срабатывать, если скорость движения кабины вниз превысит номинальную не менее чем на 15 % и составит не более:

а) 0,8 м/с для ловителей резкого торможения;

б) 1,5 м/с для ловителей плавного торможения и ловителей резкого торможения с амортизирующим элементом при номинальных скоростях не более 1,0 м/с;

1,25v + 0,25/v (м/с) для ловителей плавного торможения при номинальных скоростях более 1,0 м/с, где v - номинальная скорость кабины в м/с.

5.7.2. Ограничитель скорости, приводящий в действие ловители противовеса или уравновешивающего устройства кабины, должен срабатывать, если скорость движения противовеса или уравновешивающего устройства кабины вниз превысит номинальную не менее чем на 15 % и не более чем на величину, превышающую на 10 % верхний предел скорости, установленный для срабатывания ограничителя скорости кабины.

5.7.3. Ограничитель скорости должен быть испытан в соответствии с приложением 6.

5.7.4. Для проведения проверок и испытаний должна быть предусмотрена возможность приведения в действие ловителей от ограничителя скорости при движении кабины со скоростью ниже, указанной в п. 5.7.1.

5.7.5. Должна быть предусмотрена возможность проверки срабатывания ограничителя скорости при частоте вращения, соответствующей скорости движения кабины, противовеса или уравновешивающего устройства кабины, указанной в пп. 5.7.1 и 5.7.2.

5.7.6. Диаметр каната, приводящего в действие ограничитель скорости, должен быть не менее 0,006 м.

5.7.6.1. Коэффициент запаса прочности каната ограничителя скорости, определенный как отношение разрывного усилия каната в целом к усилию, возникающему в нем при срабатывании ловителей, должен быть не менее 8.

5.7.6.2. Отношение диаметра шкива или блока к диаметру огибаемого каната, приводящего в действие ограничитель скорости, должно быть не менее 30.

5.7.6.3. Канат, приводящий в действие ограничитель скорости, должен натягиваться натяжным устройством.

5.7.6.4. Обрыв или нерегламентированная вытяжка каната, приводящего в действие ограничитель скорости, должны вызывать остановку привода электрическим устройством безопасности, отвечающим требованиям п. 6.4.25.

5.7.6.5. Для ограничителя скорости, у которого усилие для приведения в действие ловителей создается только за счет трения между канатом и рабочим шкивом, должна быть предусмотрена возможность проверки достаточности силы трения между ними для приведения в действие ловителей при движении кабины со скоростью, ниже указанной в п. 5.7.1.

5.7.7. На ограничителе скорости должно быть указано направление вращения, соответствующее включению ловителей.

5.7.8. Ограничитель скорости посредством электрического устройства безопасности, отвечающего требованиям п. 6.4.20, должен размыкать цепь безопасности до момента достижения движущейся вниз кабиной скорости, при которой срабатывает ограничитель скорости.

При номинальной скорости лифта не более 1 м/с допускается размыкание цепи безопасности этим устройством в момент срабатывания ограничителя скорости.

5.7.9. Если после снятия с ловителей ограничитель скорости автоматически не возвращается в исходное состояние, то электрическое устройство безопасности по п. 6.4.21 должно предотвращать пуск лифта до приведения ограничителя скорости в исходное состояние.

5.7.10. Допускается устанавливать ограничитель скорости в шахту при выполнении следующих условий:

а) приведение в действие ограничителя скорости для его испытания осуществляется обслуживающим персоналом снаружи шахты лифта при помощи механического или электрического дистанционного управления, за исключением бескабельного;

б) после срабатывания ограничитель скорости автоматически возвращается в исходное положение во время перемещения кабины, противовеса или уравновешивающего устройства кабины.

5.7.11. Ограничитель скорости должен быть снабжен табличкой с указанием:

а) фирмы - производителя данного ловителя;

б) идентификационного номера;

в) скорости срабатывания ограничителя скорости.

5.8. Буфера

5.8.1. Лифт должен быть оборудован буферами, ограничивающими перемещение кабины и противовеса вниз.

Лифт, оборудованный лебедкой барабанной или со звездочкой, дополнительно должен быть оборудован буферами, ограничивающими перемещение кабины вверх.

5.8.1.1. Лифт с номинальной скоростью, не превышающей 0,3 м/с, допускается оборудовать жесткими упорами.

5.8.1.2. Применение буферов энергонакопительного типа допускается при номинальных скоростях не более 1 м/с.

5.8.1.3. Применение буферов энергонакопительного типа с амортизированным обратным ходом допускается при номинальных скоростях не более 1,6 м/с.

5.8.1.4. Применение буферов энергорассеивающего типа допускается при любых номинальных скоростях лифта.

5.8.1.5. Буфера энергонакопительного типа с нелинейными характеристиками и/или с амортизированным обратным ходом, а также буфера энергорассеивающего типа должны испытываться в соответствии с приложением 6.

5.8.2. Буфера и жесткие упоры должны быть рассчитаны на посадку кабины с грузом или противовеса, движущихся со скоростью:

а) превышающей на 15 % номинальную скорость лифта - все буфера и упоры, кроме гидравлического буфера с уменьшенным полным ходом плунжера;

б) превышающей на 15 % расчетную уменьшенную скорость лифта - гидравлический буфер с уменьшенным полным ходом плунжера.

При этом масса груза должна превышать номинальную грузоподъемность лифта на 25 %.

5.8.3. Буфера энергонакопительного типа

5.8.3.1. Полный ход буфера с линейными характеристиками определяется по формуле

S = (1,15v)2/gn = 0,1348v2,

где S - полный ход буфера (м);

v - номинальная скорость кабины лифта (м/с);

gn = 9,81 - ускорение свободного падения (м/с2).

Полный ход буфера должен быть не менее 0,065 м.

5.8.3.2. Буфера энергонакопительного типа с нелинейными характеристиками и буфера энергонакопительного типа с амортизированным обратным ходом должны удовлетворять следующим требованиям:

а) при посадке на буфер средняя величина замедления кабины с номинальной нагрузкой, движущейся со скоростью, равной 115 % от номинальной, не должна превышать 9,81 м/с2;

б) время действия ускорения замедления, превышающего 25 м/с2, должно быть не более 0,04 с.

5.8.4. Буфера энергорассеивающего типа

5.8.4.1. Полный ход буфера энергорассеивающего типа с линейными характеристиками определяется по формуле

S ≥ (1,15v)2/(2gn) = 0,0674v2 (м),

где S - полный ход буфера;

v - номинальная скорость кабины лифта (м/с);

gn = 9,81 - ускорение свободного падения (м/с2).

Если замедление лифта при подходе к верхней и нижней этажным площадкам контролируется согласно п. 6.3.7, то при паснете полного хода вместо номинальной скорости можно использовать скорость соприкосновения кабины (или противовеса) с буфером. При этом полный ход таких буферов должен быть менее:

а) 50 % полного хода, если номинальная скорость не более 4 м/с, но не менее 0,42 м;

б) 33 % полного хода, если номинальная скорость более 4,0 м/с, но не менее 0,54 м.

5.8.4.2. Буфера энергорассеивающего типа должны удовлетворять следующим требованиям:

а) при посадке на буфер средняя величина замедления кабины с номинальной нагрузкой при свободном падении со скоростью, составляющей 115 % от номинальной, не должна превышать 9,81 м/с2;

б) время действия ускорения замедления, превышающего 25 м/с2, должно быть не более 0,04 с.

5.8.4.3. Буфер энергорассеивающего типа после снятия с него нагрузки должен автоматически возвращаться в исходное положение. Возврат буфера в исходное положение должен контролироваться электрическим устройством безопасности по п. 6.4.29.

5.8.4.4. Должна быть предусмотрена возможность контроля уровня жидкости в гидравлическом буфере.

5.8.5. При оборудовании кабины или противовеса ловителями по п. 5.6.4 а) амортизирующее устройство ловителей может использоваться вместо буферов, предусмотренных п.5.8.1.

В этом случае в нижней части шахты должны быть установлены жесткие упоры, взаимодействующие с каркасом кабины (противовеса).

5.8.6. Буфера, за исключением буферов энергонакопительного типа, должны быть снабжены табличкой с указанием:

а) фирмы - производителя данного ловителя;

б) идентификационного номера.

5.9. Тяговые элементы и подвеска

5.9.1. Кабина, противовес или уравновешивающее устройство кабины должны быть подвешены на стальных проволочных канатах или тяговых пластинчатых или на приводных роликовых (втулочных) цепях. Допускается применение других тяговых элементов при условии, что они обеспечивают уровень безопасности не ниже, чем при использовании стальных канатов или цепей, в том числе коэффициент запаса прочности, установленный для стальных канатов.

5.9.2. Тяговые элементы, соединяющие кабину с противовесом, должны быть одинаковой конструкции, иметь одинаковые размеры и характеристики.

5.9.3. Тяговые элементы, применяемые в лифте, должны иметь документ, подтверждающий их качество. Не допускается сращивание тяговых элементов.

5.9.4. Число тяговых элементов должно быть не менее двух.

5.9.5. При полиспастной подвеске все ветви одного тягового элемента считаются как один тяговый элемент.

5.9.6. Нормы браковки находящихся в эксплуатации стальных канатов приведены в приложении 13.

При использовании стальных канатов, не указанных в приложении 13, или других тяговых элементов и невозможности установить норму их браковки в соответствии с п. 4 указанного приложения нормы браковки должны быть приведены в руководстве по эксплуатации лифта.

5.9.6. Канаты

5.9.6.1. Номинальный диаметр стальных проволочных тяговых канатов должен быть не менее 0,008 м.

5.9.6.2. Отношение между диаметром шкивов, блоков и барабанов и номинальным диаметром тяговых канатов должен быть не менее 40.

5.9.6.3. Коэффициент запаса прочности тяговых канатов должен быть не менее:

а) 12 для лебедки с канатоведущим шкивом или барабаном трения и тремя и более канатами;

б) 16 для лебедки с канатоведущим шкивом или барабаном трения и двумя канатами;

в) 12 для лебедки барабанной.

Коэффициент запаса прочности определяется по формуле:

K = P/S,

где Р - разрывное усилие каната;

S - максимальная нагрузка, действующая на канат при нахождении кабины с номинальной нагрузкой на уровне нижней этажной площадки.

5.9.6.4. Заделка концов канатов при креплении их к кабине, противовесу или уравновешивающему устройству кабины или точкам подвески неподвижной ветви полиспаста должна выдерживать не менее 80 % разрывного усилия каната.

5.9.6.5. Крепление каната к барабану должно выполняться или посредством заклинивания, или с использованием не менее двух прижимных планок, или любым другим способом, обеспечивающим эквивалентный уровень безопасности. При нахождении кабины на полностью сжатом буфере или упоре на барабане должно оставаться не менее полутора запасных витков каждого каната, не считая витков находящихся под прижимными планками.

5.9.7. Коэффициент запаса прочности тяговых цепей должен быть не менее 10. Коэффициент запаса прочности определяется по формуле п. 5.9.6.3.

5.9.8. Распределение нагрузки между тяговыми элементами

5.9.8.1. Для уменьшения разности натяжения в отдельных тяговых элементах должно быть предусмотрено автоматическое устройство.

Для уменьшения разности натяжения в отдельных тяговых цепях указанное устройство должно быть установлено как со стороны кабины, так и со стороны уравновешивающего груза.

5.9.8.2. В качестве автоматического устройства для уменьшения разности натяжения тяговых элементов допускается применять пружины сжатия.

5.9.8.3. Электрическое устройство безопасности по п. 6.4.24 должно размыкать цепь безопасности при относительном перемещении (ослаблении) тяговых элементов сверх величины, допускаемой устройством по п. 5.9.8.1, и обрыве одного, нескольких или всех тяговых элементов.

5.9.9. При применении уравновешивающих канатов должны быть выполнены следующие условия:

а) применяться натяжное устройство с блоком (блоками);

б) отношение диаметра блока натяжного устройства к диаметру уравновешивающего каната должно быть не менее 30;

в) натяжение обеспечивается силой тяжести и контролируется электрическим устройством безопасности по п. 6.4.26.

Лифты, номинальная скорость которых превышает 3,5 м/с, в дополнение к перечисленным требованиям должны быть оборудованы устройством, ограничивающим подскок натяжного устройства. Срабатывание этого устройства должно вызывать размыкание цепи безопасности электрическим устройством безопасности по п. 6.4.27.

5.9.10. Отводные блоки и звездочки должны иметь ограждение для предотвращения:

а) травм обслуживающего персонала;

б) спадания тяговых элементов с блоков и звездочек;

в) попадания предметов между тяговыми элементами и блоками или звездочками.

Конструкция ограждения должна предусматривать возможность проведения без его разборки работ по осмотру блоков и звездочек. Если в ограждении имеются отверстия, они должны соответствовать требованиям приложения 10.

6. ЭЛЕКТРИЧЕСКОЕ ОБОРУДОВАНИЕ ЛИФТОВ

6.1. Общие требования

6.1.1. Техническая характеристика электрического оборудования и его исполнение должны соответствовать параметрам лифта по напряжению и частоте питающей сети, токовым нагрузкам, а также условиям его эксплуатации, хранения и транспортирования.

6.1.2. Лифт должен быть оборудован устройством с ручным приводом*, прерывающим электропитание всех электрических цепей, за исключением электрических цепей по п. 6.1.4.

* Данным устройством может быть вводное устройство, автоматический выключатель и аналогичные устройства с ручным приводом.

Должна быть предусмотрена возможность блокировки устройства в отключенном положении посредством запираемого замка или аналогичного средства.

6.1.3. Устройство по п. 6.1.2 устанавливается в машинном помещении, а при отсутствии машинного помещения:

а) в шкафу для аппаратов управления, за исключением случая установки шкафа в шахте;

б) рядом с устройствами для управления лифтом при эвакуации пассажиров по п. 4.4.6 - при установке шкафа для аппаратов управления в шахте.

6.1.4. Устройство по п. 6.1.2 не должно отключать цепи:

а) освещения помещений для размещения оборудования;

б) освещения шахты;

в) освещения кабины;

г) розеток на крыше кабины, под кабиной, в приямке и машинном помещении по п. 6.6.5;

д) вентиляции кабины;

е) двусторонней переговорной связи из кабины;

ж) аварийной сигнализации;

з) вызова обслуживающего персонала из кабины.

При этом, для отключения указанных в пп. а) - г) цепей должны быть предусмотрены отдельные выключатели.

В общем машинном помещении для нескольких лифтов на каждый лифт должен быть свой выключатель цепи освещения кабины.

Выключатели цепи освещения шахты должны находиться в шахте и/или рядом с устройством по п. 6.1.2.

Цепи освещения кабины и ее вентиляции, вызова обслуживающего персонала из кабины, двусторонней переговорной связи из кабины, ремонтной связи, а также цепи питания розеток и аварийной сигнализации допускается включать после устройства по п. 6.1.2, если предусмотрены дополнительные выключатели для отключения силовой цепи и цепи управления. При этом устройство по п. 6.1.2 не должно быть оборудовано приводом для дистанционного отключения.

6.1.5. При размещении оборудования нескольких лифтов в общем машинном помещении в это помещение должен быть осуществлен ввод не менее двух питающих линий.

6.1.6. При размещении электрооборудования лифта в разных помещениях должны быть предусмотрены несамовозвратные устройства для отключения лифта в каждом из этих помещений.

6.1.7. На одной из этажных площадок допускается установка выключателя для дистанционного отключения силовой питающей цепи и (или) цепей управления при включенном устройстве по п. 6.1.2; при этом должна быть исключена возможность отключения при наличии в кабине людей. Доступ посторонних лиц к этому устройству должен быть исключен.

6.1.8. Напряжение силовых электрических цепей должно быть:

а) не более 660 В - в машинном помещении;

б) не более 415 В переменного тока частоты 50 Гц, 440 В переменного тока частоты 60 Гц и 460 В постоянного (выпрямленного) тока - в кабине, шахте и на этажных площадках, а также на площадках, где установлено электрооборудование при отсутствии машинного помещения.

Напряжение питания цепей управления, подключения ремонтного инструмента, освещения и сигнализации должно быть не более 250 В.

6.1.9. Напряжение цепи питания переносных ламп должно быть не более 42 В. Применение автотрансформаторов с целью понижения напряжения для этой цели не допускается.

6.1.10. Для питания цепей управления, подключения ремонтного инструмента, освещения и сигнализации допускается использование фазы и нулевого провода сети с глухозаземленной нейтралью источника тока (включение на фазное напряжение).

6.1.11. При включении на фазное напряжение цепей, в состав которых входят электрические устройства безопасности, между выводом обмоток электромагнитных аппаратов (контакторов, пускателей, реле и т.п.) в этих цепях и нулевым проводом не должно быть контактов электрических устройств безопасности.

6.1.12. При питании переменным током от понижающего трансформатора цепей, в состав которых входят электрические устройства безопасности, один вывод вторичной обмотки трансформатора должен быть заземлен. Между выводом обмотки электромагнитных аппаратов в этих цепях и заземленным выводом трансформатора не должно быть контактов электрических устройств безопасности.

6.1.13. При питании от понижающего трансформатора через выпрямительное устройство цепей, в состав которых входят электрические устройства безопасности, один из полюсов выпрямительного устройства на стороне выпрямленного напряжения должен быть заземлен. При этом между выводом обмотки электромагнитных аппаратов в цепи управления и заземленным полюсом не должно быть контактов электрических устройств безопасности. Вторичную обмотку понижающего трансформатора в этом случае заземлять не допускается.

6.1.14. Установка в заземляющих (зануляющих) проводниках предохранителей, контактов и других размыкающих элементов, в том числе бесконтактных, не допускается.

6.1.15. Токоведущие части выключателей с ручным приводом: устройства по п. 6.1.2 выключателей, устанавливаемых в шахте, помещении для размещения оборудования, выключателей дистанционного отключения электрических цепей должны быть защищены от случайного прикосновения, если напряжение на них более 42 В переменного тока или более 60 В постоянного тока. Степень защиты оболочки или кожуха должна приниматься по установленным нормам. Положение этих выключателей должно быть обозначено соответствующими символами или надписями: «Вкл.», «Откл.».

6.1.16. Замыкание электрической цепи, в которой имеются электрические устройства безопасности, на землю или на металлические конструкции должно вызывать остановку лифта и предотвращать пуск лифта после его остановки до устранения замыкания.

6.2. Электропривод лифта

6.2.1. Электропривод должен удовлетворять следующим требованиям:

а) замыкание токоведущих частей электрического привода тормоза (электромагнита и т.п.) на корпус не должно вызывать включение этого привода и снятие механического тормоза при остановленном лифте и не должно препятствовать наложению механического тормоза после отключения электродвигателя;

б) у лифта с номинальной скоростью более 0,63 м/с должна быть предусмотрена возможность движения кабины с пониженной скоростью не более 0,4 м/с с учетом требования п. 6.3.14.

6.2.2. Электропривод переменного тока при питании электродвигателя непосредственно от сети должен удовлетворять следующим требованиям:

а) снятие механического тормоза должно происходить одновременно с включением электродвигателя или после его включения;

б) отключение электродвигателя должно сопровождаться наложением механического тормоза;

в) цепь главного тока электродвигателя должна прерываться не менее чем двумя независимыми электромагнитными аппаратами (один из которых может быть концевым выключателем). Вместо одного из электромагнитных аппаратов может использоваться бесконтактный ключ;

г) если при неподвижном лифте один из электромагнитных аппаратов не разомкнул контакты в цепи главного тока, то возможность дальнейшего движения должна быть предотвращена не позднее следующего изменения направления движения лифта.

6.2.3. Электропривод переменного тока при питании электродвигателя лебедки от управляемого преобразователя должен удовлетворять следующим требованиям:

а) прерывание электропитания тормоза должно производиться не менее чем двумя электрическими устройствами, объединенными или функционально связанными с электрическими устройствами, вызывающими прерывание питания электродвигателя лебедки. Снятие механического тормоза должно происходить только при величине тока электродвигателя лебедки, обеспечивающей необходимый момент для удержания кабины;

б) отключение электродвигателя лебедки должно сопровождаться наложением механического тормоза;

в) цепь главного тока электродвигателя лебедки должна прерываться двумя независимыми электромагнитными аппаратами; допускается иметь одинарный разрыв всех фаз контактами одного электромагнитного аппарата при условии, что при его отключении одновременно полностью блокируется (прекращается) поток энергии от преобразователя к электродвигателю;

г) отключение электродвигателя лебедки должно производиться, если преобразователь не пропускает поток энергии к электродвигателю при пуске, установившейся скорости и (или) торможении или когда поток энергии к электродвигателю не прекращается при остановке лифта и наложении механического тормоза;

д) дистанционное отключение преобразователя, питающего электродвигатель лебедки (если оно предусмотрено системой управления), должно быть возможно после наложения механического тормоза;

е) не допускается размещение предохранителей и выключателей или других размыкающих устройств между преобразователем и электродвигателем лебедки, если система электропривода предусматривает удержание кабины на уровне посадочной площадки моментом электродвигателя.

6.2.4. Электропривод постоянного тока при питании электродвигателя лебедки от управляемого преобразователя должен удовлетворять следующим требованиям:

а) прерывание электропитания тормоза должно производиться не менее чем двумя электрическими устройствами, объединенными или функционально связанными с электрическими устройствами, вызывающими прерывание питания электродвигателя лебедки. Снятие механического тормоза должно происходить только при величине тока электродвигателя лебедки, обеспечивающей необходимый момент для удержания кабины;

б) каждая остановка кабины должна сопровождаться наложением механического тормоза. Допускается не накладывать механический тормоз при остановке на уровне этажной площадки при условии, что кабина будет удерживаться на этом уровне моментом электродвигателя в пределах, предусмотренных п. 1.11;

в) дистанционное отключение преобразователя, питающего электродвигатель лебедки (если оно предусмотрено системой управления), должно быть возможно после наложения механического тормоза;

г) при размыкании цепи возбуждения электродвигателя лебедки должно быть обеспечено автоматическое снятие напряжения с якоря электродвигателя и наложение механического тормоза;

д) включение предохранителей и выключателей или других размыкающих устройств между преобразователем и электродвигателем лебедки не допускается, если система электропривода предусматривает удержание кабины на уровне этажной площадки моментом электродвигателя.

6.3. Виды и система управления

6.3.1. Лифты могут иметь следующие виды управления:

а) внутреннее управление;

б) наружное управление;

в) смешанное управление.

6.3.2. Пост управления в кабине лифта с автоматическими дверями должен быть оборудован кнопкой с расположенной на кнопке или рядом с ней надписью «Двери» или соответствующим графическим символом. Нажатие на кнопку «Двери» должно приводить к открыванию дверей при нахождении неподвижной кабины на уровне этажной площадки.

Допускается устанавливать вместо кнопки «Двери» кнопку «Отмена», нажатие на которую вызывает при нахождении неподвижной кабины на уровне этажной площадки отмену зарегистрированных приказов и отмену закрытия дверей кабины. При нажатии на кнопку «Отмена» во время движения кабины кабина должна остановиться на ближайшей по ходу движения этажной площадке и открыть двери.

Кнопка «Стоп» в кабине устанавливаться не должна.

6.3.3. Пуск и движение кабины должны быть невозможны при открытой двери кабины (или какой-либо створки в случае многостворчатой двери), за исключением случая, предусмотренного в пп. 5.1.13.1 и 5.1.13.2. Отправление кабины с пассажиром по команде управления с этажной площадки допускается, но не менее чем через 2 с после закрытия дверей, если приказ из кабины не был зарегистрирован.

6.3.4. Система управления лифтом должна удовлетворять следующим требованиям:

а) при исчезновении электроснабжения лифта одновременно с отключением электродвигателя лебедки должна автоматически отключаться цепь управления.

После восстановления электроснабжения пуск кабины у лифтов с одиночным управлением должен быть возможен только после подачи новой команды управления, а у лифтов с групповым управлением - после подачи новой команды управления или от ранее зарегистрированного вызова. Допускается автоматическое движение кабины на одну из этажных площадок для восстановления соответствия ее положения в шахте и состояния системы управления - «калибровочный рейс». При этом действие кнопки «Отмена», при ее наличии, исключается.

У лифтов с открываемой (закрываемой) вручную дверью кабины, при наличии в кабине людей, пуск кабины допускается только по команде управления из кабины. Если такой лифт не оборудован устройством контроля загрузки (наличия пассажира) и команда управления из кабины не поступила в течение 10 с, также допускается выполнение «калибровочного рейса».

Во всех перечисленных случаях движение кабины должно быть возможным только при закрытых дверях кабины и закрытых и запертых дверях шахты.

б) у лифта с собирательным управлением должна быть исключена возможность замедления и остановки кабины по командам управления из кабины или с этажной площадки, поступившим в момент, когда кабина находилась от этой площадки на расстоянии, меньшем пути рабочего замедления;

в) электрические контакты аппаратов, предназначенные непосредственно для отключения электродвигателя и обеспечения наложения механического тормоза, а также электрические контакты электрических устройств безопасности должны работать на размыкание электрической цепи;

г) индуктивные или емкостные помехи, возникающие при работе лифта или поступающие извне, не должны вызывать отказы электрических устройств безопасности.

6.3.5. Система управления лифтом, кроме лифта с собирательным управлением, должна исключать возможность выполнения новой команды управления, кроме команды «Стоп», подаваемой из машинного помещения или устройства управления по п. 4.4.6, до выполнения ранее поданной команды.

6.3.6. Система управления лифтом с номинальной скоростью 1,6 м/с и более должна обеспечивать перед крайними этажными площадками предварительное замедление, дублирующее действие рабочего замедления кабины.

6.3.7. В системе управления лифтом, в котором применены буфера с уменьшенным ходом плунжера по п. 5.8.4.1, должно быть предусмотрено устройство ограничения скорости кабины при ее подходе к верхней и нижней этажным площадкам.

Это устройство должно уменьшать скорость, если при подходе к площадкам рабочее замедление и замедление по п. 6.3.6 не обеспечивают расчетное снижение скорости.

Устройство ограничения скорости должно:

а) действовать независимо от устройства рабочего замедления;

б) снижать к моменту соприкосновения с буфером скорость движения кабины до величины не более

Vк = Vб/1,15,

где Vб - скорость, на которую рассчитан буфер (м/с);

Vк - скорость соприкосновения кабины с буфером (м/с);

в) обеспечивать при снижении скорости замедление не более 9,81 м/с2.

6.3.8. Для лифтов с групповым управлением должна быть обеспечена возможность:

а) отключения одного или нескольких лифтов без нарушения нормальной работы остальных лифтов, входящих в группу;

б) полного снятия напряжения со всего электрооборудования, отключенного для ремонта лифта. При невозможности полного снятия напряжения с общих для группы элементов схемы их открытые токоведущие части, остающиеся под напряжением более 42 В переменного тока и более 60 В постоянного тока, должны быть защищены от прикосновения и обозначены предупредительными надписями или специальной маркировкой.

6.3.9. Электродвигатели должны быть защищены от перегрузок посредством устройств, прекращающих подачу питания на двигатель путем отключения всех питающих проводов и возвращаемых в исходное положение вручную.

6.3.10. Отключение электродвигателя, наложение механического тормоза и остановка кабины должны происходить при:

а) достижении электродвигателем температуры, превышающей допустимую. Наложение механического тормоза и остановка кабины должна осуществляться на ближайшей по направлению движения этажной площадке или после выполнения лифтом команды управления (приказа). Допускается автоматический возврат к нормальному режиму эксплуатации только после снижения температуры до ее рабочего значения;

б) коротком замыкании в силовых цепях и цепях безопасности;

в) исчезновении возбуждения двигателя постоянного тока;

г) срабатывании электрических устройств безопасности, за исключением случаев, указанных в пп. 6.3.11, 6.3.14, 6.4.13, 6.4.14, 6.4.19, 6.4.21, а также за исключением концевого выключателя, установленного в лифте с регулируемым приводом (п. 6.4.9).

Если питание обмоток в двигателе осуществляется от разных электрических цепей, то требования пп. а) и б) должны относиться к каждой из таких обмоток.

Двигатели лифтов с питанием от генераторов постоянного тока должны иметь защиту от перегрузок.

6.3.11. Допускается движение кабины с помощью электродвигателя после срабатывания концевого выключателя, электрических устройств безопасности, контролирующих ловители, обрыв и относительное перемещение (ослабление) канатов тяговых элементов, буфера, ограничитель скорости и шунтирования контактов этих устройств безопасности контактом (контактами) специального коммутирующего устройства; при этом управление должно осуществляться только из машинного помещения или с устройства управления по п. 4.4.6. Должно быть исключено действие команд управления от аппаратов, установленных вне машинного помещения или устройства по п. 4.4.6.

Перемещение кабины должно осуществляться только при нажатии на самовозвратные аппараты управления (кнопки тумблеры) движением «Вверх» или «Вниз».

Допускается движение кабины с номинальной скоростью.

6.3.12. Должна быть предусмотрена возможность управления лифтом из машинного помещения - режим «Управление из машинного помещения». При отсутствии машинного помещения управление лифтом в этом режиме должно осуществляться с устройства по п. 4.4.6, расположенного снаружи шахты:

При этом должно быть:

а) исключено действие команд управления от аппаратов, установленных вне машинного помещения или устройства по п. 4.4.6;

б) предотвращено воздействие подвижной отводки на автоматические замки дверей шахты у лифта, оборудованного такой отводкой;

в) исключено автоматическое открытие дверей шахты и кабины;

г) обеспечена автоматическая остановка кабины на уровне нижней и верхней этажной площадки;

д) включение сигнала «Занято» у лифта, оборудованного таким сигналом.

При управлении из машинного помещения или с устройства по п. 4.4.6. Пуск кабины и ее движение должны быть возможны только при замкнутых контактах электрических устройств безопасности, за исключением случаев, указанных в п. 6.3.10.

Движение кабины вверх или вниз при управлении из машинного помещения или с устройства по п. 4.4.6 должно осуществляться при непосредственном воздействии на соответствующий самовозвратный аппарат управления. Направление движения кабины должно быть обозначено рядом или на аппарате управления. Рядом с аппаратами управления должно быть устройство для остановки лифта. На этом устройстве (выключатель, кнопка и т.п.) или рядом с ним должна быть надпись «Стоп». Элемент управления устройством остановки лифта должен быть красного цвета. Устройство должно быть несамовозвратным. Положения элементов управления устройством должны быть обозначены.

Должна быть обеспечена индикация, информирующая о:

а) направлении движения кабины;

б) достижении кабиной зоны отпирания дверей;

в) месте положения кабины по этажам;

или возможность наблюдения за работой лебедки.

После каждой остановки пуск кабины должен быть возможен только после вновь поданной команды управления.

При проведении испытаний допускается при работе лифта в режиме «Нормальная работа» имитировать из машинного помещения или с устройства по п. 4.4.6 задание вызовов и приказов.

6.3.13. Должна быть предусмотрена возможность управления лифтом с крыши кабины - режим «Ревизия», скорость движения должна быть не более 0,63 м/с.

Управление лифтом должно осуществляться с поста управления аппаратами, предназначенными для пуска кабины вверх и вниз. Направление движения должно быть обозначено на аппарате управления или рядом с ними. Перевод из режима «Нормальная работа» на управление с крыши кабины должен осуществляться из машинного помещения или с устройства по п. 4.4.6 или с крыши кабины.

На крыше кабины на расстоянии не более 0,7 м от входа должно располагаться устройство для остановки лифта. На устройстве (выключатель, кнопка и т.п.) или рядом с ним должна быть надпись «Стоп». Элемент управления устройством остановки лифта должен быть красного цвета. Устройство должно быть несамовозвратным.

Положения элемента управления устройством должны быть обозначены. Это устройство может также располагаться на посту управления с крыши кабины в режиме «Ревизия».

Допускается не устанавливать устройство для остановки лифта с крыши кабины, если менее чем в 0,7 м от места доступа на крышу кабины имеется несамовозвратное электрическое устройство безопасности.

Движение при управлении с крыши кабины должно осуществляться при:

а) постоянном воздействии на аппарат управления;

б) замкнутых контактах электрических устройств безопасности, за исключением случая, предусмотренного п. 6.3.14;

в) исключении действия команд управления от аппаратов, установленных в кабине, машинном помещении, на устройстве по п. 4.4.6 и на этажных площадках;

г) предотвращении воздействия подвижной отводки на автоматические замки дверей шахты у лифта, оборудованного такой отводкой;

д) исключении автоматического открытия дверей шахты и кабины;

е) включенном сигнале «Занято» у лифта, оборудованного таким сигналом.

Допускается управление работой привода дверей с крыши кабины: перевод в данный режим в режиме «Ревизия» и обратно может осуществляться только путем воздействия на соответствующие устройства на крыше кабины.

Возврат из режима «Ревизия» в режим «Нормальной работы» допускается после отключения выключателя режима «Ревизия» в машинном помещении или на устройстве по п. 4.4.6, или на крыше кабины и закрытия дверей шахты.

Системой управления лифтом должна быть предусмотрена автоматическая остановка кабины в зонах подхода к нижней или верхней этажной площадке, при этом расстояние от площадки обслуживания на крыше кабины до перекрытия шахты должно быть не менее 1,8 м.

6.3.14. В режиме «Ревизия» допускается движение кабины лифта, оборудованного автоматически открывающимися дверями шахты, с помощью электродвигателя при шунтировании контактов электрических устройств безопасности, контролирующих закрытие и запирание дверей шахты, контактом (контактами) устройства (кнопки, выключателя и т.п.).

В режиме «Ревизия» у лифта с ручным открыванием дверей шахты допускается движение кабины лифта с помощью электродвигателя при шунтировании контактов электрических устройств безопасности, контролирующих закрытие дверей шахты, или электрических устройств безопасности, контролирующих автоматические замки дверей шахты контактом (контактами) устройства (кнопки, выключателя и т.п.).

Включение устройства должно осуществляться с крыши кабины и/или из машинного помещения или с устройства по п. 4.4.6.

6.3.15. Кабина должна быть оборудована устройством, контролирующим перегрузку кабины и предотвращающим движение кабины при размещении в ней груза массой, превышающей номинальную грузоподъемность лифта на 10 %, но не менее чем на 75 кг. При этом должен включаться сигнал «Лифт перегружен». Автоматические двери лифта при перегрузке должны оставаться открытыми; двери, открываемые вручную, должны оставаться незапертыми.

Сигнализация о перегрузке должна быть выполнена в виде звукового и/или светового сигнального устройства с надписью «Лифт перегружен» с соответствующим графическим символом. Допускается указанную надпись или графический символ размещать рядом со световым сигнальным устройством.

6.3.16. Кабина и крыша кабины должны быть обеспечены двусторонней переговорной связью с местом нахождения обслуживающего персонала.

6.3.17. При верхнем расположении машинного помещения между машинным помещением и кабиной, машинным помещением и нижней этажной площадкой или приямком, а при нижнем расположении машинного помещения между машинным помещением и кабиной, машинным и блочным помещениями должна быть предусмотрена ремонтная телефонная или другая двусторонняя связь. При отсутствии машинного помещения такая связь предусматривается между местом установки устройства управления и кабиной, приямком (нижней этажной площадкой), блочным помещением.

6.3.18. Система управления лифтом, оборудованным лебедкой с канатоведущим шкивом или барабаном трения, должна отключать привод, если:

а) кабина не приходит в движение после подачи команды на пуск;

б) кабина или противовес были остановлены во время движения, что вызвало проскальзывание тяговых элементов на канатоведущем шкиве или барабане трения в течение 45 секунд или времени, необходимом для прохождения всего пути перемещения кабины плюс 10 с, но не менее 20 с.

Возврат в режим «Нормальная работа» не должен осуществляться автоматически.

6.3.19. На одной из этажных площадок допускается установка переключателей ручного действия для осуществления обслуживающим персоналом операций по изменению режима работы лифта (лифтов).

Эти устройства должны быть недоступны для посторонних лиц.

6.3.20. Лифты должны быть оборудованы устройством, размыкающим цепь безопасности при несанкционированном открытии дверей шахты в режиме «Нормальная работа».

Возврат в режим «Нормальная работа» не должен осуществляться автоматически.

6.4. Электрические устройства и цепи безопасности

6.4.1. Срабатывание электрического устройства безопасности должно предотвращать пуск электродвигателя главного привода или вызывать его остановку.

Электрические устройства безопасности должны быть включены в цепь безопасности, за исключением концевого выключателя, действующего в цепи главного тока электродвигателя.

6.4.2. В состав электрического устройства безопасности могут входить:

а) один или несколько контактов безопасности, соответствующих требованиям п. 6.4.5 и отключающих питание контакторов включения электродвигателя главного привода и тормоза лифта по п. 6.4.1;

б) электрические цепи безопасности, соответствующие требованиям, указанным в приложении 7, и состоящие из следующих деталей или их сочетаний:

одного или несколько контактов безопасности по п. 6.4.5, напрямую не отключающих питание контакторов включения электродвигателя главного привода и тормоза лифта;

иные контакты, не предусмотренные п. 6.4.5;

электронные компоненты, указанные в приложении 7.

Выходной сигнал, поступающий от электрического устройства безопасности, не должен изменяться при воздействии внешнего сигнала, поступающего от другого электрического устройства, размещенного в этой же цепи.

Электрические цепи, предназначенные для регистрации или задержки сигналов, искрогашения, даже в случае неисправности, не должны препятствовать или задерживать размыкание цепи безопасности при срабатывании электрических устройств безопасности.

Для контактов безопасности должна быть предусмотрена изоляция на напряжение:

250 В - при степени защиты корпуса не менее IP4X;

500 В - при степени защиты корпуса менее IP4X.

6.4.3. Совмещение в электрическом устройстве безопасности функций устройства безопасности и рабочего устройства с использованием гальванически связанных контактов не допускается.

6.4.4. Для передачи выходного сигнала в электрических устройствах безопасности должны быть применены аппараты с контактным разрывом электрической цепи. Применение магнитоуправляемых контактов (герконов) не допускается.

6.4.5. Срабатывание контакта безопасности должно происходить за счет его принудительного размыкания. При этом должны разделяться даже спаянные между собой контакты.

6.4.6. Допускается подключение к электрической цепи безопасности устройств для сбора информации. Применяемые для сбора информации устройства должны отвечать требованиям к электрическим цепям безопасности п. 6.4.2. Не допускается включение параллельно электрическим контактам устройств безопасности каких-либо других электротехнических устройств или их шунтирование, за исключением случаев, приведенных в пп. 6.3.11, 6.3.14, 6.4.13, 6.4.14, 6.4.19, 6.4.21.

После переключения лифта в «Нормальную работу» из режимов, указанных в пп. 6.3.12, 6.3.13, 6.4.19, движение кабины должно быть возможно только после размыкания цепей, шунтирующих контакты электрических устройств безопасности, и восстановления их действия в системе управления.

Допускается параллельно контактам выключателей безопасности включать элементы для искрогашения или улучшения коммутации. Такие элементы должны соответствовать требованиям п. 6.4.2 к электрическим цепям безопасности.

6.4.7. К электрическим устройствам безопасности в лифтах относятся устройства:

контроля перехода кабиной лифта крайних этажных площадок (концевые выключатели) (п. 6.4.9);

контроля закрытия двери шахты (п. 6.4.12);

контроля натяжения ремней (п. 6.4.14);

контроля запирания автоматического замка двери шахты (п. 6.4.15);

контроля закрытия створки двери шахты, не оборудованной замком (п. 6.4.16);

контроля закрытия двери шахты для технического обслуживания оборудования, аварийной двери или смотрового люка в шахте (п. 6.4.17);

контроля закрытия двери кабины (п. 6.4.18);

контроля запирания замка аварийной двери или люка кабины (п. 6.4.19);

контроля срабатывания ограничителя скорости кабины (п. 6.4.20);

контроля возврата ограничителя скорости кабины в исходное положение (п. 6.4.21);

для остановки лифта (выключатель, кнопка «Стоп») (п. 6.4.22);

контроля срабатывания ловителей (п. 6.4.23);

контроля обрыва или относительного перемещения тяговых элементов (п. 6.4.24);

контроля обрыва или вытяжки каната ограничителя скорости (п. 6.4.25);

контроля натяжения уравновешивающих канатов (п. 6.4.26);

контроля срабатывания устройства, ограничивающего подскок натяжного устройства уравновешивающих канатов (п. 6.4.2.);

контроля положения съемного устройства для ручного перемещения кабины (положения съемного штурвала) (п. 6.4.28);

контроля возвращения в исходное положение буфера энергорассеивающего типа (п. 6.4.29);

отключения цепей управления из шахты (п. 6.4.30.);

отключения цепей управления из блочного помещения (п. 6.4.31.);

контроля положения площадки обслуживания (п. 6.4.32);

контроля положения блокировочного устройства (п. 6.4.33).

6.4.8. Срабатывание концевого выключателя должно происходить при:

а) переходе кабиной лифта уровня крайней нижней этажной площадки, но до соприкосновения кабины с ее буферами (упорами);

б) переходе кабиной лифта, оборудованного в нижней части шахты буфером (упором) для взаимодействия с противовесом, уровня крайней верхней этажной площадки, но до соприкосновения противовеса с этим буфером (упором);

в) переходе кабиной лифта, оборудованного уравновешивающим грузом, уровня крайней верхней этажной площадки не более чем на 0,2 м. При размещении буфера на кабине концевой выключатель должен сработать до соприкосновения буфера с соответствующим упором в шахте.

При нахождении кабины (противовеса) на сжатых буферах контакты концевого выключателя должны быть разомкнуты. После срабатывания концевого выключателя лифт не должен автоматически возвращаться в режим «Нормальная работа».

6.4.9. Концевые выключатели должны размыкать цепи питания двигателя и тормоза согласно п. 6.4.5. Допускается включение концевых выключателей в цепь безопасности в случаях, указанных в п. 6.4.11.

В лифтах с лебедкой с канатоведущим шкивом или барабаном трения допускается отключать электрическую цепь питания катушек двух контакторов, включенных в цепь питания электродвигателя главного привода, электрическим устройством безопасности по п. 6.4.5.

Срабатывание концевого выключателя в лифтах с регулируемым приводом постоянного или переменного тока должно вызывать остановку лифта за минимальное для данной системы управления время.

6.4.10. При установке концевого выключателя в цепи управления лифта, оборудованного лебедкой с канатоведущим шкивом или барабаном трения, должно быть предусмотрено двойное прерывание электрической цепи главного тока электродвигателя двумя независимыми электромагнитными аппаратами. Контакты этих электромагнитных аппаратов должны быть включены последовательно в цепь главного тока электродвигателя; при этом допускается одно прерывание цепи главного тока осуществлять бесконтактным устройством [при соблюдении требований п. 6.2.3 в), г)].

Если при остановке привода один из электромагнитных аппаратов или бесконтактное устройство не прервали цепь главного тока электродвигателя, возможность дальнейшего перемещения кабины лифта должна быть предотвращена не позднее следующего изменения направления движения.

6.4.11. Допускается установка концевых выключателей в цепь безопасности лифта, оборудованного барабанной лебедкой или лебедкой со звездочкой. В этом случае должно устанавливаться не менее двух концевых выключателей, действующих в каждом из направлений движения кабины и приводимых в действие независимыми элементами.

Концевые выключатели должны действовать на отдельные электромагнитные аппараты цепи управления, обеспечивающие двойное прерывание электрической цепи главного тока электродвигателя. Если при остановившейся кабине один из электромагнитных аппаратов не прервал цепь главного тока, возможность дальнейшего перемещения кабины лифта должна быть предотвращена не позднее следующего изменения направления движения. Аналогичное включение двух концевых выключателей в цепи управления должно быть выполнено также у лифта, оборудованного лебедкой с канатоведущим шкивом или барабаном трения, когда вес тяговых элементов таков, что не происходит проскальзывание тяговых элементов на шкиве (барабане) при посадке противовеса (кабины) на буфер (упор).

6.4.12. Электрическое устройство безопасности, контролирующее по п. 5.1.14 закрытие дверей шахты, должно размыкать по п. 6.4.5 цепь безопасности; движение кабины должно быть исключено, если хотя бы одна из створок дверей шахты не закрыта, за исключением случаев, указанных в пп. 5.1.13.1, 6.3.14.

6.4.13. Для обеспечения трогания кабины с уровня этажной площадки при незапертом автоматическом замке двери шахты по п. 5.1.13.1 допускается шунтирование контактов электрического устройства безопасности, контролирующего запирание автоматического замка при нахождении кабины в пределах ±0,2 м от уровня этажной площадки.

6.4.14. Электрическое устройство безопасности, контролирующее натяжение ремней по п. 5.3.7, должно размыкать цепь безопасности при ослаблении натяжения ремней.

6.4.15. Электрические устройства безопасности, контролирующие по п. 5.1.13.3 запирание автоматических замков дверей шахты, должны размыкать цепь безопасности при незапертых дверях.

6.4.16. Электрическое устройство безопасности, контролирующее по п. 5.1.15 закрытие непосредственно не связанных и не запираемых створок двери шахты, должно размыкать цепь безопасности при открытой любой одной створке двери шахты.

6.4.17. Электрическое устройство безопасности, по п. 5.1.17.5 контролирующее закрытие двери для технического обслуживания оборудования, аварийной двери или смотрового люка, должно размыкать цепь безопасности при их открытии.

6.4.18. Электрическое устройство безопасности, по п. 5.4.8.11 контролирующее закрытие двери кабины, должно размыкать цепь безопасности при ее открытии.

6.4.19. Электрическое устройство безопасности, по п. 5.4.11 контролирующее запирание аварийной двери или люка кабины, должно размыкать цепь безопасности при их отпирании.

Возврат в режим «Нормальная работа» не должен осуществляться автоматически.

В режиме «Перевозка пожарных подразделений» допускается шунтирование электрического устройства безопасности, контролирующего люк кабины.

6.4.20. Электрическое устройство безопасности, контролирующее по п. 5.7.8 срабатывание ограничителя скорости, должно размыкать цепь безопасности до достижения движущейся вниз кабиной скорости, при которой происходит срабатывание ограничителя скорости. У лифта с номинальной скоростью не более 1,0 м/с допускается размыкание цепи управления при срабатывании ограничителя скорости.

6.4.21. Электрическое устройство безопасности, контролирующее по п. 5.7.9 возврат ограничителя скорости в исходное состояние, должно размыкать цепь безопасности при невозвращении ограничителя скорости в исходное состояние. Допускается шунтировать указанное устройство при управлении лифтом из машинного помещения или с устройства по п. 4.4.8.1 для снятия кабины (противовеса) с ловителей.

6.4.22. Устройства на крыше кабины, в машинном помещении или на устройстве по п. 4.4.8.1 для остановки лифта должны размыкать цепь безопасности при ручном воздействии на них.

Срабатывание устройства должно отменить все команды управления, за исключением вызовов у лифта с собирательным управлением при парной и групповой работе. После остановки кабины движение может быть возобновлено только после отмены действия этого устройства и подачи новой команды управления.

6.4.23. Электрическое устройство безопасности, контролирующее по п. 5.6.11 срабатывание ловителей, должно размыкать цепь безопасности при срабатывании ловителей.

6.4.24. Электрическое устройство безопасности, контролирующее по п. 5.9.8.3 обрыв или относительное перемещение (ослабление) тяговых элементов, должно размыкать цепь безопасности при обрыве или относительном перемещении (ослаблении) тяговых элементов.

6.4.25. Электрическое устройство безопасности, контролирующее по п. 5.7.6.4 обрыв или вытяжку каната ограничителя скорости, должно размыкать цепь безопасности при обрыве или вытяжке каната более регламентированной величины.

6.4.26. Электрическое устройство безопасности, контролирующее по п. 5.9.9 натяжение уравновешивающих канатов, должно размыкать цепь безопасности при ослаблении натяжения.

6.4.27. Электрическое устройство безопасности, контролирующее по п. 5.9.9 подскок натяжного устройства уравновешивающих канатов, должно размыкать цепь безопасности при срабатывании ограничивающего подскок устройства.

6.4.28. Электрическое устройство безопасности, контролирующее положение съемного штурвала по п. 5.3.9.1, должно размыкать цепь безопасности при установке штурвала на лебедку.

6.4.29. Электрическое устройство безопасности, контролирующее возврат в исходное положение буфера энергорассеивающего типа по п. 5.8.4.4, должно размыкать цепь безопасности, если буфер не возвращается в исходное положение более чем на 0,05 м.

6.4.30. Электрическое устройство (устройства) безопасности, устанавливаемое в шахте по п. 3.12.5, должно быть несамовозвратным и размыкать цепь безопасности от ручного воздействия.

6.4.31. Электрическое устройство безопасности, устанавливаемое в блочном помещении по п. 4.3.15, должно быть несамовозвратным и размыкать цепь безопасности от ручного воздействия.

6.4.32. Электрическое устройство безопасности, контролирующее положение площадки по п. 4.4.5.5, должно размыкать цепь безопасности при выводе ее из исходного (нерабочего) состояния.

6.4.33. Электрическое устройство безопасности, контролирующее положение блокировочного устройства по п. 4.4.7, должно размыкать цепь безопасности при приведении в действие устройства.

6.4.34. В приложении 7 приведены неисправности электронного оборудования лифта и условия, при которых их нельзя исключать.

6.4.35. Возможность неразмыкания контактов можно не принимать во внимание при использовании контактов безопасности, соответствующих п. 6.4.5.

6.4.36. Цепи безопасности должны строиться согласно требованиям блок-схемы на рис. 6.

6.4.37. Электрические цепи безопасности, в состав которых входят электронные детали, считаются электрическими устройствами безопасности и должны быть проверены согласно требованиям приложения 6.

6.5. Электропроводка и электрооборудование

6.5.1. Изолированные проводники цепей управления, освещения, сигнализации, силовых и др. с напряжением не более 460 В, относящиеся к одному лифту, допускается прокладывать совместно (в одном пучке, одной трубе, одном коробе, одном кабеле и т.п.) при условии, что изоляция каждого из этих проводников рассчитана на самое высокое напряжение.

Рис. 6. Блок-схема оценки электрических схем безопасности

6.5.2. Присоединительные зажимы электрических машин, аппаратов и клеммных наборов должны соответствовать типу и сечению применяемого провода (кабеля).

Если после размыкания одного или нескольких главных выключателей некоторые клеммы остаются под напряжением, то они должны быть отделены от клемм, не находящихся под напряжением, а при напряжении на них более 50 В они должны быть промаркированы.

6.5.3. Электрическое оборудование лифта должно быть снабжено необходимыми символами и/или обозначениями, облегчающими его наладку и обслуживание в соответствии со стандартами.

Контакторы, реле, плавкие предохранители и клеммные наборы цепей, идущих к панелям управления, должны быть промаркированы в соответствии с электрической схемой. Необходимые данные предохранителя, такие как его номинал и тип, должны быть указаны или на самом предохранителе, или на его патроне.

Провода, подходящие к зажимам клеммных наборов, а также к зажимам электрооборудования, должны иметь маркировку. Допускается осуществлять маркировку проводов цветом.

6.5.4. Для защиты от механических повреждений защитная оболочка кабелей и проводов должна полностью заходить в корпус выключателей или других устройств или же должна заканчиваться соответствующим уплотнением.

Закрытые каркасы дверей кабины и шахты лифта могут рассматриваться в качестве кожухов электрических устройств; однако, при наличии опасности механического повреждения вследствие перемещения деталей или острых кромок самого каркаса, провода, подключаемые к устройствам безопасности, должны иметь механическую защиту.

6.5.5. Конструкция и размещение электрических разъемов и других съемных электрических устройств, устанавливаемых в электрические цепи безопасности, должны исключать возможность их неправильной установки, если неправильное подключение таких устройств может привести к опасным сбоям в работе лифта или если их удаление производится без помощи инструмента.

6.6. Освещение и розетки питания

6.6.1. Питание электрического освещения кабины, шахты и пространства для размещения оборудования лифта, а также розеток для подключения инструмента может быть осуществлено от осветительной сети здания (сооружения).

6.6.2. Освещение кабины может быть включено (отключено) автоматически и (или) выключателем ручного действия.

В лифте, оборудованном устройством контроля загрузки кабины, допускается при отсутствии пассажиров в кабине и при закрытых дверях, автоматическое отключение освещения кабины.

В лифте, не имеющем устройства контроля загрузки кабины, допускается автоматическое отключение рабочего освещения при нахождении в кабине людей, если по истечении 5 с после закрытия дверей кабины не началось ее движение.

6.6.3. Выключатели ручного действия освещения кабины и питания розетки на крыше кабины, если они необходимы, должны быть установлены в машинном помещении, а при его отсутствии - в запираемом шкафу по п. 4.4.11.

В машинном помещении, общем для нескольких лифтов, на каждую кабину должен быть свой выключатель, расположенный поблизости от устройства по п. 6.1.2.

6.6.4. При установке розеток для переносных ламп в помещении для размещения оборудования, на крыше кабины, в приямке или под кабиной напряжение их питания должно быть не более 42 В.

6.6.5. Напряжение питания электрических розеток для подключения электрического инструмента должно быть не более 250 В.

6.6.6. Шахта лифта должна быть оборудована стационарным электрическим освещением, обеспечивающим освещенность не менее 50 лк при закрытых дверях шахты.

Крайние аппараты освещения устанавливаются на расстоянии не более чем 0,5 м от самой верхней и самой нижней точек шахты.

Остекленную, огражденную сеткой или частично огражденную шахту допускается не оборудовать стационарной электрической осветительной аппаратурой, если наружное освещение обеспечивает требуемую освещенность внутри шахты.

6.6.7. Этажные площадки должны быть оборудованы стационарным электрическим освещением, обеспечивающим освещенность не менее 50 лк на уровне пола.

6.6.8. Проход к помещению, в котором размещено оборудование лифта, должен быть оборудован стационарным электрическим освещением, обеспечивающим освещенность не менее 50 лк на уровне пола.

6.6.9. Машинное помещение должно быть оборудовано стационарным электрическим освещением, обеспечивающим освещенность не менее 200 лк на уровне пола.

6.6.10. Блочное помещение должно быть оборудовано стационарной осветительной аппаратурой, обеспечивающей освещенность блока (блоков) не менее 100 лк.

6.6.11. Зоны размещения оборудования и его технического обслуживания должны быть оборудованы стационарной осветительной аппаратурой, обеспечивающей освещенность оборудования не менее 200 лк.

6.6.12. Шкаф по п. 4.4.11, в котором размещено оборудование лифта, должен иметь стационарную осветительную аппаратуру, обеспечивающую освещенность оборудования не менее 200 лк.

6.6.13. Устройства управления по п. 4.4.6 должны освещаться стационарной осветительной аппаратурой, обеспечивающей освещенность панели не менее 100 лк.

6.6.14. Кабина должна быть оборудована стационарным электрическим освещением, обеспечивающим уровень освещенности не менее 50 лк на аппаратах управления и на уровне пола.

6.6.14.1. Рабочее освещение кабины должно осуществляться не менее чем двумя параллельно включенными лампами.

6.6.14.2. Должен быть предусмотрен аварийный источник питания освещения кабины с автоматической подзарядкой, способный запитывать как минимум одну лампу мощностью 1 Вт в течение одного часа в случае прекращения питания рабочего освещения. При отказе питания рабочего освещения аварийное освещение кабины должно включаться автоматически.

6.6.15. Устройства стационарного электрического освещения кабины должны устанавливаться таким образом, чтобы исключить их повреждение при погрузке или разгрузке кабины.

7. ГРУЗОПОДЪЕМНОСТЬ. ВМЕСТИМОСТЬ КАБИНЫ

7.1. Номинальная грузоподъемность лифта должна устанавливаться в зависимости от максимальной полезной площади и соответствовать табл. 1.

7.2. При превышении загрузки кабины лифта на 10 % и более номинальной грузоподъемности должна быть исключена возможность пуска лифта из кабины или с этажных площадок от кнопок управления лифтом. В режиме «Управление из машинного помещения» должна быть обеспечена возможность пуска лифта при нахождении в кабине груза, масса которого превышает номинальную грузоподъемность на 25 %.

7.3. Вместимость кабины определяется по числу пассажиров в соответствии с табл. 2 или делением величины номинальной грузоподъемности лифта на 75 с округлением полученного результата до ближайшего целого числа, где 75 кг - принятый вес одного пассажира.

Таблица 1

Номинальная грузоподъемность (кг)

Полезная максимальная площадь кабины (м2)

Номинальная грузоподъемность (кг)

Полезная максимальная площадь кабины (м2)

100*

0,37

900

2,20

180**

0,58

975

2,35

225

0,70

1000

2,40

300

0,90

1050

2,50

375

1,10

1125

2,65

400

1,17

1200

2,80

450

1,30

1250

2,90

525

1,45

1275

2,95

600

1,60

1350

3,10

630

1,66

1425

3,25

675

1,75

1500

3,40

750

1,90

1600

3,56

800

2,00

2000

4,20

825

2,05

2500***

5,00

* Минимум для лифта на одного человека.

** Минимум для лифта на двух человек.

*** После 2500 кг добавлять 0,16 м2 на каждые последующие 100 кг.

Для промежуточных значений нагрузки площадь определяется посредством линейной интерполяции.

Таблица 2

Число пассажиров

Полезная минимальная площадь кабины (м2)

Число пассажиров

Полезная минимальная площадь кабины (м2)

1

0,28

11

1,87

2

0,49

12

2,01

3

0,60

13

2,15

4

0,79

14

2,29

5

0,98

15

2,43

6

1,17

16

2,57

7

1,31

17

2,71

8

1,45

18

2,85

9

1,59

19

2,99

10

1,73

20

3,13

После 20 пассажиров добавлять 0,115 м2 на каждого последующего пассажира.

8. ВЫДАЧА РАЗРЕШЕНИЯ НА ПРИМЕНЕНИЕ ЛИФТОВ

8.1. Разрешение на применение лифтов (далее - Разрешение) выдается изготовителю либо его официальному представителю (поставщику) на основании положительных результатов приемочных испытаний образца лифта и заключения экспертизы на соответствие лифта настоящим Правилам.

Допускается выдача Разрешения на применение предприятию, комплектующему лифты из компонентов, имеющих подтверждение их соответствия требованиям настоящих Правил.

Разрешение выдается на единичный лифт, партию лифтов либо на тип (модель) лифтов. Допускается выдавать одно разрешение на типоразмерный ряд лифтов при условии соблюдения единого конструкторского подхода, используемых материалов и технологий при их изготовлении.

8.2. Для проведения приемочных испытаний Заявитель представляет в орган Госгортехнадзора России следующую техническую документацию:

а) техническое задание на разработку лифта;

б) программу и методику приемочных испытаний образца лифта;

в) технические условия на изготовление опытного образца;

г) протокол о результатах проведения предварительных (заводских) либо сертификационных испытаний;

д) инструкцию по монтажу;

е) руководство по эксплуатации, включающее:

методику проведения контрольных испытаний (проверок) лифта;

условия и требования безопасной эксплуатации лифта, порядок технического обслуживания, ремонта, технического диагностирования лифта;

методику безопасной эвакуации пассажиров из кабины, остановившейся между этажами;

перечень быстроизнашиваемых деталей;

ж) образец паспорта лифта;

з) монтажный чертеж;

и) принципиальную электрическую схему с перечнем элементов схемы и электрическую схему соединений.

8.3. На основании проверки комплектности представленных документов орган Госгортехнадзора России принимает решение о возможности проведения приемочных испытаний.

При положительном решении Заявитель приказом назначает комиссию для проведения приемочных испытаний.

В состав комиссии входит представитель органа Госгортехнадзора России.

8.4. Приемочные испытания опытного образца лифта проводятся по месту его изготовления (комплектации) на аттестованных испытательных стендах. По согласованию с органом Госгортехнадзора России допускается проведение испытаний лифта на объекте его установки.

Результаты приемочных испытаний отражаются в протоколе (акте).

При несоответствии отдельных конструкций лифта требованиям настоящих Правил Заявитель представляет рекомендации по проведению дополнительных мероприятий, обеспечивающих безопасность применения лифтов, и положительное заключение экспертизы о возможности применения этих конструкций.

8.5. Разрешение на применение лифтов иностранного производства выдается Госгортехнадзором России в общем порядке. Заявитель представляет техническую документацию на русском языке.

8.6. Орган Госгортехнадзора России, выдавший Разрешение на применение лифтов, вправе приостановить его действие, если в процессе эксплуатации на лифте будут документально установлены недостатки или несогласованное изменение конструкции лифта, влияющее на безопасность пользователей, обслуживающего персонала и других людей.

Решение о восстановлении действия Разрешения принимается на основании результатов рассмотрения документации Заявителя с доказательствами устранения недостатков.

8.7. При изменении конструкции устройств безопасности и составных частей лифта выдается новое Разрешение на применение лифта. При этом испытания лифта, по согласованию с органом Госгортехнадзора России, могут проводиться по сокращенной программе с обязательным испытанием измененных конструкций.

9. МОНТАЖ, ТЕХНИЧЕСКОЕ ОБСЛУЖИВАНИЕ И РЕМОНТ

9.1. Деятельность по монтажу, техническому обслуживанию, ремонту, модернизации лифтов и систем диспетчерского контроля за работой лифтов осуществляется организациями, специализирующимися на выполнении соответствующих работ (далее - специализированными организациями), располагающими техническими средствами и квалифицированными специалистами. В целях информирования потребителей услуг, вышеуказанных видов деятельности об организациях, обеспечивающих высокое качество, проводится добровольная аккредитация этих организаций. Порядок проведения аккредитации устанавливается Госгортехнадзором России.

9.2. Деятельность по техническому диагностированию и обследованию лифтов, а также систем диспетчерского контроля осуществляется экспертными организациями, имеющими лицензию на экспертизу промышленной безопасности, выданную Госгортехнадзором России.

10. РЕГИСТРАЦИЯ И ВВОД ЛИФТА В ЭКСПЛУАТАЦИЮ

10.1. Регистрация объектов, на которых эксплуатируются лифты, проводится в соответствии с Правилами регистрации объектов в государственном реестре опасных производственных объектов, утвержденными постановлением Правительства Российской Федерации от 24.11.98 г. № 1371*.

* Собрание законодательства Российской Федерации, 1998, № 48, ст. 5938.

10.2. Ввод лифта в эксплуатацию осуществляется в следующем порядке:

10.2.1. После окончания монтажа и пусконаладочных работ лифт подвергается полному техническому освидетельствованию.

Полное техническое освидетельствование проводит экспертная организация на основании заявки организации, смонтировавшей лифт (далее - монтажной организации), в присутствии ее представителя и представителя генподрядной строительной организации.

При полном техническом освидетельствовании лифт подвергается визуальному и измерительному контролю, проверке на функционирование во всех режимах и испытаниям в соответствии с разделом 11 настоящих Правил.

При полном техническом освидетельствовании проверяется наличие документации, поставляемой с лифтом, а также Акта на скрытые работы и протоколов:

измерения сопротивления изоляции электрооборудования и электрических сетей лифта;

проверки наличия цепи между заземленной электроустановкой и элементами заземленной установки;

проверки срабатывания защиты при системе питания электроустановок напряжением до 1000 В с глухозаземленной нейтралью.

При выявленном несоответствии лифта, в том числе строительной части, а также комплекта технической документации требованиям настоящих Правил, выявленные несоответствия устраняются организацией, допустившей нарушение, после чего проводится проверка устранения выявленных несоответствий.

Результаты освидетельствования отражаются в Акте полного технического освидетельствования лифта (приложение 3) и паспорте лифта, заверяются подписью и штампом специалиста экспертной организации.

10.2.2. Эксплуатирующая организация осуществляет мероприятия по обеспечению безопасной эксплуатации лифта в соответствии с разделом 12 настоящих Правил и организует комиссию по приемке лифта в следующем составе:

председатель комиссии - уполномоченный представитель эксплуатирующей организации;

члены комиссии:

представитель монтажной организации;

специалист, ответственный за техническое обслуживание лифта;

представитель генподрядной строительной организации;

инспектор Госгортехнадзора России;

представитель Заказчика (при наличии).

10.2.3. Эксплуатирующая организация не менее чем за пять дней уведомляет организации, представители которых включены в состав комиссии по приемке лифта, о дате работы комиссии.

10.2.4. Комиссии по приемке лифта предъявляется Акт полного технического освидетельствования лифта и документы по организации безопасной эксплуатации лифта:

Положение об организации и осуществлении производственного контроля;

Договор о страховании ответственности за причинение вреда жизни, здоровью или имуществу других лиц и окружающей природной среде в случае аварии на лифте;

приказы о назначении специалистов и допуске обслуживающего персонала в соответствии с разделом 12 настоящих Правил;

документы, подтверждающие аттестацию специалистов и обслуживающего персонала.

10.2.5. Комиссия проверяет представленные документы, проводит контрольный осмотр лифта.

10.2.6. Результаты работы комиссии отражаются в Акте приемки лифта в эксплуатацию (приложение 4).

10.2.7. На основании Акта технического освидетельствования и положительных результатов работы комиссии по приемке лифта инспектор Госгортехнадзора России делает запись о разрешении на ввод лифта в эксплуатацию в паспорте лифта с указанием срока следующего освидетельствования.

10.3. Ввод лифта в эксплуатацию не допускается, если при приемке будет выявлено:

наличие нарушений настоящих Правил, влияющих на безопасную эксплуатацию лифта, которые не могут быть устранены при проведении приемки лифта;

отсутствие аттестованных специалистов и обслуживающего персонала.

Эксплуатирующая организация обеспечивает устранение нарушений, после чего проводится приемка лифта в порядке, установленном пунктом 10.2.5 настоящих Правил.

10.4. При передаче лифта другому владельцу или арендатору производится перерегистрация лифта в соответствии с Правилами регистрации объектов в государственном реестре опасных производственных объектов.

Снятие с регистрации производится при демонтаже лифта.

11. ТЕХНИЧЕСКОЕ ДИАГНОСТИРОВАНИЕ И ОБСЛЕДОВАНИЕ ЛИФТОВ

11.1. Техническое диагностирование проводится с целью установить техническое состояние лифта.

В техническое диагностирование входят полное, периодическое и частичное техническое освидетельствование лифта.

11.2. Вновь установленный лифт до ввода в эксплуатацию подвергается полному техническому освидетельствованию.

Полное техническое освидетельствование проводится с целью установить, что:

а) лифт соответствует паспортным данным и настоящим Правилам;

б) лифт находится в исправном состоянии, обеспечивающем его безопасную работу;

в) комплект документации, поставляемый с лифтом, соответствует настоящим Правилам.

При полном техническом освидетельствовании:

проверяется соответствие лифтового оборудования сведениям, указанным в паспорте лифта;

проводится визуальный и измерительный контроль установки лифта и ее соответствие монтажному чертежу и настоящим Правилам;

проверяется функционирование лифта во всех режимах в соответствии с Руководством по эксплуатации;

проводятся испытания;

проверяется наличие документации, поставляемой с лифтом и документации по п. 10.2.1.

11.3. В течение всего срока эксплуатации лифт подвергается периодическому техническому освидетельствованию не реже одного раза в 12 календарных месяцев.

Периодическое техническое освидетельствование проводится с целью установить, что:

а) лифт находится в исправном состоянии, обеспечивающем его безопасную работу;

б) организация эксплуатации лифта соответствует настоящим Правилам.

При периодическом техническом освидетельствовании:

проводится визуальный и измерительный контроль установки лифтового оборудования, за исключением размеров, не изменяемых в процессе эксплуатации;

проверяется функционирование лифта во всех режимах;

проводятся испытания;

проверяется соответствие организации эксплуатации лифта настоящим Правилам.

11.4. После капитального ремонта (замены) или установки лифтового оборудования лифт подвергается частичному техническому освидетельствованию.

Частичное техническое освидетельствование проводится с целью установить, что замененное, вновь установленное или отремонтированное лифтовое оборудование находятся в исправном состоянии, обеспечивающем безопасную работу лифта.

Лифт подвергается частичному техническому освидетельствованию после:

замены или установки устройств безопасности;

замены или ремонта редуктора, канатоведущего шкива, тормозного устройства, тяговых канатов;

изменения принципиальной электрической схемы;

замены шкафа (устройства) управления.

При частичном техническом освидетельствовании:

проверяется соответствие установленного, замененного или отремонтированного лифтового оборудования паспортным данным;

проводится визуальный и измерительный контроль установленного оборудования;

проводятся испытания и (или) проверка установленных замененных или отремонтированных устройств безопасности и оборудования в объеме периодического технического освидетельствования.

11.5. Визуальный и измерительный контроль установки лифтового оборудования.

При визуальном и измерительном контроле проводится проверка соответствия лифтового оборудования паспортным данным и его установки размерам, регламентированным настоящими Правилами и монтажным чертежом.

11.6. Проверка лифта.

При проверке контролируется работа лифта во всех режимах, предусмотренных принципиальной электрической схемой, а также работа:

лебедки;

дверей шахты, кабины и привода дверей;

устройств безопасности, за исключением проверяемых при испытаниях;

сигнализации, связи, диспетчерского контроля, освещения, а также контролируется точность остановки кабины на этажных площадках.

11.7. Испытания лифта.

Испытаниям подвергаются:

ограничитель скорости;

ловители;

буфера;

тормозная система;

электропривод;

канатоведущий шкив;

защитное зануление (заземление), изоляция электрических сетей и электрооборудования, защита в сетях с глухозаземленной нейтралью.

11.7.1. Испытания ограничителя скорости.

При испытаниях ограничителя скорости проводится проверка его срабатывания при увеличении скорости вращения в пределах, регламентированных настоящими Правилами, и приведение в действие ловителей.

11.7.2. Испытание ловителей.

При испытании ловителей проверяется их срабатывание, остановка и удержание на направляющих движущейся кабины (противовеса, уравновешивающего устройства кабины).

Ловители, приводимые в действие от ограничителя скорости и устройства, срабатывающего от обрыва или слабины тяговых элементов, испытываются от каждого из этих устройств.

Испытание ловителей кабины при полном техническом освидетельствовании и после их замены проводится при нахождении в кабине груза, масса которого:

превышает номинальную грузоподъемность лифта на 25 % для ловителей плавного торможения;

равна номинальной грузоподъемности для ловителей мгновенного действия или ловителей мгновенного действия с амортизацией.

При периодическом техническом освидетельствовании испытание ловителей проводится при незагруженной кабине.

Испытание ловителей противовеса и уравновешивающего устройства кабины проводится при незагруженной кабине.

Ловители испытываются при рабочей скорости лифта. Допускается при периодическом техническом освидетельствовании у лифтов с номинальной скоростью более 1 м/с проводить испытание при пониженной скорости, но не менее 1 м/с.

11.7.3. Испытание буферов.

Испытание энергонакопительных буферов кабины при полном техническом освидетельствовании и после их замены проводится при нахождении в кабине груза, масса которого равна номинальной грузоподъемности лифта. Кабина опускается на буфера на рабочей скорости.

Испытание энергонакопительных буферов, буферов с амортизированным обратным ходом кабины и противовеса при периодическом техническом освидетельствовании не требуется. Проводится визуальный и измерительный контроль их состояния и соответствие регламентированных размеров монтажному чертежу.

Испытание энергонакопительных буферов кабины с амортизированным обратным ходом и энергорассеивающих буферов при полном техническом освидетельствовании и после их замены проводится при нахождении в кабине груза, масса которого равна номинальной грузоподъемности, на рабочей скорости или на скорости, для которой был рассчитан ход буферов, в случае применения буферов с укороченным ходом.

Испытание энергорассеивающих буферов при периодическом техническом освидетельствовании проводится при незагруженной кабине при скорости не более 0,71 м/с.

11.7.4. Испытание тормозной системы.

Испытание тормозной системы при полном техническом освидетельствовании и после ее замены проводится посредством отключения питания электродвигателя и тормоза при движении кабины вниз на рабочей скорости кабины с грузом, масса которого на 25 % превышает номинальную грузоподъемность лифта. Тормоз должен остановить привод. При этом ускорение замедления кабины не должно превышать 9,81 м/с2.

Испытание тормозной системы при периодическом техническом освидетельствовании проводится посредством отключения питания электродвигателя и тормоза при движении незагруженной кабины вверх. Тормоз должен остановить привод.

11.7.5. После проведения испытания ловителей, буферов и тормозной системы должны быть визуально проконтролированы детали подвески кабины, уравновешивающего устройства кабины и противовеса, ловители и буфера на отсутствие повреждений.

11.7.6. Электропривод лифта, при питании электродвигателя от управляемого преобразователя, испытывается на надежность электрического торможения (удержания), если оно предусмотрено конструкцией лифта.

Испытание электрического торможения (удержания) проводится при нахождении незагруженной кабины на уровне верхней посадочной площадки с разомкнутым тормозом в течение 3 минут. Допускается автоматическое перемещение кабины в пределах уровня точности остановки (нивелировка) с последующим ее удерживанием.

11.7.7. Испытание канатоведущего шкива и барабана трения.

11.7.7.1. Испытание сцепления канатов с канатоведущим шкивом или барабаном трения при полном техническом освидетельствовании проводится при спуске находящейся в нижней части шахты кабины с грузом, масса которого на 25 % превышает номинальную грузоподъемность лифта. При этом на нижнем этаже должна происходить полная остановка кабины до ее соприкосновения с буферами.

Испытание сцепления при периодическом техническом освидетельствовании проводится при подъеме находящейся в верхней части шахты незагруженной кабины. При этом должна происходить полная остановка кабины в зоне точной остановки верхнего этажа.

11.7.7.2. Испытание невозможности подъема незагруженной кабины при нахождении противовеса на сжатом буфере проводится при незамкнутом тормозе перемещением кабины вверх вручную от штурвала или от электродвигателя на пониженной скорости. При этом не должен происходить подъем (подтягивание) кабины.

11.7.8. Испытание защитного зануления (заземления), изоляции электрических сетей и электрооборудования, защиты в сетях с глухозаземленной нейтралью проводятся после монтажа, модернизации, при проведении обследования лифта, отработавшего установленный срок службы, а также при эксплуатации - периодически в установленные сроки.

11.8. Лифт, модернизированный в процессе эксплуатации подвергается техническому освидетельствованию в объеме периодического с проверкой комплекта документации по модернизации, проведением визуального и измерительного контроля установки замененного оборудования.

Незаменяемые металлоконструкции составных частей лифта (кабины, противовеса, подлебедочной рамы, закладных деталей крепления направляющих и др.) подвергаются обследованию с применением неразрушающих методов контроля. При положительных результатах освидетельствования и обследования устанавливается новый срок службы лифта.

11.9. Лифт, отработавший срок службы, установленный в нормативной, конструкторской и эксплуатационной документации, стандартах, правилах безопасности, подвергается обследованию с целью определения возможности продления срока его безопасной эксплуатации.

11.10. При обследовании лифт подвергается:

визуальному и измерительному контролю;

проверке работы лифта во всех режимах;

определению состояния лифтового оборудования с выявлением дефектов, неисправностей, степени износа, коррозии;

испытаниям устройств безопасности;

обследованию металлоконструкций с применением неразрушающих методов контроля;

испытаниям защитного зануления (заземления), сопротивления изоляции электрических сетей и электрооборудования, проверке срабатывания защиты в сетях с глухозаземленной нейтралью.

На основании результатов обследования лифта и анализа условий его эксплуатации проводятся работы по определению остаточного ресурса оборудования и возможности продления срока безопасной эксплуатации лифта.

Работа по продлению срока безопасной эксплуатации лифта проводятся до достижения им нормативно установленного срока. Допускается совмещать, в пределах одного года, работы П0 обследованию лифта с работами по техническому освидетельствованию.

11.11. Оформление результатов технического диагностирования и обследования лифта.

11.11.1. Результаты технического диагностирования лифта отражаются в паспорте лифта, а также при:

полном освидетельствовании в Акте полного технического освидетельствования лифта (приложение 3);

периодическом освидетельствовании в Акте периодического технического освидетельствования лифта (приложение 5).

11.11.2. Результаты обследования лифта, отработавшего нормативный срок службы, отражаются в Заключении экспертизы промышленной безопасности о возможности продления срока безопасной эксплуатации лифта.

12. ЭКСПЛУАТАЦИЯ ЛИФТА

12.1. Эксплуатирующая организация (Владелец лифта*) обеспечивает содержание лифта в исправном состоянии и его безопасную эксплуатацию путем организации надлежащего обслуживания и ремонта.

* Владелец лифта - собственник здания, в котором находятся лифты, а также предприятия и организации, в хозяйственном ведении или оперативном управлении которых находятся здания, в том числе кондоминиумы, товарищества, объединения собственников жилья и иные организации.

Для этих целей эксплуатирующая организация обеспечивает:

соблюдение федеральных законов и иных нормативных правовых актов Российской Федерации, а также нормативных технических документов в области промышленной безопасности;

укомплектованность штата работников, связанных с эксплуатацией лифтов;

допуск к работе лиц, удовлетворяющих соответствующим квалификационным требованиям и не имеющих медицинских противопоказаний к указанной работе;

проведение подготовки и аттестации работников в области промышленной безопасности;

наличие нормативных правовых актов и нормативных технических документов, устанавливающих правила ведения работ;

производственный контроль за соблюдением требований промышленной безопасности;

проведение технического диагностирования, обследования лифтов и вывод лифтов из эксплуатации при истечении установленного срока эксплуатации;

предотвращение проникновения в помещения лифта посторонних лиц;

выполнение предписаний Госгортехнадзора России и его должностных лиц, отдаваемых ими в соответствии с полномочиями;

приостановление эксплуатации лифта самостоятельно или по предписанию органов Госгортехнадзора России и должностных лиц в случае угрозы жизни людей;

мероприятия по локализации и ликвидации последствий аварии и несчастных случаев на лифте, содействие государственным органам, участие в техническом расследовании причин аварий и несчастных случаев на лифте, а также принимает меры по устранению указанных причин и их профилактике;

анализ причин возникновения инцидента на лифте, принятие мер по устранению указанных причин и профилактике подобных инцидентов;

меры по защите жизни и здоровья работников, связанных с эксплуатацией лифтов;

своевременное информирование соответствующих органов государственной власти об аварии и несчастном случае на лифте;

учет аварий, инцидентов и несчастных случаев на лифте;

представление в орган Госгортехнадзора России информации о количестве аварий, инцидентов и несчастных случаев, причинах их возникновения и принятых мерах;

страхование риска ответственности за причинение вреда жизни, здоровью или имуществу других лиц в случае аварии на лифте на весь срок эксплуатации.

12.2. Обслуживание и система планово-предупредительных ремонтов лифта.

12.2.1. Обслуживание лифта осуществляется лифтером и включает в себя проведение ежесменных осмотров лифта.

Осмотры лифтов, оборудованных диспетчерским контролем за их работой, могут проводиться с иной цикличностью, согласованной с органом Госгортехнадзора России.

12.2.2. Система планово-предупредительных ремонтов включает в себя:

а) систему технического обслуживания, состоящую из:

периодических осмотров;

текущих ремонтов;

аварийно-технического обслуживания.

б) систему восстановления ресурса лифта, состоящую из:

капитального ремонта (замены оборудования);

модернизации при эксплуатации.

12.2.3. Для технического обслуживания, капитального ремонта и модернизации эксплуатирующая организация может привлекать специализированную организацию.

В этом случае в договоре между ними определяются обязанности и ответственность сторон с учетом пункта 12.1, 12.2.2.

12.3. Эксплуатирующая организация и (или) специализированная организация обеспечивают укомплектованность штата работников, исходя из необходимости выполнения объема работ, предусмотренного руководством по эксплуатации, и с учетом местных условий эксплуатации.

12.4. Руководители, специалисты и члены аттестационных комиссий эксплуатирующих и специализированных организаций проходят подготовку и аттестацию по промышленной безопасности в порядке, установленном Госгортехнадзором России.

Указанные лица должны иметь соответствующую группу по электробезопасности.

12.5. Обучение и аттестация обслуживающего персонала.

12.5.1. Обучение и аттестация электромехаников, лифтеров и диспетчеров производится в профессиональных учебных заведениях и других организациях, располагающих базой для теоретического и практического обучения, необходимым числом штатных специалистов (преподавателей), аттестованных в порядке, установленном Госгортехнадзора России.

Участие представителя органа Госгортехнадзора России в работе комиссии при аттестации электромехаников обязательно. Аттестация лифтеров и диспетчеров может проводиться комиссией без участия представителя органа Госгортехнадзора России.

Результаты аттестации отражаются в протоколе. Лицам, сдавшим экзамены, выдаются удостоверения.

12.5.2. Периодическая проверка знаний электромехаников, лифтеров, диспетчеров проводится не реже одного раза в 12 месяцев аттестационной комиссией организации, в штате которой он числится, или комиссией организации, осуществляющей обучение. Внеочередная проверка знаний проводится:

при переходе на другое место работы;

по требованию инспектора Госгортехнадзора России.

Периодическая и внеочередная проверка знаний проводится в объеме производственной инструкции.

Результаты проверки знаний оформляются протоколом с отметкой в удостоверении.

12.5.3. Обслуживающий персонал проходит подготовку и проверку знаний по электробезопасности в объеме не ниже следующих квалификационных групп:

электромеханики, допущенные к самостоятельной работе - III группа;

лифтеры и диспетчера - II группа.

Проверка знаний проводится в срок не более одного месяца при приеме на работу и периодически в сроки не реже одного раза в 12 месяцев.

Результаты проверки отражаются в журнале (протоколе). Лицам, сдавшим экзамены, выдаются удостоверения установленного образца.

12.6. Документы, подтверждающие аттестацию и проверку знаний работников организаций, предъявляются инспектору Госгортехнадзора России и специалисту экспертной организации в установленных настоящими Правилами случаях.

12.7. Возложение функций по организации эксплуатации и (или) технического обслуживания лифтов на специалистов осуществляется приказом.

12.8. Допуск к самостоятельной работе электромехаников, лифтеров, диспетчеров осуществляется приказом при наличии у них удостоверения об аттестации.

На электромехаников и лифтеров возлагается выполнение соответствующих работ на закрепленных за ними лифтах.

На диспетчеров возлагается выполнение работ по диспетчерскому контролю за работой лифтов, подключенных к определенному диспетчерскому пункту.

12.9. Эксплуатирующая организация и (или) специализированная организация выдают специалистам, электромеханикам, лифтерам, диспетчерам документы, относящиеся к их основной деятельности:

специалисту выдаются настоящие Правила и должностная инструкция;

электромеханику, лифтеру, диспетчеру выдаются производственная инструкция и инструкция по технике безопасности при выполнении соответствующих работ.

12.10. В соответствии с постановлением Правительства РФ от 10.03.1999263 «Об организации производственного контроля за соблюдением требований промышленной безопасности на опасном производственном объекте»* эксплуатирующая организация и (или) специализированная организация разрабатывают Положение о производственном контроле с учетом местных условий эксплуатации.

* Собрание законодательства Российской Федерации, 1999, № 11, ст. 1305.

Положение о производственном контроле утверждается руководителем организации и согласовывается с органом Госгортехнадзора России.

Для осуществления производственного контроля назначается ответственный работник, аттестованный в установленном порядке.

12.11. В кабине лифта и (или) основном посадочном этаже вывешиваются Правила пользования лифтом, а также табличка с указанием номера телефона для связи с обслуживающим персоналом и аварийной службой.

12.12. При передаче лифта новому владельцу или арендатору ему передается паспорт лифта.

Новый владелец или арендатор обеспечивает эксплуатацию лифта в соответствии с настоящими Правилами, вносит в паспорт все необходимые изменения, связанные с передачей лифта и уведомляет орган Госгортехнадзора России о принятии лифта и обеспечении его безопасной эксплуатации.

13. ДИСПЕТЧЕРСКИЙ КОНТРОЛЬ ЗА РАБОТОЙ ЛИФТА

13.1. Необходимость оборудования лифтов диспетчерским контролем определяется эксплуатирующей организацией.

Для диспетчерского контроля за работой лифтов могут применяться как многофункциональные диспетчерские комплексы, так и специализированные диспетчерские пульты, прошедшие экспертизу промышленной безопасности и разрешенные к применению в установленном порядке.

13.2. Проектирование и изготовление, монтаж, техническое обслуживание, ремонт, реконструкция и замена оборудования диспетчерского контроля осуществляются организациями, располагающими техническими средствами и квалифицированными специалистами.

13.3. Организация, эксплуатирующая оборудование диспетчерского контроля, обеспечивает его содержание в исправном состоянии путем организации надлежащего обслуживания и ремонта. Для этих целей она может заключить договор со специализированной организацией.

13.4. Оборудование диспетчерского контроля за работой лифтов после монтажа, реконструкции и периодически при эксплуатации подвергается проверке на функционирование в объеме, определенном эксплуатационной документацией изготовителя.

13.5. Оборудование диспетчерского контроля за работой лифта может содержать устройство для дистанционного отключения лифта с диспетчерского пункта. Дистанционное включение лифта с диспетчерского пункта не допускается.

13.6. Диспетчерский контроль за работой лифта обеспечивает:

двустороннюю переговорную связь между диспетчерским пунктом и кабиной, диспетчерским пунктом и машинным помещением, а также звуковую сигнализацию о вызове диспетчера на связь;

сигнализацию об открытии дверей шахты при отсутствии кабины на этаже;

сигнализацию об открытии дверей машинного и блочного помещений или шкафов управления при их расположении вне машинного помещения (для лифтов без машинного помещения);

сигнализацию о срабатывании цепи безопасности лифта;

идентификацию поступающей сигнализации (с какого лифта и какой сигнал).

Диспетчерским контролем может быть предусмотрена дополнительная сигнализация о состоянии лифта.

13.7. Энергоснабжение оборудования диспетчерского контроля за работой лифтов осуществляется независимо от энергоснабжения лифта. При прекращении энергоснабжения оборудования диспетчерского контроля должно быть обеспечено функционирование двусторонней связи между кабиной и диспетчерским пунктом не менее 1 часа.

14. ПОРЯДОК РАССЛЕДОВАНИЯ АВАРИЙ И НЕСЧАСТНЫХ СЛУЧАЕВ

14.1. При авариях лифтов, зарегистрированных в органах Госгортехнадзора России, и несчастных случаях, произошедших при их эксплуатации, эксплуатирующая организация обязана своевременно сообщить об этом в соответствующие органы в установленном порядке и обеспечить сохранность всей обстановки аварии или несчастного случая до прибытия представителя органов Госгортехнадзора России, если это не представляет опасности для жизни и здоровья людей.

14.2. Техническое расследование причин аварии проводится в соответствии с Положением* о порядке технического расследования причин аварий на опасных производственных объектах, утвержденным постановлением Госгортехнадзора России от 08.06.9940.

* Зарегистрировано Министерством юстиции Российской Федерации 02.07.99, регистрационный № 1819.

14.3. Расследование несчастных случаев осуществляется в порядке, установленном Положением о расследовании и учете несчастных случаев на производстве, утвержденным постановлением Правительства Российской Федерации от 11.03.99 279*.

* Собрание законодательства Российской Федерации, 1999, № 13, ст. 1595.

15. ЗАКЛЮЧИТЕЛЬНЫЕ ПОЛОЖЕНИЯ

15.1. Нормативные технические документы, устанавливающие требования к лифтам и их эксплуатации, действуют в части, не противоречащей настоящим Правилам, и подлежат приведению в соответствие с настоящими Правилами.

15.2. Допускается не производить переоборудование действующих лифтов, а также лифтов, изготовленных до введения настоящих Правил и соответствующих Правилам устройства и безопасной эксплуатации лифтов, утвержденным Госгортехнадзором России 11.02.92.

15.3. Установка лифтов в существующих зданиях**, а также модернизация лифтов в зданиях, где не могут быть выполнены требования настоящих Правил к строительной части, допускается при выполнении требований приложения 12 настоящих Правил.

** Существующие здания - здания, находящиеся в эксплуатации на момент принятия решения об установке в него лифта. Установка лифтов при реконструкции здания производится в соответствии с настоящими Правилами.

15.4. Допускается применение в конструкции лифта и его составных частей принципиально новых технических решений, не охваченных требованиями настоящих Правил. В этом случае обеспечение необходимого уровня безопасности должно быть подтверждено в установленном порядке.

Приложение 1

ТЕРМИНЫ И ОПРЕДЕЛЕНИЯ

Башмак - устройство, обеспечивающее положение узлов лифта относительно направляющих.

Блок отклоняющий (отводной, направляющий) - устройство, отклоняющее канат в требуемом направлении.

Блочное помещение - отдельное помещение для установки блоков.

Буфер - устройство для амортизации и остановки движущейся кабины (противовеса) при переходе крайних рабочих положений.

Ввод в эксплуатацию - событие, фиксирующее готовность лифта к использованию по назначению и документально оформленное в установленном порядке.

Вводное устройство - электротехническое устройство, основное назначение которого состоит в подаче и снятии напряжения с питающих линий на вводе в лифт.

Вид управления - совокупность способов подачи команд управления при использовании лифта по назначению.

Внутреннее управление - вид управления, при котором команды управления на пуск лифта подаются только из кабины.

Гибкий тяговый элемент - элемент (канат, цепь, ремень), на котором подвешена кабина (противовес), и предназначенный для передачи тягового усилия.

Групповое управление - система управления совместной работой двух и более лифтов.

Команда управления - команда в систему управления, подаваемая пассажиром, пользующимся лифтом, или обслуживающим персоналом, или формируемая самой системой управления.

Лебедка - электромеханическое устройство с электродвигателем, предназначенное для создания тягового усилия, обеспечивающего движение кабины лифта.

Лебедка барабанная - лебедка, у которой тяговое усилие создается за счет жесткого крепления тяговых элементов к барабану и их трения с барабаном.

Лебедка со шкивом или барабаном трения - лебедка, у которой тяговое усилие создается за счет трения тяговых элементов со шкивом или барабаном.

Лебедка со звездочкой - лебедка, у которой тяговое усилие создается за счет зацепления звездочки с тяговой цепью.

Лифт - стационарная грузоподъемная машина периодического действия, предназначенная для подъема и спуска людей и (или) грузов в кабине, движущейся по жестким прямолинейным направляющим, у которых угол наклона к вертикали не более 15°.

Лифтовое оборудование - отдельные узлы, механизмы и устройства, входящие в состав лифта.

Ловители - устройство безопасности, предназначенное для остановки и удержания кабины (противовеса) на направляющих при превышении рабочей скорости или обрыве тяговых элементов.

Ловители плавного торможения - ловители, содержащие упругий элемент (пружина и т.п.), деформация которого определяет величину усилия, действующего на тормозной орган (клин, колодка и т.п.).

Ловители резкого торможения - ловители, не содержащие упругого элемента.

Машинное помещение - отдельное помещение для размещения оборудования лифтов.

Многослойное стекло - пакет из двух и более слоев стекла, скрепленных посредством полимерной пленки.

Монтажный чертеж - чертеж, согласно которому устанавливается и монтируется оборудование лифта.

Наружное управление - вид управления, при котором команда управления на пуск лифта подается только с этажных площадок.

Номинальная грузоподъемность - наибольшая масса груза, для транспортировки которой предназначен лифт.

Номинальная скорость - скорость движения кабины, на которую рассчитано оборудование лифта.

Одиночное управление - система управления работой одного лифта.

Полезная площадь пола кабины - площадь пола кабины, ограниченная внутренними поверхностями стен и дверью (дверями) кабины (за вычетом площади, перекрываемой одной из створок распашных дверей и поручней).

Приямок - часть шахты лифта, расположенная ниже уровня крайней нижней этажной площадки.

Рабочая скорость - фактическая скорость движения кабины лифта, которая может отличаться от номинальной в пределах 15 %.

Рабочее освещение кабины - электрическое стационарное освещение, обеспечивающее нормированную освещенность кабины.

Режимы управления - совокупность функциональных возможностей работы лифта, обеспечиваемых системой управления.

Система управления - совокупность устройств управления, обеспечивающих работу лифта.

Смешанное управление - вид управления, при котором команда управления на пуск лифта подается как из кабины, так и с этажных площадок.

Собирательное управление - смешанное управление, при котором после регистрации одной команды управления могут быть зарегистрированы и последующие, при этом выполнение команд управления происходит в соответствии с заданной программой.

Специализированная по лифтам организация - организация, располагающая техническими средствами и квалифицированными специалистами для осуществления соответствующего вида деятельности.

Техническое обслуживание - комплекс операций (работ), выполняемых по поддержанию исправности и работоспособности лифта.

Точность остановки кабины (точность остановки) - расстояние по вертикали между уровнем пола кабины и уровнем этажной площадки после автоматической остановки кабины.

Устройство безопасности - техническое устройство для обеспечения безопасного пользования лифтом.

Цепь безопасности - электрическая цепь, содержащая электрические устройства безопасности.

Цепь главного тока электродвигателя - электрическая цепь, содержащая элементы, предназначенные для передачи электрической энергии электродвигателю.

Цепь силовая - электрическая цепь, содержащая элементу, функциональное назначение которых состоит в производстве или передаче части электрической энергии, ее распределении, преобразовании в электрическую энергию с другими значениями параметров.

Цепь управления - электрическая цепь, содержащая элементы, функциональное назначение которых состоит в приведении в действие электрооборудования и (или) отдельных электрических устройств, или в изменении их параметров.

Шахта - пространство, в котором перемещается кабина, противовес и (или) уравновешивающее устройство кабины.

Электрическое устройство безопасности - электрическое устройство для обеспечения безопасного пользования лифтом.

Экспертная организация - организация, имеющая лицензию Госгортехнадзора России на проведение экспертизы промышленной безопасности в соответствии с действующим законодательством.

Приложение 2

Образец

ПАСПОРТ ЛИФТА

Разрешение на применение лифта от «__» _______________ № ______________ выдано

___________________________________________________________________________

(наименование органа госгортехнадзора, выдавшего разрешение)

1. ОБЩИЕ СВЕДЕНИЯ

Предприятие-изготовитель (поставщик)

 

Тип и модель лифта

 

Заводской номер

 

Месяц и год изготовления

 

Допустимая температура

(минимальная и максимальная) (°С):

в машинном помещении

шахте

 

Окружающая среда, в которой может эксплуатироваться лифт (относительная влажность, насыщенность пылью, агрессивная, взрывоопасная, пожароопасная)

 

Нормативные документы, в соответствии с которыми изготовлен лифт (Правила, ГОСТ, ТУ и т.п.)

 

Назначенный срок эксплуатации

 

Номинальная грузоподъемность, кг

 

Число пассажиров (макс.)

 

Номинальная скорость движения кабины, м/с

 

Скорость движения кабины в режиме «Ревизия», м/с

 

Система управления

 

Число остановок

 

Число дверей шахты

 

Высота подъема, м

 

 

Электрические цепи

Род тока

Напряжение, В; (±)

Частота, Гц

На вводном устройстве лифта

 

 

 

Силовая цепь:

привод лифта

привод дверей

 

 

 

 

 

Цепь управления

Цепь освещения для:

кабины

шахты

ремонтных работ

Цепь сигнализации

 

 

 

 

 

 

 

 

 

 

 

 

 

2. ОСНОВНЫЕ ТЕХНИЧЕСКИЕ ДАННЫЕ И ХАРАКТЕРИСТИКИ ОБОРУДОВАНИЯ ЛИФТА

2.1. Лебедка

Тип (редукторная, безредукторная, с канатоведущим шкивом, со шкивом трения, барабанная, со звездочкой)

 

Заводской номер

 

Год изготовления

 

Передаточное число

 

Межосевое расстояние передачи, мм

 

Номинальный крутящий момент на выходном валу, Нм

 

Диаметр ведущего органа, мм

 

Диаметр отводного блока, мм

 

Масса, кг

 

2.2. Тормоз

Тип (колодочный, дисковый, конусообразный и т.п.)

 

Диаметр тормозного шкива (диска, барабана), мм

 

Тормозной момент, Н/м

 

2.3. Электродвигатели

Назначение

Электродвигатель

лебедки

привода дверей

Тип

 

 

Род тока

 

 

Напряжение, В

 

 

Номинальный ток, А

 

 

Частота, Гц

 

 

Мощность, кВт

 

 

Допустимый перегрев

обмоток двигателя (°С)

(класс изоляции)

 

 

Частота вращения, об/мин

 

 

ПВ (%)

 

 

Число включений в час

 

 

Исполнение (нормальное, влагозащищенное, пылеводозащищенное, морское и т.п.) с указанием степени защиты

 

 

Масса, кг

 

 

2.4. Двери шахты

Конструкция (распашные, раздвижные, комбинированные, одно-, двух- или многостворчатые)

 

Размер дверного проема в свету (ширина×высота), мм

 

Способ открывания/закрывания (ручной, полуавтоматический, автоматический)

 

2.5. Кабина

Внутренние размеры, мм

ширина

глубина

высота

 

Конструкция дверей (распашные, раздвижные, одно-, двух- или многостворчатые)

 

Способ открывания или закрывания дверей (ручной, полуавтоматический, автоматический)

Привод дверей (электрический, гидравлический, пневматический, пружинный и т.п.)

 

Вид кабины (проходная, непроходная)

 

Масса, кг

 

2.6. Противовес

Масса, кг (в собранном виде)

 

2.8. Тяговые и уравновешивающие элементы

Наименование

Тяговые элементы

Уравновешивающие элементы

кабины

противовеса

ограничителя скорости

Вид (канат, цепь и т.п.)

 

 

 

 

Тип*

 

 

 

 

Конструкция *

 

 

 

 

Условное обозначение

 

 

 

 

Диаметр, шаг, размеры, мм

 

 

 

 

Количество элементов, шт.

 

 

 

 

Длина одного элемента, включая длину, необходимую для крепления, м

 

 

 

 

Разрывное усилие (разрушающая нагрузка), Н

 

 

 

 

Коэффициент запаса прочности **

 

 

 

 

* Таблица заполняется по документации предприятия - изготовителя тягового элемента.

** Заполняется для тяговых элементов.

2.9. Устройства безопасности

2.9.1. Механические устройства

Наименование и характеристики

Кабина

Противовес

ЛОВИТЕЛИ

Тип (резкого, резкого с амортизирующим устройством, плавного торможения)

Обозначение

 

 

Приводятся в действие (от ограничителя скорости, от устройства, срабатывающего от слабины всех тяговых канатов)

 

 

ОГРАНИЧИТЕЛЬ СКОРОСТИ

Тип (центробежный, маятниковый и т.п.)

Обозначение

 

 

Скорость движения кабины (противовеса), при которой срабатывает ограничитель скорости, м/с

Максимальная

Минимальная

 

 

БУФЕР

Тип (жесткие упоры, энергонакопительного типа, энергорассеивающие и т.д.)

 

 

Высота в свободном состоянии, мм

 

 

Количество, шт.

 

 

2.9.2. Электрические устройства безопасности*

* Указываются устройства, устанавливаемые на лифте.

Контроль перехода кабиной уровня:

крайней нижней этажной площадки

крайней верхней этажной площадки

 

 

Контроля закрытия двери шахты

 

Контроля запирания автоматического замка _двери шахты

 

Контроля закрытия створки двери шахты, не оборудованной замком

 

Контроля закрытия аварийной двери шахты

 

Контроля закрытия двери для обслуживания в шахте

 

Контроля закрытия смотрового люка в шахте

 

Контроля закрытия двери кабины

 

Контроля запирания замка аварийной двери или люка кабины

 

Контроля срабатывания ограничителя скорости кабины

 

Контроля возврата ограничителя скорости кабины в исходное положение

 

Для остановки лифта (выключатель, кнопка «Стоп»)

 

Контроля срабатывания ловителей

 

Контроля обрыва или относительного перемещения тяговых элементов

 

Контроля обрыва или вытяжки каната ограничителя скорости

 

Контроля натяжения уравновешивающих канатов

 

Контроля срабатывания устройства, ограничивающего подскок натяжного устройства уравновешивающих канатов

 

Контроля присоединения съемного устройства

для ручного перемещения кабины (положения съемного штурвала);

 

 

Контроля возвращения в исходное положение буфера энергорассеивающего типа

 

Отключения цепей управления из шахты

 

Отключения цепей управления из приямка

 

Отключения цепей управления из блочного помещения

 

Контроля положения площадки обслуживания

 

Контроля положения блокировочного устройства

 

3. ПЕРЕЧЕНЬ ДОКУМЕНТАЦИИ, ПРИЛАГАЕМОЙ К ПАСПОРТУ ЛИФТА

Наименование документа

Обозначение документа

Количество листов

Монтажный чертеж

 

 

Принципиальная электрическая схема с перечнем элементов

 

 

Ведомость эксплуатационных документов

 

 

Приложение 3

На бланке экспертной организации

г. ____________                                                                                  «__» _______ 200_ г.

АКТ
ПОЛНОГО ТЕХНИЧЕСКОГО ОСВИДЕТЕЛЬСТВОВАНИЯ ЛИФТА

заводской № _____________, установленного по адресу:

___________________________________________________________________________

(город, улица, дом, корпус, подъезд)

Мною, экспертом (специалистом)

___________________________________________________________________________

(Ф. И. О.)

в присутствии представителя организации, смонтировавшей лифт __________________

___________________________________________________________________________

(должность, Ф. И. О., наименование организации)

___________________________________________________________________________

и представителя генподрядной строительной организации _________________________

___________________________________________________________________________

(должность, Ф. И. О., наименование организации)

проведено полное техническое освидетельствование лифта в соответствии с Правилами устройства и безопасной эксплуатации лифтов (ПУБЭЛ).

ПРИ ОСВИДЕТЕЛЬСТВОВАНИИ УСТАНОВЛЕНО:

1. Характеристика лифта:

тип, модель ________________________________________________________________

номинальная грузоподъемность, кг _____________________________________________

номинальная скорость, м/с ____________________________________________________

число этажей _______________________________________________________________

2. Лифтовое оборудование соответствует сведениям, указанным в паспорте лифта.

3. Установка лифта соответствует монтажному чертежу и ПУБЭЛ.

4. Лифт функционирует во всех режимах в соответствии с Руководством по эксплуатации.

5. Испытание в соответствии с разделом 11 ПУБЭЛ лифт выдержал.

6. Комплект технической документации, поставленной с лифтом, соответствует пункту 1.6 ПУБЭЛ.

7. Акт на скрытые работы и протоколы по пункту 10.2.1 ПУБЭЛ имеются.

РЕЗУЛЬТАТЫ ОСВИДЕТЕЛЬСТВОВАНИЯ ЛИФТА

1. Лифт соответствует паспортным данным и Правилам устройства и безопасной эксплуатации лифтов.

2. Лифт находится в исправном состоянии, обеспечивающем его безопасную работу.

Эксперт (специалист) _________________________________/____________________

(Штамп)                                 (Ф. И. О)                                    (Подпись)

Представитель организации, смонтировавшей лифт

__________________________/______________/

(Подпись)                                        (Ф. И. О)

Представитель генподрядной строительной организации

__________________________/______________/

(Подпись)                                        (Ф. И. О)

Настоящий акт хранить с паспортом лифта.

Приложение 4

г. ____________                                                                         «__» ___________ 200_ г.

АКТ ПРИЕМКИ ЛИФТА В ЭКСПЛУАТАЦИЮ

Комиссия в составе:

Председатель комиссии (уполномоченный представитель эксплуатирующей организации)

___________________________________________________________________________

олжность, Ф. И. О., наименование эксплуатирующей организации)

Члены комиссии:

представитель монтажной организации

___________________________________________________________________________

(Должность, Ф. И. О.)

___________________________________________________________________________

(наименование организации)

представитель генподрядной строительной организации

___________________________________________________________________________

(Должность, Ф. И. О.)

___________________________________________________________________________

(наименование организации)

специалист, ответственный за техническое обслуживание лифта _________________

___________________________________________________________________________

(Должность, Ф. И. О.)

___________________________________________________________________________

(наименование организации)

представитель Заказчика (при наличии)

___________________________________________________________________________

(Должность, Ф. И. О.)

___________________________________________________________________________

(наименование организации)

инспектор Госгортехнадзора России

___________________________________________________________________________

(наименование органа Госгортехнадзора, Ф. И. О.)

составили настоящий акт о приемке в эксплуатацию лифта, заводской № _________, установленного по адресу:

___________________________________________________________________________

(город, улица, дом, корпус, подъезд)

Комиссия провела проверку представленных документов:

Акта полного технического освидетельствования лифта; документов по организации безопасной эксплуатации лифта, а также контрольный осмотр лифта.

РЕЗУЛЬТАТЫ ПРИЕМКИ ЛИФТА

1. Лифт находится в исправном состоянии, обеспечивающем его безопасную работу..

2. Организация безопасной эксплуатации лифта соответствует Правилам устройства и безопасной эксплуатации лифтов.

Лифт сдали:

Уполномоченный представитель монтажной организации

___________________________________________________________________________

(Подпись, Ф. И. О.)

Уполномоченный представитель генподрядной строительной организации ________

___________________________________________________________________________

(Подпись, Ф. И. О.)

Лифт приняли:

Уполномоченный представитель эксплуатирующей организации

___________________________________________________________________________

(Подпись, Ф. И. О.)

Специалист, ответственный за техническое обслуживание лифта _________________

___________________________________________________________________________

(Подпись, Ф. И. О.)

Запись о разрешении на ввод лифта в эксплуатацию сделана в паспорте лифта.

Инспектор Госгортехнадзора России

___________________________________________________________________________

(Штамп)                                                                      одпись, Ф. И. О.)

Настоящий акт хранить с паспортом лифта.

Приложение 5

На бланке экспертной организации

г. ___________                                                                              «__» __________ 200_ г.

АКТ
ПЕРИОДИЧЕСКОГО ТЕХНИЧЕСКОГО ОСВИДЕТЕЛЬСТВОВАНИЯ ЛИФТА

Регистрационный № ______________________________________, установленного по адресу: ____________________________________________________________________

(Город, улица, дом, корпус, подъезд)

Мною, экспертом (специалистом) ___________________________________________

(Ф. И. О.)

в присутствии представителей _________________________________________________

___________________________________________________________________________

___________________________________________________________________________

(должность, Ф. И. О., наименование организации)

проведено периодическое техническое освидетельствование лифта в соответствии с Правилами устройства и безопасной эксплуатации лифтов (ПУБЭЛ).

ПРИ ОСВИДЕТЕЛЬСТВОВАНИИ УСТАНОВЛЕНО:

1. Размеры по установке лифтового оборудования находятся в пределах, регламентированных ПУБЭЛ.

2. Лифт функционирует во всех режимах в соответствии с Руководством по эксплуатации.

3. Испытание в соответствии с разделом 11 ПУБЭЛ лифт выдержал.

РЕЗУЛЬТАТЫ ОСВИДЕТЕЛЬСТВОВАНИЯ ЛИФТА

1. Лифт находится в исправном состоянии, обеспечивающем его безопасную работу.

2. Организация эксплуатации лифта соответствует Правилам устройства и безопасной эксплуатации лифтов.

РЕКОМЕНДАЦИИ:

___________________________________________________________________________

___________________________________________________________________________

___________________________________________________________________________

___________________________________________________________________________

___________________________________________________________________________

Эксперт (специалист) _____________________________/________________________/

(Штамп)                               (Ф. И. О.)                             (Подпись)

С актом ознакомлен /______________________________/_______________________/

(Должность)                       (Ф. И. О.)                             (Подпись)

Настоящий акт хранить с паспортом лифта до срока следующего освидетельствования.

Приложение 6

ПОРЯДОК ПРОВЕДЕНИЯ ИСПЫТАНИЙ УЗЛОВ БЕЗОПАСНОСТИ

1. Общие положения

1.1. Испытаниям подлежат следующие устройства безопасности: замок двери шахты, ловители, ограничитель скорости буфера, печатные платы электрических цепей безопасности.

1.2. Испытания устройств безопасности проводит аккредитованная в установленном порядке Испытательная лаборатория.

1.3. Испытания устройств безопасности производятся в объеме, предусмотренном настоящим приложением.

1.4. Испытания устройств безопасности проводятся по программам и методикам, согласованным в установленном порядке.

1.5. Дня проведения испытаний устройств безопасности Заявитель (Изготовитель или его полномочный представитель) представляет в Испытательную лабораторию заявку, комплект технической документации, предусмотренный настоящим приложением для конкретного устройства безопасности, и образец устройства безопасности.

1.6. Испытания устройств безопасности проводятся на аттестованных испытательных стендах Испытательной лаборатории.

Допускается проводить стендовые испытания на аттестованных испытательных стендах Изготовителя.

1.7. Испытательная лаборатория проверяет представленную техническую документацию и проводит испытания представленного образца устройства безопасности.

1.8. По результатам проверки и испытаний оформляется Протокол испытаний устройства безопасности в соответствии с разделом 2 настоящего приложения.

1.9. Протокол испытаний устройства безопасности передается Заявителю. Копия протокола хранится в Испытательной лаборатории в течение срока действия Протокола.

1.10. При необходимости внесения изменений в конструкцию аттестованного устройства безопасности Заявитель информирует Испытательную лабораторию о соответствующих изменениях. Испытательная лаборатория проверяет изменения и принимает решение о подтверждении аттестации устройства безопасности или необходимости проведения его испытания.

1.11. При отрицательных результатах испытаний устройства безопасности Испытательная лаборатория информирует Заявителя о выявленных несоответствиях устройства безопасности установленным требованиям. Заявитель может обратиться в Испытательную лабораторию для проведения повторных испытаний устройства безопасности после устранения выявленных несоответствий.

2. Содержание протокола* испытаний устройства безопасности

* Протокол оформляется на бланке Испытательной лаборатории.

В протоколе указывается следующая информация:

номер протокола, присвоенный Испытательной лабораторией;

сведения об Испытательной лаборатории (название, юридический адрес, номер аттестата аккредитации Испытательной лаборатории, телефон/факс, место нахождения испытательных стендов;

сведения об Изготовителе (название, юридический адрес, телефон/факс);

сведения о полномочном представителе Изготовителя (название, юридический адрес, телефон/факс)**;

** Указывается при наличии представителя.

дата подачи Заявки;

дата выдачи Протокола испытаний;

сведения об устройстве безопасности (наименование, тип устройства, идентификационный номер), а также указанные в разделах 3 - 7 настоящего приложения технические характеристики конкретного устройства безопасности;

наименование нормативной документации, на соответствие которой проводились испытания;

сведения о документах Испытательной лаборатории, отражающих результаты испытаний устройства безопасности (отчеты, акты и т.п.), с указанием их номеров и даты проведения испытания;

срок действия аттестации устройства безопасности;

подпись руководителя Испытательной лаборатории;

печать (штамп) Испытательной лаборатории.

3. Замок двери шахты

3.1. Предмет испытания.

Замок двери шахты должен быть испытан для проверки его соответствия требованиям настоящего раздела. Каждый элемент, участвующий в запирании двери шахты и в контроле запирания, входит в состав замка.

Если замок должен отвечать дополнительным требованиям (водонепроницаемость, пыленепроницаемость или взрывобезопасность), должны быть проведены дополнительные проверки и/или испытания для подтверждения соответствия этим требованиям.

3.2. Требование к документации.

К заявке на проведение испытания замка должен быть приложен сборочный чертеж замка, на котором показаны:

а) работа замка в нормальных условиях эксплуатации;

б) величина зацепления запирающего элемента, в том числе при срабатывании электрического устройства безопасности;

в) работа устройства механического контроля запирания, при наличии такого устройства;

г) работа устройства аварийного отпирания замка;

д) вид тока (постоянный и/или переменный), номинальное напряжение и номинальный ток электрического устройства безопасности.

На чертеже должны быть изображены детали, участвующие в работе замка. В прилагаемой к чертежу спецификации должны быть перечислены основные детали, виды используемых материалов и характеристики крепежа.

3.3. Требование к образцу замка для испытания.

Для проведения испытаний должен быть представлен один экземпляр серийно изготавливаемого замка. Если для испытания представлен опытный образец замка, то испытание должно быть повторено на серийном образце.

Если испытание замка возможно только совместно с дверью шахты лифта, то для испытаний должен быть представлен замок, установленный в рабочем положении на полностью собранной двери. Допускается уменьшение размера двери по сравнению с серийным образцом, если это не влияет на результаты испытаний.

Устройства, обеспечивающие прямую или косвенную связь (канат, ремень, цепь и т.п.) между панелями горизонтально-раздвижной или вертикально-раздвижной двери, считаются элементами замка.

3.4. Требования к испытаниям.

3.4.1. Функциональные испытания.

Цель испытаний - проверка соответствия работы механических и электрических элементов замка требованиям настоящего раздела, а также соответствие замка данным, указанным в заявке.

В частности, должна быть проверена величина вхождения запирающего элемента до срабатывания электрического устройства безопасности.

3.4.2. Цель испытаний - подтверждение прочности и долговечности механических и электрических элементов.

Управление установленным в рабочее положение замком должно осуществляться элементом, воздействующим на него в нормальных условиях работы. Если замок может устанавливаться в нескольких рабочих положениях или на него могут воздействовать различные элементы, то проверка на долговечность должна проводиться в условиях, вызывающих наибольшие напряжения в элементах замка.

Перед проведением испытаний замок должен быть смазан в соответствии с требованиями, указанными в документации изготовителя.

Число полных циклов работы и перемещений запирающего элемента должно быть зарегистрировано механическим или электрическим счетчиком.

3.4.3. Запирающий элемент замка должен совершить 1000000 ± 1 % полных циклов: цикл состоит из одного полного хода запирающего элемента вперед и одного полного хода запирающего элемента назад.

Должно быть обеспечено плавное, без толчков перемещение запирающего элемента с частотой 60 ± 10 % циклов в минуту.

В случае, если замок снабжен механическим устройством для контроля положения запирающего элемента, то это устройство должно быть подвергнуто испытанию на долговечность продолжительностью 100000 ± 1 % циклов.

Должно быть обеспечено плавное, без толчков перемещение механического устройства для контроля запирающего элемента с частотой 60 ± 10 % циклов в минуту.

3.4.4. Замок распашных дверей должен быть испытан на постепенно возрастающую в течение 300 с от 0 до 3000 Н статическую нагрузку.

Замок раздвижных дверей должен быть испытан на постепенно возрастающую в течение 300 с от 0 до 1000 Н статическую нагрузку.

Нагрузка должна быть приложена в направлении открывания двери.

3.4.5. Испытания динамические.

Замок, находящийся в запертом положении, должен быть испытан на удар твердым предметом, направленным в направлении открывания двери. Энергия удара должна быть равна энергии тела массой 4 кг, падающего с высоты 0,5 м.

3.4.6. Оценка результатов механических испытаний.

Испытания считаются положительными, если в результате испытаний на долговечность, статических и динамических, отсутствуют износ, деформации или поломки, отрицательно влияющие на безопасность.

3.5. Испытание электрических элементов замка.

3.5.1. Испытание на долговечность электрических контактов замка.

При проведении механических испытаний на долговечность электрический контакт замка должен замыкать цепь при номинальном напряжении и при величине тока, вдвое превышающей номинальное значение.

3.5.2. Испытание на способность разрыва электрической цепи.

3.6. Результат испытания замка двери шахты.

3.6.1. Результаты испытания должны быть оформлены документально. Один экземпляр документа передается Заявителю.

3.6.2. Протокол должен содержать информацию, указанную в разделе 2 настоящего приложения, а также информацию о виде (постоянный и/или переменный) и величине номинального напряжения и тока на контактах электрического устройства безопасности.

4. Ловители

4.1. Требование к заявке на проведение испытаний и сопроводительной документации.

В заявке на проведение испытаний должна быть указана:

а) минимальная и максимальная улавливаемая масса;

б) номинальная скорость лифта, минимальная и максимальная скорость срабатывания ограничителя скорости;

в) для регулируемых ловителей - способ регулировки (плавный, ступенчатый).

К заявке на проведение испытания ловителей должны быть приложены следующие документы:

а) чертежи деталей и сборочные чертежи ловителей с описанием конструкции, работы, используемых материалов, размеров и количества деталей конструкции;

б) информация о типе и материале применяемых направляющих, состоянии их поверхности (тянутая, фрезерованная и т.п.);

в) график нагрузки на упругие элементы для ловителей плавного торможения;

г) формулы или графики, показывающие изменение усилия торможения, как функция заданного параметра, для ловителей плавного торможения, рассчитанных на улавливание различных масс.

4.2. Ловители мгновенного действия.

4.2.1. Требования к образцу для испытаний.

Для проведения испытаний должны быть представлены два комплекта ловителей в сборе с клиньями или зажимами и по два отрезка направляющих каждого типа, с которыми будут взаимодействовать ловители. Если разные типы направляющих имеют одинаковую толщину и необходимую для наложения ловителей ширину и такое же качество поверхности, то повторное испытание не требуется. Длина отрезков направляющих определяется производящей испытание лабораторией.

Установка направляющих и необходимый для них крепеж определяется Испытательной лабораторией в соответствии с используемым ее оборудованием.

4.2.2. Требования к испытаниям.

4.2.2.1. Методика испытаний.

Испытание следует производить с использованием пресса или аналогичного устройства, способного перемещаться без резких изменений скорости. При этом измеряются:

а) пройденное расстояние как функция силы;

б) деформация деталей ловителей как функция силы или как функция пройденного расстояния.

4.2.2.2. Процедура испытаний.

Ловители должны быть установлены на направляющие. На детали ловителей должны быть нанесены реперные метки, обеспечивающие возможность измерения их деформации.

Пройденное расстояние должно быть зарегистрировано как функция силы.

После испытания необходимо:

а) сравнить твердость клиньев или захватных приспособлений ловителей с исходными величинами, указанными Заявителем;

б) убедиться в отсутствии разрушения конструкции, деформации и других изменений (например, трещины, деформации или износ схватывающих элементов, наличие задиров на направляющих поверхностях);

в) сфотографировать, при необходимости, блок ловителей, схватывающие элементы и направляющие для подтверждения наличия деформаций или разрушений.

4.2.2.3. Оформление наблюдений за испытаниями.

По результатам испытаний должны быть построены графики:

а) пройденное расстояние как функция силы;

б) деформация ловителей как функция силы или пройденного расстояния.

Энергия, поглощенная ловителями, определяется путем интегрирования площади графика «Расстояние - сила». При интегрировании учитывается следующая площадь:

а) если отсутствует остаточная деформация - общая площадь;

б) если имеется остаточная деформация:

1) или площадь, ограниченная значениями, при которых был достигнут предел упругости;

2) или площадь до значения, соответствующего максимальной силе.

4.2.2.4. Определение допустимой улавливаемой массы.

а) если в результате испытаний отсутствует остаточная деформация, то при коэффициенте безопасности, равном 2, допустимая улавливаемая масса определяется по формуле

(P + Q)1 = K/(gn·h),

где (P + Q)1 - допустимая улавливаемая масса (кг);

Р - масса пустой кабины и прикрепленных к ней элементов, таких как часть подвесного кабеля, уравновешивающие канаты/цепи и т.д. (кг);

Q - номинальная нагрузка (кг);

K - энергия, поглощенная одним ловителем, определенная путем интегрирования п. 4.2.2.3 а) (Дж);

gn - стандартная величина ускорения свободного падения (9,81 м/с2);

h - высота свободного падения (м), определяемая по формуле

h = v12/(2·gn) + 0,1 + 0,03,

где v1 - максимальная скорость срабатывания ограничителя скорости (м/с);

0,1 м - соответствует расстоянию, пройденному за время срабатывания ограничителя скорости;

0,03 м - соответствует перемещению за время устранения зазора между схватывающими элементами и направляющими;

б) если в результате испытаний имеются остаточные деформации, то величина допустимой улавливаемой массы определяется по формулам:

1) при коэффициенте безопасности, равном 2

(P + Q)1 = K1/(gn·h),

где K1 - энергия, поглощенная ловителями, определенная путем интегрирования по пп. 4.2.2.3 б) 1) (Дж);

2) при коэффициенте безопасности, равном 3,5

(P + Q)1 = 2·K2/(3,5·gn·h),

где K2 - энергия, поглощенная ловителями, определенная путем интегрирования по пп. 4.2.2.3 б) 2) (Дж).

Из двух полученных значений Заявитель имеет право выбрать любое.

4.3. Ловители плавного торможения.

4.3.1. Требования к образцу для испытаний.

Для проведения испытаний должен быть представлен один комплект ловителей, установленный на балке, имеющей указанные Испытательной лабораторией размеры, а также необходимое для проведения испытаний в полном объеме количество тормозных элементов и по два отрезка направляющих каждого типа, с которыми будут взаимодействовать ловители. Длина отрезков направляющих определяется производящей испытание лабораторией.

Установка направляющих и необходимый для них крепеж определяется Испытательной лабораторией в соответствии с используемым ее оборудованием.

4.3.2. Требования к испытаниям.

4.3.2.1. Методика испытаний.

Испытание должно быть проведено при свободном падении удерживаемого ловителями элемента. При этом должны быть проведены прямые или косвенные измерения следующих величин:

а) общая высота падения;

б) длина тормозного пути на направляющих;

в) величина проскальзывания каната ограничителя скорости или заменяющего устройства;

г) суммарное перемещение упругих элементов.

Величины а) и б) должны быть зарегистрированы в функции времени.

Должны быть определены:

а) среднее значение силы торможения;

б) максимальное мгновенное значение силы торможения;

в) минимальное мгновенное значение силы торможения.

4.3.2.2. Процедура испытаний.

4.3.2.2.1. Нерегулируемые ловители, предназначенные для улавливания конкретной массы.

Должно быть проведено четыре испытания ловителей по улавливанию свободно падающей массы, равной (P + Q). После каждого испытания должна быть сделана пауза для восстановления нормальной температуры трущихся элементов.

Во время испытаний допускается использовать несколько идентичных комплектов трущихся элементов. При этом один комплект трущихся элементов должен выдерживать:

а) три испытания для номинальной скорости не более 4 м/с;

б) два испытания для номинальной скорости более 4 м/с.

Высота свободного падения должна быть рассчитана исходя из максимальной скорости срабатывания ограничителя скорости, при которой возможно использование данных ловителей.

4.3.2.2.2. Регулируемые ловители, предназначенные для улавливания различных масс.

Независимо от способа регулирования тормозного усилия (плавного или ступенчатого), должны быть проведены две серии испытаний для максимальной и минимальной величины заявленной улавливаемой массы.

Должны быть проверены представленные Заявителем формулы или графики, показывающие изменение тормозного усилия, в функции заданного параметра.

4.3.2.3. Определение усилия торможения.

4.3.2.3.1. Нерегулируемые ловители, предназначенные для улавливания конкретной массы.

Усилие торможения, развиваемое ловителями при использовании направляющих одного типа, определяется как средняя величина средних усилий торможения, определенных в процессе проведения испытаний.

Каждое испытание должно проводиться на новом участке направляющих. Средняя величина усилия торможения, полученная в результате одного испытания, не должна отличаться от усилия торможения, полученного в результате обработки всех испытаний, более чем на 25 %.

4.3.2.3.2. Регулируемые ловители, предназначенные для улавливания различных масс.

Усилие торможения, развиваемое ловителями со ступенчатым или плавным регулированием, должно определяться в соответствии с п. 4.3.2.3.1 для минимальной и максимальной улавливаемых масс, указанных Заявителем.

4.3.2.4. После испытания необходимо:

а) сравнить твердость схватывающих элементов ловителей с исходными величинами, указанными Заявителем;

б) проверить, при отсутствии разрушения конструкции, наличие деформации или разрушений (например, трещины, деформации или износ схватывающих элементов, наличие задиров на направляющих поверхностях);

в) сфотографировать, при необходимости, ловители в сборе, схватывающие элементы и направляющие для подтверждения наличия деформаций или разрушений.

4.3.3. Определение допустимой улавливаемой массы.

4.3.3.1. Нерегулируемые ловители, предназначенные для улавливания конкретной массы.

Допустимая улавливаемая масса должна быть рассчитана по следующей формуле

(P + Q)1 = Ft/16.

где (P + Q)1 - допустимая масса (кг);

Р - масса пустой кабины и соединенных с ней элементов, таких как часть подвесного кабеля, уравновешивающие канаты/цепи и т.д. (кг);

Q - номинальная нагрузка (кг);

Ft - усилие торможения (Н), определенное в соответствии с п. 4.3.2.3.1.

4.3.3.2. Регулируемые ловители, предназначенные для улавливания различных масс.

Допустимая улавливаемая масса для ловителей со ступенчатым регулированием должна быть рассчитана для каждого шага регулирования в соответствии с п. 4.3.3.1.

Допустимая улавливаемая масса для ловителей с плавным регулированием должна быть рассчитана для максимальной и минимальной заявленных масс в соответствии с п. 4.3.3.1.

Если определенная по результатам испытаний допустимая улавливаемая масса отличается от установленной заявителем более чем на 20 %, то допускается, по согласованию с заявителем, проведение повторных испытаний при другой настройке ловителей.

4.3.4. Результат испытаний ловителей.

4.3.4.1. Результат испытаний ловителей оформляется в трех экземплярах: два экземпляра передаются Заявителю и один - Испытательной лаборатории.

4.3.4.2. Протокол должен содержать информацию, указанную в разделе 2 настоящего приложения, а также:

а) предельные значения улавливаемой массы;

б) максимальную скорость срабатывания ограничителя скорости;

в) тип направляющих;

г) толщину головки направляющих;

д) ширину головки направляющих;

е) состояние поверхности направляющих (для ловителей плавного торможения) - тянутая, фрезерованная, шлифованная и т.д.;

ж) тип смазки направляющих (для ловителей плавного торможения).

5. Ограничитель скорости

5.1. Требования к документации.

5.1.1. В заявке на проведение испытаний должно быть указано:

а) тип (или типы) ловителей, которые будут приводиться в действие ограничителем скорости;

б) номинальная скорость лифта, для которого можно использовать ограничитель скорости;

в) предполагаемая величина усилия на канате ограничителя скорости при его срабатывании.

Если ограничитель скорости должен отвечать дополнительным требованиям (водонепроницаемость, пыленепроницаемость), о чем должно быть указано в Заявке, и должны быть проведены дополнительные проверки и/или испытания для подтверждения соответствия этим требованиям.

5.1.2. К заявке на проведение испытаний типа должны быть приложены чертежи деталей и сборочный чертеж ограничителя скорости, показывающие:

а) работу ограничителя скорости;

б) размеры его элементов;

в) используемые материалы.

5.2. Требования к образцу для испытаний.

Для проведения испытаний должны быть представлены:

а) один ограничитель скорости;

б) канат ограничителя скорости, используемый с данным ограничителем скорости (длина каната определяется Испытательной лабораторией);

в) одно натяжное устройство каната ограничителя скорости, используемое с данным ограничителем скорости.

5.3. Требования к испытаниям.

5.3.1. Методика испытаний.

Во время проведения испытания должны быть определены:

а) скорость срабатывания ограничителя скорости;

б) величина усилия, возникающего в канате ограничителя скорости при его срабатывании.

Кроме того, должна быть проверена работа:

а) электрического устройства безопасности, контролирующего срабатывание ограничителя скорости;

б) электрического устройства безопасности, отключающего привод лифта до срабатывания ограничителя скорости (при его наличии).

5.3.2. Процедура испытаний.

Должно быть выполнено не менее 20 испытаний в диапазоне скоростей срабатывания ограничителя скорости, соответствующих номинальным скоростям лифта, указанным в заявке на проведение испытаний.

5.3.2.1. Испытания могут быть выполнены в лаборатории изготовителя.

5.3.2.2. Большая часть испытаний должна быть выполнена на крайнем значении диапазона.

5.3.2.3. Ускорение разгона ограничителя скорости должно быть по возможности минимальным для исключения влияния инерции.

5.4. Результат испытаний типа ограничителя скорости.

5.4.1. Значения скорости срабатывания ограничителя скорости, полученные во время 20 испытаний, должны находиться в пределах, оговоренных настоящими Правилами.

5.4.2. Электрические устройства безопасности, установленные на ограничителе скорости, во время 20 испытаний должны срабатывать в случаях, оговоренных в настоящих Правилах.

5.4.3. Усилие в канате ограничителя скорости при его срабатывании должно быть не менее 300 Н или не менее большей, оговоренной заявителем величины.

5.4.3.1. Угол обхвата канатом шкива ограничителя скорости должен быть равен 180°, если другое значение не оговорено в документации изготовителя.

5.4.3.2. Если в конструкции ограничителя скорости предусмотрено устройство, зажимающее канаты, они должны быть проверены на отсутствие остаточных деформаций после срабатывания этого устройства.

5.4.4. Результат испытаний типа ограничителя скорости оформляется в трех экземплярах: два экземпляра передаются заявителю и один - испытательной лаборатории.

5.4.4.1. Протокол должен содержать информацию, указанную в разделе 2 настоящего приложения, а также:

а) номинальную скорость лифта, для которого может использоваться данный ограничитель скорости;

в) диаметр каната ограничителя скорости;

г) минимальное усилие натяжения каната ограничителя скорости при наличии натяжного устройства;

д) усилие в канате, возникающее при срабатывании ограничителя скорости.

6. Буфера

6.1. Требование к документации.

В заявке на проведение испытаний должна быть указана:

а) максимальная скорость удара;

б) минимальная и максимальная масса, на восприятие нагрузки от которой рассчитан буфер.

К заявке на проведение испытания буфера должна быть приложена следующая документация:

а) чертежи деталей и узлов, поясняющие устройство и работу буфера, с указанием применяемых материалов, размеров и допусков;

б) техническая характеристика используемой жидкости для гидравлических буферов.

6.2. Требования к образцу для испытания.

Для проведения испытаний в лабораторию должны быть представлены:

а) один буфер;

б) необходимое количество жидкости для гидравлического буфера (поставляется отдельно).

6.3. Энергонакопительные буфера с амортизированным обратным ходом.

6.3.1. Методика испытаний.

Испытание проводится грузами массой M, падающими на буфер с ускорением свободного падения с высоты H.

Максимально допустимая масса груза определяется по формуле

Mmax = Cr/2,5,

где Cr - масса, необходимая для полного сжатия пружины (кг).

Минимально допустимая масса определяется по формуле

Mmin = Cr/4.

Высота, с которой падает груз, определяется по формуле

H = 0,5×FL = 0,067v2,

где FL - полное сжатие пружины (м);

v - номинальная скорость лифта (м/с).

Указанный тип буферов допускается использовать при номинальной скорости лифта, определяемой по формуле

 но не более 1,6 м/с.

6.3.2. Процедура испытаний.

Во время проведения испытаний грузы должны перемещаться по жестким направляющим.

Буфер должен устанавливаться и крепиться так же, как и при обычной эксплуатации.

Регистрация скорости движения груза должна производиться с момента касания грузом буфера и до окончания испытания. Скорость подъема груза при обратном ходе буфера должна быть не более 1 м/с.

После двух испытаний буфера максимальной массой буфер не должен иметь остаточных деформаций или повреждений.

Во время проведения испытаний температура окружающего воздуха должна находиться в диапазоне от +15 до +25° С.

6.4. Энергорассеивающие буфера.

6.4.1. Методика испытаний.

Испытание проводится падающими с ускорением свободного падения грузами с минимальной и максимальной массой. В момент касания буфера должна быть достигнута максимально требуемая скорость груза.

6.4.2. Процедура испытаний.

Во время проведения испытаний грузы должны перемещаться по жестким направляющим.

Буфер должен устанавливаться и крепиться так же, как и при обычной эксплуатации. Гидравлический буфер должен быть заполнен жидкостью в соответствии с требованиями изготовителя.

Во время проведения испытаний температура окружающего воздуха должна находиться в диапазоне от +15 до +25° С.

Регистрация скорости движения груза должна производиться с момента касания грузом буфера или в течение всего перемещения груза. Ускорение замедления груза должно быть рассчитано или измерено в функции времени на всем протяжении перемещения груза.

Должно быть проведено два испытания:

а) падение груза с минимальной массой;

б) падение груза с максимальной массой.

После каждого испытания буфер должен удерживаться в полностью сжатом положении в течение 5 минут. Затем груз должен быть убран для возвращения буфера в нормальное положение. Буфер с пружинным или гравитационным возвратом должен возвращаться в нормальное положение не более чем за 120 с.

Перед вторым испытанием должен быть сделан перерыв на 30 минут, чтобы жидкость возвратилась в резервуар и из нее вышли пузырьки воздуха.

После проведения двух испытаний повторно должен быть проверен уровень жидкости. Через 30 минут после проведения второго испытания уровень жидкости должен соответствовать уровню, необходимому для нормальной работы.

После испытания буфера максимальной массой буфер не должен иметь остаточных деформаций или повреждений.

Величина замедления груза должна соответствовать требованиям настоящих Правил.

Если после проведения испытаний с минимальным и максимальным грузами не был достигнут положительный результат, то Испытательная лаборатория по согласованию с Заявителем может установить другие значения предельных масс.

6.5. Буфер с нелинейными характеристиками.

6.5.1. Методика испытаний.

Испытание проводится падающими с ускорением свободного падения грузами, масса которых соответствует минимальному и максимальному значению, указанному в заявке. В момент соприкосновения с буфером груз должен иметь максимальную заявленную скорость, но не менее 0,8 м/с.

6.5.2. Процедура испытания.

Во время испытаний грузы должны перемещаться по жестким направляющим.

Буфер должен устанавливаться и крепиться, как и при обычной эксплуатации.

Во время проведения испытаний температура окружающего воздуха должна находиться в диапазоне от +15 до +25° С.

Во время проведения трех испытаний с максимальным грузом исходная величина усилия буфера при его ходе, равном 50 % его высоты, не должна отличаться от заявленной более чем на 5 %. Это требование должно выполняться также при проведении испытаний с минимальным грузом.

Величина пройденного расстояния, ускорение падения и замедления груза должны регистрироваться с момента опускания груза и вплоть до полного успокоения системы. С каждым из грузов проводится по три испытания. Интервал между двумя испытаниями должен быть не менее 5 и не более 30 минут.

t0 - момент касания буфера; t1 - второй абсолютный минимум; gn - 9,81 м2.

Рис. 1. График торможения

Измеренная при свободном падении груза массой, равной номинальной грузоподъемности и скорости 115 % от номинальной, средняя величина ускорения замедления «а» не должна превышать 9,81 м/с2. Величина средней величины ускорения рассчитывается для временного интервала между двумя абсолютными минимумами замедления (см. рис. 1). Время действия ускорения замедления, превышающего 2,5gn м/с2, должно быть не более 0,04 с.

После испытания буфера максимальным грузом буфер не должен иметь остаточных деформаций или повреждений.

Если после проведения испытаний с минимальным и максимальным грузами не был достигнут положительный результат, то Испытательная лаборатория по согласованию с Заявителем может установить другие значения предельных масс.

6.6. Результат испытаний буферов.

6.6.1. Результат испытаний типа буферов оформляется в трех экземплярах: два экземпляра передаются Заявителю и один - Испытательной лаборатории.

6.6.2. Протокол должен содержать информацию, указанную в разделе 2 настоящего приложения, а также:

а) максимальную скорость удара о буфер;

б) максимальную массу;

в) минимальную массу;

г) технические характеристики жидкости для гидравлического буфера;

д) условия эксплуатации (температура окружающей среды, влажность, загрязненность и т.д.) для буфера с нелинейными характеристиками.

7. Печатные платы

7.1. Общие положения.

Заявитель представляет лаборатории следующую информацию:

а) обозначение платы;

б) условия эксплуатации;

в) перечень используемых компонентов;

г) разводку печатной платы;

д) размещение гибридных схем и маркировку соединений, используемых в электрических цепях безопасности;

е) информацию об электрической части, монтажную схему (при применении равноценной печатной плате сборки) с отмеченными входом и выходом платы.

7.2. Испытательные образцы.

В лабораторию следует представить:

одну печатную плату с установленными на ней компонентами;

одну печатную плату без установленных на ней электрических компонентов (пустую).

7.3. Испытания.

7.3.1. Механические испытания.

Во время испытаний испытуемая печатная плата (схема) должна работать. Ни во время, ни после испытаний в электрической цепи безопасности не должно возникать никаких опасных действий и состояний.

7.3.1.1. Вибрация.

Передающие элементы цепи безопасности должны отвечать следующим требованиям.

а. Сопротивляемость изгибу:

20 циклов изгибов по каждой оси: с амплитудой 0,35 мм или 5gn и в диапазоне частот 10 - 55 Hz;

б. Ускорение и продолжительность пульсации:

максимальное ускорение 294 м/с2 или 30gn;

соответствующей длительности импульс 11 мс;

соответствующее изменение скорости 2,1 м/с, половина синусоиды.

Если передающие элементы оснащаются амортизаторами, то эти амортизаторы считаются их составной частью.

После испытаний воздушные зазоры и длины пути должны быть не меньше минимально допустимых.

7.3.1.2. Испытания на удар.

Испытания на удар проводят для имитации падения печатных плат, рассматривая вероятность разрушения компонентов и опасной ситуации.

Эти испытания подразделяются на:

частичные испытания на удар;

непрерывные испытания на удар.

Испытываемый образец должен как минимум удовлетворять следующим требованиям:

7.3.1.2.1. Частичные испытания на удар.

1) Форма удара: половина синусоиды;

2) Амплитуда ускорения: 15g;

3) Продолжительность удара: 11 мс.

7.3.1.2.2. Непрерывные испытания на удар.

1) Амплитуда ускорения: 10g.

2) Продолжительность удара: 16 мс.

3)

а) число ударов: 1000 ± 10;

б) частота ударов: 2/с.

7.3.2. Температурные испытания.

Рабочий диапазон температуры окружающего воздуха лежит в пределах от 0 °С до +65 °С (имеется в виду температура воздуха вокруг устройства безопасности).

Условия испытания:

Печатная плата должна запитываться своим обычным номинальным напряжением питания:

ее устройство безопасности должно работать во время и после испытания. Если печатная плата несет на себе другие детали, отличные от электрических цепей безопасности, они также должны функционировать во время испытаний (их поломка не учитывается);

испытания должны проводиться для минимальной и максимальной температур (0 °С и +65 °С). Продолжительность таких испытаний должна составлять не менее 4 часов;

если печатная плата предназначена для работы в более широких температурных пределах, она должна быть проверена для соответствующих величин.

7.4. Результат испытания печатных плат оформляется в трех экземплярах, два экземпляра поступают Заявителю и один - в Испытательную лабораторию.

Протокол должен содержать информацию, указанную в разделе 2 настоящего приложения, а также:

а) тип и назначение электрических цепей;

б) рабочее напряжение электрических цепей;

в) расстояния между электрическими цепями безопасности и остальными контрольными цепями на печатной плате.

Приложение 7

ЭЛЕКТРОННЫЕ КОМПОНЕНТЫ. ПРЕДОТВРАЩЕНИЕ ОТКАЗОВ

7.1. Ниже перечисленные неисправности не должны приводить к отказам электронных компонентов:

а) отсутствие напряжения;

б) падение напряжения более допустимого;

в) обрыв провода;

г) пробой изоляции на металлические конструкции или на землю;

д) короткое замыкание или разрыв электрической цепи; изменение номинальной величины или рабочих характеристик таких электрических компонентов, как резистор, конденсатор, транзистор, лампа, и т.д.;

е) полное или частичное отсутствие притяжения подвижной части контактора или реле;

ж) «заедание» подвижной части контактора или реле;

з) неразмыкание контакта;

и) изменение чередования фаз.

Вопрос об исключении вероятности появления неисправностей может быть рассмотрен только для компонентов, работающих на худших пределах своих характеристик, номинала, температуры, влажности, электрического напряжения и вибраций.

7.2. При проектировании и изготовлении электронных компонентов должна быть учтена возможность исключения отказов и условия, указанных в таблице 1 настоящего приложения.

7.3. Неисправности электронных компонентов не должны влиять на безопасность эксплуатации лифта.


Таблица 1

Компоненты

Исключение возможных отказов в работе

Условия

Примечания

Размыкание цепи

Короткое замыкание цепи

Увеличение номинала

Уменьшение номинала

Изменение функции

1. Пассивные компоненты

 

 

 

 

 

 

 

1.1. Резистор постоянный

Нет

(а)

Нет

(а)

Нет

а) Только для пленочных резисторов с покрытой лаком или герметизированной резисторной пленкой и аксиальным соединением, а также для проволочных резисторов, в которых проволока намотана в один слой и защищена эмалью или герметизирована

 

1.2. Резистор переменный

Нет

Нет

Нет

Нет

 

 

 

1.3. Резистор нелинейный с отрицательной температурной характеристикой, положительной температурной характеристикой, варистор, индуктивный резистор

Нет

Нет

Нет

Нет

 

 

 

1.4. Конденсатор

Нет

Нет

Нет

Нет

 

 

 

1.5. Индуктивные компоненты - катушка - дроссель

Нет

Нет

 

Нет

 

 

 

2. Полупроводники

 

 

 

 

 

 

 

2.1. Диод, светодиод

Нет

Нет

 

 

Нет

 

«Изменение функции» связано с изменением величины обратного тока

2.2. Стабилитрон

Нет

Нет

 

Нет

Нет

 

«Уменьшение номинала» связано с изменением величины напряжения туннельного прохода p-n перехода. «Изменение функции» связано с изменением величины обратного тока

2.3. Тиристор, симистор, двухоперационный тринистор

Нет

Нет

 

 

Нет

 

«Изменение функции» связано с самопереключением или фиксацией состояния

2.4. Оптрон

Нет

(а)

 

 

Нет

(а) Можно исключить при условии, что величина напряжения развязки оптрона составляет не менее той, что указана в нижеследующей таблице

«Размыкание цепи» означает размыкание цепи в одном или двух основных компонентах (светодиод и фототранзистор). «Короткое замыкание» означает короткое замыкание между ними

 

 

 

 

 

 

Где «А» - Напряжение между фазой и землей, исходя из номинальной величины напряжения в системе, вплоть до среднеквадратичной величины напряжения и величины напряжения постоянного включительно;

«В» - Рекомендуемые серии импульсных выдерживаемых напряжений (В) для лифтовой системы

 

 

 

 

 

 

 

«А»

«В»

 

50

800

100

1500

150

2500

300

4000

600

6000

1000

8000

2.5. Гибридная схема

Нет

Нет

Нет

Нет

Нет

 

 

2.6. Интегральная схема

Нет

Нет

Нет

Нет

Нет

 

«Изменение функции» означает, что начинается генерация импульсов, выводы «И» становятся выводами «ИЛИ» и т.д.

3. Разное

 

 

 

 

 

 

 

3.1. Разъемы

Клеммы

Штепсельные вилки

Нет

(а)

 

 

 

а) При защите на уровне не ниже ЕР4Х короткое замыкание проводников можно исключить, если минимальные величины здесь соответствуют табличным значениям 664-1, при следующих критериях: загрязненность на уровне 3; материал из группы III; печатные схемы не многослойные. Это абсолютно минимальные величины из всех, действующих в подключенном устройстве. Это не средние и не расчетные значения. При защите на уровне не ниже IP5X длину пути тока утечки можно уменьшить до величины зазора, например, до 3 мм для среднеквадратичного напряжения 250 В

 

3.2. Неоновая лампа

Нет

Нет

 

 

 

 

 

3.3. Трансформатор

Нет

Нет

Нет

Нет

 

 

К «коротким замыканиям» относятся короткие замыкания в первичных или вторичных обмотках, а также короткие замыкания между ними. «Изменение номинала» относится к изменению коэффициента трансформации вследствие частичного короткого замыкания в обмотке

3.4. Плавкий предохранитель

 

(а)

 

 

 

а) Можно исключить, если предохранитель имеет необходимый номинал и отвечает требованиям соответствующих стандартов

«Короткое замыкание» означает короткое замыкание в сгоревшем предохранителе

3.5. Реле

Нет

Нет

 

 

 

 

 

3.6. Печатная плата

Нет

Нет

 

 

 

 

 

4. Электронные компоненты в сборе на печатной плате

Нет

(а)

 

 

 

(а) Вероятность короткого замыкания можно исключить там, где можно исключить вероятность короткого замыкания самого компонента и при условии, что ни методика монтажа компонента, ни сама по себе печатная плата не уменьшают длин пути тока утечки и зазоров до величин, которые ниже минимально допустимых

 


Приложение 8

РАЗМЕРЫ КЛЮЧЕВИНЫ УСТРОЙСТВА ОТПИРАНИЯ ЗАМКА (ММ)

Приложение 9

ТРЕБОВАНИЯ К СОДЕРЖАНИЮ МОНТАЖНОГО ЧЕРТЕЖА

1. Монтажный чертеж должен содержать сведения и размеры, необходимые для проверки соответствия установки лифта требованиям настоящих Правил.

2. На монтажном чертеже должны быть даны виды и разрезы, в том числе шахты, машинного и блочного помещений, дающие представление о расположении и взаимной связи составных частей лифта, с указанием размеров, регламентированных настоящими Правилами.

3. На монтажном чертеже должны быть указаны:

краткая техническая характеристика лифта;

нагрузки на строительную часть от лифтовой установки.

4. Чертеж должен содержать штамп с указанием изготовителя чертежа, подписями специалистов и местом установки лифта.

Приложение 10

ТРЕБОВАНИЯ К РАЗМЕРАМ ОТВЕРСТИЙ В ОГРАЖДЕНИИ ДВИЖУЩИХСЯ ЧАСТЕЙ МЕХАНИЗМОВ В ЗАВИСИМОСТИ ОТ РАССТОЯНИЯ МЕЖДУ ОГРАЖДЕНИЕМ И ДВИЖУЩИМИСЯ ЧАСТЯМИ

Размер отверстия, мм

Расстояние безопасности, мм

Форма отверстия

прямоугольник (щель)

квадрат

круг

е ≤ 4

≥ 2

≥ 2

≥ 2

4 < е ≤ 6

≥ 10

≥ 5

≥ 5

6 < е ≤ 8

≥ 20

≥ 15

≥ 15

8 < е ≤ 10

≥ 80

≥ 25

≥ 20

10 < е ≤ 12

≥ 100

≥ 80

≥ 80

12 < е ≤ 20

≥ 120

≥ 120

≥ 120

20 < е ≤ 30

≥ 850*

≥ 120

≥ 120

30 < е ≤ 40

≥ 850

≥ 200

≥ 200

40 < е ≤ 120

≥ 850

≥ 850

≥ 850

* Если длина прямоугольника 65 мм, большой палец будет действовать как стопор и расстояние безопасности можно уменьшить до 200 мм.

Размеры, приведенные в таблице, соответствуют:

ГОСТ Р 51336-99 «Безопасность машин. Безопасные расстояния для предохранения верхних конечностей от попадания в опасную зону»;

стандарту EN294: 1992 «Безопасность механизмов. Зазоры безопасности, не позволяющие дотянуться до опасных участков».

Приложение 11

ПОРЯДОК ПРОВЕДЕНИЯ ИСПЫТАНИЙ СТЕКЛЯННЫХ ПАНЕЛЕЙ НА УДАР МАЯТНИКОМ

1. Испытательный стенд.

1.1. Маятник для жесткого удара.

Маятник для жесткого удара представляет собой устройство (рис. 1), состоящее из стального ударного кольца и стального корпуса. Корпус заполняется свинцовыми шариками диаметром 3,5 ± 0,25 мм, посредством которых суммарную массу маятника доводят до величины 10 ± 0,01 кг.

1.2. Маятник для нежесткого удара.

Маятник для нежесткого удара представляет собой мешок (рис. 2), сделанный из кожи и заполненный свинцовыми шариками диаметром 3,5 ± 1 мм, посредством которых суммарную массу маятника доводят до величины 45 ± 0,5 кг.

1.3. Подвеска маятника.

Маятник должен быть подвешен на стальном канате диаметром 3 мм таким образом, чтобы горизонтальное расстояние между наружным краем свободно подвешенного маятника и испытуемой панелью не превышало 15 мм.

Длина подвески (расстояние от нижней части крюка до точки, наносящей удар по испытываемой панели) должна быть не менее 1,5 м.

1.4. Тянущее и отпускающее приспособление.

Для удара маятник отклоняют от вертикали посредством тянущего и отпускающего приспособления и таким образом поднимают на высоту, необходимую согласно пп. 3.2 и 3.3. В момент отпускания отпускающее приспособление не должно сообщать маятнику никакого дополнительного импульса.

2. Требование к стеклянной панели.

Для проведения испытаний поставляются полностью готовые стеклянные дверные панели в сборе, включая направляющие элементы. Стеклянные стенные панели должны иметь требуемые размеры и крепления. Панели должны крепиться к раме или иной подходящей конструкции таким образом, чтобы во время испытаний в местах крепления была исключена возможность каких-либо деформаций (жесткое крепление).

3. Методика испытаний.

3.1. Испытания должны проводиться при температуре 23 °С ± 2 °С. Непосредственно перед испытаниями панели должны быть выдержаны при этой температуре не менее 4 часов.

3.2. Испытание на удар жестким маятником должно проводиться с помощью устройства, описанного в п. 1.1, при высоте падения 500 мм (рис. 3).

3.3. Испытание на удар нежестким маятником должно проводиться с помощью устройства, описанного в п. 1.2, при высоте падения 700 мм (рис. 3).

3.4. Маятник должен быть поднят на необходимую высоту и отпущен. Он должен ударить панель посередине ее ширины и на высоте 1,0 ± 0,05 м от уровня пола, назначенного для данной панели.

Высота падения представляет собой расстояние по вертикали между базисными точками (рис. 3).

3.5. Испытания на жесткий и нежесткий удар проводятся по одному разу на одной и той же панели.

4. Оценка результатов.

Требования настоящих Правил считаются выполненными, если после таких испытаний:

а) нет полного разрушения панели;

б) в панели нет трещин;

в) в панели нет отверстий;

г) панель не вышла из своих направляющих;

д) направляющие панели не имеют остаточной деформации;

е) стеклянная поверхность не имеет трещин и повреждений, за исключением отметки диаметром не более 2 мм.

5. Отчет об испытаниях.

Отчет об испытании должен содержать следующую информацию:

а) название и адрес лаборатории, выполнившей испытания;

б) дату испытаний;

в) информацию о размерах и конструкции панели;

г) информацию о креплении панели;

д) высоту падения, использованную в этих испытаниях;

е) число проведенных испытаний;

ж) подпись лица, ответственного за эти испытания.

6. Особые случаи.

Испытания на удар маятником можно не выполнять, если используются панели с размерами, не превышающими указанные в таблицах 1 и 2.

Таблица 1

Плоские стеклянные панели, используемые для стен кабины

Тип стекла

Диаметр вписанной окружности

не более 1 м

не более 2 м

Минимальная толщина (мм)

Минимальная толщина (мм)

Многослойное закаленное

8

(4 + 4 + 0,76)

10

(5 + 5 + 0,76)

Многослойное

10

(5 + 5 + 0,76)

12

(6 + 6 + 0,76)

Таблица 2

Плоские стеклянные панели, используемые для горизонтально-раздвижных дверей

Тип стекла

Мин. толщина (мм)

Ширина (мм)

Свободная высота двери в свету (м)

Крепления стеклянных панелей

Многослойное закаленное

16

(8 + 8 + 0,76)

360 - 720

Не более 2,1

2 крепления:

сверху и снизу

Многослойное

16

(8 + 8 + 0,76)

300 - 720

Не более 2,1

3 крепления:

сверху, снизу и одно сбоку

 

10

(6 + 4 + 0,76)

(5 + 5 + 0,76)

300 - 870

Не более 2,1

Со всех сторон

Для случая креплений с трех или четырех сторон величины из этой таблицы действуют при условии, что профили креплений жестко связаны друг с другом

Рис. 1. Маятник для жесткого удара

1 - ударное кольцо; 2 - базисная точка для измерения высоты падения; 3 - крепление пускающего приспособления

Рис. 2. Маятник для нежесткого удара

1 - стержень с нарезанной резьбой; 2 - базисная точка для измерения высоты падения в плоскости максимального диаметра; 3 - кожаный мешок; 4 - стальной диск; 5 - крепление пускающего приспособления

Рис. 3. Высота падения на испытательном стенде

1 - рама; 2 - испытываемая стеклянная панель; 3 - маятник; 4 - уровень пола, относящийся к испытываемой стеклянной панели; Н - высота падения

Приложение 12

ДОПУСТИМЫЕ РАЗМЕРЫ СТРОИТЕЛЬНОЙ ЧАСТИ ПРИ УСТАНОВКЕ ЛИФТОВ В СУЩЕСТВУЮЩИХ ЗДАНИЯХ

1. Размеры в свету дверного проема для доступа в машинное помещение:

ширина - не менее 0,6 м;

высота - не менее 1,6 м.

2. Вход в машинное помещение допускается через люк, отвечающий требованиям п. 4.3.7. При выходе из люка должна быть свободная площадка с размерами не менее 0,8×0,8 м, а также должны быть приняты меры, предотвращающие возможность падения людей (ограждения, перила и т.д.).

3. Высота в свету зон обслуживания оборудования в машинном помещении не менее 1,6 м, высота в свету прохода к зонам обслуживания оборудования не менее 1,8 м.

4. Размеры зоны обслуживания (свободная площадка) перед расположенными в машинном помещении устройствами управления:

а) глубина, измеренная от наружной поверхности шкафа или панели, не менее 0,6 м;

б) ширина - не менее 0,450 м.

5. Ширина проходов к зонам обслуживания механического оборудования - не менее 0,4 м.

6. Высота прохода к машинному и блочному помещениям не менее 1,8 м, при этом допускается местное уменьшение высоты (пороги, балки и др.) до 1,5 м.

7. Разница в уровнях пола подхода к машинному (блочному) помещению и полом машинного (блочного) помещения не более 1,0 м. Допускается установка скоб (скобы) с шагом 0,35 м на стене машинного (блочного) помещения со стороны открытия двери. При этом рядом со скобами должен быть установлен поручень высотой не менее 1,0 м над уровнем порога дверей.

8. Высота шахты лифта, оборудованного лебедкой с канатоведущим шкивом или барабаном трения, должна быть такой, чтобы при противовесе, находящемся на полностью сжатых буферах, выполнялись требования п. 3.11.1 а), б), в), а над кабиной должно быть предусмотрено свободное пространство, достаточное для размещения «прямоугольного блока» с размерами не менее 0,35×0,6×0,7 м, лежащего на одной из своих граней. У лифтов с прямой подвеской тяговые элементы и их крепления могут находиться в этом пространстве при условии, что тяговые элементы расположены на расстоянии, не превышающем 0,15 м, по крайней мере, от одной вертикальной поверхности «прямоугольного блока».

9. При нахождении кабины на полностью сжатых буферах одновременно должны выполняться следующие условия:

а) в приямке должно быть предусмотрено свободное пространство, достаточное для размещения «прямоугольного блока» с размерами не менее 0,4×0,6×0,9 м, лежащего на одной из своих граней;

б) зазор между дном приямка и самыми нижними частями кабины должен быть не менее 0,45 м. Зазор может быть уменьшен до 0,05 м в пределах измеренного по горизонтали расстояния 0,2 м между:

фартуком или деталями вертикально-раздвижной двери и примыкающей стеной (стенами) шахты;

самыми нижними частями кабины и направляющей.

Приложение 13

НОРМЫ БРАКОВКИ СТАЛЬНЫХ КАНАТОВ

1. Браковка находящихся в работе стальных канатов производится по числу обрывов проволок на длине одного шага свивки каната согласно данным таблицы 1.

Число обрывов проволок на длине шага свивки каната, при котором канат должен быть забракован.

2. Шаг свивки каната определяется следующим образом. На поверхности какой-либо пряди наносят метку, от которой отсчитывают вдоль центральной оси каната столько прядей, сколько их имеется в сечении каната (например, шесть в шестипрядном канате), и на следующей после отсчета пряди (в данном случае на седьмой) наносят вторую метку.

Расстояние между метками принимается за шаг свивки каната.

3. Браковка каната, изготовленного из проволок различного диаметра, конструкции 6×19 = 114 проволок с одним органическим сердечником производится согласно данным, приведенным в первой графе табл. 1, причем число обрывов, как норма браковки, принимается за условное.

При подсчете обрывов обрыв тонкой проволоки принимается за 1, а обрыв толстой проволоки - за 1,7.

Например, если на длине шага свивки каната при первоначальном коэффициенте запаса прочности до 9 имеется 7 обрывов тонких проволок и 5 обрывов толстых проволок, до 7×1 + 5×1,7 = 15,5, т.е. более 14 (табл. 1), и, следовательно, канат надлежит забраковать.

4. Число проволок на одном шаге свивки как признак браковки каната, конструкция которого не указана в табл. 1, определяют, исходя из данных, помещенных в этой таблице для каната, ближайшего по числу прядей и числу проволок в сечении.

Например, для каната конструкции 8×19 = 152 проволоки с одним органическим сердечником ближайшим является канат 6×19 = 114 проволок с одним органическим сердечником.

Таблица 1

Первоначальный коэффициент запаса прочности при установленном Правилами отношении D:d

Конструкция канатов

6×19 = 114 и один органический сердечник

6×37 = 222 и один органический сердечник

Число обрывов проволок на длине одного шага свивки каната, при котором канат должен быть забракован

Крестовой свивки

Односторонней свивки

Крестовой свивки

Односторонней свивки

До 9

14

7

23

12

Свыше 9 до 10

16

8

26

13

Свыше 10 до 12

18

9

29

14

Свыше 12 до 14

20

10

32

16

Свыше 14 до 16

22

11

35

18

Свыше 16

24

12

38

19

Для определения признака браковки следует данные табл. 1 (число обрывов на одном шаге свивки) для каната 6×9 = 114 проволок с одним органическим сердечником умножить на коэффициент 96:72, где 96 и 72 - число проволок в наружных слоях прядей одного и другого канатов.

5. При наличии у канатов поверхностного износа или коррозии проволок число обрывов проволок на шаге свивки, как признак браковки, должно быть уменьшено в соответствии с данными табл. 2.

При износе или коррозии, достигших 40 % и более первоначального диаметра проволок, канат должен быть забракован.

Примечание. Определение износа или коррозии проволок по диаметру производится при помощи микрометра или иного инструмента; при отсутствии оборванных проволок замер износа или коррозии не производится.

6. В тех случаях, когда кабина (противовес) лифта подвешена на двух отдельных канатах, каждый из них бракуется в отдельности, причем допускается замена одного, более изношенного каната.

7. В тех случаях, когда кабина (противовес) лифта подвешена на трех и более канатах, их браковка производится по среднему арифметическому значению, определяемому, исходя из наибольшего числа обрывов проволок на длине одного шага свивки каждого каната. При этом у одного из канатов допускается повышенное число обрывов проволок, но не более чем на 50 % против норм, указанных в таблице 1.

Нормы браковки каната в зависимости от поверхностного износа или коррозии

Таблица 2

Поверхностный износ или коррозия проволок по диаметру, %

Число обрывов проволок на шаге свивки, % от норм, указанных в табл. 1

10

85

15

75

20

70

25

60

30 и более

50

8. При наличии обрывов, число которых не достигает браковочного показателя, установленного настоящими нормами, а также при наличии поверхностного износа проволок канат допускается к работе при условии:

тщательного наблюдения за его состоянием при периодических осмотрах с записью результатов в журнал технического обслуживания;

смены каната по достижении степени износа, указанного в настоящих нормах.

9. При обнаружении в канате оборванной пряди или сердечника канат к дальнейшей работе не допускается.

2008-2013. ГОСТы, СНиПы, СанПиНы - Нормативные документы - стандарты.