РОССИЙСКОЕ АКЦИОНЕРНОЕ ОБЩЕСТВО ЭНЕРГЕТИКИ
И ЭЛЕКТРИФИКАЦИИ «ЕЭС РОССИИ»
ТИПОВАЯ ИНСТРУКЦИЯ
ПО СОДЕРЖАНИЮ И ПРИМЕНЕНИЮ
ПЕРВИЧНЫХ СРЕДСТВ ПОЖАРОТУШЕНИЯ
НА ОБЪЕКТАХ ЭНЕРГЕТИЧЕСКОЙ ОТРАСЛИ
РД 34.49.503-94

СЛУЖБА ПЕРЕДОВОГО ОПЫТА ОРГРЭС
МОСКВА 1994
РАЗРАБОТАНО акционерным обществом открытого типа «Фирма по наладке, совершенствованию технологии и эксплуатации электростанций и сетей ОРГРЭС»
ИСПОЛНИТЕЛИ В.С. Зайцева, Д.А Замыслов, А.С. Козлов, В.М. Стариков
УТВЕРЖДЕНО Департаментом Генеральной инспекции по эксплуатации электростанций и сетей РАО «ЕЭС России» 14.03.94 г.
Начальник Н.Ф. ГОРЕВ
|
ТИПОВАЯ
ИНСТРУКЦИЯ |
РД 34.49.503-94 |
Срок действия установлен
с 01.09.94 г.
до 01.09.95 г.
(Измененная редакция, Изм. № 1).
В Типовой инструкции приведены основные технические характеристики по содержанию и применению первичных средств пожаротушения на энергетических объектах.
С выходом настоящей Типовой инструкции утрачивает силу «Типовая инструкция по содержанию и применению первичных средств пожаротушения на предприятиях Минэнерго СССР: ТИ 34-00-063-87» (М.: СПО Союзтехэнерго, 1987).
1.1. Настоящая Типовая инструкция определяет основные требования к содержанию и применению на энергетических объектах первичных средств пожаротушения и обязательна для всех работников энергетической отрасли.
«Помимо требований настоящей Типовой инструкции следует руководствоваться технической и эксплуатационной документацией заводов-изготовителей средств пожаротушения, «Правилами пожарной безопасности для энергетических предприятий» (РД 153.-34.0-03.301-00) и Нормами пожарной безопасности «Пожарная техника. Огнетушители. Требования к эксплуатации» (НПБ 166-97).
(Измененная редакция, Изм. № 1).
1.2. Знание устройства и эффективности первичных средств пожаротушения, а также порядок их применения приобретают особое значение при тушении пожаров на энергетических предприятиях, насыщенность которых сложным технологическим оборудованием и пожароопасными материалами при ограниченности площадей зданий и сооружений определяет необходимость обязательного применения средств противопожарной защиты.
1.3. Производственные, административные, вспомогательные и складские здания, сооружения и помещения, а также открытые производственные площадки или участки должны быть обеспечены первичными средствами пожаротушения в соответствии с действующими нормами, устанавливаемыми отраслевыми правилами пожарной безопасности.
К первичным средствам пожаротушения относятся все виды переносных и передвижных огнетушителей, оборудование пожарных кранов, ящики с порошковыми составами (песок, перлит и т.п.), а также огнестойкие ткани (асбестовое полотно, кошма, войлок и т.п.).
1.4. Первичные средства пожаротушения для их размещения, сохранности, организации, содержания, технического надзора и поддержания в постоянной готовности к использованию, передаются соответствующим руководителям цехов, мастерских, складов, участков и других подразделений.
1.5. Лица, ответственные за содержание и готовность к использованию средств пожаротушения, обязаны организовать их регулярный осмотр не реже одного раза в полугодие, а также внеочередной осмотр после происшедших аварий и пожаров на объекте.
Результаты осмотра состояния средств пожаротушения заносятся в специальный журнал (приложение 1).
1.6. Первичные средства пожаротушения должны размещаться в легкодоступных местах и не должны быть помехой и препятствием при эвакуации персонала из помещений.
Допускается установка огнетушителей в тумбах или шкафах, конструкция которых должна позволять визуально определить тип огнетушителя и осуществить быстрый доступ к нему для использования при пожаре.
1.7. Запрещается использование пожарного инвентаря и других средств пожаротушения для хозяйственных, производственных и других нужд.
Кроме прямого назначения разрешается использовать средства пожаротушения при ликвидации стихийных бедствий и катастроф, а также при обучении персонала и добровольных пожарных формирований объекта.
За нарушение этих положений должностные или иные лица несут ответственность вплоть до уголовной в соответствии с действующим законодательством.
1.8. Использованные или неисправные огнетушители (повреждение корпуса, раструба, предохранительных клапанов, отсутствие пломбы, недостаток огнетушащего вещества или газа и др.) должны быть немедленно убраны (особенно после пожара) из защищаемого помещения, от технологического оборудования и производственных площадок и заменены исправными.
1.9. Выявленные при регулярных осмотрах неисправности огнетушителей, пожарных кранов и других средств пожаротушения должны устраняться в кратчайшие сроки.
1.10. Снятие с эксплуатации и списание огнетушителей, пожарных рукавов и других средств пожаротушения, в том числе отбракованных при их испытании, производится по акту специальной комиссией, назначаемой руководителем объекта или организации.
1.11. Для размещения первичных средств пожаротушения в производственных помещениях, а также на территории предприятий или строительств, как правило, должны устанавливаться специальные пожарные щиты (посты).
Одиночное размещение огнетушителей допускается в небольших помещениях.
1.12. Размещение огнетушителей и пожарного инвентаря, а также их количество не определяется проектом, а устанавливается руководством соответствующих подразделений объекта или организаций, на основании отраслевых правил пожарной безопасности и норм расчета первичных средств пожаротушения.
2.1. Пожарные щиты предназначены для концентрации и размещения в определенном месте ручных огнетушителей, немеханизированного пожарного инвентаря и инструмента, применяемого при ликвидации загораний на объектах, в складских помещениях и на строительных площадках.
2.2. Щиты могут быть промышленного изготовления (деревянные ЩПД, металлические - ЩПМ) или изготовленные на месте.
Пожарные щиты должны иметь габаритные размеры не менее 1200´600 мм и должны быть окрашены в соответствии с требованиями государственного стандарта.
2.3. Допускается установка пожарных щитов в виде навесных шкафов с закрывающимися дверцами, которые должны позволять визуально определять вид хранящихся средств пожаротушения и инвентаря.
Дверцы должны быть опломбированы и открываться без ключа и больших усилий.
2.4. Крепление средств пожаротушения и инвентаря на щитах должно обеспечивать быстрое их снятие без специальных приспособлений или инструмента.
2.5. Количество пожарных щитов на объекте или строительной площадке не регламентируется и определяется только спецификой местных условий, а также удобством пользования и надзора за их содержанием для персонала.
3.1.1. Огнетушители предназначаются для тушения очагов горения в начальной их стадии, а также для противопожарной защиты небольших сооружений, машин и механизмов.
Огнетушители бывают ручные и передвижные. К ручным огнетушителям относятся все их типы с объемом корпуса, вмещающим до 10 л заряда. Огнетушители с большим объемом заряда относятся к передвижным, их корпуса устанавливаются на специальные тележки.
3.1.2. Огнетушители различаются по конструкции и типу используемого огнетушащего средства.
В соответствии с применяемым огнетушащим средством огнетушители могут быть:
водные;
пенные (химические, химические воздушно-пенные, воздушно-пенные);
газовые (углекислотные, хладоновые, бромхладоновые);
порошковые.
Наибольшее распространение получили пенные, газовые и порошковые огнетушители. Водные огнетушители (ранцевой конструкции) применяются только в лесной отрасли и для подразделений разведки пожарной охраны и поэтому в данной Типовой инструкции не рассматриваются.
3.1.3. В местах установки огнетушителей температура окружающей среды должна быть не ниже 5 °С, за исключением газовых и порошковых огнетушителей, которые работоспособны при отрицательных температурах.
При наступлении похолоданий и на осенне-зимний период пенные огнетушители следует перенести в отапливаемое помещение, а на месте их постоянной установки вывешивается табличка с указанием нового местонахождения.
3.1.4. Огнетушители не допускается размещать вблизи отопительных и нагревательных приборов, а также в местах, не защищенных от действия солнечных лучей и атмосферных осадков.
3.1.5. Запорная арматура огнетушителей (краны, клапаны, рукоятки, крышки горловин и т.п.) должна после зарядки пломбироваться, к ней должна прикрепляться бирка с указанием даты зарядки и лица, ее производившего.
3.1.6. Регулярно огнетушители необходимо осматривать, очищать от грязи и пыли. Во время осмотров необходимо проверять состояние мембран и спрыска (пенные огнетушители), целостность пломбы и бирки. Огнетушители с неисправными узлами, глубокими вмятинами и коррозией на корпусе должны сниматься с эксплуатации.
3.1.7. Огнетушители, использованные во время пожара, а также во время занятий персонала или добровольных пожарных формирований на объекте, необходимо в кратчайшие сроки убрать из помещений для последующей их зарядки.
Для проведения занятий с применением огнетушителей рекомендуется использовать огнетушители, у которых наступил срок очередной перезарядки.
3.1.8. Не допускается одновременно отправлять на перезарядку более 50 % огнетушителей, находящихся в эксплуатации. Зарядка и проверка огнетушителей должны быть произведены в сжатые сроки.
3.1.9. Перед транспортировкой огнетушители необходимо упаковать таким образом, чтобы исключить удары корпуса о корпус.
3.2.1. Химические пенные (ОХП-10) и химические воздушно-пенные (ОХВП-10) огнетушители предназначаются для тушения различных горящих твердых материалов и горючих жидкостей. Категорически запрещается их использование для тушения горящих кабелей и проводов, находящихся под напряжением, а также щелочных материалов.
3.2.2. Заряд химических пенных огнетушителей ОХП-10 состоит из водного раствора щелочи (бикарбонат натрия) и кислоты (серная кислота).
Заряд химических воздушно-пенных огнетушителей ОХВП-10 состоит из аналогичных веществ, но в щелочную часть ОХВП-10 добавляется 500 см3 пенообразователя (ПО-1, ПО-6к, ПО-ЗАИ и т.п.) для увеличения выхода пены и повышения ее эффективности при тушении.
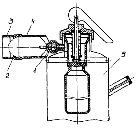
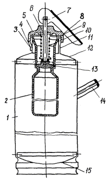
3.2.3. Конструктивно ОХП-10 (рис. 1) и ОХВП-10 одинаковы, но их внешнее различие состоит в том, что на ОХВП-10 устанавливается пенный насадок (малогабаритный пеногенератор - рис. 2) для увеличения кратности выходящей пены.
Рис. 1. Огнетушитель ОХП-10:
1 - корпус огнетушителя; 2 - кислотный стакан; 3 - предохранительная мембрана; 4 - спрыск; 5 - крышка огнетушителя; 6 - шток; 7 - рукоятка; 8 и 9 - резиновые прокладки; 10 - пружина; 11 - горловина; 12 - верх огнетушителя; 13 - резиновый клапан; 14 - боковая ручка; 15 - днище
Рис. 2. Пенный насадок:
1 - распылитель; 2 - латунная сетка; 3 - предохранительная мембрана; 4 - корпус насадка; 5 - огнетушитель ОХВП-10
3.2.4. Для приведения огнетушителя ОХП-10 (см. рис. 1) в действие необходимо:
снять огнетушитель с крепления или вынуть из шкафа и, используя боковую ручку, поднести его в вертикальном положении к очагу пожара;
установить огнетушитель на пол и прочистить спрыск 4 шпилькой (подвешивается к ручке огнетушителя), если он не закрыт предохранительной мембраной 3;
перевернуть рукоятку 7 на 180° от первоначального положения;
взяться одной рукой за боковую ручку 14 и приподнять огнетушитель от пола, после чего, придерживая другой рукой огнетушитель за днище, перевернуть его горловиной вниз;
выходящую струю пены направить на очаг горения твердых веществ или, начиная с ближнего края, покрыть пеной поверхность горящей жидкости.
Для лучшего пенообразования в начальный момент действия огнетушителя рекомендуется встряхнуть его корпус, что обеспечит лучшее взаимодействие кислоты и водного раствора щелочи.
3.2.5. Если во время работы огнетушителя произошло засорение спрыска 4 (см. рис. 1), и прочистить шпилькой его не удалось, необходимо положить огнетушитель в безопасное для персонала место, так как до окончательного снижения давления выходящего газа не исключена опасность разрыва корпуса или срыва крышки горловины с резьбы.
3.2.6. Порядок применения огнетушителей ОХВП-10 при тушении пожара аналогичен действиям с огнетушителем ОХП-10.
3.2.7. Перезарядка огнетушителей ОХП-10 и ОХВП-10 производится ежегодно. Одновременно осуществляется осмотр корпуса огнетушителя для выявления дефектов.
Огнетушители должны сниматься с эксплуатации при сильной коррозии корпуса, неисправности пускового механизма, сорванной резьбе крышки или горловины корпуса.
Накладка заплат или заварка свищей на корпусе огнетушителя не допускается. Такие огнетушители должны быть сняты с эксплуатации с оформлением соответствующего акта.
3.2.8. Порядок зарядки огнетушителей ОХП-10 и ОХВП-10 следующий (см. рис. 1):
3.2.8.1. Рукоятку 7 перевернуть на 180° от первоначального положения и открутить крышку 5 огнетушителя.
3.2.8.2. Вынуть из корпуса кислотный стакан 2 и слить из корпуса щелочную часть заряда.
3.2.8.3. Промыть корпус огнетушителя и залить в него щелочной раствор (5 л чистой воды и 450 г соды). Для огнетушителя ОХВП-10 дополнительно влить 0,5 л пенообразователя (ПО-1, ПО-6к и др.) в щелочной раствор, после этого в корпус добавить чистой воды (около 3 л) и весь раствор перемешать.
3.2.8.4. В кислотный стакан залить 200 г чистой серной кислоты и поместить его в корпус огнетушителя.
3.2.8.5. Закрутить крышкой горловину огнетушителя, опломбировать запорную рукоятку в исходном положении и повесить бирку.
3.2.9. При перезарядке огнетушителей необходимо соблюдать требования по безопасности труда при работе с кислотами и щелочами на производстве.
3.2.10. Тактико-технические характеристики огнетушителей приведены в приложении 2.
3.3.1. Воздушно-пенные огнетушители предназначены для тушения пожаров и загораний твердых веществ и горючих жидкостей.
Запрещается применение этих огнетушителей для тушения горящих электроустановок, находящихся под напряжением, а также щелочных металлов.
3.3.2. Воздушно-пенные огнетушители выпускаются ручные ОВП-10 (рис. 3), передвижные ОВП-100 (рис. 4) и стационарно установленные УВП-250 (рис. 5) - соответственно на 10; 100 и 250 л объема заряда.
Рис. 3. Ручной воздушно-пенный огнетушитель ОВП-10:
1 - рукав; 2 - пломба; 3 - сифонная трубка; 4 - корпус; 5 - ствол-распылитель; 6 - рукоятка; 7 - кронштейн; 8 - рычаг; 9 - колпак; 10 - предохранительный клапан; 11 - напорно-пусковое устройство
Рис. 4. Передвижной воздушно-пенный огнетушитель ОВП-100:
1 - корпус огнетушителя; 2 - тележка; 3 - крышка; 4 - пеногенератор; 5 - предохранительный клапан; 6 - запорное устройство; 7 - баллон высокого давления; 8 - резиновый шланг
Рис. 5. Стационарный воздушно-пенный огнетушитель ОВПУ-250 (УВП-250):
1 - резиновый шланг с вращающейся катушкой; 2 - предохранительный клапан; 3 - пеногенератор; 4 - корпус; 5 - пусковой баллон
Ранее выпускались огнетушители ОВП-5 (на 5 л) и ОВПУ-250, аналогичный УВП-250.
3.3.3. В качестве огнетушащего вещества в огнетушителях используется водный раствор специального пенообразователя (ПО-1; ПО-6к; ПО-ЗАИ и др.), который составляет 4 - 6 % объема заряда.
Для подачи пены в огнетушителях устанавливаются пусковые газовые баллоны (углекислота, воздух, азот и др.) вместимостью, соответствующей его заряду.
3.3.4. Для приведения в действие ручного огнетушителя ОВП-10 (см. рис. 3) необходимо:
снять с помощью транспортной рукоятки 6 огнетушитель и поднести его к месту горения;
сорвать пломбу и нажать на рычаг запорно-пускового устройства 8, при этом игла вскрывает баллончик с рабочим газом, под действием которого повышается давление в корпусе и раствор пенообразователя подается через сифонную трубку и шланг к стволу-распылителю 5, где, смешиваясь с подсасываемым воздухом, образуется воздушно-механическая пена средней кратности;
направить пену на очаг горения.
При работе огнетушитель необходимо держать в вертикальном положении.
3.3.5. Для приведения в действие передвижного огнетушителя ОВП-100 (см. рис. 4) необходимо:
установить тележку в вертикальном положении в 5 - 6 м от очага горения и размотать шланг, не допуская перегибов и скручиваний;
сорвать пломбу и открыть до отказа запорное устройство (вентиль или рычаг) пускового баллона;
направить струю пены на очаг горения.
3.3.6. Для приведения в действие огнетушителя ОВПУ-250 (УВП-250) (см. рис. 5) необходимо:
размотать шланг 1 с пеногенератором 3 и направить на очаг пожара;
сорвать пломбу и до отказа открыть запорное устройство (вентиль или рычаг) пускового баллона 5.
3.3.7. Тактико-технические характеристики воздушно-пенных огнетушителей приведены в приложении 2.
3.3.8. Перезарядка огнетушителей производится ежегодно, заменяется водный раствор пенообразователя, проверяется вместимость пускового баллона путем его взвешивания (ОВП-100 и УВП-250).
Баллоны с рычажным запорным устройством проверяются один раз в год, а с вентильным запором - один раз в квартал путем взвешивания. Если утечка газа из пускового баллона составляет более 5 % массы заряда, то баллон должен быть заменен или отправлен на перезарядку.
Масса газа заряженного пускового баллона определяется как разность масс пустого и заряженного баллона (значения массы оттеснены на горловине баллона).
3.3.9. При периодических осмотрах следует обращать внимание на целость шлангов, чистоту пеногенераторов, состояние пусковых баллонов (ОВП-100 и УВП-250), а также транспортных колес (ОВП-100).
3.3.10. Не рекомендуется устанавливать воздушно-пенные огнетушители вблизи источников с высокой температурой, так как для водного раствора пенообразователя оптимальной температурой является 20 °С, при которой он дольше сохраняет свои огнетушащие свойства.
3.4.1. В газовых огнетушителях в качестве огнетушащего средства применяются негорючие газы (двуокись углерода) или галоидуглеводородные соединения (бромэтил, хладон).
В зависимости от применяемого огнетушащего средства огнетушители называются углекислотными, хладоновыми, бромхладоновыми и т.п.
3.4.2. Углекислотные огнетушители (ОУ) получили наибольшее распространение из-за их универсального применения, компактности и эффективности тушения.
3.4.3. Углекислотные огнетушители (рис. 6 - 9) могут быть ручными (ОУ-2, ОУ-5 и ОУ-8), передвижными (ОУ-25 и ОУ-80), а также возимыми (ОУ-400).
Возимые огнетушители ОУ-400 устанавливаются на автомобильном одноосном шасси. Они не нашли широкого применения из-за необходимости транспортирования их автотранспортом, сложности эксплуатации, ограниченного применения для тушения пожаров в производственных зданиях и поэтому не рассматриваются в данной Типовой инструкции.
Рис. 6. Ручной углекислотный огнетушитель ОУ-2:
1 - маховичок; 2 - вентиль; 3 - баллон; 4 - раструб; 5 - сифонная трубка; 6 - кронштейн
Рис. 7. Ручной углекислотный огнетушитель ОУ-5 (ОУ-8):
1 - баллон; 2 - поворотный раструб; 3 - опорная головка; 4 - сифонная трубка; 5 - хомут; 6 - крюк; 7 - упор; 8 - ручка; 9 - чека
Рис. 8. Передвижной углекислотный огнетушитель ОУ-25:
1 - баллон; 2 - запорный вентиль; 3 - шланг; 4 - раструб; 5 - тележка
3.4.4. Огнетушители типа ОУ различаются объемом заряда (2; 5; 8; 25 и 80 л), а также конструкцией запорного устройства (вентильное или рычажное).
3.4.5. Углекислотные огнетушители предназначены для тушения загораний различных веществ и материалов, а также электроустановок, кабелей и проводов, находящихся под напряжением до 10 кВ (10000 В).
3.4.6. Заряд углекислотных огнетушителей находится под высоким давлением, поэтому корпуса (баллоны) снабжаются предохранительными мембранами, а заполнение диоксидом углерода допускается до 75 %.
3.4.7. Запрещается эксплуатация углекислотных огнетушителей без предохранительных мембран, а также установка транспортных баллонов на передвижные тележки вместо штатных.
3.4.8. Для приведения в действие ручных углекислотных огнетушителей ОУ-2, ОУ-5 и ОУ-8 (см. рис. 6 и 7) необходимо:
используя транспортную рукоятку, снять и поднести огнетушитель к месту горения;
направить раструб на очаг горения и открыть запорно-пусковое устройство (вентиль или рычаг).
Запорно-пусковое устройство позволяет прерывать подачу углекислоты.
Рис. 9. Передвижной углекислотный огнетушитель ОУ-80
3.4.9. При работе углекислотных огнетушителей всех типов запрещается держать раструб незащищенной рукой, так как при выходе углекислоты образуется снегообразная масса с температурой минус 80 °С.
У передвижных огнетушителей ОУ-25 и ОУ-80 на раструбе имеется специальная изолированная ручка, которой следует пользоваться при тушении пожара.
3.4.10. При использовании огнетушителей ОУ необходимо иметь в виду, что углекислота в больших концентрациях к объему помещения может вызвать отравления персонала, поэтому после применения углекислотных огнетушителей небольшие помещения следует проветрить.
3.4.11. Для приведения в действие передвижных огнетушителей ОУ-25 и ОУ-80 (см. рис. 8 и 9) необходимо:
подкатить тележку к месту пожара и установить их в рабочее положение (вертикально для ОУ-25 и наклонно для ОУ-80);
размотать шланг и открыть запорно-пусковое устройство;
держа раструб за специальную изолированную ручку, направить снежную массу на очаг пожара.
3.4.12. Не допускается располагать огнетушители ОУ вблизи отопительных приборов, где температура может быть более 50 °С, следует избегать прямого попадания солнечных лучей на баллоны.
3.4.13. Углекислотные огнетушители с запорно-пусковым устройством рычажного типа УН-52 (рис. 10) следует проверять не реже одного раза в год, а с вентильным запором - один раз в квартал путем взвешивания.
Из полученной массы вычитается масса пустого баллона с запорным устройством, которая указывается в паспорте огнетушителя и выбита на его корпусе.
Утечка заряда из баллона не должна быть более 5 % исходного количества в год.
3.4.14. Хладоновые огнетушители (рис. 11) и их разновидности: бромхладоновые (ОБХ), углекислотно-бромэтиловые (ОУБ); аэрозольные хладоновые (ОХ, ОАХ) и другие - предназначены для тушения загораний горючих жидкостей и тушения электроустановок, находящихся под напряжением до 0,4 кВ.
Рис. 10. Запорно-пусковое устройство рычажного типа УН-52:
1 - рычаг; 2 - пружина; 3 - прокладка; 4 - седло клапана; 5 - гайка; 6 - хвостовик; 7 - манжета; 8 - шток клапана; 9 - ось рычага; 10 - пломба
Запрещается применять эти огнетушители для тушения щелочных металлов.
3.4.15. Хладоновые огнетушители по эффективности тушения превосходят углекислотные огнетушители, т.е. для тушения требуется меньше огнетушащего состава огнетушителя по массе и объему.
Заряд этих огнетушителей токсичен, поэтому тушить загорание в закрытых помещениях объемом менее 50 м3 следует через дверные проемы или вентиляционные отверстия. После тушения загорания помещение следует тщательно проветрить.
Из-за небольших габаритных размеров эти огнетушители используются для тушения загораний автотранспорта, судов и других транспортных механизмов.
(Поправка.).
3.4.16. Для приведения в действие хладоновых огнетушителей или их разновидностей следует поднести их за ручку к очагу пожара и, нажимая на кнопку или рычаг запорно-пускового устройства, вскрыть предохранительную мембрану и направить струю на пламя.
Рис. 11. Хладоновый огнетушитель ОУБ-3А (ОУБ-7А):
1 - пусковой рычаг; 2 - запорная головка; 3 - рукоятка; 4 - крепление; 5 - баллон; 6 - кронштейн; 7 - распыливающее устройство; 8 - предохранительный колпак
3.4.17. Испытание и освидетельствование газовых огнетушителей следует осуществлять в соответствии с паспортами заводов-изготовителей и действующими Правилами устройства и безопасной эксплуатации сосудов, работающих под давлением.
3.5.1. Порошковые огнетушители (ОП) предназначены для тушения пожаров твердых, жидких и газообразных веществ (в зависимости от марки используемого огнетушащего порошка), а также электроустановок, находящихся под напряжением до 1 кВ (1000 В).
Ручные порошковые огнетушители (рис. 12) выпускаются с массами заряда 1; 2; 5 и 10 кг, передвижные (рис. 13) - 50 и 100 кг, стационарные автоматические огнетушители (рис. 14) - 50 и 100 кг.
Рис. 12. Общий вид ручного порошкового огнетушителя ОП-5:
1 - пистолет; 2 - рычаг; 3 - рукав; 4 - пломба; 5 - сифонная труба; 6 - баллончик; 7 - игла; 8 - корпус; 9 - чека
Рис. 13. Общий вид передвижного порошкового огнетушителя ОП-100:
1 - корпус для порошка; 2 - баллон для рабочего газа; 3 - шланг; 4 - выпускной клапан с насадкой; 5 - регулятор давления; 6 - 8 - трубопроводы; 9 - предохранительный клапан; 10 - манометр; 11 - запорная головка
3.5.2. Для приведения в действие ручных порошковых огнетушителей ОП-2, ОП-5 (см. рис. 12) и ОП-10 необходимо поднести огнетушитель к очагу пожара, выдернуть клин или чеку 9, нажать на рычаг 2 и направить струю порошка в огонь. Для прекращения подачи струи порошка достаточно опустить рычаг.
Допускается многократное пользование и прерывистое действие.
Рис. 14. Схема устройства стационарного автоматического огнетушителя ОПА:
1 - корпус огнетушителя; 2 - баллон для сжатого газа; 3 - направляющая труба для груза; 4 - пусковой груз; 5 - пусковой многозвенник; 6 - тросовая система ручного пуска; 7, 13 и 14 - направляющие ролики; 8 - рукоятка ручного пуска; 9 - предохранительная чека; 10 - пороговый клапан; 11 - тросовая система автоматического пуска; 12 - легкоплавкий и легковыжигаемый замки; 15 - кронштейн; 16 - распределительная сеть; 17 - соединительная муфта; 18 - 21 - тройники; 22 - 24 - контргайки; 25 - угольник; 26 - распылитель; 27 - диктующий участок трубопровода; 28 - узел автоматического пуска; 29 - узел ручного пуска; 30 - запорно-пусковое устройство; 31 - чека блокировки пускового груза
В рабочем положении огнетушитель следует держать строго вертикально, не переворачивая его.
3.5.3. Передвижные огнетушители ОП-50 и ОП-100 (см. рис. 13) имеют транспортную тележку, рабочий и пусковой баллоны, а также шланг подачи порошка в зону пожара.
Для приведения огнетушителя в действие необходимо выполнить следующее:
подкатить огнетушитель без резкого опрокидывания на расстояние 5 - 10 м к очагу пожара и установить строго в вертикальном положении;
снять и проложить без перегибов и скручиваний шланг подачи порошка;
сорвать пломбу и повернуть рычаг запорной головки до отказа;
открыв выпускной клапан, направить струю порошка в зону пожара зигзагообразными движениями для достижения большего охвата пламени порошковым облаком.
Допускается многократное открытие и закрытие выпускного клапана при тушении пожара.
После окончания тушения давление в огнетушителе должно быть снижено за счет открытия выпускного клапана.
3.5.4. Запрещается разбирать огнетушитель, находящийся под давлением, для снижения давления.
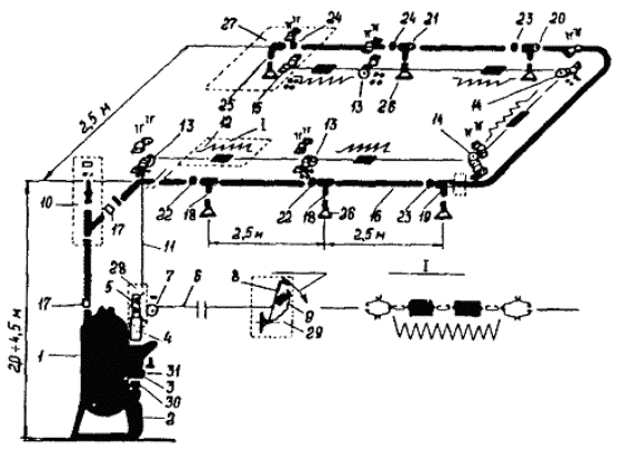
3.5.5. Автоматические порошковые огнетушители ОПА-50 и ОПА-100 (см. рис. 14) используются для защиты технологических установок или небольших помещений. Конструкция огнетушителей позволяет использовать их в качестве автоматических установок пожаротушения модульного типа (рис. 15). Номинальная длина распределительной сети составляет 24 м, а число распылителей не более шести.
Рис. 15. Принципиальная схема монтажа УПМ на базе огнетушителей ОПА-100 модульного типа с централизованным источником рабочего газа:
1 - пожарный извещатель; 2 - установка автоматической пожарной сигнализации; 3 - устройство звуковой сигнализации; 4 - баллон с рабочим газом; 5 - коллектор; 6 - 9 - огнетушители ОПЛ-100 модульного типа; 10 - предохранительный клапан; 11 - распределительная сеть; 12 - распылители; 13 - кнопка ручного пуска; 14 - запорно-пусковое устройство; 15 - подставка огнетушителя
Конструкция огнетушителей ОПА аналогична передвижным ОП-50 и ОП-100, но для приведения в действие используется тросовая система с легкоплавкими замками, которая дублируется ручным приводом.
3.5.6. Не допускается располагать огнетушители вблизи отопительных приборов, где температура может быть более 50 °С, а также в местах с прямым воздействием солнечных лучей.
3.5.7. В зависимости от применяемой марки порошка и заряда пускового баллона следует проводить проверку, техническое освидетельствование и испытание в соответствии с заводским паспортом.
3.5.8. При заряде порошка следует особое внимание уделять его сыпучести и отсутствию комков.
Тактико-технические характеристики порошковых огнетушителей изложены в приложении 2.
4.1.1. Ящики вместимостью 0,5 м3 с песком и лопатами (совками) устанавливаются только на основных отметках обслуживания турбогенераторов, у трансформаторов и масляных реакторов открытой установки, монтажных площадок, мазутных насосных, на эстакадах слива мазута, маслоаппаратных и т.п.
4.1.2. Тушение песком должно производиться путем разбрасывания его по горящей поверхности, чем достигается механическое воздействие на пламя и его частичная изоляция.
4.1.3. Песок, который хранится в металлических ящиках вместимостью 0,5 м3, должен быть постоянно сухим, сыпучим, без комков. Один раз в год его необходимо перемешивать и удалять комки.
4.1.4. Допускается применять песок для предотвращения растекания горючих жидкостей, а также для их засыпки с последующей уборкой помещения.
4.2.1. Асбестовое полотно, войлок, кошма должны размещаться только в тех местах, где их необходимо применять для защиты отдельного оборудования от огня или изоляции от искр и очагов загорания при аварийной ситуации.
4.2.2. При небольших пожарах асбестовое полотно, войлок, кошма набрасываются на горящую поверхность, изолируя ее от доступа воздуха.
4.2.3. Асбестовое полотно следует хранить в закрытом металлическом ящике, проверка состояния готовности к действию должна производиться не реже двух раз в год.
4.3.1. Пожарные краны должны быть оборудованы пожарными рукавами и стволами, размещаться в пломбируемых шкафах. На дверце шкафа должен быть указан буквенный индекс «ПК», порядковый номер пожарного крана, номер телефона вызова пожарной помощи.
4.3.2. Пожарные рукава следует хранить сухими, хорошо скатанными и присоединенными к кранам и стволам. Один раз в год рукава необходимо перематывать, изменяя места складок.
4.3.3. Работоспособность пожарных кранов проверяется не реже одного раза в 6 мес. посредством пуска воды, результаты проверки регистрируются в специальном журнале. Исправная задвижка должна плотно закрываться без больших усилий и применения ручного инструмента.
4.3.4. Внутренние пожарные краны укомплектовываются пожарными напорными рукавами диаметром 51 мм и длиной от 15 до 20 м, а также стволами. Напорные рукава рассчитаны на рабочее давление 0,7 МПа.
4.3.5. Пожарные шкафы могут быть навесными или встроенными в стену. При установке шкафов на топливоподачах их конструкция не должна допускать скопления пыли.
В пожарных шкафах допускается устанавливать ручные огнетушители.
4.4.1. Пожарные топоры, ведра и другой инвентарь предназначены для вскрытия конструкций или растаскивания горящих материалов. Этот инвентарь навешивается на пожарных щитах, устанавливаемых на строительных площадках, складах и других вспомогательных сооружениях.
Использование этого инвентаря в помещениях электростанций и подстанций не требуется.
5.1. В качестве огнетушащих веществ при тушении пожаров на электроустановках под напряжением целесообразно использовать: компактные и распыленные струи воды, негорючие газы, хладон и порошковые составы, а также комбинированные составы: углекислоту с хладоном и распыленную воду с порошком.
5.2. Загорания в электроустановках под напряжением ликвидируются персоналом энергетического объекта с помощью ручных и передвижных огнетушителей, типы которых приведены в табл. 1.
Таблица 1
|
Тип огнетушителя |
|
|
До 0,4 |
Хладоновый |
|
До 1,0 |
Порошковый |
|
До 10,0 |
Углекислотный |
|
Примечания: 1. Расстояние от насадка (раструба) огнетушителя до токоведущих частей электроустановок должно быть не менее 1 м. 2. Запрещается применять пенные огнетушители для тушения пожара на электроустановках под любым напряжением. |
|
5.3. Подача компактных и распыленных струй воды при тушении пожара на электроустановках под напряжением должна осуществляться с расстояний, не ближе приведенных в табл. 2. При этом компактные струи воды целесообразно применять только в случаях, когда к очагу горения невозможно приблизиться для подачи распыленной воды.
Таблица 2
|
Применяемые огнетушащие вещества и устройства для их подачи под давлением 0,4 МПа |
Безопасные расстояния (м) до горящих электроустановок, находящихся под напряжением, кВ |
|
|
до 1 вкл. |
от 1 до 10 вкл. |
|
|
1. Компактные струи воды, подаваемые из ручных и лафетных стволов диаметром 11,5 или 13 мм |
4,0 |
6,0 |
|
2. Распыленные струи воды, подаваемые из стволов, снабженных насадками турбинного типа НРТ; огнетушащие порошковые составы (всех типов); одновременная подача воды и порошка |
1,5 |
2,0 |
5.4. При пожаре силового трансформатора, автотрансформатора или масляного реактора для тушения целесообразно использовать распыленную воду и огнетушащий порошок, подаваемые отдельно или в комбинациях.
5.5. При загораниях в машинных залах электростанций с выбросом горящего турбинного масла необходимо обеспечить подачу огнетушащего порошка (например, из огнетушителя ОП-100) в зону горения, а затем подачу воздушно-механической пены или распыленной воды.
5.6. Запрещается применять пенные огнетушители для тушения пожаров внутри генераторов или синхронных компенсаторов с воздушным охлаждением.
5.7. Для предотвращения распространения пожара стекающего горящего турбинного масла необходимо обеспечить подачу пены на нижние отметки (например, от огнетушителей ОВП-100 и УВП-250) и использовать песок, а по прибытии передвижной техники применять пеногенераторы.
5.8. При тушении пожара на открытых кабельных трассах должна применяться распыленная вода от пожарных стволов, а также углекислотные огнетушители.
5.9. При пожаре в кабельном помещении, когда температура, плотность дыма и другие опасные факторы не препятствуют выполнению работ по ликвидации пожара, персоналу и пожарным следует использовать углекислотные огнетушители.
___________________________________________________________
наименование цеха, подразделения
|
№ п.п. |
Наименование первичных средств пожаротушения |
Присвоенный номер |
Дата контроля |
Обнаруженные неисправности |
Состояние огнетушащего вещества |
Масса, кг |
Подпись ответственного лица |
||
|
порожнего рабочего баллона |
заряда |
общая |
|||||||
|
|
|
|
|
|
|
|
|
|
|
|
Примечание. На огнетушителях всех типов должны быть бирки с указанием вида огнетушащего вещества. На бирках углекислотных и бромхладоновых огнетушителей, рабочих баллонов, воздушно-пенных и порошковых должна быть указана масса заряда, масса баллона и общая масса баллонов (ОВП-100, УВП-250, ОП-100). |
|||||||||
|
Тип, марка огнетушителя |
Вид огнетушащего средства |
Объем корпуса, л |
Масса заряда, кг |
Рабочее давление баллона, МПа |
Длина струи, м |
Продолжительность действия, с |
Диапазон рабочих температур, °С |
Средний срок службы, лет |
|
1. Химический пенный: |
|
|
|
|
|
|
|
|
|
ОХП-10 |
Кислотно-щелочной состав |
8,7 |
10 |
1,4 |
6 |
60 |
+1 ¸ +40 |
10 |
|
2. Химический воздушно-пенный: |
|
|
|
|
|
|
|
|
|
ОХВП-10 |
Химический заряд, пенообразователь ПО-1 |
10 |
9 |
1,4 |
4 |
50 |
+5 ¸ +45 |
8 |
|
3. Воздушно-пенные: |
|
|
|
|
|
|
|
|
|
ОВП-10 |
Пенообразователь ПО-6к, ПО-1 |
10 |
9 |
1,4 |
4,5 |
45 |
+5 ¸ +45 |
10 |
|
ОВП-100 |
Пенообразователь ПО-1, ПО-6к, ПО-ЗАИ и др. |
100 |
90 |
0,8 |
6,5 |
65 |
+5 ¸ +50 |
5 |
|
УВП-250 (ОВП-250) |
Пенообразователь ПО-1, ПО-6к, ПО-ЗАИ и др. |
275 |
250 |
1,0 |
8,0 |
125 |
+5 ¸ +50 |
8 |
|
4. Газовые н углекислотные: |
|
|
|
|
|
|
|
|
|
ОУ-2 |
Двуокись углерода сжиженная |
2,0 |
1,4 |
6,0 |
1,5 |
8 |
-40 ¸ +50 |
10 |
|
ОУ-5 |
То же |
5,0 |
3,5 |
15,0 |
2,0 |
9 |
-40 ¸ +50 |
10 |
|
ОУ-10 |
- » - |
10,0 |
7,0 |
15,0 |
3,0 |
12 |
-40 ¸ +50 |
10 |
|
ОУ-25 |
- » - |
25 |
17,5 |
15,0 |
4,0 |
15,0 |
-40 ¸ +50 |
10 |
|
ОУ-80 |
- » - |
80 |
28 |
15,0 |
4,0 |
15,0 |
-40 ¸ +50 |
10 |
|
ОБХ-3 |
Хладон |
3,0 |
3,5 |
15,0 |
4,0 |
20,0 |
-60 ¸ +55 |
10 |
|
ОУБ-7 |
Бромистый этил - 97 %; двуокись углерода - 3 % |
7,0 |
3,8 |
15,0 |
4,0 |
30,0 |
-60 ¸ +55 |
10 |
|
ОАХ |
Хладон 12В1, 114 В2 и азот |
0,48 |
0,545 |
0,8 |
2,0 |
12,0 |
-20 ¸ +50 |
5 |
|
ОБХ-3 |
Хладон 114 В2 или 12В1 |
3,0 |
1,20 |
0,8 |
5,0 |
7,0 |
-60 ¸ +60 |
8 |
|
5. Порошковые: |
|
|
|
|
|
|
|
|
|
ОП-1 |
Порошок ПСБ, пирант и др. |
1,0 |
0,9 |
1,4 |
2,0 |
10 |
-25 ¸ +35 |
10 |
|
ОП-5 |
Порошок ПСБ, пирант, П-2АП и др. |
5,0 |
5,0 |
1,4 |
5,0 |
15 |
-50 ¸ +50 |
10 |
|
ОП-10 |
Порошок ПСБ-3 и др. |
10 |
10 |
1,6 |
3,5 |
20 |
-40 ¸ +50 |
10 |
|
ОП-100 |
Порошок ПСБ-3, пирант, П-2АП, ПФ |
100 |
90 |
0,7 |
12,0 |
45 |
-35 ¸ +50 |
5 |
|
ОПА-100 |
Порошок ПСБ-3, пирант, П-2АП, ПФ и др. |
100 |
80 |
0,7 |
Защищаемая площадь 40 м2 |
25 |
-15 ¸ +50 |
10 |
(Исключен, Изм. № 1).
(Поправка.).
СОДЕРЖАНИЕ