
ГОСУДАРСТВЕННЫЙ СТАНДАРТ СОЮЗА ССР
ЖИДКОСТЬ
ГИДРОФОБИЗИРУЮЩАЯ 136-41
ТЕХНИЧЕСКИЕ УСЛОВИЯ
ГОСТ 10834-76
ИЗДАТЕЛЬСТВО СТАНДАРТОВ
Москва
ГОСУДАРСТВЕННЫЙ СТАНДАРТ СОЮЗА ССР
|
ЖИДКОСТЬ ГИДРОФОБИЗИРУЮЩАЯ 136-41 Технические условия Hydrophobizing liquid 136-41. Specifications |
ГОСТ |
Срок действия с 01.01.77
до 01.01.96
Настоящий стандарт распространяется на гидрофобизирующую жидкость 136-41, представляющую собой полимер этилгидросилоксана.
Гидрофобизирующая жидкость 136-41 предназначается для придания гидрофобных свойств различным материалам и изделиям.
Плотность жидкости при 20 °С - 0,995 - 1,003 г/см3.
Температура застывания - ниже минус 60 °С.
Обязательные требования к гидрофобизирующей жидкости, обеспечивающие ее безопасность для жизни, здоровья и имущества населения, охрану окружающей среды, изложены в табл. 1 и разд. 3.
(Измененная редакция, Изм. № 3).
1.1. Гидрофобизирующая жидкость 136-41 по физико-химическим показателям должна соответствовать требованиям и нормам, указанным в табл. 1.
Таблица 1
|
Норма |
Метод испытания |
|
|
1. Внешний вид |
Бесцветная или слабо-желтая жидкость без механических примесей. Допускается слабая опалесценция |
По ГОСТ 20841.1-75 и п. 3.2а настоящего стандарта |
|
2. Массовая доля активного водорода, % |
1,30 - 1,42 |
По п. 3.2 настоящего стандарта |
|
3. Вязкость кинематическая при 20°С, сСт |
50 - 165 |
По ГОСТ 33-82 и п. 3.5 настоящего стандарта |
|
4. Реакция среды (рН водной вытяжки) |
6 - 8 |
По ГОСТ 20841.4-75 и по п. 3.3 настоящего стандарта |
|
5. Гидрофобизирующая способность, ч, не менее |
3 |
По п. 3.4 настоящего, стандарта |
(Измененная редакция, Изм. № 1, Изм. № 3).
2а.1. Гидрофобизирующая жидкость 136-41 - горючее вещество, взрывобезопасна.
Температура вспышки 75 °С. Температура воспламенения 106 °С. Температура самовоспламенения 280 °С. Температурные пределы распространения пламени (воспламенения): нижний предел 75 °С, верхний предел 145 °С.
2а.2. При работе с гидрофобизирующей жидкостью 136-41 не допускается применять открытый огонь.
2а.1 - 2а.2 (Измененная редакция, Изм. № 3).
2а.3. Основные средства пожаротушения гидрофобизирующей жидкости 136-41: огнетушитель ОУ-2, порошковый огнетушительный состав СИ-2, песок, кошма.
Жидкость 136-41 не образует токсичных соединений в воздушной среде в присутствии других веществ.
Разлитую жидкость необходимо засыпать песком, собрать совком из неискрящегося материала в металлический ящик, место разлива протереть ветошью и промыть водой.
(Измененная редакция, Изм. № 2, Изм. № 3).
2а.4. Гидрофобизирующая жидкость 136-41 при нормальной температуре химически инертна. По степени воздействия на организм относится к малоопасным веществам (4-й класс опасности по ГОСТ 12.1.007-76). Не оказывает раздражающего действия на кожу, слизистые оболочки глаз и верхних дыхательных путей. Не обладает кумулятивным действием.
(Новая редакция, Изм. № 3).
2а.5. Предельно допустимая концентрация в воде водоемов санитарно-бытового пользования - 10 мг/дм3.
(Введен дополнительно, Изм. № 1).
2а.6. При производстве и применении гидрофобизирующей жидкости 136-41 должны соблюдаться санитарные правила организации технологических процессов и гигиенических требований к производственному оборудованию, утвержденные органами здравоохранения.
Все работы, связанные с производством и применением гидрофобизирующей жидкости 136-41, должны проводиться в помещениях, оборудованных механической приточно-вытяжной вентиляцией. На рабочих местах, местах отбора проб, фасовки должна быть предусмотрена местная вытяжная вентиляция.
2а.7. Средства индивидуальной защиты: халаты по ГОСТ 12.4.131-83, ГОСТ 12.4.132-83 или костюмы по ГОСТ 27574-87 и ГОСТ 27575-87, резиновые перчатки, защитные очки по ГОСТ 12.4.013-85*.
* На территории РФ действует ГОСТ Р 12.4.013-97.
2а.6 - 2а.7. (Введены дополнительно, Изм. № 3).
2.1. Гидрофобизирующую жидкость 136-41 принимают партиями.
Партией считают количество гидрофобизирующей жидкости 136-41, однородной по показателям качества, полученное от одной или нескольких операций, сопровождаемое одним документом о качестве.
Документ должен содержать:
наименование предприятия-изготовителя или его товарный знак;
наименование продукта;
дату изготовления;
номер партии;
массу брутто и нетто;
результаты испытаний;
обозначение настоящего стандарта.
(Измененная редакция, Изм. № 3).
2.2. Объем выборки - 10 % упаковочных единиц, но не менее трех при партиях 30 упаковочных единиц и менее.
(Измененная редакция, Изм. № 1).
2.3. При получении неудовлетворительных результатов испытания хотя бы по одному из показателей проводят повторные испытания пробы, отобранной от удвоенной выборки той же партии.
Результаты повторных испытаний распространяются на всю партию.
3.1. Перед отбором пробы жидкость тщательно перемешивают. Точечные пробы отбирают сухой чистой стеклянной трубкой диаметром 10 - 15 мм с оттянутым концом, погружая ее до дна тары.
Точечные пробы объединяют. Объединенную пробу тщательно перемешивают и в чистую сухую банку с герметично закрывающейся крышкой отбирают среднюю пробу в объеме 500 см3. На банку наклеивают этикетку с указанием: наименования предприятия-изготовителя, наименования жидкости, номера партии, даты отбора пробы и фамилии лица, отобравшего пробу.
Перед каждым испытанием среднюю пробу перемешивают.
(Измененная редакция, Изм. № 1).
3.2а. Внешний вид продукта определяют по ГОСТ 20841.1-75. Время выдержки продукта в цилиндре - 5 мин.
(Введен дополнительно, Изм. № 3).
3.2. Определение массовой доли активного водорода
Метод основан на способности вещества выделять водород при взаимодействии со спиртовым раствором щелочи.
3.2.1. Приборы и реактивы
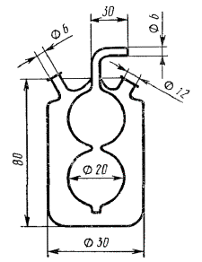
Прибор для определения активного водорода (черт. 1).
Весы лабораторные общего назначения типа ВЛР-200 г или ВЛЭ-200 г.
Термометр с пределом измерения 0 - 250 °С и ценой деления 1 °С.
Бюретка 1-1-2-50-0,1 по ГОСТ 29252-91.
Стаканчик стеклянный Æ = 10 мм, Н = 15 мм.
Спирт этиловый ректификованный технический по ГОСТ 18300-87.
Калия гидроокись по ГОСТ 24363-80, ч.д.а., 5 %-ный спиртовой раствор
Натрий хлористый по ГОСТ 4233-77, насыщенный раствор.
Кислота серная по ГОСТ 4204-77, х.ч.
Вода дистиллированная по ГОСТ 6709-72.
Метиловый оранжевый (индикатор).
Прибор для определения активного водорода
1 - термометр; 2 - груша уравнительная; 3 - кран трехходовой; 4 - бюретка газовая; 5 - кожух стеклянный; 6 - склянка Дрекселя; 7 - колба реакционная
Черт. 1
Допускается применение других средств измерения с метрологическими характеристиками и оборудования с техническими характеристиками не хуже, а также реактивов по качеству не ниже указанных в настоящем стандарте.
(Измененная редакция, Изм. № 1, 2, Изм. № 3).
3.2.2. Подготовка к испытанию
В стеклянный кожух прибора (см. черт. 1) заливают воду для поддержания стабильного температурного режима. Колебание температуры не должно превышать 0,5 °С.
Склянку Дрекселя (черт. 3) наполняют серной кислотой в таком объеме, чтобы внутренний конец полого шарика был погружен в кислоту на 4 - 5 мм.
Серную кислоту в склянке Дрекселя меняют через 20 определений, но не реже чем через 15 сут. Краны смазывают вакуумной смазкой.
Газовую бюретку и уравнительную грушу наполняют насыщенным раствором хлористого натрия, подкисленным серной кислотой и подкрашенным метиловым оранжевым.
Реакционная колба
Черт. 2
Склянка Дрекселя
Черт. 3
Прибор в собранном виде проверяют на герметичность следующим образом: трехходовой кран газовой бюретки устанавливают в положение, сообщающее бюретку с реакционной колбой и атмосферой; движением уравнительной груши устанавливают уровень раствора в бюретке на нулевое деление.
Поворотом трехходового крана на 90° прибор отключают от атмосферы, опускают уравнительную грушу до низа бюретки. Затем поднятием уравнительной груши уравнивают мениск раствора в бюретке и груше; если при этом уровень раствора в бюретке установится на нулевое деление, то прибор считают готовым для проведения испытания. В противном случае необходимо обнаружить течь и устранить ее.
3.2.3. Проведение испытания
80 - 120 мг испытуемой жидкости взвешивают в предварительно взвешенном стаканчике (результаты всех взвешиваний в граммах записывают с точностью до четвертого десятичного знака). Стаканчик с навеской помещают в боковой отросток реакционной колбы (черт. 2).
В реакционную колбу пипеткой вводят 10 см3 спиртового раствора едкого кали так, чтобы раствор не попал в боковой отросток. Затем реакционную колбу присоединяют к прибору, как укапано на черт. 1, и устанавливают уровень раствора в бюретке на нулевое положение, как описано выше.
Поворачивают реакционную колбу так, чтобы стаканчик с навеской из бокового отростка попал в спиртовой раствор щелочи, и тщательно перемешивают содержимое колбы.
Выделившийся водород собирают в бюретку, постепенно опуская уравнительную грушу. Наблюдают за уровнем раствора в бюретке при совпадении менисков растворов в уравнительной груше и бюретке. Через 10 - 15 мин после того, как прекратится выделение пузырьков, замеряют объем выделившегося водорода.
При этом фиксируют температуру воды (t) в кожухе прибора и барометрическое давление (Р).
(Измененная редакция, Изм. № 1, Изм. № 3).
3.2.4. Обработка результатов
Массовую долю активного водорода (X) в процентах вычисляют по формуле
![]()
где V - объем выделившегося водорода, см3;
m - масса навески испытуемой жидкости, мг;
t - температура, при которой измеряется объем газа, °С;
Р - атмосферное давление во время испытания, (мм рт. ст.) Па;
р - упругость водяного пара над насыщенным раствором хлористого натрия при температуре испытания, (мм рт. ст.) Па;
1,008 - атомная масса водорода, г;
22,416 - объем 1 г · моля газа при нормальных условиях, дм3.
За результат испытания принимают среднее арифметическое значение результатов двух параллельных определений, абсолютное расхождение между которыми не превышает допускаемое расхождение, равное 0,03 %.
Допускаемая абсолютная суммарная погрешность результата испытания ±0,03 % при доверительной вероятности Р = 0,95.
(Измененная редакция, Изм. № 3).
3.3. Определение реакции среды (рН водной вытяжки)
рН водной вытяжки определяют по ГОСТ 20841.4-75, применяя прибор с чувствительностью не более 0,1 рН.
3.4. Определение гидрофобизирующей способности
3.4.1. Реактивы и материалы
Углерод четыреххлористый технический по ГОСТ 4-84.
Бязь отбеленная по ГОСТ 29298-92.
(Измененная редакция, Изм. № 1).
3.4.2. Проведение испытания
Кусок отбеленной бязи размером 250´250 мм, предварительно выстиранный и высушенный, погружают на 5 мин при комнатной; температуре в стакан с 200 см3 3 %-ного раствора испытуемой, жидкости в четыреххлористом углероде, который готовят смешением 9,4 см3 жидкости 136-41 и 190,6 см3 четыреххлористого углерода. Затем тщательно отжимают путем плюсования до 100 %-ной влажности. Расплавленную ткань помещают в термостат и сушат до полного высыхания при 90 - 95 °С, затем температуру в термостате поднимают до (150 ± 5) °С и выдерживают бязь при этой температуре в течение 30 мин.
Гидрофобизированную ткань натягивают на стакан диаметром 100 - 120 мм таким образом, чтобы в середине стакана было углубление высотой не менее 80 мм. В это углубление наливают 100 см3 дистиллированной воды, имеющей температуру окружающей среды.
Продукт соответствует требованиям настоящего стандарта, если; первая капля воды упадет с ткани в стакан не менее чем через; 3 ч с момента налива.
(Измененная редакция, Изм. № 2, Изм. № 3).
3.5. Определение кинематической вязкости по ГОСТ 33-82, при этом допускается использовать термостатирующие устройства, термостаты и термометры, обеспечивающие температуру плюс 20 °С с погрешностью не более 0,25 °С.
За результат испытания принимают среднее арифметическое двух параллельных определений, допускаемые расхождения между которыми не должны превышать значений, указанных в табл. 2.
Таблица 2
|
Допускаемые расхождения, %, от среднего арифметического сравниваемых результатов, для вискозиметров типа |
|||
|
ВПЖ-1 |
ВПЖ-2, ВПЖ-4 (Пинкевича) |
ВНЖ и ВПЖМ |
|
|
+20 |
±1,0 |
±1,2 |
±1,5 |
(Введен дополнительно, Изм. № 1).
(Измененная редакция, Изм. № 3).
4.1. Гидрофобизирующую жидкость 136-41 упаковывают во фляги по ГОСТ 5799-78, вместимостью 40 дм3, в стальные канистры по ГОСТ 5105-82, в банки из белой жести по ГОСТ 6128-81, а также в бидоны из белой жести вместимостью 18 - 20 дм3.
По согласованию с потребителем допускается упаковывать жидкость в стеклянные бутыли вместимостью 10 или 20 дм3, с навинчивающимися полиэтиленовыми пробками, в которых должен быть сделан прокол.
Вкладыш заливного отверстия банки, бидона опаивают или применяют другое уплотнение, обеспечивающее герметизацию тары на период транспортирования и хранения жидкости.
Банки, бидоны, канистры и стеклянные бутыли помещают в деревянные ящики типа V-1 по ГОСТ 18573-77.
(Измененная редакция, Изм. № 2, Изм. № 3).
4.2. Тара с жидкостью должна быть опломбирована пломбой технического контроля завода-изготовителя.
4.3. Транспортная маркировка - по ГОСТ 14192-77 с нанесением манипуляционного знака «Верх» и знака опасности по ГОСТ 19433-88 (класс 9, подкласс 9.1, классификационный шифр 9123).
На потребительскую тару прикрепляют ярлык с обозначениями:
наименования продукта;
даты изготовления;
номера партии;
обозначения настоящего стандарта.
На транспортную тару прикрепляют ярлык с теми же обозначениями и с указанием наименования предприятия-изготовителя и (или) его товарного знака, массы брутто и нетто, количества упаковочных единиц в партии.
(Измененная редакция, Изм. № 1, 2, Изм. № 3).
4.4. Гидрофобизирующую жидкость 136-41 транспортируют любым видом транспорта в соответствии с правилами перевозки грузов, действующими на соответствующих видах транспорта, мелкими отправками - в крытых транспортных средствах пакетами. Формирование пакетов - по ГОСТ 26663-85. Средства скрепления грузов в транспортные пакеты - по ГОСТ 21650-76.
(Измененная редакция, Изм. № 1, 3).
4.5. Гидрофобизирующую жидкость 136-41 хранят в упаковке изготовителя в закрытых складских помещениях при температуре не выше 30 °С.
(Новая редакция, Изм. № 3).
5.1. Изготовитель гарантирует соответствие гидрофобизирующей жидкости 136-41 требованиям настоящего стандарта при соблюдении условий транспортирования и хранения.
5.2. Гарантийный срок хранения гидрофобизирующей жидкости 136-41 - один год со дня изготовления.
(Измененная редакция, Изм. № 1).
Разд. 6. (Исключен, Изм. № 1).
ИНФОРМАЦИОННЫЕ ДАННЫЕ
1. РАЗРАБОТАН И ВНЕСЕН Министерством химической промышленности СССР
РАЗРАБОТЧИКИ
Б.А. Головня, К.П. Гриневич, М.М. Зубова, И.П. Романова, Н.Г. Меркулова
2. УТВЕРЖДЕН И ВВЕДЕН В ДЕЙСТВИЕ Постановлением Государственного комитета стандартов Совета Министров СССР от 09.01.76 № 69
3. ВЗАМЕН ГОСТ 10834-64
4. ССЫЛОЧНЫЕ НОРМАТИВНО-ТЕХНИЧЕСКИЕ ДОКУМЕНТЫ
|
Обозначение НТД, на который дана ссылка |
Номер пункта, подпункта |
|
ГОСТ 4-84 |
|
|
ГОСТ 33-82 |
|
|
ГОСТ 4204-77 |
|
|
ГОСТ 5105-82 |
|
|
ГОСТ 5799-78 |
|
|
ГОСТ 6128-81 |
|
|
ГОСТ 8573-77 |
|
|
ГОСТ 14192-77 |
|
|
ГОСТ 18300-87 |
|
|
ГОСТ 20292-74 |
|
|
ГОСТ 20841.1-75 |
|
|
ГОСТ 20841.4-75 |
|
|
ГОСТ 24363-80 |
|
|
ГОСТ 29298-92 |
|
|
ТУ 38.101169-88 |
5. Срок действия продлен до 01.01.96 Постановлением Госстандарта СССР от 28.03.90 № 637
6. ПЕРЕИЗДАНИЕ (август 1993 г.) с Изменениями № 1, 2, утвержденными в июне 1985 г. и марте 1990 г. (ИУС 10-85, 6-90)
СОДЕРЖАНИЕ