ГОСУДАРСТВЕННЫЕ СТАНДАРТЫ
СИСТЕМА
СТАНДАРТОВ
БЕЗОПАСНОСТИ ТРУДА
ГОСТ 12.3.028-82
Москва
ИПК ИЗДАТЕЛЬСТВО СТАНДАРТОВ
2001
МЕЖГОСУДАРСТВЕННЫЙ СТАНДАРТ
|
Система стандартов безопасности труда ПРОЦЕССЫ ОБРАБОТКИ АБРАЗИВНЫМ И ЭЛЬБОРОВЫМ ИНСТРУМЕНТОМ Требования безопасности Occupational safety standards system. Abrasive and elbor instruments. Safety requirements |
ГОСТ |
Дата введения 01.01.83
Настоящий стандарт распространяется на абразивный и эльборовый инструмент всех видов и устанавливает требования безопасности при работе указанными инструментами с рабочими скоростями от 15 до 120 м/с.
Стандарт не распространяется на полировальные круги, изготовленные из текстильных, войлочных, кожаных, синтетических материалов, имеющих на поверхности слой шлифовального материала.
Требования настоящего стандарта являются обязательными.
(Измененная редакция, Изм. № 2).
1.1. При обработке материалов абразивным и эльборовым инструментом опасными и вредными производственными факторами являются:
разрыв шлифовального круга, отрыв эльборосодержащего слоя от корпуса круга, отрыв сегментов от корпуса инструмента;
повышенная запыленность воздуха рабочей зоны, образование в нем аэрозолей при обработке с использованием смазочно-охлаждающей жидкости (СОЖ);
повышенная вибрация и шум при работе ручными шлифовальными машинами.
1.2. Каждый инструмент перед установкой на станок должен быть испытан потребителем при испытательной скорости.
(Измененная редакция, Изм. № 1).
1.3. Уровни концентрации вредных веществ в рабочей зоне не должны превышать предельно допустимых значений, установленных ГОСТ 12.1.005.
1.4. На основании требований настоящего стандарта должны разрабатываться предприятиями инструкции по безопасности труда при выполнении работ с применением абразивного и эльборового инструмента.
2.1. Общие требования к технологическим процессам
2.1.1. Значения рабочей скорости инструмента, обеспечивающие безопасность работы, должны содержаться в стандартах и технических условиях на соответствующий вид инструмента.
2.1.2. Абразивный и эльборовый инструмент, предназначенный для работ с применением СОЖ, эксплуатировать без применения СОЖ не допускается.
2.1.3. СОЖ, используемые при обработке, не должны снижать механическую прочность круга и должны быть разрешены для применения Министерством здравоохранения СССР.
2.2. Требования к процессам шлифования
2.2.1. Перед началом работы инструмент должен быть подвергнут вращению вхолостую с рабочей скоростью в течение следующего времени, в мин, не менее:
круги (включая эльборовые на керамической связке) диаметром:
до 150 мм............................................................................................... 1
св. 150 до 400 мм................................................................................... 2
св. 400 мм............................................................................................... 5
эльборовые круги на органической и металлической связках......... 2
(Измененная редакция, Изм. № 1).
2.2.2. (Исключен, Изм. № 1).
2.2.3. При работе ручными шлифовальными и переносными маятниковыми машинами, а также на обдирочных и отрезных станках с ручной подачей, рабочая скорость круга не должна превышать 80 м/с.
(Измененная редакция, Изм. № 1).
2.2.4. Не допускается работа боковыми (торцовыми) поверхностями круга, если он не предназначен для этого вида работ.
2.2.5. При уменьшении диаметра круга вследствие его срабатывания число оборотов круга может быть увеличено, но без превышения рабочей скорости (np), допустимой для данного круга.
2.2.6. Длинные детали (l/d ³ 8) должны шлифоваться на круглошлифовальных станках с применением люнетов.
2.2.7. Температура окружающей среды при эксплуатации инструмента с применением СОЖ должна быть не ниже точки замерзания СОЖ.
2.2.8. Предельно допустимые диаметры сработанных шлифовальных кругов диаметром 6 мм и более должны соответствовать значениям, указанным в табл. 1.
Таблица 1
|
Вид крепления круга по ГОСТ 2270 |
Предельно допустимый диаметр сработанного круга, мм |
|
На шпильке диаметром d |
|
|
На винте с диаметром головки d2 |
d(d1) + 2 |
|
На шпинделе (оправке) винтом с диаметром головки d2 |
d1(d2) + 10 |
|
На шпинделе (оправке) фланцами диаметром d1 = d2 |
|
|
На переходных фланцах диаметрами d1 = d2 |
d1(d2) + 20 |
2.2.8а. Предельно допустимые диаметры сработанных отрезных кругов в мм при закреплении их на шпинделе (оправке) фланцами диаметром d1 = d2 должны соответствовать выражению d1(d2) + 2dзаготовки + 10.
(Введен дополнительно, Изм. № 1).
2.2.9. Не допускается тормозить вращающийся круг нажимом на него каким-либо предметом.
2.3. Требования к процессам правки абразивного и эльборового инструмента.
2.3.1. Правка кругов должна осуществляться только правящими инструментами.
2.3.2. Остальные требования к процессам правки - по ГОСТ 12.3.023.
3.1. Абразивный и эльборовый инструмент должен эксплуатироваться на оборудовании, отвечающем требованиям ГОСТ 12.2.003, ГОСТ 12.2.009, ГОСТ 12.2.010.
3.2. На оборудовании должны быть предусмотрены:
устройства для удаления абразивной пыли и отходов шлифования из зоны обработки;
устройства для защиты рабочего от аэрозолей, образующихся при использовании СОЖ;
устройства для защиты рабочего от абразивной, металлической и неметаллической пыли, частиц обрабатываемого материала, образующихся в процессе правки, шлифования, заточки и т.п.
3.3. Элементы крепления, применяемые для установки инструмента, должны соответствовать требованиям ГОСТ 2270 и обеспечивать соосность инструмента со шпинделем станка, а также зажатие сегментов по длине на величину не менее его высоты. Зазор между отверстием круга и посадочным местом должен быть в пределах допусков на диаметр посадочного отверстия по ГОСТ 2424, ГОСТ 21963 и посадок по ГОСТ 2270.
Между прижимными фланцами и инструментом должны ставиться прокладки из картона по ГОСТ 9347 или другого эластичного материала толщиной от 0,5 до 1,0 мм. Прокладки должны перекрывать всю прижимную поверхность фланцев и равномерно выступать наружу по всей окружности не менее чем на 1,0 мм.
(Измененная редакция, Изм. № 2).
3.4. При закреплении инструмента не допускается применение насадок на гаечные ключи, ударного инструмента.
3.5. На станках с ручной подачей изделий запрещается использовать рычаг для увеличения усилия нажима обрабатываемых деталей на шлифовальный круг.
Примечание. На обдирочных станках с ручной подачей допускается применение прижимов, конструкция которых должна быть согласована с головными организациями по проектированию указанных станков и абразивному инструменту.
3.6. При обработке шлифовальными кругами изделий, незакрепленных жестко на станке, должны применяться подручники. Подручники должны быть передвижными, обеспечивающими установку и закрепление их в требуемом положении. У станков, имеющих два подручника, каждый подручник должен иметь независимое перемещение. Перестановка подручников во время работы не допускается.
Подручники должны иметь достаточную по величине площадку для обеспечения устойчивого положения обрабатываемого изделия. Подручники должны устанавливаться так, чтобы верхняя точка соприкосновения изделия со шлифовальным кругом находилась выше горизонтальной плоскости, проходящей через центр круга, но не более чем на 10 мм.
Зазор между краем подручника и рабочей поверхностью шлифовального круга должен быть меньше половины толщины шлифуемого изделия, но не более 3 мм.
Края подручников со стороны шлифовального круга не должны иметь выбоин, сколов и других дефектов.
3.7. У станков с электромагнитными плитами должны быть блокирующие устройства, обеспечивающие автоматический отвод шлифовального круга от изделия и выключение перемещения стола в случае прекращения или падения ниже предельно допустимого значения электрического напряжения.
(Измененная редакция, Изм. № 2).
3.8. При замене электродвигателя шлифовального станка или изменении передаточного отношения привода в паспорте станка должна быть сделана соответствующая запись.
4.1. Перед установкой на станок абразивный и эльборовый инструмент должен быть осмотрен. Не допускается эксплуатация инструмента с отслаиванием эльборосодержащего слоя, с трещинами на поверхности, а также не имеющего отметки об испытании на механическую прочность или с просроченным сроком хранения.
Примечание. Инструмент с просроченным сроком хранения может допускаться к эксплуатации только после проверки на механическую прочность.
4.2. Шлифовальные круги диаметром 250 мм и более, а также круги диаметром 125 мм и более, предназначенные для работы с рабочей скоростью свыше 50 м/с, в сборе с планшайбой перед установкой на станок должны быть отбалансированы.
При обнаружении дисбаланса круга после первой правки или в процессе работы должна быть произведена его повторная балансировка.
Примечание. Отрезные, обдирочные и шлифовальные ведущие круги, предназначенные для работы с рабочей скоростью до 40 м/с перед установкой их на станок допускается не балансировать в сборе с планшайбой.
5.1. Механическая прочность инструмента и запас прочности кругов должны проверяться на специальных стендах, установленных в испытательных станциях, изолированных от основного производства, или в изолированных участках.
На испытательных станциях и участках допускается размещение другого контрольного испытательного оборудования.
5.2. Испытательные стенды должны устанавливаться на фундамент и жестко крепиться к нему.
5.3. Испытываемый инструмент; установленный на шпинделе стенда, должен быть заключен в камеру, обеспечивающую защиту работающего от осколков круга при его возможном разрыве.
5.4. Испытательный стенд должен быть снабжен указателем частоты вращения шпинделя и иметь блокировку, исключающую включение привода при открытой испытательной камере и открывание камеры до снятия испытательной нагрузки.
Погрешность частоты вращения шпинделя при установке испытательной скорости не должна выходить за пределы ±5 %.
5.5. Установка и снятие кругов массой более 15 кг должны быть механизированы.
5.4, 5.5. (Измененная редакция, Изм. № 1).
5.6. Радиальное биение шпинделя испытательного стенда не должно превышать 0,03 мм. Направление резьбы для крепления круга должно быть обратным направлению вращения шпинделя.
5.7. Технический осмотр испытательных стендов должен производиться не реже одного раза в 2 месяца с обязательной регистрацией результатов осмотра в журнале.
Проведение испытаний на неисправном стенде не допускается.
5.8. В помещении для испытаний должна быть вывешена инструкция по проведению испытаний, разработанная на основе требований настоящего стандарта.
6.1. На шлифовальных и отрезных кругах (кроме эльборовых) диаметром 250 мм и более, а также на шлифовальных кругах, предназначенных для работы на ручных шлифовальных машинах, должны быть нанесены цветные полосы:
желтая - на кругах с рабочей скоростью 60 м/с,
красная » » » » 80 м/с,
зеленая » » » » 100 м/с,
зеленая и синяя » » » » 120 м/с.
Примечания:
1. Допускается нанесение цветных полос на этикетку, при условии ее прочного скрепления с кругом.
2. Маркировку цветных полос до 1 января 1987 г. допускалось не наносить.
(Измененная редакция, Изм. № 1).
6.2. Остальные требования к маркировке абразивного и эльборового инструмента - по стандартам и техническим условиям на конкретный вид инструмента.
6.3. За время хранения испытанного на механическую прочность инструмента до момента эксплуатации должны быть обеспечены условия, не допускающие его повреждения.
6.4. Хранение и транспортирование абразивного и эльборового инструмента - по стандартам и техническим условиям на конкретный вид инструмента.
7.1. К испытаниям с абразивным и эльборовым инструментом допускаются лица не моложе 18 лет, прошедшие медицинский осмотр, обучение, аттестацию, квалификационную комиссию по технике безопасности труда.
(Измененная редакция, Изм. № 1).
7.2. Допуск лиц моложе 18 лет к конкретным работам с абразивным и эльборовым инструментами должен производиться с учетом ограничений, установленных списком производств, профессий и работ с тяжелыми и вредными условиями труда, на которых запрещается применение труда лиц моложе 18 лет, утвержденным Госкомтруда и ВЦСПС.
(Введен дополнительно, Изм. № 1).
8.1. Абразивный и эльборовый инструмент и элементы его крепления (болты, гайки, фланцы и т.д.) должны быть ограждены защитными кожухами, прочно закрепленными на станке.
8.2. Защитные кожухи для шлифовальных кругов, работающих с рабочей скоростью до 100 м/с, должны изготовляться сварными из листовой углеродистой конструкционной стали марок Ст3кп, Ст3сп по ГОСТ 380, стали марок 20, 15 по ГОСТ 1050.
(Измененная редакция, Изм. № 1, 2).
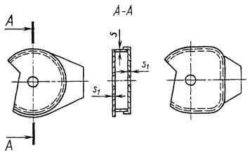
8.3. Форма и толщина стенок защитных кожухов для шлифовальных и отрезных кругов должна соответствовать указанным на черт. 1 и 2 и в табл. 2 - 6.
Примечание. При работе набором кругов, высота которого более 200 мм, толщина стенок кожуха должна быть не менее предусмотренной для кругов высотой 200 мм.
8.4. Форма и толщина стенок защитных кожухов для инструмента, работающего с рабочей скоростью свыше 100 м/с, должна соответствовать нормативному документу на шлифовальное оборудование.
8.3, 8.4. (Измененная редакция, Изм. № 1).
8.5. Форма и толщины стенок защитных кожухов для ограждения кругов при работе на ручных пневматических и электрических шлифовальных машинах - по нормативному документу на ручные шлифовальные машины.
(Измененная редакция, Изм. № 2).
8.6. Обод и боковые стенки защитного кожуха, изготовляемые из листовой стали, должны свариваться сплошным усиленным швом высотой не менее толщины боковой стенки. Сварной шов должен быть без наплывов и прижогов. Наружные трещины шва и околошовной зоны, несварные кратеры, подрезы и непровары корня шва - не допускаются.
8.7. В места вырезов в кожухе под устройства для правки или для других целей стенки кожуха должны быть усилены на величину, равную толщине стенки.
При этом ширина усиления должна быть не менее удвоенной толщины стенки.
8.8. Расположение и наибольшие допустимые углы раскрытия защитных кожухов должны соответствовать указанным на черт. 3.
8.9. Для кожухов, не имеющих предохранительных козырьков, угол раскрытия над горизонтальной плоскостью, проходящей через ось шпинделя станка, не должен превышать 30°. При угле раскрытия более 30° должны устанавливаться передвижные металлические предохранительные козырьки, позволяющие уменьшить зазор между козырьком и кругом при его износе. Конструкция козырьков должна обеспечивать их перемещение и надежное закрепление в различных положениях.
Передвижной предохранительный козырек по ширине должен перекрывать расстояние между двумя торцевыми стенками защитного кожуха. Толщина козырька должна быть не менее толщины цилиндрической части защитного кожуха. Перемещать козырьки разрешается только после остановки круга.
Примечания:
1. На шлифовальных станках с механической или автоматической подачей при угле раскрытия кожуха выше горизонтальной плоскости, проходящей через ось шпинделя, допускается работа без козырьков при условии, что расстояние между верхней точкой раскрытия кожуха и горизонтальной плоскостью не превышает величину 0,5d1 фланцев по ГОСТ 2270.
2. На круглошлифовальных бесцентровых станках-автоматах допускается автоматическое перемещение козырька по мере износа круга без его остановки.
Форма и минимальная толщина стенок защитного кожуха для шлифовальных кругов, работающих со скоростью до 40 м/с
Черт. 1
Таблица 2
мм
|
Наибольшая высота шлифовального круга |
Толщина стенок кожуха |
Диаметр шлифовального круга |
Наибольшая высота шлифовального круга |
Толщина стенок кожуха |
|||||||
|
литой |
сварной |
литой |
сварной |
||||||||
|
s |
s1 |
s |
s1 |
s |
s1 |
s |
s1 |
||||
|
До 150 |
50 |
- |
- |
3 |
2 |
Св. 500 до 600 |
50 |
12 |
10 |
8 |
5 |
|
100 |
100 |
14 |
12 |
9 |
6 |
||||||
|
Св. 150 до 300 |
50 |
6 |
6 |
4 |
2 |
150 |
16 |
14 |
10 |
7 |
|
|
100 |
8 |
6 |
5 |
3 |
200 - 250 |
18 |
16 |
12 |
8 |
||
|
150 |
10 |
8 |
6 |
4 |
Св. 600 до 750 |
50 |
16 |
14 |
9 |
6 |
|
|
200 - 250 |
12 |
10 |
7 |
5 |
100 |
18 |
16 |
10 |
7 |
||
|
Св. 300 до 400 |
50 |
8 |
6 |
4 |
3 |
150 |
20 |
18 |
12 |
8 |
|
|
100 |
10 |
8 |
5 |
3 |
200 - 250 |
22 |
20 |
14 |
9 |
||
|
150 |
12 |
10 |
6 |
4 |
Св. 750 до 1100 |
50 |
18 |
16 |
12 |
9 |
|
|
200 - 250 |
14 |
11 |
8 |
5 |
100 |
22 |
20 |
14 |
10 |
||
|
Св. 400 до 500 |
50 |
10 |
8 |
6 |
4 |
150 |
25 |
22 |
16 |
12 |
|
|
100 |
12 |
10 |
7 |
5 |
200 - 250 |
28 |
24 |
18 |
12 |
||
|
150 |
14 |
12 |
8 |
6 |
Св. 1100 до 1400 |
50 |
22 |
20 |
16 |
12 |
|
|
200 - 250 |
16 |
13 |
10 |
7 |
100 |
24 |
22 |
18 |
14 |
||
|
150 |
26 |
24 |
20 |
16 |
|||||||
|
200 - 250 |
30 |
26 |
22 |
18 |
|||||||
Форма и минимальная толщина стенок защитного кожуха для шлифовальных кругов, работающих со скоростью свыше 40 до 100 м/с и отрезных кругов
Черт. 2
Рабочая скорость свыше 40 до 60 м/с
Таблица 3
мм
|
Диаметр шлифовального круга |
Наибольшая высота шлифовального круга |
Толщина стенок кожуха |
Диаметр шлифовального круга |
Наибольшая высота шлифовального круга |
Толщина стенок кожуха |
||||||
|
литой |
сварной |
литой |
сварной |
||||||||
|
s |
s1 |
s |
s1 |
s |
s1 |
s |
s1 |
||||
|
До 80 |
50 |
- |
- |
3 |
2 |
Св. 400 до 500 |
150 |
18 |
14 |
11 |
8 |
|
100 |
200 - 250 |
20 |
16 |
13 |
9 |
||||||
|
Св. 80 до 150 |
50 |
6 |
6 |
4 |
3 |
Св. 500 до 600 |
50 |
16 |
14 |
10 |
7 |
|
100 |
8 |
7 |
4 |
3 |
100 |
18 |
16 |
11 |
8 |
||
|
150 |
10 |
8 |
5 |
4 |
150 |
20 |
18 |
12 |
9 |
||
|
200 - 250 |
12 |
10 |
7 |
5 |
200 - 250 |
22 |
20 |
14 |
10 |
||
|
Св. 150 до 300 |
50 |
7 |
7 |
5 |
4 |
Св. 600 до 750 |
50 |
20 |
16 |
12 |
8 |
|
100 |
9 |
8 |
6 |
4 |
100 |
22 |
18 |
14 |
9 |
||
|
150 |
12 |
9 |
7 |
4 |
150 |
24 |
20 |
16 |
10 |
||
|
200 - 250 |
14 |
10 |
8 |
5 |
200 - 250 |
26 |
22 |
18 |
12 |
||
|
Св. 300 до 400 |
50 |
10 |
8 |
7 |
5 |
Св. 750 до 1100 |
50 |
24 |
20 |
14 |
10 |
|
100 |
12 |
9 |
8 |
5 |
100 |
28 |
22 |
18 |
12 |
||
|
150 |
14 |
10 |
9 |
6 |
150 |
30 |
25 |
20 |
12 |
||
|
200 - 250 |
16 |
12 |
10 |
7 |
200 - 250 |
32 |
28 |
22 |
14 |
||
|
Св. 400 до 500 |
50 |
14 |
12 |
8 |
6 |
Св. 1100 до 1400 |
50 |
28 |
22 |
16 |
12 |
|
100 |
16 |
12 |
9 |
7 |
100 |
32 |
25 |
20 |
16 |
||
Таблица 4
Рабочая скорость свыше 60 до 80 м/с
мм
|
Диаметр шлифовального круга |
Наибольшая высота шлифовального круга |
Толщина стенки сварного кожуха |
Диаметр шлифовального круга |
Наибольшая высота шлифовального круга |
Толщина стенки сварного кожуха |
||
|
s |
s1 |
s |
s1 |
||||
|
До 80 |
50 |
3 |
3 |
Св. 500 до 600 |
50 |
12 |
8 |
|
100 |
4 |
3 |
100 |
14 |
10 |
||
|
Св. 80 до 150 |
50 |
5 |
4 |
150 |
16 |
12 |
|
|
100 |
6 |
5 |
200 - 250 |
18 |
14 |
||
|
Св. 150 до 300 |
50 |
6 |
5 |
Св. 600 до 750 |
50 |
14 |
10 |
|
100 |
8 |
6 |
100 |
16 |
12 |
||
|
150 |
10 |
7 |
150 |
18 |
14 |
||
|
200-250 |
12 |
8 |
200 - 250 |
20 |
14 |
||
|
Св. 300 до 400 |
50 |
8 |
6 |
Св. 750 до 1100 |
50 |
16 |
12 |
|
100 |
10 |
8 |
100 |
18 |
12 |
||
|
150 |
12 |
9 |
150 |
20 |
14 |
||
|
200-250 |
14 |
10 |
200 - 250 |
22 |
16 |
||
|
Св. 400 до 500 |
50 |
10 |
8 |
Св. 1100 до 1400 |
50 |
18 |
12 |
|
100 |
12 |
9 |
|||||
|
150 |
14 |
10 |
100 |
20 |
14 |
||
|
200-250 |
16 |
12 |
|||||
Таблица 5
Рабочая скорость свыше 80 до 100 м/с
мм
|
Диаметр шлифовального круга |
Наибольшая высота шлифовального круга |
Толщина стенки сварного кожуха |
Диаметр шлифовального круга |
Наибольшая высота шлифовального круга |
Толщина стенки сварного кожуха |
||
|
s |
s1 |
s |
s1 |
||||
|
До 80 |
50 |
4 |
3 |
Св. 500 до 600 |
50 |
14 |
10 |
|
100 |
5 |
4 |
100 |
16 |
12 |
||
|
Св. 80 до 150 |
50 |
6 |
5 |
150 |
18 |
14 |
|
|
100 |
8 |
6 |
200 - 250 |
20 |
16 |
||
|
Св. 150 до 300 |
50 |
8 |
6 |
Св. 600 до 750 |
50 |
16 |
12 |
|
100 |
10 |
7 |
100 |
20 |
14 |
||
|
150 |
12 |
9 |
150 |
22 |
16 |
||
|
200 - 250 |
14 |
10 |
200 - 250 |
25 |
18 |
||
|
Св. 300 до 400 |
50 |
10 |
7 |
Св. 750 до 1100 |
50 |
20 |
16 |
|
100 |
12 |
9 |
100 |
25 |
18 |
||
|
150 |
14 |
10 |
150 |
28 |
20 |
||
|
200 - 250 |
16 |
12 |
Св. 1100 до 1400 |
50 |
25 |
18 |
|
|
Св. 400 до 500 |
50 |
12 |
9 |
||||
|
100 |
14 |
10 |
100 |
30 |
22 |
||
|
150 |
16 |
12 |
|||||
|
200 - 250 |
18 |
14 |
|||||
Таблица 6
Минимальная толщина стенок защитного кожуха для отрезных кругов высотой до 20 мм
|
Диаметр круга, мм |
Толщина стенки сварного кожуха, мм |
Рабочая скорость круга, м/с |
Диаметр круга, мм |
Толщина стенки сварного кожуха, мм |
|||
|
s |
s1 |
s |
s1 |
||||
|
До 80 |
До 300 |
3 |
2 |
Св. 80 до 100 |
До 300 |
4 |
3 |
|
Св. 300 до 500 |
4 |
3 |
Св. 300 до 500 |
5 |
4 |
||
|
Св. 500 до 750 |
5 |
4 |
Св. 80 до 100 |
6 |
4 |
||
|
Св. 750 до 1200 |
8 |
6 |
Св. 750 до 1200 |
10 |
7 |
||
|
Св. 1200 до 2000 |
12 |
8 |
Св. 1200 до 2000 |
16 |
10 |
||
Для кругов, применяемых на обдирочных и точильных станках

Для кругов, применяемых на обдирочных и точильных станках при расположении обрабатываемых деталей ниже оси круга

Для кругов, применяемых на круглошлифовальных, бесцентровошлифовальных и заточных станках

Для кругов, применяемых на плоскошлифовальных и заточных станках, работающих периферией круга

Для кругов, применяемых на переносных станках с гибким валом, на обдирочных с качающейся рамой (маятниковых) и заточных станках

Для кругов, работающих наиболее высокой своей точкой
Черт. 3
8.10. Зазор между кругом и верхней кромкой раскрытия подвижного кожуха, а также между кругом и предохранительным козырьком должен быть не более 6 мм.
8.11. Зазор между боковой стенкой защитного кожуха и фланцами для крепления круга наибольшей высоты, применяемого на данном станке, должен быть в пределах от 5 до 10 мм. При работе съемная крышка защитного кожуха должна быть надежно закреплена.
8.12. Круги типов 35, 36, 2, 6, 11 по ГОСТ 2424 и сегментные круги для шлифования торцом должны быть ограждены защитными кожухами. Выступающая из кожуха часть инструмента допускается до 50 % его высоты, но не более:
для кругов типов 35, 36, 2, 6, 11 - 25 мм;
для сегментных кругов - 40 мм.
На зубошлифовальных и других станках, где по характеру работы круг должен выступать на величину более 25 мм, следует предусмотреть дополнительное ограждение рабочей зоны.
(Измененная редакция, Изм. № 2).
8.13. Шлифовальные и заточные станки с горизонтальной осью вращения круга, предназначенные для обработки вручную и без подвода СОЖ (стационарного исполнения, на тумбе и настольные), должны быть оснащены защитным экраном для глаз из безосколочного материала толщиной не менее 3 мм.
Экран по отношению к кругу должен располагаться симметрично. Ширина экрана должна быть больше высоты круга не менее чем на 150 мм. Конструкция экрана должна предусматривать поворот вокруг оси для регулирования его положения в зависимости от величины обрабатываемой детали и износа шлифовального круга в пределах 20°, исключая полное его откидывание. Поворот экрана на угол более 20° должен быть сблокирован с пуском шпинделя станка.
При невозможности использования стационарного защитного экрана должны применяться защитные очки или защитные козырьки, закрепленные на голове рабочего.
(Измененная редакция, Изм. № 1, 2).
8.14. На станках и устройствах, предназначенных для обточки шлифовальных кругов, должны быть установлены защитные приспособления, предохраняющие рабочего от разлетающихся частиц шлифовального круга и правящего инструмента.
8.15. При работе с абразивным и эльборовым инструментом должны применяться средства защиты (кожуха, ограждения, колпаки и т.п.), входящие в комплект оборудования.
8.16. Шлифовальные станки, предназначенные для работы с рабочей скоростью круга 60 м/с и более, должны иметь дополнительные защитные устройства в виде металлических экранов и ограждений, закрывающих рабочую зону во время шлифования, и щитков, закрывающих открытый участок круга при его отводе.
8.17. Основные размеры защитного кожуха, материал из которого он изготовлен, а также форма и максимальные размеры инструмента должны быть указаны в паспорте шлифовального станка.
9.1. Содержание пыли и вредных веществ в воздухе рабочей зоны должно контролироваться путем систематических анализов.
Периодичность проведения анализов согласовывается с санэпидемстанцией.
9.2. При содержании вредных веществ в рабочей зоне в количестве, превышающем предельно допустимые концентрации, работа должна быть приостановлена.
10.1. При проведении испытаний запрещается открывать испытательную камеру стенда до полной остановки шпинделя.
10.2. Перед испытанием шлифовальный круг должен быть осмотрен. Круги не должны иметь отслаивания эльборосодержащего слоя и трещин. Круги на керамической связке должны быть проверены на отсутствие трещин простукиванием его в подвешенном состоянии деревянным молоточком массой 150 - 200 г. Круг без трещин должен издавать чистый звук.
Примечание. Круги массой более 16 кг допускается простукивать без подвешивания, при этом удар деревянного молотка следует наносить под углом 45° к горизонтальной плоскости.
10.3. Механическая прочность шлифовальных кругов должна контролироваться в соответствии с требованиями табл. 7.
Таблица 7
|
Наружный диаметр инструмента, мм |
Рабочая скорость инструмента (np), м/с |
Испытательная скорость инструмента (nи), м/с |
|
|
Шлифовальные круги на керамической и органической связках, в том числе эльборовые и лепестковые, а также фибровые шлифовальные диски |
³ 150 |
£ 40 |
1,5np |
|
³ 30 |
Св. 40 до 80 |
||
|
Св. 80 до 120 |
l,4np |
||
|
Отрезные круги |
³ 250 |
£ 120 |
1,3np |
|
Отрезные круги для ручных шлифовальных машин |
³ 150 |
||
|
Гибкие полировальные круги на вулканитовой связке |
³ 200 |
£ 25 |
Механическая прочность эльборовых кругов на органической и металлической связках должна контролироваться при скорости 1,5np.
Примечание. Круги типов 35, 36, 40, 41, 2 и шарошлифовальные, на механическую прочность не испытываются.
(Измененная редакция, Изм. № 1, 2).
10.4. Время вращения инструмента при испытании на механическую прочность должно быть:
для инструмента диаметром до 150 мм - 3 мин; св. 150 мм - 5 мин;
для эльборовых кругов диаметром до 150 мм - 1,5 мин (на керамической связке); 3 мин (на органической и металлической связках); св. 150 мм - 3,0 мин (на керамической связке); 5 мин (на органической и металлической связках).
Примечание. Время испытания отсчитывается с момента набора испытываемым кругом скорости nи.
(Измененная редакция, Изм. № 1).
10.5. Допускается проведение испытаний при испытательной скорости nи без выдержки времени вращения со скоростью, превышающей рабочую скорость в 1,65 раза кругов (кроме эльборовых на органической и металлической связках):
- работающих со скоростью до 50 м/с;
- на бакелитовой связке, работающих со скоростью до 60 м/с.
10.6. (Исключен, Изм. № 1).
10.7. Шлифовальные круги (кроме эльборовых), подвергшиеся химической обработке или механической переделке, а также круги, срок хранения которых истек, должны быть повторно испытаны на механическую прочность.
10.8. (Исключен, Изм. № 1).
10.9. Размеры кругов, подвергающихся одновременному испытанию на двух концах вала испытательного стенда, должны быть одинаковыми.
10.10. Размеры элементов крепления - по ГОСТ 2270. Наружный диаметр и ширина кольцевой прижимной поверхности у фланцев, между которыми при испытании находится круг, должны быть одинаковыми. Между фланцами и кругом должны ставиться прокладки из картона по ГОСТ 9347 или другого эластичного материала толщиной от 0,5 до 1 мм. Прокладки должны перекрывать всю прижимную поверхность фланцев и равномерно выступать наружу по всей окружности не менее чем на 1 мм. При установке на испытательный стенд шлифовальные круги должны центрироваться.
Примечание. Для кругов с наружным диаметром или диаметром отверстия, не предусмотренными в ГОСТ 2270, ширина кольцевой прижимной поверхности и высота испытательных фланцев выбираются по ближайшему размеру.
(Измененная редакция, Изм. № 2).
10.11. Для испытания кругов с диаметром отверстия, превышающим диаметр шпинделя испытательного стенда, допускается применять промежуточные втулки с наружным диаметром, равным диаметру отверстия круга. Высота посадочной поверхности промежуточной втулки должна быть не менее половины высоты испытываемого круга.
10.12. Допускается одновременно испытывать несколько кругов одинаковых размеров, отделенных друг от друга промежуточными фланцами такого же диаметра и с такой же кольцевой прижимной поверхностью, как и у основных фланцев, а также прокладками. При разрыве одного или нескольких испытываемых кругов они подлежат замене, а уцелевшие круги испытываются повторно.
10.13. (Исключен, Изм. № 1).
10.14. Результаты испытаний абразивного и эльборового инструмента у потребителя должны быть записаны в книгу, прошнурованную и скрепленную сургучной печатью, с пронумерованными страницами.
Форма записи должна соответствовать указанной в табл. 8.
Таблица 8
|
Дата испытания |
Предприятие-изготовитель |
Номер партии |
Обозначение типоразмера круга, стандарта или ТУ |
Характеристика круга и отметка о химической обработке или механической переделке |
Рабочая скорость np, указанная в маркировке круга, м/с |
Частота вращения круга при испытании, мин-1 |
Результат испытания |
Подпись лица, ответственного за испытание |
|
|
|
|
|
|
|
|
|
|
|
|
Примечания:
1. В графе «Результат испытания» в случае разрыва круга должна указываться скорость, при которой произошел разрыв.
2. На круге, выдержавшем испытание у потребителя, должна быть сделана отметка краской или наклеен специальный ярлык на нерабочей поверхности с указанием: порядкового номера круга, даты испытания, условного знака или подписи лица, ответственного за испытание.
(Измененная редакция, Изм. № 1).
10.15, 10.16. (Исключены, Изм. № 1).
ИНФОРМАЦИОННЫЕ ДАННЫЕ
1. РАЗРАБОТАН И ВНЕСЕН Министерством станкостроительной и инструментальной промышленности
2. УТВЕРЖДЕН И ВВЕДЕН В ДЕЙСТВИЕ Постановлением Государственного Комитета СССР по стандартам от 4.03.82 № 938
3. ВЗАМЕН ГОСТ 12.2.001-74
4. ССЫЛОЧНЫЕ НОРМАТИВНО-ТЕХНИЧЕСКИЕ ДОКУМЕНТЫ
|
Обозначение НТД, на который дана ссылка |
Номер пункта |
|
ГОСТ 12.2.010-75 |
|
|
ГОСТ 12.3.023-80 |
|
|
ГОСТ 2270-78 |
|
|
ГОСТ 21963-82 |
5. ИЗДАНИЕ (март 2001 г.) с Изменением № 1, 2, утвержденными в июле 1984 г., феврале 1992 г. (ИУС 11-84, 5-92)
СОДЕРЖАНИЕ