Нормативные документы размещены исключительно с целью ознакомления учащихся ВУЗов, техникумов и училищ.
Объявления:

ГОСТ 1437-75

МЕЖГОСУДАРСТВЕННЫЙ СТАНДАРТ

НЕФТЕПРОДУКТЫ ТЕМНЫЕ

УСКОРЕННЫЙ МЕТОД ОПРЕДЕЛЕНИЯ СЕРЫ

ИПК ИЗДАТЕЛЬСТВО СТАНДАРТОВ

Москва

ИНФОРМАЦИОННЫЕ ДАННЫЕ

1. РАЗРАБОТАН И ВНЕСЕН Министерством нефтеперерабатывающей и нефтехимической промышленности СССР

2. УТВЕРЖДЕН И ВВЕДЕН В ДЕЙСТВИЕ Постановлением Государственного комитета СССР по стандартам от 19.05.75 № 1342

3. ВЗАМЕН ГОСТ 1437-56

(Поправка, ИУС 1-2008).

4. ССЫЛОЧНЫЕ НОРМАТИВНО-ТЕХНИЧЕСКИЕ ДОКУМЕНТЫ

Обозначение НТД, на который дана ссылка

Номер пункта

ГОСТ 177-88

1.1

ГОСТ 1770-74

1.1

ГОСТ 3044-84

1.1

ГОСТ 3118-77

1.1

ГОСТ 3164-78

1.1

ГОСТ 4204-77

1.1

ГОСТ 4328-77

1.1

ГОСТ 4517-87

2.1.3

ГОСТ 4919.1-77

1.1

ГОСТ 5556-81

1.1

ГОСТ 8504-71

1.1

ГОСТ 9147-80

1.1

ГОСТ 9736-91

1.1

ГОСТ 9932-75

1.1

ГОСТ 10929-76

1.1

ГОСТ 16799-79

3.1, примечание

ГОСТ 17299-78

1.1

ГОСТ 18300-87

1.1

ГОСТ 20490-75

1.1

ГОСТ 25336-82

1.1

ГОСТ 25794.1-83

1.1

ГОСТ 25794.2-83

1.1

ГОСТ 29227-91

1.1

ГОСТ 29251-91

1.1

ТУ 6-09-5360-87

1.1

ТУ 16-671.025-84

1.1

5. Ограничение срока действия снято по протоколу № 2-92 Межгосударственного совета по стандартизации, метрологии и сертификации (ИУС 2-93)

6. ИЗДАНИЕ (май 2001 г.) с Изменениями № 1, 2, 3, утвержденными в мае 1981 г., июне 1987 г., феврале 1993 г. (ИУС 8-81, 9-87, 8-93)

МЕЖГОСУДАРСТВЕННЫЙ СТАНДАРТ

НЕФТЕПРОДУКТЫ ТЕМНЫЕ

Ускоренный метод определения серы

Dark petroleum products

Accelerated method for determination of sulphur

ГОСТ
1437-75

Дата введения 01.01.77

Настоящий стандарт устанавливает ускоренный метод определения массовой доли серы не менее 0,1 % в темных нефтепродуктах, включая масла и остаточные нефтепродукты, а также нефти, кокс и серосодержащие присадки.

Сущность метода заключается в сжигании нефтепродукта в струе воздуха, улавливании образующихся сернистого и серного ангидридов раствором перекиси водорода с серной кислотой и титровании раствором гидроокиси натрия.

Стандарт не распространяется на присадки, содержащие металлы, фосфор и хлор, а также на масла с этими присадками.

1. АППАРАТУРА, РЕАКТИВЫ И МАТЕРИАЛЫ

1.1. Аппарат для определения массовой доли серы, в который входят:

печь электрическая трубчатая горизонтальная длиной не менее 130 мм, внутренним диаметром 25 - 30 мм, с нихромовой обмоткой, обеспечивающей температуру нагрева 900 - 1000 °С, или печь электрическая трубчатая для микроанализа органических соединений, с термопарой ПП-1, разъемная СУОЛ-0,25.1,1/12 МР, обеспечивающая нагрев до 1200 °С;

автотрансформатор лабораторный типа ЛАТР-1М или типа ЛАТР-2М, или типа АО СН по ТУ 16-671.025-84, или другого аналогичного типа;

милливольтметр по ГОСТ 9736 с градуировкой ХА, с диапазоном измерения от 0 до 1100 °С или с градуировкой ПП-1, с диапазоном измерения от 0 до 1300 °С, или потенциометр по ГОСТ 3044* с градуировкой ХА, с диапазоном измерения от 0 до 1100 °С;

* На территории Российской Федерации действует ГОСТ Р 50431-92.

термопара типа ТХА (хромель-алюмель) или типа ТПП (платина-платинородий);

насос водоструйный;

воздуходувка или компрессор лабораторный, или общая магистраль для нагнетания воздуха;

реометры стеклянные лабораторные по ГОСТ 9932 типа РКС или любое другое измеряющее устройство с пределами измерения от 0 до 1,0 дм3/мин;

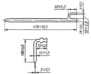
трубка кварцевая с кварцевым коленом (черт. 1);

склянки для очистки воздуха вместимостью не менее 250 см3;

допускается использовать прибор типа ПОСТ;

цилиндры измерительные или мензурки вместимостью 50, 250 см3 по ГОСТ 1770;

пипетки с делениями вместимостью 5 и 10 см3, бюретки вместимостью 5 и 10 см3 с ценой деления 0,02 см3, бюретки вместимостью 25 см3 с ценой деления 0,1 см3 любого типа по ГОСТ 29227, ГОСТ 29251;

колбы конические стеклянные лабораторные по ГОСТ 25336, вместимостью 250 см3;

трубки хлоркальциевые любого типа;

посуда лабораторная. Лодочки фарфоровые типа ЛС № 1 или 2 по ГОСТ 9147; допускается применять кварцевые лодочки тех же размеров; ступка с пестиком. Стакан фарфоровый;

капельницы лабораторные стеклянные по ГОСТ 25336;

груша резиновая;

микрошпатель металлический;

набор сит с отверстиями размером от 0,10 до 0,25 мм;

водорода перекись (пергидроль) по ГОСТ 10929 или по ГОСТ 177 медицинская или техническая, марки А и Б;

смешанный кислотно-основной индикатор (метиловый красный и метиленовый голубой), готовят по ГОСТ 4919.1;

фенолфталеин (индикатор) по ТУ 6-09-5360, спиртовой раствор с массовой долей 1 % готовят по ГОСТ 4919.1;

калий марганцовокислый по ГОСТ 20490, х. ч. или ч. д. а., раствор молярной концентрации с (1/5 КМnО4 = 0,1 моль/дм3 (0,1 н.), готовят по ГОСТ 25794.2;

калий йодноватокислый кислый по ГОСТ 8504, х. ч. или ч. д. а., или калий фталевокислый кислый х. ч. или ч. д. а.;

кальций хлористый плавленый;

аскарит ч. или известь натронная;

спирт этиловый ректификованный технический по ГОСТ 18300, высший сорт или спирт технический этиловый по ГОСТ 17299, марки А;

вата медицинская гигроскопическая по ГОСТ 5556;

шамот с частицами размером более 0,1 мм, прокаленный при 900 - 950 °С;

вода дистиллированная рН 5,4-6,6;

кислота серная по ГОСТ 4204, х. ч. или ч. д. а., молярные растворы концентраций с (1/2 H2SO4) = 1 моль/дм3 (1 н.), готовят по ГОСТ 25794.1, и с (1/2 H2SO4) = 0,02 моль/дм3 (0,02 н.);

натрия гидроокись по ГОСТ 4328, х. ч. или ч. д. а., концентрированный раствор, готовят по п. 2.1.1, и раствор молярной концентрации с (NaOH) = 0,02 моль/дм3 (0,02 н.);

масло вазелиновое медицинское по ГОСТ 3164 или любое маловязкое минеральное масло, проверенное на отсутствие серы;

весы лабораторные общего назначения с наибольшим пределом взвешивания 200 г 2-го класса точности;

колбы мерные вместимостью 1 дм3 по ГОСТ 1770;

кислота соляная по ГОСТ 3118, х. ч. или ч. д. а., раствор молярной концентрации с (HCl) = 1 моль/дм3 (1 н.).

Допускается готовить растворы, используя стандарт-титры (фиксаналы) в ампулах.

Допускается применять импортную аппаратуру, посуду по классу точности и реактивы с квалификацией чистоты не ниже указанных в стандарте.

(Измененная редакция, Изм. № 1, 2, 3).

Кварцевая трубка

Черт. 1

2. ПОДГОТОВКА К АНАЛИЗУ

2.1. Приготовление 0,02 моль/дм3 (0,02 н.) раствора гидроокиси натрия

2.1.1. В фарфоровом стакане в 100 см3 воды растворяют 100 г гидроокиси натрия. После охлаждения раствора до комнатной температуры его переносят в стеклянную или полиэтиленовую емкость, закрывают резиновой или полиэтиленовой пробкой и в течение 2 - 3 недель выдерживают до полного осаждения углекислого натрия. Полученный раствор декантируют и берут для анализа верхний прозрачный слой.

(Измененная редакция, Изм. № 3).

2.1.2. Кислый йодноватокислый калий дважды перекристаллизовывают, для этого готовят насыщенный водный раствор при 60 °С. Раствор в горячем состоянии фильтруют, затем охлаждают в бане, наполненной водой со льдом. Выделившиеся кристаллы отделяют и сушат при 95 - 100 °С до постоянной массы. Перекристаллизованный кислый йодноватокислый калий хранят в темной посуде в темноте.

При отсутствии кислого йодноватокислого калия молярную концентрацию (нормальность) можно устанавливать по кислому фталевокислому калию. Реактив предварительно перекристаллизовывают при температуре не ниже 25 °С во избежание образования кристаллов трифталата калия. Полученные кристаллы сушат до постоянной массы при 110 - 115 °С.

(Измененная редакция, Изм. № 1).

2.1.3. В отстоявшемся прозрачном концентрированном растворе (п. 2.1.1) устанавливают содержание гидроокиси натрия по плотности (с применением таблиц) или титрованием. При титриметрическом определении 1 см3 раствора доводят водой до 40 см3 и титруют раствором серной или соляной кислот концентрации 1 моль/дм3.

1 см3 раствора серной кислоты молярной концентрации точно с (1/2 H2SO4) = 1 моль/дм3 или соляной кислоты молярной концентрации точно с (НСl) = 1 моль/дм3 соответствует 0,04 г гидроокиси натрия.

Для приготовления раствора гидроокиси натрия концентрации 0,1 моль/дм3 в мерную колбу вместимостью 1 дм3 помещают рассчитанный в соответствии с приложением объем концентрированного раствора, содержащего 4,0 г гидроокиси натрия, доводят объем раствора до метки дистиллированной водой, не содержащей углекислоты, и перемешивают.

Дистиллированную воду, не содержащую углекислоту, готовят по ГОСТ 4517.

(Измененная редакция, Изм. № 3).

2.1.4. Коэффициент поправки раствора гидроокиси натрия концентрации 0,1 моль/дм3 определяют по кислому йодноватокислому калию или кислому фталевокислому калию.

В три конические колбы помещают 0,420 - 0,525 г кислого йодноватокислого калия или по 0,4 г кислого фталевокислого калия, взвешенного с погрешностью не более 0,0002 г, растворяют в 35 см3 горячей воды. После охлаждения добавляют при использовании кислого йодноватокислого калия 8 капель смешанного индикатора (метиловый красный и метиленовый голубой) и титруют до перехода фиолетовой окраски раствора в ярко-зеленую, а при использовании кислого фталевокислого калия добавляют 3 - 4 капли фенолфталеина и титруют до появления слабо-розовой окраски, устойчивой в течение 30 с (без перемешивания).

Примечания:

1. Верхний конец бюретки должен быть защищен хлоркальциевой трубкой, заполненной аскаритом или натронной известью и хлористым кальцием.

2. Допускается определять коэффициент поправки раствора едкого натра по янтарной кислоте.

2.1.5. Коэффициент поправки вычисляют по формуле

,

где т1 -   масса навески установочного вещества (кислого йодноватокислого калия или кислого фталевокислого калия), г;

М1 - молярная масса эквивалента установочного вещества (389,91 - для кислого йодноватокислого калия, 204,23 - для кислого фталевокислого калия), г/моль;

с1 -    заданная концентрация вещества в растворе, моль/дм3;

V-     объем анализируемого раствора, израсходованный на титрование, см3.

Точную концентрацию (моль/дм3) раствора определяют по формуле

с = с1 · К,

где К - коэффициент поправки.

Точная концентрация вещества в растворе выражается четырьмя значащими цифрами после запятой.

Точную концентрацию 0,1 моль/дм3 раствора гидроокиси натрия проверяют не реже одного раза в месяц.

2.1.6. Раствор гидроокиси натрия концентрации 0,02 моль/дм3 готовят из 0,1 моль/дм3 раствора гидроокиси натрия (п. 2.1.3) разбавлением дистиллированной водой в соотношении 1:5.

Разбавленный раствор гидроокиси натрия концентрации 0,02 моль/дм3 применяют свежеприготовленным. Устойчивость раствора - 8 ч.

2.1.4 - 2.1.6. (Введены дополнительно, Изм. № 3).

2.2. Подготовка аппаратуры

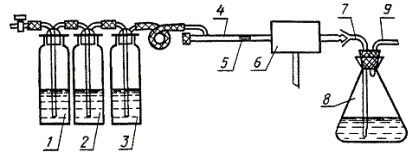
2.2.1. Собирают систему (черт. 2) для очистки воздуха. Для этого первую склянку заполняют приблизительно на половину объема 0,1 моль/дм3 раствором марганцовокислого калия, вторую - концентрированным раствором гидроокиси натрия и третью - ватой и соединяют их последовательно резиновой трубкой. В приемник наливают 150 см3 воды, 5 см3 пергидроля и 7 см3 0,01 моль/дм3 (0,02 н.) раствора серной кислоты. Приемник закрывают резиновой пробкой, снабженной кварцевым коленом и отводной трубкой. Колено присоединяют с помощью шлифа к кварцевой трубке, которую устанавливают горизонтально в печи. Другой конец трубки закрывают резиновой прокладкой и через боковой отросток присоединяют к очистительной системе, соединенной с приспособлением для нагнетания воздуха. Перед очистительной системой устанавливают устройство для измерения скорости потока воздуха.

(Измененная редакция, Изм. № 1, 3).

2.2.2. Перед проведением анализа собранный аппарат проверяют на герметичность. Для этого отводную трубку приемника присоединяют к водоструйному насосу, через всю систему просасывают воздух и закрывают кран на отводной трубке очистительной системы. При этом не должно появляться пузырьков воздуха в приемнике и очистительной системе. В случае негерметичности системы все места соединений обрабатывают мыльной водой, находят место пропуска и устраняют его.

1 - склянка с марганцовокислым калием; 2- склянка с 40 %-ным раствором гидроокиси натрия; 3 - склянка с гигроскопической ватой; 4 - кварцевая трубка; 5 - лодочка; 6 - электропечь; 7 - кварцевое колено; 8 - приемник; 9 - отводная трубка

Черт. 2.

2.2.3. Одновременно включают печь и постепенно нагревают ее до 900 - 950 °С. Для регулирования и измерения температуры нагрева печи включают автотрансформатор и вставляют в печь термопару так, чтобы ее спай находился в середине печи, концы термопары присоединяют к измерительному прибору.

2.2.4. Прибор типа ПОСТ настраивают и эксплуатируют в соответствии с инструкцией по эксплуатации и техническим описанием прибора.

(Измененная редакция, Изм. № 1).

3. ПРОВЕДЕНИЕ АНАЛИЗА

3.1. Анализируемый нефтепродукт взвешивают с погрешностью не более 0,0002 г в фарфоровой лодочке, на дно которой помещено небольшое количество шамота. Навеску равномерно распределяют по всей лодочке. Массу анализируемого вещества берут по табл. 1.

Таблица 1

Предполагаемое содержание серы в нефтепродукте, %

Масса навески, г

Менее 2

0,2 - 0,1

2 - 5

0,1 - 0,05

Если в анализируемом нефтепродукте содержится более 5 % серы, то его предварительно разбавляют медицинским или любым маловязким минеральным маслом, проверенным на отсутствие серы так, чтобы содержание серы не превышало 5 %.

Примечание. При анализе высокосернистых продуктов (с содержанием серы более 5 %) вместо разбавления допускается взятие навесок на микровесах менее 0,03 г с погрешностью не более 0,00003 г.

При анализе нефтяного кокса пробу подготавливают по ГОСТ 16799 с последующим измельчением в ступке.

При анализе нефтей навеску берут в количестве 0,05 - 010 г.

3.2. Массу нефтепродукта в лодочке засыпают предварительно просеянным и прокаленным шамотом (массу кокса шамотом не засыпают) и помещают в кварцевую трубку перед входом в печь. Трубку быстро закрывают пробкой и пропускают через систему воздух со скоростью около 0,5 дм3/мин, измеряя скорость подачи воздуха с помощью реометра или другого измеряющего устройства.

Сжигание нефтепродукта проводят при 900 - 950 °С в течение 30 - 40 мин, а для летучих продуктов (нефтей) и продуктов, содержащих 50 % и более ароматических соединений, в течение 50 - 60 мин, постепенно передвигая трубку с лодочкой вдоль печи, не давая продукту воспламеняться. После этого трубку с лодочкой помещают в центральную, наиболее раскаленную часть печи, где ее прокаливают еще в течение 15 мин.

3.3. По окончании сжигания трубку с лодочкой постепенно в течение 10 - 15 мин отодвигают в обратном направлении, отсоединяют приемник от трубки и промывают кварцевое колено 25 дм3 дистиллированной воды, сливая ее в приемник. Содержимое приемника титруют 0,02 моль/дм3 (0,02 н.) раствором гидроокиси натрия в присутствии 8 капель смешанного индикатора до перехода фиолетовой окраски раствора в ярко-зеленую. Если продукт содержит более 2 % серы, то для титрования применяют бюретку вместимостью на 25 см3.

3.1 - 3.3. (Измененная редакция, Изм. № 1, 3).

3.4. Перед анализом проб нефтепродуктов проводят контрольный опыт в тех же условиях (по пп. 3.2 - 3.3, но без навески нефтепродукта).

(Измененная редакция, Изм. № 3).

4. ОБРАБОТКА РЕЗУЛЬТАТОВ

4.1. Массовую долю серы (X) в процентах вычисляют по формуле

,

где V0 -      объем раствора гидроокиси натрия, израсходованный на титрование контрольного опыта, см3;

V1 -      объем раствора гидроокиси натрия, израсходованный на титрование после сжигания нефтепродукта, см3;

с -        молярная концентрация вещества эквивалента, моль/дм3;

16 -      эквивалентная масса серы, г;

m2 -      масса продукта, взятого на анализ, г.

4 2. При разбавлении нефтепродукта маслом массовую долю серы 1) в процентах вычисляют по формуле

,

где m3 - суммарная масса медицинского масла и продукта, взятого на разбавление, г;

m4 - масса высокосернистого продукта, взятого на разбавление, г;

m5 - масса смеси, взятой на анализ, г.

4.1; 4.2. (Измененная редакция, Изм 3).

4.3. За результат анализа принимают среднее арифметическое двух последовательных определений. Результат округляют до 0,01 %.

(Измененная редакция, Изм. № 1).

4.4; 4.5. (Исключены, Изм. № 2).

5. ТОЧНОСТЬ МЕТОДА

5.1. Сходимость

Результаты определения, полученные последовательно одним лаборантом, признаются достоверными (при доверительной вероятности 95 %), если расхождение между ними не превышает значения, указанные в табл. 2.

5.2. Воспроизводимость

Результаты анализа, полученные в двух разных лабораториях, признаются достоверными (при доверительной вероятности 95 %), если расхождение между ними не превышает значения, указанные в табл. 2.

Таблица 2

Массовая доля серы, %

Сходимость, %

Воспроизводимость, %

До 1,0

0,05

0,20

Св. 1,0 до 2,0

0,05

0,25

» 2,0 » 3,0

0,10

0,30

» 3,0 » 5,0

0,10

0,45

Разд. 5. (Введен дополнительно, Изм. № 2).

ПРИЛОЖЕНИЕ

Рекомендуемое

ПРИМЕР РАСЧЕТА КОНЦЕНТРАЦИИ РАСТВОРА ГИДРООКИСИ НАТРИЯ, ПРИГОТОВЛЕННОГО ПО пп. 2.1.1 И 2.1.3

Допустим, что концентрированный раствор имеет плотность 1,410 г/см3. По таблице находим, что концентрация гидроокиси натрия равна 38 %. Требуется приготовить 1 дм3 раствора с (NaOH) = 0,1 моль/дм3 (0,1 н.).

Грамм-эквивалент гидроокиси натрия равен 40,00.

В мерной колбе в 1 дм3 дистиллированной воды растворяют 4,00 г гидроокиси натрия (40,00·0,1 = 4,00 г) 100 г концентрированного раствора содержат 38,0 г гидроокиси натрия. Можно определить, в каком количестве раствора (X) содержится 4,00 г гидроокиси натрия.

Составим пропорцию:

100:38,00 = X:4,00, откуда

Х = 10,53 г.

Вычисляем объем полученного количества раствора (X):

10,53:1,410 = 7,5 см3.

В мерную колбу вместимостью 1 дм3 помещают 7,5 см3 концентрированного раствора гидроокиси натрия и доводят до метки дистиллированной водой.

Полученный раствор гидроокиси натрия концентрации с (NaOH) = 0,1 моль/дм3 (1 н.) хранят в полиэтиленовых сосудах.

ПРИЛОЖЕНИЕ. (Введено дополнительно, Изм. № 3).

СОДЕРЖАНИЕ

1. Аппаратура, реактивы и материалы.. 2

2. Подготовка к анализу. 4

3. Проведение анализа. 6

4. Обработка результатов. 7

5. Точность метода. 7

Приложение. Пример расчета концентрации раствора гидроокиси натрия, приготовленного по пп. 2.1.1 и 2.1.3. 7

 

2008-2013. ГОСТы, СНиПы, СанПиНы - Нормативные документы - стандарты.