ГОСТ 1567-97
(ИСО 6246-95)
МЕЖГОСУДАРСТВЕННЫЙ СТАНДАРТ
Нефтепродукты
БЕНЗИНЫ АВТОМОБИЛЬНЫЕ
И ТОПЛИВА АВИАЦИОННЫЕ
Метод
определения смол
выпариванием струей
МЕЖГОСУДАРСТВЕННЫЙ СОВЕТ
ПО СТАНДАРТИЗАЦИИ, МЕТРОЛОГИИ И СЕРТИФИКАЦИИ
Минск
Предисловие
1 РАЗРАБОТАН МТК 31 «Нефтяные топлива и смазочные материалы» (ВНИИ НП)
ВНЕСЕН Госстандартом России
2 ПРИНЯТ Межгосударственным Советом по стандартизации, метрологии и сертификации (протокол № 11-97 от 25 апреля 1997 г.)
За принятие проголосовали:
|
Наименование государства |
Наименование национального органа со стандартизации |
|
Республика Азербайджан |
Азгосстандарт |
|
Республика Армения |
Армгосстандарт |
|
Республика Беларусь |
Госстандарт Беларуси |
|
Республика Грузия |
Грузстандарт |
|
Республика Казахстан |
Госстандарт Республики Казахстан |
|
Кыргызская Республика |
Кыргызстандарт |
|
Республика Молдова |
Молдовастандарт |
|
Российская Федерация |
Госстандарт России |
|
Республика Таджикистан |
Таджикгосстандарт |
|
Туркменистан |
Главная государственная инспекция Туркменистана |
|
Республика Узбекистан |
Узгосстандарт |
|
Украина |
Госстандарт Украины |
3 Разделы настоящего стандарта представляют собой аутентичный текст международного стандарта ИСО 6246-95 «Нефтепродукты. Определение содержания смол в легких и среднедистиллятных топливах. Метод выпаривания струей» с дополнениями, отражающими потребности экономики страны
4 Постановлением Государственного комитета Российской Федерации по стандартизации и метрологии от 9 февраля 1999 г. № 32 межгосударственный стандарт ГОСТ 1567-97 (ИСО 6246-95) введен в действие непосредственно в качестве государственного стандарта Российской Федерации с 1 июля 1999 г.
5 ВЗАМЕН ГОСТ 1567-83
6 ПЕРЕИЗДАНИЕ. Май 2001 г.
ГОСТ 1567-97
(ИСО 6246-95)
МЕЖГОСУДАРСТВЕННЫЙ СТАНДАРТ
Нефтепродукты
БЕНЗИНЫ АВТОМОБИЛЬНЫЕ И ТОПЛИВА АВИАЦИОННЫЕ
Метод определения смол выпариванием струей
Petroleum products. Motor gasolines and aviation fuels. Determination of gum content by jet evaporation method
Дата введения 1999-07-01
1.1 Настоящий стандарт устанавливает метод определения фактических смол в автомобильном и авиационном бензинах, легких дистиллятах, используемых для их получения, а также в авиационных топливах для турбореактивных двигателей.
1.2 Стандарт также устанавливает определение содержания непромытых смол в автомобильном бензине.
1.3 Основная цель испытаний - измерение количества продуктов окисления, образующихся в топливах, в условиях, приближенных или воспроизводящих условия применения этих топлив на соответствующих двигателях.
Дополнения, отражающие потребности экономики страны, выделены курсивом.
В настоящем стандарте использованы ссылки на следующие стандарты:
ГОСТ 400-80 Термометры стеклянные для испытаний нефтепродуктов. Технические условия
ГОСТ 1770-74 Посуда мерная лабораторная стеклянная. Цилиндры, мензурки, колбы, пробирки. Общие технические условия
ГОСТ 2517-85 Нефть и нефтепродукты. Методы отбора проб
ГОСТ 2603-79 Ацетон. Технические условия
ГОСТ 12026-76 Бумага фильтровальная лабораторная. Технические условия
ГОСТ 14710-78 Толуол нефтяной. Технические условия
ГОСТ 29169-91 Посуда лабораторная стеклянная. Пипетки с одной отметкой
ГОСТ 25336-82 Посуда и оборудование лабораторные стеклянные. Типы, основные параметры и размеры
ГОСТ 25828-83 Гептан нормальный эталонный. Технические условия
3.1 Фактические смолы - остаток от выпаривания авиационного бензина или топлива для турбореактивных двигателей или нерастворимая в гептане часть остатка от выпаривания автомобильного бензина (промытые смолы).
3.2 Непромытые смолы - остаток от выпаривания автомобильного бензина, состоящий из фактических смол и трудноиспаряющихся компонентов присадки.
Метод заключается в испарении определенного объема топлива при заданных температурах и расходе воздуха и пара с последующим определением остатка или массы остатка, промытого растворителем.
5.1. Воздух очищенный, подается под давлением, не превышающим 34,5 кПа.
5.2 Толуол С6Н5СН3 [1] или по ГОСТ 14710.
5.3 Ацетон СН3СО СН3 [1] или по ГОСТ 2603.
5.4 Растворитель для смол: смесь равных объемов толуола и ацетона в соотношении 1:1.
5.5 Гептан СН3(СН2)5СН3 [1] или гептан нормальный эталонный по ГОСТ 25828.
5.6. Пар, не содержащий масла, подается при давлении не ниже 34,5 кПа.
5.7 Вода [2].
Допускается применять другие реактивы с квалификацией чистоты ч. д. а.
6.1 Весы с погрешностью взвешивания не более 0,1 мг или весы лабораторные общего назначения с пределом взвешивания 200 г не ниже 2-го класса точности.
6.2 Лабораторные стаканы вместимостью 100 см3, как указано на рисунке 1. Стаканы помещают комплектами, причем их количество в каждом комплекте зависит от числа гнезд в бане для выпаривания. На каждом стакане делают несмываемую метку в виде номера или буквы, оставляя стакан с минимальной массой для использования в качестве тары.
6.3 Емкость для охлаждения - эксикатор или герметично закрытая емкость другого типа для охлаждения стаканов перед взвешиванием или эксикаторы по ГОСТ 25336, не содержащие высушивающего вещества.
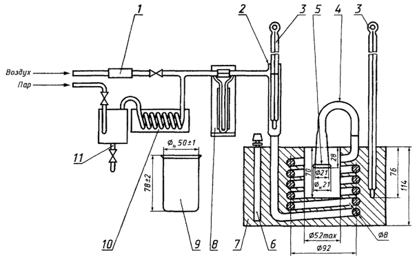
6.4 Баня для выпаривания, представляющая собой цельнометаллический блок или емкость, заполненную жидкостью, с электрообогревом (рисунок 1). В бане предусмотрены гнезда и выпускные отверстия для двух или более стаканов. Скорость потока из каждого выпускного отверстия, снабженного коническими держателями, должна быть (1000 ± 150) см3/с. При применении жидкостной бани уровень соответствующей жидкости должен быть на расстоянии 25 мм от верхнего края. Температуру бани можно поддерживать автоматическим регулированием или нагреванием с обратным холодильником жидкостей соответствующего состава.
1 - фильтр из хлопчатобумажной или стеклянной ваты; 2 - гнездо для термометра (произвольное); 3 - термометры; 4 - съемный держатель (адаптер); 5 - медный экран 500 - 600 мкм; 6 - терморегулятор; 7 - баня (цельнометаллический блок); 8 - расходомер; 9 - стакан; 10 - пароперегреватель; 11 - пароулавливатель
Рисунок 1 - Аппарат для определения содержания смол выпариванием струей
6.5 Расходомер, обеспечивающий измерение общего расхода воздуха или пара 1000 см3/с для каждого выпускного отверстия.
6.6 Воронка фильтрующая вместимостью 150 см3, изготовленная из спеченного стекла с максимальным диаметром пор 150 - 250 мкм.
6.7 Пароперегреватель с газовым или электрическим обогревом, обеспечивающий подачу необходимого количества пара при (232 ± 3) °С к входному отверстию бани.
6.8 Термометр, удовлетворяющий требованиям, изложенным в приложении А.
6.9 Цилиндры мерные вместимостью 50 см3, 100 см3 и 2 дм3 [3].
6.10 Щипцы из нержавеющей стали.
6.11 Термостат, регулируемый на (150 ± 2) °С.
6.12 Цилиндры измерительные 1 - 25, 3 - 25, 1 - 50 по ГОСТ 1770.
6.13 Цилиндры или сосуд вместимостью 2 дм3.
6.14 Пипетки исполнений 1а, 2, 2а, 1-го и 2-го классов точности вместимостью 25 см3 по ГОСТ 29169-91.
6.15 Воздуходувка или лабораторный компрессор, или общая магистраль для подачи воздуха.
6.16 Воронка фильтровальная со стеклянным спеком Г-1 или Г-2, вместимостью 150 см3 или бумага фильтровальная по ГОСТ 12026.
6.17 Пинцет.
6.18 Термометры стеклянные типа ТИН 4 или ТИН 9 по ГОСТ 400.
6.19 Аппарат для определения фактических смол (рисунок 1) или типа ТЛ-2.
6.20 Фильтр из стеклянного волокна.
7.1 Собирают аппарат, как указано на рисунке 1. При комнатной температуре регулируют поток воздуха так, чтобы получить из одного выпускного отверстия скорость потока 600 см3/с при постоянном местоположении конического держателя.
Регулируют скорость потока в каждом выпускном отверстии 510 - 690 см3/с, отмечают общую скорость потока, указанную расходомером.
Примечание - Скорость потока (600 ± 90) см3/с для каждого выпускного отверстия обеспечивается общей скоростью потока (1000 ± 150) см3/с при температуре (155 + 5) °С и давлении на выходе расходомера не выше 34,5 кПа, при условии, если расходомер откалиброван в условиях окружающей среды.
8.1 Собирают аппарат, как указано на рисунке 1.
Для этого регулируют поступление пара так, чтобы общее показание расходомера соответствовало требованиям 8.3 и 8.4. Температуру бани устанавливают (239 ± 7) °С, а пароперегреватель регулируют с таким расчетом, чтобы обеспечить температуру в гнезде (232 ± 3) °С. Температуру измеряют в гнезде термометром (6.8), шарик которого касается дна лабораторного стакана.
Гнездо, температура которого отличается от 232 °С более чем на 3 °С, для стандартных испытаний непригодно.
Для этого к выходному отверстию для пара подключают медную трубку, а второй ее конец вводят в цилиндр (6.9) вместимостью 2 дм3, предварительно наполненный дробленым льдом и взвешенный. Пар подается в цилиндр приблизительно 60 с, а затем цилиндр опять взвешивают. Во избежание чрезмерного противодавления цилиндр устанавливают таким образом, чтобы конец медной трубки был погружен в воду на глубину не менее 50 мм.
Количество конденсированного пара определяют по увеличению массы цилиндра. Скорость подачи пара S, см3/с, при 232 °С вычисляют по формуле
S = (m0 - m1) 1000/Kt,
где m0 - масса цилиндра с конденсированным паром, г;
m1 - масса цилиндра со льдом, г;
К - масса (0,434 г) 1000 см3 пара при 232 °С и атмосферном давлении;
t - время конденсации, с.
8.4 Выход пара из выпускных отверстий регулируют так, чтобы скорость подачи пара установилась (1000 ¸ 150) см3/с, записывают показания расходомера и приступают к подготовке аппарата по 8.2.
Отбор проб - по ГОСТ 2517, [4] и [5].
10.1 Лабораторные стаканы (6.2), включая стакан для контрольного опыта, промывают растворителем (5.4) до тех пор, пока не удалят все смолы. Стаканы тщательно прополаскивают водой и погружают в моющий раствор. Тип детергента и условия его применения устанавливают в каждой лаборатории. Критерием удовлетворительной очистки может служить сравнение качества очистки стаканов при применении раствора хромовой кислоты (в свежей хромовой кислоте выдерживают в течение 6 ч, ополаскивают дистиллированной водой и сушат). Вынимают стаканы из раствора с помощью щипцов из нержавеющей стали (6.10) и в дальнейшем не касаются стаканов руками, а пользуются щипцами.
Стаканы тщательно промывают сначала водопроводной, а затем дистиллированной водой [2ъ и сушат в термостате (6.11) при 150 °С не менее 1 ч. Стаканы охлаждают не менее 2 ч в емкости для охлаждения (6.3), помещаемой около весов (6.1).
При очистке моющими средствами соблюдают правила предосторожности так же тщательно, как при работе с раствором коррозионно-агрессивной хромовой кислоты. Последний используют в качестве эталона, он может заменять моющие растворы в указанной методике очистки.
Предупреждение - Хромовая кислота опасна для здоровья. Она токсична, является признанным канцерогеном, так как содержит соединения Cr (VI), коррозионно-агрессивна и потенциально опасна при контакте с органическими веществами. При очистке с помощью раствора хромовой кислоты надевают защитную одежду и защищают глаза. Нельзя засасывать ртом указанный раствор, после использования раствор нельзя сливать, его следует нейтрализовать с особой тщательностью из-за присутствующей в нем серной кислоты и разложить в соответствии со стандартными методиками для токсичных лабораторных отходов (хром чрезвычайно опасен для окружающей среды). Очищающие растворы сильно окисляющих кислот, не содержащие хром, также очень коррозионные и потенциально опасные при контакте с органическими материалами, не вызывают проблемы с ликвидацией.
10.2 По таблице 1 подбирают условия, необходимые для испытания авиационных и автомобильных бензинов или топлив для турбореактивных двигателей, и устанавливают аппарат в соответствии с методикой, указанной в 7.2 или 8.2. При применении наружного обогрева температуру среды, в которой происходит испарение, регулируют так, чтобы обеспечить заданную температуру в гнезде, в котором проводят определение.
Таблица 1 - Условия испытаний
|
Испаряющий агент |
Температура определения, °С |
||
|
бани |
гнезда |
||
|
Бензин авиационный и автомобильный |
Воздух |
160 - 165 |
150 - 160 |
|
Топливо для турбореактивных двигателей |
Пар |
232 - 246 |
229 - 235 |
При испытании топлив для турбореактивных двигателей допускается использовать в качестве испаряющего агента воздух при температуре бани 177 - 187 °С, гнезда 173 - 183 °С.
10.3 Стаканы взвешивают с погрешностью не более 0,1 мг относительно контрольного стакана.
При использовании весов с одной чашкой стакан для контрольного опыта взвешивают.
10.4 Если в испытуемом образце присутствуют взвешенные или осевшие твердые частицы, топливо тщательно перемешивают в емкости. Какое-то количество образца сразу фильтруют при атмосферном давлении через фильтрующую воронку (6.6). Фильтрат используют, как указано в 10.5 - 10.7.
Следует соблюдать осторожность, избегать разбрызгивания при введении струи воздуха или пара. Разбрызгивание может являться причиной ошибок в значениях фактических смол.
Примечание - Для получения более точных результатов для каждого образца целесообразно проводить параллельные испытания.
10.6 По окончании нагревания стаканы вынимают из бани и переносят для охлаждения в емкость (6.3), которую помещают около весов, и охлаждают не менее 2 ч. Стаканы взвешивают в соответствии с 10.3.
10.8 В каждый из стаканов, отделенных по 10.7, и контрольный стакан добавляют 25 см3 гептана (5.5) и встряхивают в течение 30 с. Смесь выдерживают 10 мин.
10.9 Раствор гептана сливают и отбрасывают, предотвратив потери любого твердого остатка.
10.10 Повторяют экстрагирование, добавляя повторно 25 см3 гептана, как указано в 10.8 –1 0.9. Экстрагирование проводят третий раз, если экстракт окрашен.
10.11 Стаканы, включая стакан для контрольного опыта, помешают в баню для выпаривания, температура которой 160 - 165 °С, и, не устанавливая конических держателей, сушат их в течение 5 мин.
10.12 По окончании сушки стаканы удаляют из бани и помещают в емкость для охлаждения (6.3), стоящую около весов; охлаждают не менее 2 ч. Взвешивают и записывают массу стаканов.
11.1 Концентрацию смол А, мг/100 см3 вычисляют по формуле
А = 2000 [(m1 - m3) - (m2 - m4)],
где m1 - масса стакана для образца с остатком, г;
m2 - масса контрольного стакана после испытания, г;
m3 - масса пустого стакана для образца, г;
m4 - масса контрольного стакана до испытания, г.
11.2 Если взвешивания проведены с учетом контрольного опыта до и после испытания на весах с двумя чашками, то используют формулу
А = 2000 (m5 - m6),
где m5 = m1 - m4, г;
m6 = m3 - m4, г.
При объеме испытуемого топлива 25 см3 содержание смол вычисляют по формулам, используя коэффициент 4000.
За результат определения принимают среднее арифметическое двух определений.
12.1 Для авиационных топлив результаты записывают с точностью до 1 мг/100 см3 как фактические смолы.
12.2 Для автомобильных топлив результаты записывают с точностью до 1 мг/100 см3 как содержание непромытых смол или содержание промытых (фактических) смол или то и другое.
12.3 Для всех топлив в случае, если до выпаривания проводилось фильтрование (10.4), после цифрового значения записывают слово «отфильтрованные».
Точность метода, полученная статистическим исследованием межлабораторных результатов испытания, приведена в 13.1 и 13.2 и представлена графически на рисунках 2 - 4.
Расхождение между последовательными результатами определения, полученными одним и тем же оператором на одной и той же аппаратуре при постоянно действующих условиях, при нормальном и правильном выполнении метода испытания, не должно превышать нижеуказанные значения более одного случая из двадцати.
r = 1,71 + 0,095х для фактических смол (авиационный бензин);
r = 0,5882 + 0,249х для фактических смол (топливо для турбореактивных двигателей);
r = 0,42х для непромытых смол;
r = 0,882 + 0,2746х для промытых смол,
где х - среднее значение сравниваемых результатов.
Расхождение между двумя единственными и независимыми результатами испытаний, полученными разными операторами, работающими в разных лабораториях на идентичном исследуемом материале при нормальном и правильном выполнении метода испытания, не должно превышать нижеуказанные значения более одного случая из двадцати.
R = 2,60 + 0,126x для фактических смол (авиационный бензин);
R = 2,941 + 0,2794х для фактических смол (только для турбореактивных двигателей);
R = 1,333х для непромытых смол;
R = 1,06 + 0,5567х для промытых смол;
где х - среднее значение сравниваемых результатов.
Примечание - Вышеприведенные значения точности метода для содержания промытых и непромытых смол были получены только на образцах автомобильного бензина.
1 - воспроизводимость; 2 - сходимость
Рисунок 2 - Точность определения фактических смол
Протокол испытания должен содержать следующие данные:
а) ссылку на стандарт;
б) тип и идентификацию испытуемого продукта;
в) результат испытания (раздел 12);
г) любое отклонение по соглашению или другим документам;
д) дату испытания.

1 - воспроизводимость; 2- сходимость
Рисунок 3 - Точность определения содержания непромытых смол
1 - воспроизводимость; 2 - сходимость
Рисунок 4 - Точность определения содержания промытых (фактических) смол
(обязательное)
А.1 Термометр, указанный в 6.8, должен соответствовать требованиям таблицы А.1.
Таблица А.1 - Технические требования к термометрам для определения содержания смол выпариванием струей
|
Значение |
|
|
1 Диапазон температур, °С |
От - 5 до + 400 |
|
2 Цена деления, °С |
1 |
|
3 Погружение, мм |
76 |
|
4 Общая длина, мм |
410 - 420 |
|
5 Диаметр стержня, мм |
От 6,0 до 7,5 |
|
6 Форма ртутного резервуара |
Цилиндрическая |
|
7 Длина ртутного резервуара, мм |
От 10 до 15 |
|
8 Диаметр ртутного резервуара, мм |
От 5,0 до 6,0 |
|
9 Длина градуированной части, мм |
250 - 290 |
|
10 Расстояние от дна ртутного резервуара до метки, °С |
100 - 110 |
|
11 Длинные штрихи через каждые |
5 °С |
|
12 Цифровые обозначения через каждые |
10 °С |
|
13 Камера расширения |
См. примечание |
|
14 Погрешность шкалы, не более |
1 °С - до 301 °С, 1,5 °С - свыше 301 °С |
|
Примечание - Камера расширения предусматривает сброс давления газа, чтобы избежать разрушения ртутного резервуара при высоких температурах. Нельзя соединять разделившийся столбик ртути и нагревать термометр выше самого высокого показания |
|
А.2 Поправка на выступающий столбик ртути
Если средняя температура среды, окружающей выступающий столбик ртути, отличается от ожидаемой температуры выступающего столбика, представленной в таблице А.2, показания термометра должны быть соответствующим образом скорректированы.
Таблица А.2 - Поправки на выступающий столбик ртути
В градусах Цельсия
|
Средняя температура выступающего столбика ртути |
|
|
0 |
19 |
|
100 |
50 |
|
200 |
75 |
|
300 |
89 |
|
370 |
92 |
|
400 |
94 |
Допускается использовать стеклянные термометры типа ТИН 9 и ТИН 4 по ГОСТ 400.
[3] ИСО 4788-1980 Лабораторная стеклянная посуда. Мерные цилиндры
[4] ИСО 3170-1988 Жидкости нефтяные. Отбор проб вручную
[5] ИСО 3171-1988 Жидкости нефтяные. Автоматический отбор проб из трубопровода
Ключевые слова: бензины автомобильные, топлива авиационные, фактические смолы, растворитель, гептан, расходомер, пароперегреватель, термостат
|
1 Назначение и область применения. 2 7 Сборка аппарата для выпаривания пробы в струе воздуха. 3 8 Сборка аппарата для выпаривания пробы в струе пара. 3 Технические требования к термометрам.. 6
|