
ГОСУДАРСТВЕННЫЙ СТАНДАРТ СОЮЗА ССР
ТРАНСФОРМАТОРЫ СИЛОВЫЕ
ТЕРМИНЫ И ОПРЕДЕЛЕНИЯ
ГОСТ
16110-82
(СТ СЭВ 1103-78)
ГОСУДАРСТВЕННЫЙ
КОМИТЕТ СССР ПО СТАНДАРТАМ
Москва
ГОСУДАРСТВЕННЫЙ СТАНДАРТ СОЮЗА ССР
|
ТРАНСФОРМАТОРЫ СИЛОВЫЕ Термины и определения Power transformers. |
ГОСТ 16110-82 (СТ СЭВ 1103-78) Взамен ГОСТ 16110-70 |
Постановлением Государственного комитета СССР по стандартам от 4 марта 1982 г. № 940 срок введения установлен
с 01.07.82
Настоящий стандарт устанавливает применяемые в науке, технике и производстве термины и определения основных понятий в области силовых трансформаторов. Стандарт распространяется на силовые трансформаторы - трехфазные и многофазные мощностью 6,3 кВ·А и более и однофазные мощностью 5 кВ·А и более.
Термины, установленные стандартом, обязательны для применения в документации всех видов, научно-технической, учебной и справочной литературе.
Стандарт полностью соответствует СТ СЭВ 1103-78.
Для каждого понятия установлен один стандартизованный термин. Применение терминов-синонимов стандартизованного термина запрещается.
Для отдельных стандартизованных терминов в стандарте приведены в качестве справочных краткие формы, которые разрешается применять в случаях, исключающих возможность их различного толкования. Установленные определения можно, при необходимости, изменять по форме изложения, не допуская нарушения границ понятий.
Термины, помеченные*, не распространяются на автотрансформаторы.
В стандарте приведен алфавитный указатель содержащихся в нем терминов.
В стандарте имеется справочное приложение, содержащее эскизы, поясняющие некоторые термины.
Стандартизованные термины набраны полужирным шрифтом, их краткая форма - светлым.
|
Термин |
Определение |
1. ОБЩИЕ ПОНЯТИЯ |
|
|
Статическое электромагнитное устройство, имеющее две или более индуктивно связанных обмоток и предназначенное для преобразования посредством электромагнитной индукции одной или нескольких систем переменного тока в одну или несколько других систем переменного тока |
|
|
Трансформатор, предназначенный для преобразования электрической энергии в электрических сетях и в установках, предназначенных для приема и использования электрической энергии. Примечание. К силовым относятся трансформаторы трехфазные и многофазные мощностью 6,3 кВ·А и более, однофазные мощностью 5 кВ·А и более |
|
|
Устройство, в котором конструктивно объединены два или более силовых трансформаторов |
|
|
Группа однофазных трансформаторов, обмотки которых соединены так, что в каждой из обмоток группы может быть создана система переменного тока с числом фаз, равным числу трансформаторов. Примечание. Многофазная трансформаторная группа, имеющая три однофазных трансформатора, называется трехфазной трансформаторной группой |
|
|
Магнитное поле, созданное в трансформаторе совокупностью магнитодвижущих сил всех его обмоток и других частей, в которых протекает электрический ток. Примечание. Для расчетов, определения параметров и проведения исследований магнитное поле трансформатора может быть условно разделено на взаимосвязанные части: основное поле, поле рассеяния обмоток, поле токов нулевой последовательности и т.д. |
|
|
Часть магнитного поля трансформатора, созданная той частью магнитодвижущих сил всех его основных обмоток, геометрическая сумма векторов которых в каждой фазе обмоток равна нулю. Примечание. Предполагается наличие тока не менее, чем в двух основных обмотках |
|
|
Часть магнитного поля трансформатора, созданная геометрической суммой магнитодвижущих сил токов нулевой последовательности всех его основных обмоток |
|
|
Часть магнитного поля трансформатора, созданная разностью суммы магнитодвижущих сил всех его обмоток и суммы магнитодвижущих сил обмоток, создающих поле рассеяния обмоток и поле токов нулевой последовательности обмоток трансформатора |
|
|
1.9. Сторона высшего (среднего, низшего) напряжения трансформатора |
Совокупность витков и других токопроводящих частей, присоединенных к зажимам трансформатора, между которыми действует его высшее (среднее или низшее) напряжение |
|
Сочетание схем соединения обмоток высшего и низшего напряжений для двухобмоточного и высшего, среднего и низшего напряжений для трехобмоточного трансформатора. Примечание. Схема соединения n-обмоточного трансформатора включает п схем обмоток |
|
2. ВИДЫ ТРАНСФОРМАТОРОВ |
|
|
Силовой трансформатор, предназначенный для включения в. сеть, не отличающуюся особыми условиями работы, или для непосредственного питания приемников электрической энергии, не отличающихся особыми условиями работы, характером нагрузки или режимом работы |
|
|
Трансформатор, предназначенный для непосредственного питания потребительской сети или приемников электрической энергии, если эта сеть или приемники отличаются особыми условиями работы, характером нагрузки или режимом работы. Примечание. К числу таких сетей и приемников электрической энергии относятся подземные шахтные сети и установки, выпрямительные установки, электрические печи и т.п. |
|
|
Трансформатор, у которого первичной обмоткой является обмотка низшего напряжения |
|
|
Трансформатор, у которого первичной обмоткой является обмотка высшего напряжения |
|
|
Трансформатор, в магнитной системе которого создается однофазное магнитное поле |
|
|
Трансформатор, в магнитной системе которого создается трехфазное магнитное поле |
|
|
Трансформатор, в магнитной системе которого создается магнитное поле с числом фаз более трех |
|
|
Трансформатор, имеющий две основные гальванически не связанные обмотки (см. черт. 4) |
|
|
Трансформатор, имеющий три основные гальванически не связанные обмотки (см. черт. 5) |
|
|
Трансформатор, имеющий более трех основных гальванически не связанных обмоток |
|
|
Трансформатор, в котором основной изолирующей средой и теплоносителем служит жидкий диэлектрик |
|
|
Трансформатор с жидким диэлектриком, в котором основной изолирующей средой и теплоносителем служит трансформаторное масло |
|
|
Трансформатор с жидким диэлектриком, в котором основной изолирующей средой и теплоносителем служит негорючий жидкий диэлектрик |
|
|
Трансформатор, в котором основной изолирующей средой служит атмосферный воздух или другой газ или твердый диэлектрик, а охлаждающей средой атмосферный воздух |
|
|
Сухой негерметичный трансформатор, в котором основной изолирующей и охлаждающей средой служит атмосферный воздух |
|
|
Сухой герметичный трансформатор, в котором основной изолирующей средой и теплоносителем служит воздух или другой газ |
|
|
Сухой трансформатор, в котором основной изолирующей средой и теплоносителем служит электроизоляционный компаунд |
|
|
Сухой трансформатор в баке, заполненном кварцевым песком, служащим основной изолирующей, средой и теплоносителем |
|
|
Трансформатор, допускающий регулирование напряжения одной или более обмоток при помощи специальных устройств, встроенных в конструкцию трансформатора |
|
|
2.20. Трансформатор, регулируемый под нагрузкой Трансформатор РПН |
Регулируемый трансформатор, допускающий регулирование напряжения хотя бы одной из его обмоток без перерыва нагрузки и без отключения его обмоток от сети. Примечание. Другие обмотки трансформатора, регулируемого под нагрузкой, могут не иметь регулирования или иметь переключение без возбуждения |
|
2.21. Трансформатор, переключаемый без возбуждения Трансформатор ПБВ |
Регулируемый трансформатор, допускающий регулирование напряжения путем переключения ответвлений обмоток без возбуждения после отключения всех его обмоток от сети. Примечание. Понятие «переключение без возбуждения» может быть отнесено также к одной или нескольким обмоткам трансформатора, регулируемого под нагрузкой |
|
Регулируемый трансформатор, предназначенный для включения в сеть или в силовой трансформаторный агрегат с целью регулирования напряжения сети или агрегата |
|
|
2.23. Последовательный регулировочный трансформатор (трансформаторный агрегат) |
Регулировочный трансформатор (трансформаторный агрегат), включаемый последовательно с другим трансформатором со стороны нейтрали или со стороны линии с целью регулирования напряжения на зажимах линии |
|
2.24. Линейный регулировочный трансформатор (трансформаторный агрегат) |
Регулировочный трансформатор (трансформаторный агрегат), одна из обмоток которого включается последовательно в сеть с целью регулирования напряжения сети |
|
Трансформатор, две или более обмоток которого гальванически связаны так, что они имеют общую часть |
|
|
Автотрансформатор, имеющий две обмотки, гальванически связанные так, что они имеют общую часть, и не имеющий других основных обмоток (см. черт. 7) |
|
|
Силовой автотрансформатор, две обмотки которого имеют общую часть, а третья основная обмотка не имеет гальванической связи с двумя первыми обмотками (см. черт. 8) |
|
|
Трансформатор, предназначенный для установки и работы в рудниках и шахтах |
|
|
Трансформатор, предназначенный для установки и работы на электрическом или теплоэлектрическом подвижном составе |
|
|
Трансформатор, предназначенный для установки и работы на судах |
|
|
Трансформатор, предназначенный для питания установок электрической сварки |
|
|
Трансформатор, предназначенный для работы в выпрямительных, инверторных и других установках, преобразующих систему переменного тока в систему постоянного тока и наоборот при непосредственном подключении к ним |
|
|
Трансформатор, предназначенный для питания электротермических установок |
|
|
Трансформатор или автотрансформатор, предназначенный для изменения напряжения ступенями при пуске электродвигателей |
|
|
Трансформатор, который можно перевозить по железной дороге или другим видом транспорта, практически без демонтажа узлов и деталей и без слива масла, предназначенный для использования в качестве передвижного резерва |
|
|
Трансформатор, выполненный так, что исключается возможность сообщения между внутренним пространством его бака и окружающей средой |
|
|
2.37. Трансформатор с расщепленной обмоткой (расщепленными обмотками) |
Трансформатор, имеющий одну расщепленную обмотку (две или более расщепленных обмотки) |
3. МАГНИТНАЯ СИСТЕМА ТРАНСФОРМАТОРА |
|
|
Комплект пластин или других элементов из электротехнической стали или другого ферромагнитного материала, собранных в определенной геометрической форме, предназначенный для локализации в нем основного магнитного поля трансформатора |
|
|
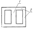
Часть магнитной системы, на которой располагаются основные обмотки трансформатора (см. черт. 1 - 3) |
|
|
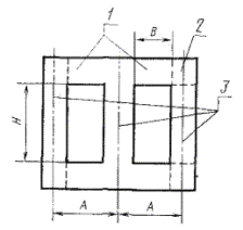
Диаметр окружности, в которую вписан контур ступенчатого или квадратного поперечного сечения стержня магнитной" системы |
|
|
Расстояние между продольными осями двух соседних стержней магнитной системы (см. черт. 1) |
|
|
Суммарная площадь поперечного сечения ферромагнитного материала в поперечном сечении стержня (ярма) |
|
|
Часть магнитной системы трансформатора, не несущая основных обмоток и служащая для замыкания магнитной цепи (см. черт. 1, 2) |
|
|
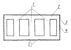
Ярмо, соединяющее два конца одного и того же стержня (см. черт. 1 - 3). Примечание. Можно различать боковую часть бокового ярма, ось которой параллельна продольной оси стержня, и его торцевую часть, ось которой перпендикулярна этой оси |
|
|
Ярмо, соединяющее концы двух или более разных стержней (см. черт. 2) |
|
|
Магнитная система, в которой продольные оси всех стержней и ярм расположены в одной плоскости |
|
|
Магнитная система, в которой продольные оси стержней или ярм, или стержней и ярм расположены в разных плоскостях |
|
|
Магнитная система, в которой все стержни имеют одинаковую форму, конструкцию и размеры, а взаимное расположение любого стержня по отношению ко всем ярмам одинаково для всех стержней |
|
|
Магнитная система, в которой отдельные стержни могут отличаться от других стержней по форме, конструкции или размерам или взаимное расположение какого-либо стержня по отношению к другим стержням или ярмам может отличаться от расположения любого другого стержня |
|
|
Магнитная система, в которой магнитный поток стержня при переходе в ярмо разветвляется на две или более частей |
|
|
Магнитная система, в которой ярма соединяют разные стержни и нет боковых ярм (см. черт. 1) |
|
|
Магнитная система, в которой оба конца каждого стержня соединяются не менее чем двумя боковыми ярмами (см. черт. 3) |
|
|
Магнитная система, в которой часть стержней имеет боковые ярма или каждый стержень - не более чем одно боковое ярмо |
|
|
Магнитная система, в которой стержни и ярма с плоской шихтовкой собираются в переплет как цельная конструкция (см. черт. 2) |
|
|
Магнитная система, в которой стержни и ярма или отдельные части, собранные и скрепленные раздельно, при сборке системы устанавливаются встык |
|
|
Магнитная система, в которой стержни и ярма образуются в виде цельной конструкции путем навивки из ленточной или рулонной электротехнической стали |
|
4. ОБМОТКИ ТРАНСФОРМАТОРА |
|
|
Проводник, однократно охватывающий часть магнитной системы трансформатора, электрический ток которого совместно с токами других таких проводников и других частей трансформатора создает магнитное поле трансформатора и в котором под действием этого магнитного поля наводится электродвижущая сила. Примечание. Виток обмотки может быть образован несколькими параллельно соединенными проводниками |
|
|
Совокупность витков, образующих электрическую цепь, в которой суммируются электродвижущие силы, наведенные в витках, с целью получения высшего, среднего или низшего напряжения трансформатора или с другой целью: Примечания: 1. В трехфазном и многофазном трансформаторе (трансформаторной группе) под «обмоткой» подразумевается совокупность соединяемых между собой обмоток одного напряжения всех фаз. 2. В однофазном трансформаторе под «обмоткой» подразумевается совокупность соединяемых между собой обмоток одного напряжения, расположенных на всех его стержнях |
|
|
Обмотка трансформатора, к которой подводится энергия преобразуемого, или от которой отводится энергия преобразованного переменного тока. Примечание. Силовой трансформатор имеет не менее двух основных обмоток |
|
|
Обмотка трансформатора, не предназначенная непосредственно для приема энергии преобразуемого или отдачи энергии преобразованного переменного тока, или мощность которой существенно меньше номинальной мощности трансформатора. Примечание. Вспомогательная обмотка может быть предназначена, например, для компенсации третьей гармонической магнитного поля, подмагничивания магнитной системы постоянным током, питания сети собственных нужд ограниченной мощности и т.п. |
|
|
Обмотка трансформатора, к которой подводится энергия преобразуемого переменного тока. Примечание. Термин применим к любому числу обмоток трансформатора, если направление передачи энергии от них к другим обмоткам трансформатора является определенным |
|
|
Обмотка трансформатора, от которой отводится энергия преобразованного переменного тока. Примечание. Термин применим к любому числу обмоток трансформатора, если направление передачи энергии к ним от других обмоток трансформатора является определенным |
|
|
4.7. Обмотка высшего напряжения трансформатора* Обмотка ВН |
Основная обмотка трансформатора, имеющая наибольшее номинальное напряжение по сравнению с другими его основными обмотками |
|
4.8. Обмотка низшего напряжения трансформатора* Обмотка НН |
Основная обмотка трансформатора, имеющая наименьшее номинальное напряжение по сравнению с другими его основными обмотками. Примечание. Обмотка низшего напряжения регулировочного трансформатора может иметь более высокий уровень изоляции, чем обмотки высшего и среднего напряжения |
|
4.9. Обмотка среднего напряжения трансформатора* Обмотка СН |
Основная обмотка трансформатора, номинальное напряжение которой является промежуточным между номинальными напряжениями обмоток высшего и низшего напряжения. Примечание. Обмотка среднего напряжения регулировочного трансформатора может иметь более высокий уровень изоляции, чем обмотка высшего напряжения |
|
Обмотка, состоящая из двух или более гальванически не связанных частей, суммарная номинальная мощность которых, как правило, равна номинальной мощности трансформатора, напряжения короткого замыкания которых относительно других обмоток (обмотки) практически равны между собой, и которые допускают независимую друг от друга нагрузку или питание (см. черт. 9). Примечание. Совокупность частей расщепленной обмотки считается одной обмоткой |
|
|
Обмотка, являющаяся общей частью двух обмоток автотрансформатора (см. черт. 7) |
|
|
Обмотка автотрансформатора, включаемая последовательно с общей обмоткой - (см. черт. 7) |
|
|
4.13. Обмотка высшего напряжения автотрансформатора Обмотка ВН |
Совокупность витков, в которых индуктируется электродвижущая сила, используемая для получения высшего напряжения автотрансформатора |
|
4.14. Обмотка среднего напряжения автотрансформатора Обмотка СН |
Совокупность витков, в которых индуктируется электродвижущая сила, используемая для получения среднего напряжения автотрансформатора |
|
4.15. Обмотка низшего напряжения автотрансформатора Обмотка НН |
Совокупность витков, в которых индуктируется электродвижущая сила, используемая для получения низшего напряжения автотрансформатора |
|
Одна из обмоток однофазного трансформатора или часть обмотки трехфазного или многофазного трансформатора, образующая ее фазу |
|
|
Часть или целая обмотка высшего, среднего или низшего напряжения, расположенная на стержне трансформатора. Примечание. В автотрансформаторе под обмоткой стержня подразумевается общая или последовательная обмотка |
|
|
Обмотки стержня, изготовленные в виде цилиндров и концентрически расположенные на стержне магнитной системы (см. черт. 4, 5) |
|
|
Обмотка, состоящая из двух цилиндрических частей, расположенных на стержне магнитной системы концентрически с двух сторон другой обмотки (см. черт. 6) |
|
|
Обмотки высшего и низшего напряжения трансформатора, чередующиеся в осевом направлении стержня (см. черт. 10) |
|
|
РО |
Отдельно выполненная часть обмотки трансформатора, имеющая ответвления, переключаемые при регулировании напряжения |
|
4.22. Обмотка грубого регулирования РО грубая |
Отдельно выполненная часть регулировочной обмотки, напряжение между соседними ответвлениями которой равно сумме напряжений нескольких ступеней регулирования |
|
4.23. Обмотка тонкого регулирования РО тонкая |
Отдельно выполненная часть регулировочной обмотки, имеющая ответвления, соответствующие каждой ступени регулирования |
|
ко |
Вспомогательная обмотка, располагаемая на стержнях или ярмах с целью компенсации частей магнитного поля трансформатора. Примечание. Возможна, например, компенсация магнитодвижущей силы регулировочной обмотки, магнитного поля нулевой последовательности, поля третьей гармонической и др. |
|
Обмотка преобразовательного трансформатора, присоединяемая к сети переменного тока |
|
|
Обмотка преобразовательного трансформатора, присоединяемая к вентильным преобразователям |
|
|
Угловое смещение векторов линейных электродвижущих сил обмоток (сторон) среднего и низшего напряжений по отношению к векторам соответствующих электродвижущих сил обмотки (стороны) высшего напряжения |
|
|
Общая точка обмоток фаз трехфазного или многофазного трансформатора, соединяемых в «звезду» или «зигзаг». Примечание. В однофазном трансформаторе зажим обмотки, предназначенный для присоединения к общей точке при соединении обмоток трехфазной (многофазной) группы в «звезду» или «зигзаг» |
|
|
Отвод, присоединенный к одному из витков и позволяющий использовать часть обмотки, заканчивающуюся этим витком |
|
|
Ответвление, на котором обмотка трансформатора имеет номинальную мощность при номинальном напряжении. Примечание. В специальных трансформаторах и в отдельных случаях в трансформаторах общего назначения основное ответвление определяется нормативным документом |
|
|
Ответвление, так расположенное в обмотке, что при его включении увеличивается число витков с одинаковым направлением электродвижущей силы по сравнению с числом витков на основном ответвлении. Примечание к терминам 4.31 и 4.32. При реверсировании регулировочной обмотки одно и то же ответвление может быть положительным или отрицательным |
|
|
Ответвление, так расположенное в обмотке, что при его включении уменьшается число витков с одинаковым направлением электродвижущей силы по сравнению с числом витков на основном ответвлении |
|
5. ИЗОЛЯЦИЯ ТРАНСФОРМАТОРА |
|
|
Совокупность изоляционных деталей и заполняющей трансформатор изоляционной среды, исключающая замыкание металлических частей трансформатора, находящихся во время его работы под напряжением, с заземленными частями, а также частей, находящихся под разными потенциалами, между собой |
|
|
Изоляция внутри бака трансформатора в масле или другом жидком диэлектрике (внутри бака герметичного трансформатора, заполненного воздухом или газом) или внутри заполняющего трансформатор твердого диэлектрика. Примечание. Основным признаком внутренней изоляции является практическая независимость ее электрической прочности от внешних атмосферных условий |
|
|
Изоляция в воздухе снаружи бака трансформатора. Примечания: 1. Основным признаком внешней изоляции является зависимость ее электрической прочности от атмосферных условий 2. Внешняя изоляция в воздушном трансформаторе - изоляция вне пространства, ограниченного наружной цилиндрической поверхностью наружной обмотки и ближайшими к обмоткам поверхностями магнитной системы |
|
|
Изоляция между обмотками разных фаз трансформатора |
|
|
Изоляция обмотки от частей остова и от других обмоток. |
|
|
Изоляция между разными точками обмотки фазы трансформатора. Примечание. Изоляция между разными точками обмотки фазы, например, между витками, слоями витков, катушками, элементами емкостной защиты и т.п. |
|
|
Изоляционные конструкции и детали, служащие для изолирования торцевых частей обмоток от ярма, ярмовых балок и металлических прессующих колец |
|
|
Специальные меры, применяемые для выравнивания емкостного распределения напряжения вдоль обмотки. Примечание. Емкостная защита может достигаться применением электростатических экранов, конденсаторов или изменением последовательности соединения между собой катушек обмотки или витков в катушках |
|
|
Кольцевой металлический незамкнутый изолированный электростатический экран, расположенный у торца обмотки или между ее катушками и гальванически соединенный с одной из ее точек |
|
|
Цилиндрический незамкнутый электростатический экран, расположенный вдоль внутренней или наружной цилиндрической поверхности обмотки и гальванически соединенный с одной из ее точек или заземленный. |
|
|
Кольцевой незамкнутый электростатический экран, расположенный снаружи или внутри катушки непрерывной или дисковой обмотки, имеющий размер в направлении оси обмотки равный приблизительно осевому размеру одной катушки |
|
|
Обмотка, у которой линейный конец и нейтраль имеют один уровень изоляции |
|
|
Обмотка, у которой линейный конец и нейтраль имеют различные уровни изоляции |
|
|
Период работы от первого включения до полного износа изоляции под влиянием физико-химических факторов, прежде всего температуры, при изменяющихся нагрузке, напряжении и условиях охлаждения |
|
|
Термический срок службы при постоянной температуре наиболее нагретой точки изоляции, равной допустимой температуре для данного изоляционного материала |
|
6. ОТДЕЛЬНЫЕ ЧАСТИ ТРАНСФОРМАТОРА |
|
|
Единая конструкция, включающая в собранном виде остов трансформатора, обмотки с их изоляцией, отводы, части регулирующего устройства, а также все детали, служащие для их механического соединения. Примечание. В некоторых типах трансформаторов с активной частью могут быть конструктивно связаны крышка бака и вводы |
|
|
Электротехническая сталь или другой ферромагнитный материал, из которого изготовлена магнитная система, а также металл обмоток и отводов трансформатора |
|
|
Единая конструкция, включающая в собранном виде магнитную систему со всеми деталями, служащими для ее соединения и для крепления обмоток |
|
|
Совокупность электрических проводников, служащих для соединения обмоток трансформатора с вводами, устройствами переключения ответвлений обмоток и другими токоведущими частями |
|
|
Контактный зажим, имеющий гальваническую связь с обмотками и предназначенный для присоединения трансформатора к внешней цепи |
|
|
Бак, в котором размещается активная часть трансформатора или трансформаторного агрегата с жидким диэлектриком, газо- или кварценаполненного |
|
|
Бак, имеющий вблизи дна разъем, позволяющий отделить и поднять верхнюю часть бака без подъема активной части трансформатора |
|
|
Бак, имеющий уплотнения, практически исключающие сообщение между внутренним объемом бака и окружающей атмосферой. Примечание. При наличии расширителя герметизация относится и к внутреннему объему расширителя |
|
|
Сосуд, соединенный с баком трубопроводом и служащий для локализации колебаний уровня жидкого диэлектрика |
|
|
Сосуд, сообщающийся с одной стороны с внутренним объемом воздуха в расширителе или баке трансформатора, а с другой - с атмосферным воздухом, предназначенный для отделения влаги из воздуха, поступающего в расширитель или бак трансформатора |
|
|
Указатель уровня масла или другого жидкого диэлектрика в трансформаторе или его расширителе |
|
|
Сосуд, сообщающийся двумя патрубками с внутренним объемом бака в верхней и нижней его части, заполненный веществом, служащим для очистки масла или другого жидкого диэлектрика от продуктов окисления и для поглощения влаги |
|
|
Оболочка воздушного трансформатора, защищающая его активную часть от попадания посторонних предметов, но допускающая свободный доступ к ней охлаждающего воздуха |
|
|
6.14. Устройство регулирования напряжения трансформатора (трансформаторного агрегата) |
Устройство, предназначенное для регулирования напряжения трансформатора (трансформаторного агрегата) и включающее все необходимые для этого аппараты, механизмы и составные части, за исключением регулировочных обмоток |
|
Устройство, предназначенное для изменения соединений ответвлений обмоток между собой или с вводом |
|
|
6.16. Устройство переключения ответвлений обмоток без возбуждения Устройство ПБВ |
Устройство, предназначенное для изменения соединений ответвлений обмоток при невозбужденном трансформаторе |
|
6.17. Устройство регулирования напряжения трансформатора под нагрузкой Устройство РПН |
Устройство регулирования, предназначенное для регулирования напряжения без перерыва нагрузки и без отключения обмоток трансформатора от сети |
|
Контактное устройство, служащее для переключения ответвлений обмотки в трансформаторе, переключаемом без возбуждения |
|
|
Часть устройства регулирования под нагрузкой, предназначенная для выбора нужного ответвления обмотки перед переключением и для длительного пропускания тока. Примечание. Избиратель ответвлений не служит для изменения и отключения тока |
|
|
Часть устройства регулирования напряжения под нагрузкой, длительно пропускающая ток, предназначенная для использования контактов избирателя, а также присоединенных к нему ответвлений обмотки более одного раза при прохождении всего диапазона регулирования трансформатора. Примечания: 1. Предызбиратель не служит для изменения и отключения тока. 2. Предызбиратель может производить реверсирование регулировочной части обмотки или переключение грубых ступеней регулирования |
|
|
6.21. Контактор устройства регулирования напряжения под нагрузкой |
Часть устройства регулирования напряжения под нагрузкой, предназначенная для изменения и отключения тока в цепях переключающего устройства, предварительно подготовленных к этому избирателем |
|
6.22. Токоограничивающий резистор устройства регулирования напряжения под нагрузкой |
Резистор устройства регулирования напряжения под нагрузкой, предназначенный для включения между работающим и вводимым в работу ответвлением с целью ограничения переходного тока в переключаемой части обмотки и перевода нагрузки с одного ответвления на другое без перерыва в токе нагрузки трансформатора и без существенного его изменения |
|
6.23. Токоограничивающий реактор устройства регулирования напряжения под нагрузкой |
Реактор устройства регулирования напряжения под нагрузкой, предназначенный для включения между работающим и вводимым в работу ответвлением с целью ограничения переходного тока в переключаемой части обмотки и перевода нагрузки с одного ответвления на другое без перерыва в токе нагрузки трансформатора и без существенного его изменения |
|
Совокупность теплообменников или элементов системы охлаждения, устройств, предназначенных для ускорения движения теплоносителя и (или) охлаждающей среды, контрольных и измерительных приборов, служащая для отвода тепла, выделяющегося в трансформаторе в охлаждающую среду |
|
|
Теплообменник, в котором происходит передача тепла от теплоносителя, заполняющего бак трансформатора и принудительно циркулирующего через теплообменник, воздуху или воде, движение которых также принудительно ускоряется |
|
|
Теплообменник, в котором происходит передача тепла от теплоносителя, заполняющего бак трансформатора и движущегося путем естественной конвекции, воздуху, охлаждающему трансформатор |
|
7. ДЕТАЛИ КОНСТРУКЦИИ И ПАРАМЕТРЫ ЧАСТЕЙ ТРАНСФОРМАТОРА |
|
|
7.1. МАГНИТНАЯ СИСТЕМА |
|
|
Стержень (ярмо) магнитной системы, в котором плоские пластины различной или одинаковой ширины расположены так, что плоскости всех пластин параллельны |
|
|
Стержень стыковой магнитной системы, в котором плоские пластины разной ширины расположены в поперечном сечении стержня практически в радиальных направлениях |
|
|
Стержень стыковой магнитной системы, в котором пластины одной ширины изогнуты и расположены так, что в поперечном сечении они имеют форму эвольвенты и в совокупности образуют практически круговой цилиндр |
|
|
Поперечное сечение стержня, собранного из двух или более пакетов пластин разной ширины, имеющее форму ступенчатой фигуры, вписанной в окружность или овал |
|
|
Поперечное сечение стержня с радиальной или эвольвентной шихтовкой, практически имеющее форму круга |
|
|
Пластина из электротехнической стали или другого ферромагнитного материала, являющаяся элементом магнитной системы трансформатора. Примечание. В некоторых конструкциях магнитных систем пластина при сборке может подвергаться изгибу по заданному профилю |
|
|
Стопа пластин одного размера в стержне или ярме магнитной системы. Примечание. Пакет может состоять из двух частей, разделенных каналом |
|
|
Число пакетов пластин в половине поперечного сечения стержня (ярма) магнитной системы с плоской шихтовкой. Примечание. Аналогично определяется число ступеней в навитой магнитной системе |
|
|
Отношение площади поперечного сечения стержня к площади круга с диаметром, равным диаметру стержня трансформатора. Примечание. При наличии в сечении стержня каналов площадь поперечного сечения каналов не включается в площадь поперечного сечения стержня |
|
|
Отношение активного сечения стержня (ярма) к площади его поперечного сечения |
|
|
Отношение активного сечения стержня к площади круга с диаметром, равным диаметру стержня трансформатора. Примечание. Коэффициент заполнения сталью равен произведению коэффициента заполнения круга и коэффициента заполнения сечения стержня |
|
|
Пространство, ограниченное ближайшими поверхностями двух соседних стержней и двух торцевых ярм или поверхностями стержня, двух торцевых частей и боковой части бокового ярма |
|
|
Расстояние между двумя торцевыми ярмами, измеренное по линии, параллельной продольной оси стержня (см. черт. 1). |
|
|
Расстояние между ближайшими поверхностями двух соседних стержней или стержня и бокового ярма, измеренное по линии, перпендикулярной их продольным осям (см. черт. 1) |
|
|
Отношение суммарной площади поперечного сечения металла всех витков всех обмоток в окне магнитной системы к площади окна |
|
|
Балка, служащая в магнитной системе для прессовки ярма и в качестве торцевой опоры, для обмоток или только для прессовки ярма |
|
|
Часть магнитной системы, ограниченная объемом, образованным пересечением боковых поверхностей или их продолжений одного из ярм и одного из стержней (см. черт. 1) |
|
|
Место сочленения пластин стержня и ярма в шихтованной магнитной системе или пакетов пластин стержня и ярма в стыковой магнитной системе. Примечание. В некоторых конструкциях магнитных систем возможен стык пластин внутри стержня или ярма |
|
|
Стык магнитной системы, при котором пластины сохраняют прямоугольную форму |
|
|
Стык магнитной системы, при котором пластины (пакеты) в месте сочленения срезаны под углом, близким к 45° к продольной оси пластины |
|
|
Слой изоляционного материала, наносимый на поверхность пластины (ленты) или образуемый на ее поверхности |
|
|
7.2. ОБМОТКИ. |
|
|
Ряд витков от одного и более, расположенных на одной цилиндрической поверхности |
|
|
Группа последовательно соединенных витков более одного витка, конструктивно объединенная и отделенная от других таких групп или обмоток |
|
|
Катушки обмотки, ближайшие к ее линейному зажиму и отличающиеся по конструкции от остальных катушек |
|
|
Обмотка, сечение витка которой состоит из сечений одного или нескольких параллельных проводов, а витки и все их параллельные провода расположены в один ряд (слой) без интервалов на цилиндрической поверхности в ее осевом направлении (см. черт. 11) |
|
|
Обмотка, состоящая из двух (или более) концентрически расположенных простых цилиндрических обмоток (слоев) (см. черт. 12) |
|
|
Обмотка, состоящая из ряда катушек, расположенных в осевом направлении обмотки |
|
|
Катушечная обмотка, собранная из отдельно намотанных катушек, выполненных в виде плоских спиралей из одного провода или нескольких параллельных проводов |
|
|
Катушечная обмотка, намотанная непрерывным проводом в виде плоских спиралей из одного провода или нескольких параллельных проводов (см. черт. 15) |
|
|
Катушечная обмотка, в которой порядок последовательного соединения витков отличается от последовательности их расположения в катушках |
|
|
Катушечная обмотка, в которой порядок последовательного соединения катушек отличается от последовательности их расположения в обмотке |
|
|
Катушечная обмотка, каждая катушка которой представляет собой многослойную цилиндрическую обмотку |
|
|
Обмотка, витки которой следует один за другим в осевом направлении по винтовой линии, а сечение каждого витка образовано сечениями нескольких параллельных проводов прямоугольного сечения, расположенными в один ряд в радиальном направлении обмотки (см. черт. 13). |
|
|
Обмотка, состоящая из двух или более одноходовых обмоток, взаимно расположенных подобно ходам резьбы двухходового (многоходового) винта (см. черт. 14) |
|
|
Изменение взаимного расположения параллельных проводов в сечении витка обмотки с целью уравнивания распределения тока между ними |
|
|
Транспозиция проводов обмотки, сосредоточенная в нескольких местах в осевом направлении, при числе мест меньшем, чем число параллельных проводов без одного |
|
|
Сосредоточенная транспозиция, при которой все параллельные провода делятся на две или более группы и изменяется взаимное расположение этих групп без изменения расположения проводов в группе (см. черт. 16) |
|
|
Сосредоточенная транспозиция, при которой изменяется взаимное расположение всех параллельных проводов (см. черт. 16) |
|
|
7.2.18. Равномерно распределенная транспозиция проводов обмотки |
Транспозиция параллельных проводов в винтовой или катушечной обмотке, выполняемая путем изменения расположения всех проводов в ряде мест, равномерно распределенных в осевом направлении обмотки, при числе мест не меньше числа параллельных проводов или катушек без одного (см. черт. 17) |
|
Металлическое разрезное или неметаллическое кольцо, размещенное между концевой изоляцией обмотки и ярмовыми балками трансформатора с целью осуществления осевой прессовки обмотки |
|
8. РЕЖИМЫ И ПРОЦЕССЫ |
|
|
Режим работы трансформатора на основном ответвлении при номинальных значениях напряжения, частоты, нагрузки и номинальных условиях места установки и охлаждающей среды |
|
|
Режим работы, при котором напряжение или ток обмотки, или части обмотки таковы, что при достаточной продолжительности это угрожает повреждением или разрушением частей трансформатора |
|
|
Работа двух или нескольких трансформаторов при параллельном соединении не менее, чем двух основных обмоток одного из них с таким же числом основных обмоток другого трансформатора (других трансформаторов) |
|
|
8.4. Режим холостого хода трансформатора Х. х. трансформатора |
Режим работы при питании одной из обмоток трансформатора от источника с переменным напряжением и других обмотках, не замкнутых на внешние цепи. Примечание. Если нет специальной оговорки, то предполагается, что напряжение источника питания равно номинальному напряжению первичной обмотки и синусоидально, а частота равна номинальной частоте трансформатора |
|
Опыт х. х. |
Режим холостого хода трансформатора, осуществляемый при номинальной частоте и различных значениях синусоидального напряжения первичной обмотки с целью опытного определения потерь и тока холостого хода и других параметров и характеристик трансформатора |
|
Режим работы трансформатора при питании хотя бы одной из обмоток от источника с переменным напряжением при коротком замыкании на зажимах одной из других обмоток. Примечание. Если нет специальной оговорки, то предполагается, что напряжение источника питания равно номинальному напряжению первичной обмотки и синусоидально, а его частота равна номинальной частоте трансформатора |
|
|
8.7. Опыт короткого замыкания пары обмоток Опыт к. з. пары обмоток |
Режим короткого замыкания, осуществляемый с целью опытного определения потерь напряжения короткого замыкания и других параметров и характеристик пары обмоток трансформатора при номинальной частоте и пониженном против номинального напряжения на одной из обмоток, при закороченной второй обмотке этой пары и остальных обмотках, не замкнутых на внешние цепи |
|
Режим работы возбужденного трансформатора при наличии токов не менее, чем в двух его основных обмотках, каждая из которых замкнута на внешнюю цепь. Примечание. При этом не учитываются токи, протекающие в двух или более обмотках в режиме холостого хода |
|
|
8.9. Номинальный режим нагрузки двухобмоточного трансформатора |
Режим нагрузки трансформатора номинальным током при номинальных частоте и напряжении |
|
8.10. Номинальный режим нагрузки трехобмоточного (многообмоточного) трансформатора |
Режим нагрузки трехобмоточного (многообмоточного) трансформатора, установленный нормативным документом |
|
Режим продолжительной нагрузки трансформатора, при - которой расчетный износ изоляции обмоток от нагрева не превосходит износ, соответствующий номинальному режиму работы. Примечание. Метод и нормы для расчета износа изоляции устанавливаются нормативным документом |
|
|
Нагрузка трансформатора, при которой расчетный износ изоляции обмоток, соответствующий установившимся превышениям температуры, превосходит износ, соответствующий номинальному режиму работы |
|
|
Перегрузка трансформатора, разрешенная нормативным документом |
|
|
Ограниченная по длительности перегрузка трансформатора, при которой расчетный износ изоляции за установленное время не превосходит износа за такое же время при номинальном режиме работы. Примечание. Установленное время (обычно одни сутки) включает длительность перегрузки и длительность предшествующей и последующей нагрузок |
|
|
Перегрузка трансформатора, допустимая в аварийных режимах, величина и длительность которой установлены нормативным документом |
|
|
Совокупность допустимых нагрузок и перегрузок трансформатора |
|
|
Создание основного магнитного поля трансформатора путем подключения одной или нескольких обмоток к одной или нескольким сетям или другим источникам с соответствующими номинальными напряжениями и частотой |
|
|
Увеличение магнитной индукции в магнитной системе трансформатора по отношению к индукции в режиме холостого хода |
|
|
Превышение напряжения сети, в которую включена обмотка трансформатора по сравнению с номинальным напряжением обмотки на включенном ответвлении |
|
|
Изменение в соответствии с заданные режимом или стабилизация напряжения одной или более обмоток при помощи специального устройства |
|
|
Регулирование напряжения трансформатора с изменением или стабилизацией его значения |
|
|
Регулирование напряжения трансформатора с изменением или стабилизацией его фазы |
|
|
Регулирование напряжения трансформатора с изменением или стабилизацией его значения и фазы |
|
|
Регулирование напряжения трансформатора путем переключения ответвлений обмотки, расположенных вблизи ее нейтрал |
|
|
Регулирование напряжения трансформатора путем переключения ответвлений обмотки, расположенных вблизи от зажима, присоединяемого к сети |
|
|
Охлаждение частей масляного транс форматора путем естественной конвекции масла при охлаждении внешней поверхности бака и установленных на нем охладительных элементов посредством естественной конвекции воздуха и лучеиспускания воздухе. Примечание. Аналогично определяется естественное охлаждение при заполнении трансформатора другим жидким диэлектриком |
|
|
Охлаждение частей сухого трансформатора путем естественной конвекции воздуха и частично лучеиспускания в воздухе |
|
|
Охлаждение трансформатора с использованием принудительного повышения скорости движения воздуха, охлаждающего отдельные части системы охлаждения или активную часть трансформатора |
|
|
Охлаждение трансформатора с использованием принудительного повышения скорости движения заполняющего трансформатор теплоносителя при помощи насосов или вентиляторов |
|
|
Охлаждение масляного трансформатора с принудительной циркуляцией масла через охладители, охлаждаемые водой. Примечание. Аналогично определяется водяное охлаждение при заполнении трансформатора другим жидким диэлектриком |
|
|
Циркуляционное охлаждение с канализацией движения теплоносителя внутри бака трансформатора |
|
9. ПАРАМЕТРЫ ТРАНСФОРМАТОРА9.1. ОБЩИЕ ПАРАМЕТРЫ |
|
|
9.1.1 Высшее напряжение трансформатора ВН |
Наибольшее из номинальных напряжений обмоток трансформатора |
|
9.1.2. Низшее напряжение трансформатора НН |
Наименьшее из номинальных напряжений обмоток трансформатора |
|
9.1.3. Среднее напряжение трансформатора СН |
Номинальное напряжение, являющееся промежуточным между высшим и низшим номинальными напряжениями обмоток трансформатора. Примечание. При наличии более трех цепей и двух или более промежуточных напряжений эти напряжения, начиная с более высокого, следует именовать: «первое среднее», «второе среднее» и т.д. |
|
9.1.4. Напряжение короткого замыкания пары обмоток трансформатора Напряжение к. з. |
Приведенное к расчетной температуре линейное напряжение, которое нужно подвести при номинальной частоте к линейным зажимам одной из обмоток пары, чтобы в этой обмотке установился ток, соответствующий меньшей из номинальных мощностей обмоток пары при замкнутой накоротко второй обмотке пары и остальных основных обмотках, не замкнутых на внешние цепи |
|
9.1.5. Напряжение короткого замыкания трансформатора Напряжение к. з. |
Напряжение короткого замыкания пары обмоток для двухобмоточного и три значения напряжения короткого замыкания для трех пар обмоток: высшего и низшего, высшего и среднего, среднего и низшего напряжения - для трехобмоточного трансформатора. Примечание.
Для многообмоточного трансформатора с п обмотками число значений
напряжения короткого замыкания равно |
|
Арифметическая разность напряжений при холостом ходе обмотки на данном ответвлении и напряжения на ее зажимах при заданных токе нагрузки и коэффициенте мощности, когда напряжение на другой обмотке пары равно се номинальному напряжению, если она включена на основном ответвлении, или напряжению другого ответвления, на которое она включена при остальных обмотках, не замкнутых на внешние цепи |
|
|
Отношение напряжений на зажимах двух обмоток в режиме холостого хода. Примечания: 1. Для двух обмоток силового трансформатора, расположенных на одном стержне, коэффициент трансформации принимается равным отношению чисел их витков 2. В трехфазном (многофазном) трансформаторе коэффициенты трансформации для фазных и междуфазных напряжений могут быть различными 3. В двухобмоточном трансформаторе коэффициент трансформации равен отношению высшего напряжения к низшему; трехобмоточный трансформатор имеет три коэффициента трансформации - высшего и низшего, высшего и среднего, среднего и низшего напряжений |
|
|
Наименьшая разность напряжений, получаемая при регулировании |
|
|
Разность максимального и минимального напряжения обмотки, получаемых при регулировании |
|
|
9.1.10. Ток холостого хода трансформатора Ток х. х. |
Ток первичной основной обмотки трансформатора в режиме холостого хода и номинальном синусоидальном напряжении номинальной частоты на ее зажимах. Примечание. У трехфазного и многофазного трансформатора током холостого хода считается среднее арифметическое токов всех фаз |
|
9.1.11. Ток короткого замыкания трансформатора Ток к. з. |
Ток в обмотке трансформатора при испытаниях на стойкость при коротком замыкании в одной из сетей, присоединенных к зажимам трансформатора |
|
Действующее значение тока короткого замыкания, определяемое без учета свободного тока при неизменном напряжении на зажимах первичной обмотки трансформатора |
|
|
Установившийся ток короткого замыкания трансформатора, определяемый с учетом регламентированного реактивного сопротивления питающей сети, на который трансформатор должен быть рассчитан |
|
|
Наибольшее мгновенное значение тока короткого замыкания, определяемое как сумма мгновенных значений вынужденного тока и свободного тока в процессе короткого замыкания |
|
|
Ударный ток короткого замыкания при наибольшем вынужденном токе и наибольшем возможном или установленном нормативным документом свободном токе |
|
|
Отношение установившегося тока короткого замыкания трансформатора к номинальному току |
|
|
Отношение ударного тока короткого замыкания к амплитуде наибольшего установившегося тока короткого замыкания |
|
|
9.1.18. Циркулирующий ток в устройстве регулирования напряжения под нагрузкой |
Ток, протекающий в контуре, содержащем часть обмотки между двумя ответвлениями и токоограничивающий резистор или обмотку реактора, под воздействием напряжения между двумя ответвлениями в процессе переключения |
|
Полусумма мощностей всех частей обмоток трансформатора. Примечание. Мощностью части обмотки является произведение наибольшего длительно допустимого в этой части тока на наибольшее длительно допустимое напряжение этой части |
|
|
Полная мощность, подводимая к этой обмотке от внешней цепи или отводимая от нее во внешнюю цепь |
|
|
Мощность, передаваемая автотрансформатором из одной сети в другую посредством электромагнитной индукции, равная мощности общей или последовательной обмотки автотрансформатора |
|
|
Мощность, непосредственно передаваемая автотрансформатором из одной сети в другую электрическим путем благодаря гальванической связи между соответствующими обмотками, равная произведению напряжения общей обмотки на ток последовательной обмотки автотрансформатора и коэффициент, учитывающий число фаз |
|
|
Мощность, передаваемая автотрансформатором из одной сети в другую, равная сумме его электромагнитной и электрической мощностей |
|
|
Активная мощность, расходуемая в магнитной системе, обмотках и других частях трансформатора при различных режимах работы |
|
|
Потери х. х. |
Потери, возникающие в трансформаторе в режиме холостого хода при номинальном напряжении и номинальной частоте |
|
Потери, возникающие в магнитной системе трансформатора в режиме холостого хода при номинальном напряжении и номинальной частоте |
|
|
9.1.27. Потери короткого замыкания пары обмоток Потери к. з. |
Приведенные к расчетной температуре потери, возникающие в трансформаторе при номинальной частоте при установлении в одной из обмоток тока, соответствующего меньшей из номинальных мощностей обмоток этой пары, при замкнутой накоротко второй обмотке пары и остальных основных обмотках, не замкнутых на внешние цепи |
|
9.1.28. Потери короткого замыкания Потери к. з. |
Потери короткого замыкания пары обмоток для двухобмоточного и три значения потерь короткого замыкания для трех пар обмоток: высшего и низшего, высшего и среднего, среднего и низшего напряжений - для трехобмоточного трансформатора. Примечания: 1. Для многообмоточного трансформатора с
п обмотками число значений равно 2. Обмотки пары должны быть включены или замкнуты накоротко на основных ответвлениях |
|
Потери в обмотках и других токоведущих частях трансформатора, определяемые током данной обмотки или токоведущей части и ее электрическим сопротивлением, измеренным при постоянном токе |
|
|
Разность потерь, измеренных при определенном токе в опыте короткого замыкания, и основных потерь в токоведущих частях, определенных при том же токе |
|
|
Потери от токов, наведенных полем рассеяния в токоведущих частях трансформатора |
|
|
Потери от токов, наведенных полем рассеяния и замыкающихся в параллельно соединенных ветвях обмоток трансформатора |
|
|
Потери от гистерезиса и вихревых токов, возникающие в металлических деталях трансформатора от воздействия поля рассеяния. Примечание. В добавочные потери в элементах конструкции трансформатора не входят потери от вихревых токов и гистерезиса в активных материалах |
|
|
Сумма потерь холостого хода и потерь короткого замыкания трансформатора. Примечание. Для трехобмоточного трансформатора за потери короткого замыкания принимается наибольшее из трех значений потерь согласно п. 9.1.28 |
|
|
Отношение потерь холостого хода, потерь короткого замыкания или суммарных потерь трансформатора к его номинальной мощности |
|
|
Способность трансформатора при включении на любом, ответвлении выдерживать без повреждений внешние короткие замыкания |
|
|
9.1.37. Электродинамическая стойкость трансформатора при коротком замыкании |
Способность трансформатора выдерживать без повреждений динамические воздействия, возникающие при внешнем коротком замыкании |
|
9.1.38. Термическая стойкость трансформатора при коротком замыкании |
Способность трансформатора выдерживать без повреждений термические воздействия, возникающие при внешнем коротком замыкании |
|
9.2. НОМИНАЛЬНЫЕ ДАННЫЕ ТРАНСФОРМАТОРА |
|
|
Указанные изготовителем параметры трансформатора (например, частота, мощность, напряжение, ток), обеспечивающие его работу в условиях, установленных нормативным документом и являющиеся основой для определения условий изготовления, испытаний, эксплуатации |
|
|
Указанное на паспортной табличке трансформатора значение полной мощности на основном (данном) ответвлении, гарантированное изготовителем в номинальных условиях места установки и охлаждающей среды при номинальной частоте и номинальном напряжении обмотки (ответвления). Примечание. Если на паспортной табличке трансформатора указаны несколько мощностей, соответствующих различным способам охлаждения, то за номинальную принимается наибольшая из этих мощностей |
|
|
Номинальная мощность каждой из обмоток трансформатора. Примечание. В трансформаторе с расщепленной обмоткой номинальная мощность - это мощность нерасщепленной обмотки или равная ей суммарная мощность частей расщепленной обмотки |
|
|
Наибольшая из номинальных мощностей отдельных обмоток трансформатора |
|
|
Номинальная проходная мощность обмоток, имеющих общую часть. Примечание. Под обмотками понимаются обмотки высшего и низшего напряжения в двухобмоточном и обмотки высшего и среднего напряжения в трехобмоточном автотрансформаторе |
|
|
Частота, на которую рассчитан трансформатор, указанная на паспортной табличке |
|
|
Указанное на паспортной табличке напряжение между зажимами трансформатора, связанными с обмоткой, при холостом ходе трансформатора. Примечание. Для обмотки, снабженной ответвлениями, номинальным считается напряжение основного ответвления |
|
|
Указанное на паспортной табличке напряжение ответвления при холостом ходе трансформатора |
|
|
Ток, определяемый по номинальной мощности обмотки, ее номинальному напряжению и множителю, учитывающему число фаз |
|
|
Ток, определяемый по номинальным мощности и напряжению ответвления обмотки и множителю, учитывающему число фаз, или по указанию нормативного документа |
|
|
Средняя условная температура обмотки, к которой должны быть приведены потери и напряжение короткого замыкания трансформатора, установленная нормативным документом |
|
|
9.3. ДАННЫЕ МАСС ТРАНСФОРМАТОРА |
|
|
Масса собранного трансформатора, включая все узлы, устанавливаемые на нем и на отдельных фундаментах, и всю заполняющую жидкость |
|
|
Масса трансформатора в том виде, в котором он погружается на транспортное средство, без массы демонтируемых узлов и деталей и части изоляционной жидкости, сливаемой перед транспортированием |
|
|
Масса электротехнической стали или другого ферромагнитного материала, образующего магнитную систему трансформатора |
|
|
Суммарная масса металла витков всех обмоток трансформатора. Примечание. При соответствующей оговорке термин может быть отнесен к одной из обмоток, к обмотке фазы или обмотке стержня |
|
|
Масса масла, которое должно заполнять трансформатор при его работе. Примечания: 1. В массу масла, определяемую данным термином, не включается масса масла, заполняющего вводы, если их внутренний объем не сообщается с внутренним объемом бака трансформатора. 2. Аналогично определяется масса другого жидкого диэлектрика в трансформаторах, заполненных жидкостями |
|
Автотрансформатор 2.25
Автотрансформатор двухобмоточный 2.26
Автотрансформатор силовой трехобмоточный 2.27
Агрегат трансформаторный силовой 1.3
Агрегат трансформаторный регулировочный последовательный 2.23
Агрегат трансформаторный регулировочный линейный 2.24
Бак трансформатора 6.6
Бак герметичный 6.8
Бак колокольного типа 6.7
Балка ярмовая прессующая 7.1.16
Виток обмотки 4.1
Виток обмотки экранирующий 5.11
ВН 9.1.1
Возбуждение трансформатора 8.17
Воздухоосушитель 6.10
Высота окна магнитной системы 7.1.13
Группа соединения обмоток трансформатора 4.27
Группа трансформаторная многофазная 1.4
Данные трансформатора номинальные 9.2.1
Диаметр стержня 3.3
Диапазон регулирования напряжения 9.1.9
Зажим контактный трансформатора 6.5
Защита обмотки емкостная 5.8
Значение ступени регулирования напряжения 9.1.8
Избиратель ответвлений 6.19
Изменение напряжения пары обмоток трансформатора 9.1.6
Изоляция внешняя 5.3
Изоляция внутренняя 5.2
Изоляция лент магнитной системы 7.1.21
Изоляция обмотки главная 5.5
Изоляция обмотки концевая 5.7
Изоляция обмотки продольная 5.6
Изоляция пластин магнитной системы 7.1.21
Изоляция трансформатора 5.1
Изоляция междуфазная 5.4
Катушка обмотки 7.2.2
Катушки обмотки входные 7.2.3
Кожух трансформатора 6.13
КО 4.24
Кольцо обмотки емкостное 5.9
Кольцо обмотки прессующее 7.2.19
Контактор устройства регулирования напряжения под нагрузкой 6.21
Коэффициент заполнения круга 7.1.9
Коэффициент заполнения окна магнитной системы 7.1.15
Коэффициент заполнения сечения стержня 7.1.10
Коэффициент заполнения сечения ярма 7.1.10
Коэффициент заполнения сталью 7.1.11
Коэффициент тока короткого замыкания ударный 9.1.17
Кратность установившегося тока короткого замыкания 9.1.16
Коэффициент трансформации 9.1.7
Маслоуказатель 6.11
Масса активной стали 9.3.3
Масса масла 9.3.5
Масса металла обмоток 9.3.4
Масса полная 9.3.1
Масса транспортная 9.3.2
Материалы трансформатора активные 6.2
Мощность автотрансформатора номинальная 9.2.5
Мощность автотрансформатора проходная 9.1.23
Мощность автотрансформатора электрическая 9.1.22
Мощность автотрансформатора электромагнитная 9.1.21
Мощность двухобмоточная трансформатора номинальная 9.2.3
Мощность обмотки трансформатора 9.1.20
Мощность обмотки номинальная 9.2.2
Мощность ответвления обмотки номинальная 9.2.2
Мощность трансформатора типовая 9.1.19
Мощность трехобмоточная трансформатора номинальная 9.2.4
Напряжение короткого замыкания трансформатора 9.1.5
Напряжение короткого замыкания пары обмоток трансформатора 9.1.4
НН 9.1.2
Напряжение обмотки трансформатора номинальное 9.2.7
Напряжение ответвления обмотки номинальное 9.2.8
Напряжение трансформатора высшее 9.1.1
Напряжение трансформатора низшее 9.1.2
Напряжение трансформатора среднее 9.1.3
Нейтраль обмотки трансформатора 4.28
Обмотка автотрансформатора общая 4.11
Обмотка автотрансформатора последовательная 4.12
Обмотка вентильная 4.26
Обмотка винтовая двухходовая 7.2.13
Обмотка винтовая одноходовая 7.2.12
Обмотка винтовая многоходовая 7.2.13
Обмотка вспомогательная 4.4
Обмотка вторичная трансформатора 4.6
Обмотка высшего напряжения автотрансформатора 4.13
Обмотка высшего напряжения трансформатора 4.7
Обмотка грубого регулирования 4.22
Обмотка дисковая 7.2.7
Обмотка катушечная 7.2.6
Обмотка катушечная цилиндрическая многослойная 7.2.11
Обмотка компенсационная 4.24
Обмотки концентрические 4.18
Обмотка концентрическая двойная 4.19
Обмотка непрерывная катушечная 7.2.8
Обмотка низшего напряжения автотрансформатора 4.15
Обмотка низшего напряжения трансформатора 4.8
Обмотка основная 4.3
Обмотка первичная трансформатора 4.5
Обмотка переплетенная 7.2.9
Обмотка расщепленная 4.10
Обмотка регулировочная 4.21
Обмотка сетевая 4.25
Обмотка с градуированной изоляцией 5.13
Обмотка с неградуированной изоляцией 5.12
Обмотка с переплетением катушек 7.2.10
Обмотка среднего напряжения автотрансформатора 4.14
Обмотка среднего напряжения трансформатора 4.9
Обмотка стержня 4.17
Обмотка тонкого регулирования 4.23
Обмотка трансформатора 4.2
Обмотка цилиндрическая двухслойная 7.2.5
Обмотка цилиндрическая многослойная 7.2.5
Обмотка цилиндрическая простая 7.2.4
Обмотки чередующиеся 4.20
Обмотка фазы 4.16
Окно магнитной системы 7.1.12
Опыт к. з. пары обмоток 8.7
Опыт короткого замыкания пары обмоток 8.7
Опыт холостого хода 8.5
Опыт х. х. 8.5
Остов 6.3
Ответвление обмотки 4.29
Ответвление обмотки основное 4.30
Ответвление обмотки отрицательное 4.32
Ответвление обмотки положительное 4.31
Отводы 6.4
Охлаждение воздушное естественное 8.27
Охлаждение дутьевое 8.28
Охлаждение масляно-водяное 8.30
Охлаждение масляное естественное 8.26
Охлаждение циркуляционное 8.29
Охлаждение циркуляционное направленное 8.31
Охладитель 6.25
Пакет пластин 7.1.7
Перевозбуждение трансформатора 8.18
Переключатель ответвлений обмотки 6.18
Перегрузка аварийная допустимая 8.15
Перегрузка допустимая 8.13
Перегрузка систематическая допустимая 8.14
Перегрузка трансформатора 8.12
Пластина магнитной системы 7.1.6
Поле обмоток рассеяния магнитное 1.6
Поле магнитное основное 1.8
Поле токов нулевой последовательности магнитное 1.7
Поле трансформатора магнитное 1.5
Потери в опыте короткого замыкания добавочные 9.1.30
Потери в токоведущих частях добавочные 9.1.31
Потери в токоведущих частях основные 9.1.29
Потери в элементах конструкции добавочные 9.1.33
Потери короткого замыкания 9.1.28.
Потери короткого замыкания пары обмоток 9.1.27
Потери магнитные 9.1.26
Потери относительные 9.1.35
Потери от циркулирующих токов 9.1.32
Потери трансформатора 9.1.24
Потери трансформатора суммарные 9.1.34
Потери х. х. 9.1.25
Потери холостого хода 9.1.25
Превышение номинального напряжения трансформатора 8.19
Предызбиратель ответвлений 6.20
Работа трансформаторов параллельная 8.3
Радиатор трансформатора 6.26
Расстояние стержней межосевое 3.4
Расширитель 6.9
Реактор устройства регулирования напряжения под нагрузкой
токоограничивающий 6.23
Регулирование напряжения поперечное 8.22
Регулирование напряжения продольное 8.21
Регулирование напряжения продольно-поперечное 8.23
Регулирование напряжения трансформатора 8.20
Регулирование напряжения трансформатора в линии 8.25
Регулирование напряжения трансформатора в нейтрали 8.24
Режим короткого замыкания трансформатора 8.6
Режим нагрузки трансформатора 8.8
Режим нагрузки двухобмоточного трансформатора номинальный 8.9
Режим нагрузки многообмоточного трансформатора номинальный 8.10
Режим нагрузки трансформатора допустимый 8.11
Режим нагрузки трехобмоточного трансформатора номинальный 8.10
РО 4.21
РО грубая 4.22
РО тонкая 4.23
Режим трансформатора аварийный 8.2
Режим трансформатора номинальный 8.1
Режим холостого хода трансформатора 8.4
Резистор устройства регулирования напряжения под нагрузкой
токоограничивающий 6.22
СН 9.1.3
Сечение стержня активное 3.5
Сечение стержня круглое 7.1.5
Сечение стержня ступенчатое 7.1.4
Сечение ярма активное 3.5
Система магнитная броневая 3.15
Система магнитная бронестержневая 3.16
Система магнитная навитая 3.19
Система магнитная несимметричная 3.12
Система магнитная плоская 3.9
Система магнитная пространственная 3.10
Система магнитная разветвленная 3.13
Система магнитная симметричная 3.11
Система магнитная стержневая 3.14
Система магнитная стыковая 3.18
Система магнитная шихтованная 3.17
Система охлаждения 6.24
Система трансформатора магнитная 3.1
Слой обмотки 7.2.1
Способность трансформатора нагрузочная 8.16
Срок службы изоляции термический 5.14
Срок службы изоляции термический номинальный 5.15
Стержень с плоской шихтовкой 7.1.1
Стержень с радиальной шихтовкой 7.1.2
Стержень 3.2
Стержень с эвольвентной шихтовкой 7.1.3
Стойкость трансформатора при коротком замыкании 9.1.36
Стойкость трансформатора при коротком замыкании электродинамическая 9.1.37
Стойкость трансформатора при коротком замыкании термическая 9.1.38
Сторона высшего напряжения трансформатора 1.9
Сторона низшего напряжения трансформатора 1.9
Сторона среднего напряжения трансформатора 1.9
Стык магнитной системы 7.1.18
Стык магнитной системы косой 7.1.20
Стык магнитной системы прямой 7.1.19
Схема соединения трансформатора 1.10
Температура обмотки расчетная 9.2.11
Ток в устройстве регулирования напряжения под нагрузкой циркулирующий 9.1.18
Ток к. з. 9.1.11
Ток короткого замыкания трансформатора 9.1.11
Ток короткого замыкания ударный 9.1.14
Ток короткого замыкания ударный наибольший 9.1.15
Ток короткого замыкания установившийся 9.1.12
Ток короткого замыкания установившийся наибольший 9.1.13
Ток обмотки номинальный 9.2.9
Ток ответвления обмотки номинальный 9.2.10
Ток х. х. 9.1.10
Ток холостого хода трансформатора 9.1.10
Транспозиция проводов обмотки 7.2.14
Транспозиция проводов обмотки групповая 7.2.16
Транспозиция проводов обмотки общая 7.2.17
Транспозиция проводов обмотки равномерно распределенная 7.2.18
Транспозиция проводов обмотки сосредоточенная 7.2.15
Трансформатор 1.1
Трансформатор воздушный 2.15
Трансформатор газонаполненный 2.16
Трансформатор герметичный 2.36
Трансформатор двухобмоточный 2.8
Трансформатор кварценаполненный 2.18
Трансформатор масляный 2.12
Трансформатор многофазный 2.7
Трансформатор многообмоточный 2.10
Трансформатор общего назначения 2.1
Трансформатор однофазный 2.5
Трансформатор ПБВ 2.21
Трансформатор передвижной 2.35
Трансформатор переключаемый без возбуждения 2.21
Трансформатор преобразовательный 2.32
Трансформатор повышающий 2.3
Трансформатор понижающий 2.4
Трансформатор пусковой 2.34
Трансформатор регулировочный 2.22
Трансформатор регулировочный линейный 2.24
Трансформатор регулировочный последовательный 2.23
Трансформатор регулируемый 2.19
Трансформатор, регулируемый под нагрузкой 2.20
Трансформатор РПН 2.20
Трансформатор рудничный 2.28
Трансформатор сварочный 2.31
Трансформатор с жидким диэлектриком 2.11
Трансформатор силовой 1.2
Трансформатор с литой изоляцией 2.17
Трансформатор с негорючим жидким диэлектриком 2.13
Трансформатор с расщепленной обмоткой 2.37
Трансформатор специальный 2.2
Трансформатор судовой 2.30
Трансформатор сухой 2.14
Трансформатор трехобмоточный 2.9
Трансформатор трехфазный 2.6
Трансформатор тяговый 2.29
Трансформатор электропечной 2.33
Угол магнитной системы 7.1.17
Устройство ПБВ 6.16
Устройство переключения ответвления обмоток 6.15
Устройство переключения ответвлений обмоток без возбуждения 6.16
Устройство регулирования напряжения под нагрузкой 6.17
Устройство регулирования напряжения трансформатора 6.14
Устройство РПН 6.17
Устройство регулирования трансформаторного агрегата 6.14
Фильтр термосифонный 6.12
X. х. трансформатора 8.4
Частота трансформатора номинальная 9.2.6
Часть трансформатора активная 6.1
Число ступеней в стержне 7.1.8
Число ступеней в ярме 7.1.8
Ширина окна магнитной системы 7.1.14
Экран емкостной защиты обмотки 5.10
Ярмо 3.6
Ярмо боковое 3.7
Ярмо с плоской шихтовкой 7.1.1
Ярмо торцевое 3.8.
Справочное
Стержневая магнитная система трансформатора
(к терминам: 3.14, 3.2, 3.4, 3.6, 3.7, 7.1.13, 7.1.14, 7.1.17)
А - межосевое расстояние; В - ширина окна; Н - высота окна;
1 - ярмо; 2 - угол; 3 - стержень
Черт. 1
Бронестержневая магнитная система трансформатора
(к терминам: 3.16, 3.2, 3.6, 3.7, 3.8)
1 - стержень; 2 - торцевая часть бокового ярма; 3 - боковое ярмо; 4 - боковая часть бокового ярма; 5 - торцевое ярмо
Черт. 2
Броневая магнитная система трансформатора
1 - стержень; 2 - боковое ярмо
Черт. 3
Двухобмоточный трансформатор с концентрическими обмотками
Черт. 4
Трехобмоточный трансформатор с концентрическими обмотками
Черт. 5
Двойная концентрическая обмотка трансформатора
(к термину 4.19)
Черт. 6
Двухобмоточный автотрансформатор
(к терминам: 2.26, 4.11, 4.12)
Черт. 7
Трехобмоточный автотрансформатор
(к термину 2.27)
Черт. 8
Расщепленная обмотка трансформатора
(к термину 4.10)
Черт. 9
Чередующиеся обмотки трансформатора
(к термину 4.20)

Черт. 10
Простая цилиндрическая обмотка трансформатора
(к термину 7.2.4)
Черт. 11
Двухслойная цилиндрическая обмотка трансформатора
(к термину 7.2.5)
Черт. 12
Одноходовая винтовая обмотка трансформатора
(к термину 7.2.12)
Черт. 13
Двухходовая винтовая обмотка трансформатора
(к термину 7.2.13)
Черт. 14
Непрерывная обмотка трансформатора
(к термину 7.2.8)
Черт. 15
Виды транспозиции
Черт. 16
Равномерно распределенная транспозиция проводов обмотки трансформатора
(к термину 7.2.18)
Черт. 17