МЕЖГОСУДАРСТВЕННЫЙ СТАНДАРТ
|
Изделия крепежные |
ГОСТ |
|
ВЫХОД РЕЗЬБЫ, СБЕГИ, НЕДОРЕЗЫ И ПРОТОЧКИ |
|
|
Размеры |
|
|
Fasteners. Screw thread run-out. Washout threads, total thread run-outs and undercuts. Dimensions |
Дата введения 01.01.88
Настоящий стандарт распространяется на крепежные изделия с метрической резьбой по ГОСТ 8724 и устанавливает размеры сбегов резьбы, выполненной нарезанием или накатыванием, размеры недорезов при выполнении резьбы до упора, форму и размеры проточек для выхода резьбообразующего инструмента.
Стандарт допускается распространять на изделия с метрической резьбой, не относящиеся к крепежным.
Допускается для изделий, спроектированных до 1 января 1988 г., применять сбеги, недорезы и проточки по ГОСТ 10549.
1. Размеры сбегов и недорезов для наружной метрической резьбы должны соответствовать указанным на черт. 1 и 4 (при выполнении резьбы нарезанием), на черт. 2, 3 и 5 (при выполнении резьбы накатыванием) и в табл. 1.





мм
|
Шаг резьбы P |
Номинальный диаметр резьбы с крупным шагом d |
Сбег x, не более |
Недорез а, не более |
Проточка |
||||||
|
нормальный ≈2,5P |
короткий ≈1,25P |
нормальный ≈3P |
короткий ≈2P |
длинный ≈4P |
dg h 13* |
g1, не менее |
g2, не более ≈3P |
r ≈ 0,5P |
||
|
0,2 |
0,8 |
0,5 |
0,25 |
0,6 |
0,4 |
0,8 |
d - 0,3 |
0,32 |
0,6 |
0,1 |
|
0,25 |
1; 1,2 |
0,6 |
0,3 |
0,75 |
0,5 |
1 |
d - 0,4 |
0,4 |
0,75 |
0,12 |
|
0,3 |
1,4 |
0,75 |
0,4 |
0,9 |
0,6 |
1,2 |
d - 0,5 |
0,5 |
0,9 |
0,16 |
|
0,35 |
1,6; 1,8 |
0,9 |
0,45 |
1,05 |
0,7 |
1,4 |
d - 0,6 |
0,6 |
1,05 |
0,16 |
|
0,4 |
2 |
1 |
0,5 |
1,2 |
0,8 |
1,6 |
d - 0,7 |
0,6 |
1,2 |
0,2 |
|
0,45 |
2,2; 2,5 |
1,1 |
0,6 |
1,35 |
0,9 |
1,8 |
d - 0,7 |
0,7 |
1,35 |
0,2 |
|
0,5 |
3 |
1,25 |
0,7 |
1,5 |
1 |
2 |
d - 0,8 |
0,8 |
1,5 |
0,2 |
|
0,6 |
3,5 |
1,5 |
0,75 |
1,8 |
1,2 |
2,4 |
d - 1 |
0,9 |
1,8 |
0,4 |
|
0,7 |
4 |
1,75 |
0,9 |
2,1 |
1,4 |
2,8 |
d - 1,1 |
1,1 |
2,1 |
0,4 |
|
0,75 |
4,5 |
1,9 |
1 |
2,25 |
1,5 |
3 |
d - 1,2 |
1,2 |
2,25 |
0,4 |
|
0,8 |
5 |
2 |
1 |
2,4 |
1,6 |
3,2 |
d - 1,3 |
1,3 |
2,4 |
0,4 |
|
1 |
6; 7 |
2,5 |
1,25 |
3 |
2 |
4 |
d - 1,6 |
1,6 |
3 |
0,6 |
|
1,25 |
8 |
3,2 |
1,6 |
3,75 |
2,5 |
5 |
d - 2 |
2 |
3,75 |
0,6 |
|
1,5 |
10 |
3,8 |
1,9 |
4,5 |
3 |
6 |
d - 2,3 |
2,5 |
4,5 |
0,8 |
|
1,75 |
12 |
4,3 |
2,2 |
5,25 |
3,5 |
7 |
d - 2,6 |
3 |
5,25 |
1 |
|
2 |
14; 16 |
5 |
2,5 |
6 |
4 |
8 |
d - 3 |
3,4 |
6 |
1 |
|
2,5 |
18; 20; 22 |
6,3 |
3,2 |
7,5 |
5 |
10 |
d - 3,6 |
4,4 |
7,5 |
1,2 |
|
3 |
24; 27 |
7,5 |
3,8 |
9 |
6 |
12 |
d - 4,4 |
5,2 |
9 |
1,6 |
|
3,5 |
30; 33 |
9 |
4,5 |
10,5 |
7 |
14 |
d - 5 |
6,2 |
10,5 |
1,6 |
|
4 |
36; 39 |
10 |
5 |
12 |
8 |
16 |
d - 5,1 |
7 |
12 |
2 |
|
4,5 |
42; 45 |
11 |
5,5 |
13,5 |
9 |
18 |
d - 6,4 |
8 |
13,5 |
2 |
|
5 |
48; 52 |
12,5 |
6,3 |
15 |
10 |
20 |
d - 1 |
9 |
15 |
2,5 |
|
5,5 |
56; 60 |
14 |
7 |
16,5 |
11 |
22 |
d - 1,1 |
11 |
17,5 |
3,2 |
|
6 |
64; 68 |
15 |
7,5 |
18 |
12 |
24 |
d - 8,3 |
11 |
18 |
3,2 |
* Для d ≤ 3 мм h 12.
Примечания:
1. Номинальный сбег и нормальная проточка - для всех изделий классов точности А, В и С.
2. Нормальный недорез - для изделий класса точности А, длинный недорез - для изделий классов точности В и С.
3. Короткий сбег и короткий недорез - для изделий, в которых по техническим причинам необходим уменьшенный выход резьбы.
4. Допускается изготовлять проточки с размерами, указанными в приложении.
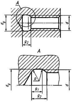
2. Форма и размеры проточек наружной метрической резьбы должны соответствовать указанным на черт, 6 и в табл. 1.

3. Размеры сбегов, недорезов и проточек для внутренней метрической резьбы должны соответствовать указанным на черт. 7 и 8 и в табл. 2.


мм
|
Шаг резьбы P |
Номинальный диаметр резьбы с крупным шагом d |
Сбег x, не более |
Недорез a, не менее |
Проточка |
|||||||||
|
нормальный |
короткий |
длинный |
нормальный |
короткий |
длинный |
g1, не менее |
g2, не более ≈3P |
dg Н13 |
R ≈ 0,5P |
||||
|
нормальная |
узкая |
нормальная |
узкая |
||||||||||
|
0,2 |
0,8 |
0,4 |
0,3 |
0,8 |
1,6 |
1,0 |
2,0 |
0,8 |
0,5 |
1,2 |
0,9 |
d + 0,1 |
0,1 |
|
0.25 |
1; 1,2 |
0,5 |
0,3 |
1,0 |
1,8 |
1,2 |
2,5 |
1,0 |
0,6 |
1,4 |
1,0 |
d + 0,1 |
0,12 |
|
0,3 |
1,4 |
0,6 |
0,4 |
1,2 |
2,0 |
1,2 |
2,8 |
1,2 |
0,75 |
1,6 |
1,25 |
d + 0,1 |
0,16 |
|
0,35 |
1,6; 1,8 |
0,7 |
0,4 |
1,4 |
2,2 |
1,5 |
3.2 |
1,4 |
0,9 |
1,9 |
1,4 |
d + 0,2 |
0,16 |
|
0,4 |
2 |
0,8 |
0,6 |
1,6 |
2,5 |
1,5 |
3,5 |
1,6 |
1,0 |
2,2 |
1,6 |
d + 0,2 |
0,2 |
|
0,45 |
2,2; 2,5 |
0,9 |
0,6 |
1,8 |
3,0 |
2,0 |
4,0 |
1,8 |
1,1 |
2,4 |
1,7 |
d + 0,2 |
0,2 |
|
0,5 |
3 |
1,0 |
0,8 |
2,0 |
3,0 |
2,0 |
5,0 |
2,0 |
1,25 |
2,7 |
2,0 |
d + 0,3 |
0,2 |
|
0,6 |
3,5 |
1,2 |
0,8 |
2,4 |
3,5 |
2,5 |
5.5 |
2,4 |
1,5 |
3,3 |
2,4 |
d + 0,3 |
0,4 |
|
0,7 |
4 |
1,4 |
1,0 |
2,8 |
3,5 |
2,5 |
6,0 |
2,8 |
1,75 |
3,8 |
2,75 |
d + 0,3 |
0,4 |
|
0,75 |
4,5 |
1,5 |
1,0 |
3,0 |
4,0 |
2,5 |
7,0 |
3,0 |
1,9 |
4 |
2,9 |
d ± 0,3 |
0,4 |
|
0,8 |
5 |
1,6 |
1,2 |
3.2 |
4,0 |
2,5 |
8,0 |
3,2 |
2,0 |
4,2 |
3,0 |
d + 0,3 |
0,4 |
|
1 |
6; 7 |
2,0 |
1,5 |
4,0 |
6,0 |
4,0 |
10,0 |
4,0 |
2,5 |
5,2 |
3,7 |
d + 0,5 |
0,6 |
|
1,25 |
8 |
2,5 |
1,8 |
5,0 |
8,0 |
4,0 |
12,0 |
5,0 |
3,2 |
6,7 |
4,9 |
d + 0,5 |
0,6 |
|
1,5 |
10 |
3,0 |
2,0 |
6,0 |
9,0 |
4,0 |
13,0 |
6,0 |
3.8 |
7,8 |
5,6 |
d + 0,5 |
0,8 |
|
1,75 |
12 |
3,5 |
2,5 |
7,0 |
11.0 |
5,0 |
16,0 |
7,0 |
4,3 |
9,1 |
6,4 |
d + 0,5 |
1,0 |
|
2 |
14; 16 |
4,0 |
3,0 |
8,0 |
11,0 |
5,0 |
16,0 |
8,0 |
5,0 |
10,3 |
7,3 |
d + 0,5 |
1,0 |
|
2,5 |
18; 20; 22 |
5,0 |
3,5 |
10,0 |
12,0 |
6,0 |
18,0 |
10,0 |
6,3 |
13 |
9,3 |
d + 0,5 |
1,2 |
|
3 |
24; 27 |
6,0 |
4,0 |
12,0 |
15,0 |
7,0 |
22,0 |
12,0 |
7,5 |
15,2 |
10,7 |
d + 0,5 |
1,6 |
|
3,5 |
30; 33 |
7,0 |
5,0 |
14,0 |
17,0 |
8,0 |
25,0 |
14,0 |
9,0 |
17,7 |
12,7 |
d + 0,5 |
1,6 |
|
4 |
36; 39 |
8,0 |
6,0 |
16,0 |
19,0 |
9,0 |
28,0 |
16,0 |
10,0 |
20,0 |
14,0 |
d + 0,5 |
2,0 |
|
4,5 |
42; 45 |
9,0 |
6,0 |
18,0 |
23,0 |
11,0 |
33,0 |
18,0 |
11,0 |
23,0 |
16,0 |
d + 0,5 |
2,0 |
|
5 |
48; 52 |
10,0 |
7,0 |
20,0 |
26,0 |
12,0 |
37,0 |
20,0 |
12,5 |
26,0 |
18,5 |
d + 0,5 |
2,5 |
|
5,5 |
56; 60 |
11,0 |
8,0 |
22,0 |
28,0 |
13,0 |
40,0 |
22,0 |
14,0 |
28,0 |
20,0 |
d + 0,5 |
3,2 |
|
6 |
64; 68 |
12,0 |
9,0 |
24,0 |
28,0 |
13,0 |
42,0 |
24,0 |
15,0 |
30,0 |
21,0 |
d + 0,5 |
3,2 |
ПРИЛОЖЕНИЕ
Справочное
ДОПУСТИМЫЕ РАЗМЕРЫ ПРОТОЧЕК
Таблица 3
мм
|
Шаг резьбы P |
Проточка |
|||
|
Узкая (g2 ≈ 2,5P) |
Широкая (g2 ≈ 3,5P) |
|||
|
g1, не менее |
g2, не более |
g1 не менее |
g2, не более |
|
|
0,2 |
0,25 |
0,5 |
0,45 |
0,7 |
|
0,25 |
0,25 |
0,6 |
0,55 |
0,9 |
|
0,3 |
0,3 |
0,75 |
0,6 |
1,05 |
|
0,35 |
0,4 |
0,9 |
0,7 |
1,2 |
|
0,4 |
0,5 |
1,0 |
0,8 |
1,4 |
|
0,45 |
0,5 |
1,1 |
1,0 |
1,6 |
|
0,5 |
0,5 |
1,25 |
1,1 |
1,75 |
|
0,6 |
0,6 |
1,5 |
1,2 |
2,1 |
|
0,7 |
0,8 |
1,75 |
1,5 |
2,45 |
|
0,75 |
0,9 |
1,9 |
1,6 |
2,6 |
|
0,8 |
0,9 |
2,0 |
1,7 |
2,8 |
|
1 |
1,1 |
2,5 |
2,1 |
3,5 |
|
1,25 |
1,5 |
3,2 |
2,7 |
4,4 |
|
1,5 |
1,8 |
3,8 |
3,2 |
5,2 |
|
1,75 |
2,1 |
4,3 |
3,9 |
6,1 |
|
2 |
2,5 |
5,0 |
4,5 |
7 |
|
2,5 |
3,2 |
6,3 |
5,6 |
8,7 |
|
3 |
3,7 |
7,5 |
6,7 |
10,5 |
|
3,5 |
4,7 |
9 |
7,7 |
12 |
|
4 |
5,0 |
10 |
9,0 |
14 |
|
4,5 |
5,5 |
11 |
10,5 |
16 |
|
5 |
6,5 |
12,5 |
11,5 |
17,5 |
|
5,5 |
7,5 |
14 |
12,5 |
19 |
|
6 |
8,0 |
15 |
14,0 |
21 |
ИНФОРМАЦИОННЫЕ ДАННЫЕ
1. РАЗРАБОТАН И ВНЕСЕН Государственным комитетом СССР по стандартам
2. УТВЕРЖДЕН И ВВЕДЕН В ДЕЙСТВИЕ Постановлением Государственного комитета СССР по стандартам от 11.12.86 № 3780
3. Стандарт полностью соответствует СТ СЭВ 214-86
Стандарт полностью соответствует международным стандартам ИСО 3508-76 и ИСО 4755-83
4. ВВЕДЕН ВПЕРВЫЕ
5. ССЫЛОЧНЫЕ НОРМАТИВНО-ТЕХНИЧЕСКИЕ ДОКУМЕНТЫ
|
Обозначение НТД, на который дана ссылка |
Номер пункта, подпункта, перечисления, приложения |
|
Вводная часть |
6. ПЕРЕИЗДАНИЕ 2006 г.