
ГОСУДАРСТВЕННЫЙ СТАНДАРТ СОЮЗА ССР
|
ТРУБЫ ПОЛИЭТИЛЕНОВЫЕ КАНАЛИЗАЦИОННЫЕ И ФАСОННЫЕ ЧАСТИ К НИМ Конструкция Polyethylene
waste - pipes and fittings. |
ГОСТ |
|
Дата введения 01.10.89 |
|
Несоблюдение стандарта преследуется по закону
Настоящий стандарт распространяется на трубы и фасонные части к ним (далее - изделия) из полиэтилена низкого (ПНД) и высокого (ПВД) давления, предназначенные для систем внутренней канализации зданий, и комплектующие детали к ним.
Технические требования, правила приемки, методы испытания, маркировка, упаковка, транспортирование, хранение и гарантии изготовителя труб и фасонных частей должны соответствовать указанным в ГОСТ 22689.0.
1.1. Канализационные трубы следует изготовлять прямыми отрезками длиной 2; 3; 5,5; 6 и 8 м с размерами, указанными на черт. 1 и в табл. 1.
По согласованию изготовителя с потребителем допускается изготовление труб другой длины.

Черт.1
Таблица 1
мм
|
d |
S |
||||
|
Номин. |
Пред. откл. |
ПНД |
ПВД |
||
|
Номин. |
Пред. откл. |
Номин. |
Пред. откл. |
||
|
40,0 |
+0,5 |
2,0 |
+0,5 |
3,0 |
+0,6 |
|
50,0 |
+0,5 |
3,0 |
+0,6 |
3,0 |
+0,6 |
|
90,0 |
+0,9 |
3,0 |
+0,6 |
4,3 |
+0,9 |
|
110,0 |
+1,0 |
3,5 |
+0,6 |
5,2 |
+1,0 |
Примечания:
1. Допускается до 01.01.91 по согласованию с потребителем изготовление труб номинальным наружным диаметром 48,6 и 107,5 мм по утвержденной конструкторской документации с предельными отклонениями от размеров, указанными для изделий номинальным диаметром 50 и 110 мм.
2. Теоретическая масса труб приведена в табл. 22 приложения.
Пример условного обозначения трубы канализационной наружным диаметром 110 мм длиной 6000 мм из ПНД:
Труба ТК 110- 6000 -ПНД ГОСТ 22689.2
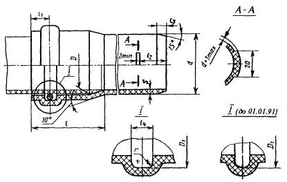
2.1. Конструкция и размеры раструбов и гладких концов фасонных частей типа Кк должны соответствовать указанным на черт. 2 и в табл. 2, типа Сс - на черт. 3 и в табл. 3, типа Рр - на черт. 4 и в табл. 4

Черт. 2
Таблица 2
мм
|
d |
D |
D1 |
S |
||||||
|
Номин. |
Пред. |
Номин. |
Пред. |
Номин. |
Пред. |
ПНД |
ПВД |
||
|
Номин. |
Пред. откл. |
Номин. |
Пред. откл. |
||||||
|
50,0 |
+0,5 |
50,8 |
+0,6 |
60,0 |
+0,6 |
3,0 |
+0.6 |
3,0 |
+0,6 |
|
90,0 |
+0,9 |
91,2 |
+0.9 |
101,6 |
+0,9 |
3,0 |
+0,6 |
4,3 |
+0,9 |
|
110,0 |
+1,0 |
111,4 |
+1,0 |
121,7 |
+1,0 |
3,5 |
+0,6 |
5.2 |
+1,0 |
Продолжение табл. 2
|
d |
l |
l1 |
l2 |
l3 |
r |
l4, не менее |
|
50,0 |
41 |
11 |
32 |
6 |
2,0 |
8 |
|
90,0 |
74 |
14 |
62 |
7 |
2,5 |
8 |
|
110?0 |
74 |
14 |
62 |
7 |
2,5 |
9 |
Черт.3
мм
|
d |
D |
d1 |
S |
l |
l1 |
||||||
|
Номин. |
Пред. откл. |
Номин. |
Пред. откл. |
Номин |
ПНД |
ПВД |
Номин. |
Пред. откл. |
|||
|
Номин. |
Пред. откл. |
Номин. |
Пред. откл. |
||||||||
|
40,0 |
+0,5 |
39,5 |
-0,4 |
38,0 |
3,0 |
+0.6 |
3,0 |
+0,6 |
15 |
+5 |
4 |
|
50,0 |
+0,5 |
49,5 |
-0,4 |
48,0 |
3,0 |
+0,6 |
3,0 |
+0,6 |
15 |
+5 |
4 |
|
90,0 |
+0,9 |
89,4 |
-0,5 |
87,0 |
3,0 |
+0,6 |
4,3 |
+0,9 |
22 |
+8 |
5 |
|
110,0 |
+1,0 |
109,3 |
-0,5 |
107,0 |
3,5 |
+0,6 |
5.2 |
+1,0 |
26 |
+9 |
5 |
Черт. 4
мм
|
d |
D |
D1 |
1, не менее |
S |
|||||
|
Номин. |
Пред. |
Номин. |
Пред. |
ПНД |
ПВД |
||||
|
Номин. |
Пред. откл. |
Номин. |
Пред. откл. |
||||||
|
40,0 |
+0,5 |
40,6 |
+0,5 |
СпУп 50´3 |
25 |
3,0 |
+0,6 |
3,0 |
+0,7 |
|
50,0 |
+0,5 |
50,6 |
+0,5 |
СпУп 60´3 |
25 |
3,0 |
+0,6 |
3,0 |
+0,7 |
|
90,0 |
+0,9 |
91,0 |
+0,7 |
СпУп 110´5 |
45 |
3,0 |
+0,6 |
4,3 |
+0.9 |
|
110,0 |
+1,0 |
111,2 |
+0,8 |
СпУп 130´5 |
55 |
3,5 |
+0,6 |
5,2 |
+1,0 |
Примечания:
1. Допускается до 01.01.91 по согласованию с потребителем изготовление фасонных частей для труб номинальным наружным диаметром 48,6 и 107,5 мм по утвержденной конструкторской документации с отклонениями от размеров, указанными для изделий диаметром 50 и 110мм.
2. Теоретическая масса фасонных частей приведена в табл. 23 приложения.
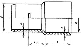
3.1. Патрубки следует изготовлять типов:
КС - с раструбами для соединения уплотнительным кольцом и сваркой (черт.5);
Кс - с раструбом для соединения уплотнительным кольцом и гладким концом для соединения сваркой (черт. 6);
Рс - с раструбом для соединения гайкой и гладким концом для соединения сваркой (черт. 7):
СР - с раструбом для соединения сваркой и раструбом для соединения гайкой (черт. 8),
Патрубок типа КС
Черт.5
Патрубок тип Кс
Черт. 6
Патрубок типа Рс
Черт.7
Патрубок типа СР
Черт.8
3.2. Размеры патрубков должны соответствовать указанным в табл. 5
Таблица 5
мм
|
d |
L, не менее, для патрубков типов |
|||
|
КС |
Кс |
Рc |
СР |
|
|
40,0 |
- |
- |
45 |
- |
|
50,0 |
61 |
65 |
45 |
45 |
|
90,0 |
100 |
100 |
72 |
72 |
|
110,0 |
105 |
110 |
86 |
86 |
Пример условного обозначения патрубка типа КС для труб диаметром 50 мм из ПНД:
Патрубок П 50К ´ 50С - ПНД ГОСТ 22689.2
4.1. Компенсационные патрубки следует изготовлять типов:
Кк - с компенсационным раструбом и гладким концом для соединения уплотнительным кольцом (черт. 9);
Компенсационный патрубок типа Кк

Черт.9
КС - с компенсационным раструбом и раструбом для соединение сваркой (черт. 10);
Кс - с компенсационным раструбом и гладким концом для соединения сваркой (черт. 11).
Компенсационный патрубок типа КС

Черт.10
Компенсационный патрубок типа Кс
Черт. 11
4.2. Размеры компенсационных патрубков различных типов должны соответствовать указанным в табл. 6.
Таблица 6
мм
|
d |
l |
L, не менее, для патрубков типов |
||
|
Кк |
Кс |
КС |
||
|
50,0 |
150 |
197 |
175 |
170 |
|
90,0 110,0 |
230 |
312 |
270 |
261 |
Пример условного обозначения компенсационного патрубка типа Кс из ПНД для соединения труб диаметром 110 мм:
Патрубок ПК 110K ´ 110с - ПНД ГОСТ 22689.2
5.1. Переходные патрубки следует изготовлять типов:
кК - с гладким концом и раструбом для соединения уплотнительным кольцом (черт. 12);
Патрубок типа кК

Черт.12
сК - с гладким концом для соединения сваркой и раструбом для соединения уплотнительным кольцом (черт. 13);
сС - с гладким концом и раструбом для соединения сваркой (черт. 14);
сР - с гладким концом для соединения сваркой и раструбом для соединения гайкой (черт. 15).
Патрубок типа сК

Черт.13
Патрубок типа сС
Черт.14
Патрубок типа сР
Черт.15
5.2. Размеры переходных патрубков должны соответствовать указанных в табл.7.
Таблица 7
мм
|
d |
d1 |
l, не менее |
L, не менее для патрубков типов |
|||
|
сК |
сС |
сР |
кК |
|||
|
50,0 |
40,0 |
34 |
- |
61 |
74 |
- |
|
90,0 |
50,0 |
42 |
108 |
82 |
92 |
145 |
|
110,0 |
50,0 |
49 |
120 |
94 |
104 |
152 |
|
110,0 |
90,0 |
50 |
154 |
102 |
125 |
186 |
Пример условного обозначения переходного патрубка типа кК из ПНД для соединения труб диаметрами 90 и 50 мм:
Патрубок ПП 90к ´ 50К - ПНД ГОСТ 22689.2
6.1. Приборные патрубки следует изготовлять следующих типов:
Ук - с раструбом для присоединения к выпуску унитаза или к выпуску чугунного трапа и гладким концом для соединения уплотнительным кольцом (черт. 16);
Патрубок типа Ук

Черт.16
УС - с раструбом для присоединения к выпуску унитаза или к выпуску чугунного трапа и раструбом для соединения сваркой (черт. 17).
Патрубок типа УС

Черт.17
6.2. Размеры приборных патрубков должны соответствовать указанным в табл. 8.
Таблица 8
мм
|
d |
D |
l |
l1 |
l2 |
S |
||||
|
Номин. |
Пред. откл. |
ПНД |
ПВД |
||||||
|
Номин. |
Пред. откл. |
Номин. |
Пред. откл. |
||||||
|
50,0 |
71 |
+0,6 |
60 |
50 |
6 |
3,0 |
+0,6 |
3,0 |
+0,6 |
|
90,0 |
112 |
+1,0 |
60 |
113 |
8 |
3,0 |
+0,6 |
4,3 |
+0,9 |
|
110,0 |
112 |
+1,0 |
75 |
113 |
8 |
3,5 |
+0,6 |
5,2 |
+1,0 |
Пример условного обозначения приборного патрубка типа Ук диаметром 110 мм из ПНД для присоединения к выпуску унитаза:
Патрубок ППр Ук ´ 110к- ПНД ГОСТ 22689.2
7.1. Приборные отводы следует изготовлять следующих типов:
УС - с раструбом для присоединения к выпуску унитаза и раструбом для соединения сваркой (черт. 18);
Отвод типа УС

Черт. 18
Ук - с раструбом для присоединения к выпуску унитаза и гладким концом для соединения уплотнительным кольцом (черт. 19).
Отвод типа Ук

Черт. 19
7.2. Размеры приборных отводов должны соответствовать указанным в табл. 9.
Таблица 9
мм
|
d |
l1 |
l2 |
l3 |
S |
|||
|
ПНД |
ПВД |
||||||
|
Номин. |
Пред. откл. |
Номин. |
Пред. откл. |
||||
|
90,0 |
60 |
115 |
30 |
3,0 |
+0,6 |
4,3 |
+0,9 |
|
110,0 |
75 |
115 |
40 |
3,5 |
+0,6 |
5,2 |
+1,0 |
Пример условного обозначения отвода приборного типа УС диаметром 110 мм из ПНД для присоединения к выпуску унитаза:
Отвод ОПр У ´ 110С - ПНД ГОСТ 22689.2
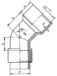
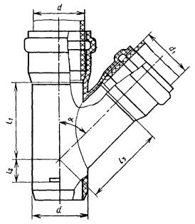
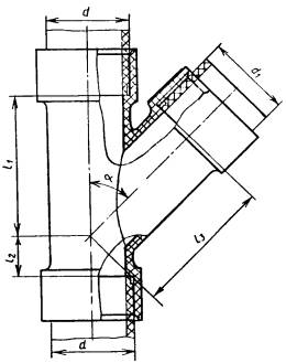
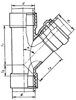
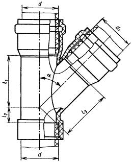
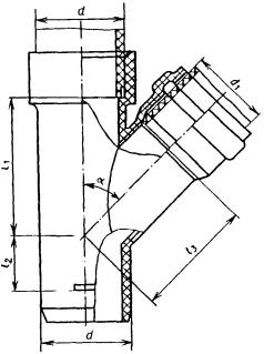
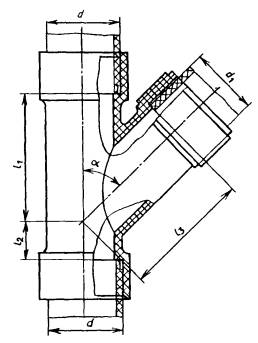
8.1. Отводы следует изготовлять типов:
Кк - с раструбом и гладким концом для соединения уплотнительным
кольцом (черт. 20);
СК - с раструбами для соединения сваркой и уплотнительным кольцом (черт. 21);
СС - с раструбами для соединения сваркой (черт. 22);
СР - с раструбами для соединения сваркой и гайкой (черт. 23).
8.2. "Размеры отводов должны соответствовать указанным в табл. 10.
Отвод типа Кк
Черт.20
Отвод типа СК
Черт.21
Отвод типа СС
Черт. 22
Отвод типа СР
Черт. 23
Таблица 10
мм
|
d |
d1 |
a30° |
a45° |
a87° 30' |
|||
|
l1 |
l2 |
l1 |
l2 |
l1 |
l2 |
||
|
не менее |
|||||||
|
40,0 |
40,0 |
- |
- |
14 |
14 |
33 |
33 |
|
50,0 |
40,0 |
- |
- |
17 |
17 |
39 |
31 |
|
50,0 |
50,0 |
- |
- |
17 |
17 |
39 |
39 |
|
90,0 |
90,0 |
22 |
22 |
29 |
29 |
73 |
73 |
|
110,0 |
110,0 |
24 |
24 |
42 |
42 |
85 |
85 |
Примечание. Размеры 50´40 даны для отводов типов СК и СР
Пример условного обозначения отвода типа СР с углом a = 87° 30' из ПНД для соединения с трубами 50 мм и 40 мм:
Отвод О 50С ´ 40Р - ПНД ГОСТ 22689.2
То же, типа СК с углом a = 30°:
Отвод О 30° 40С ´ 50K - ПНД ГОСТ 22689.2
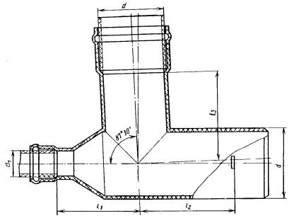
9.1. Тройники следует изготовлять типов:
КкК - с двумя раструбами и гладким концом для соединения уплотнительными кольцами (черт. 24);
КкудК - с двумя раструбами и удлиненным гладким концом для соединения уплотнительными кольцами (черт. 25);
Тройник типа КкК

Черт. 24
Тройник типа КкудК
Черт. 25
КудкК - с удлиненным компенсационным раструбом, гладким концом и боковым раструбом для соединения уплотнительными кольцами (черт. 26);
КСК - с двумя раструбами для соединения уплотнительными кольцами и раструбом для соединения сваркой (черт. 27);
ССК - с двумя раструбами для соединения сваркой и раструбом для соединения уплотнительным кольцом (черт. 28);
ССС - с тремя раструбами для соединения сваркой (черт. 29);
РСР - с двумя раструбами для соединения гайкой и раструбом для соединения сваркой (черт. 30);
ССР - с двумя раструбами для соединения сваркой и раструбом для соединения гайкой (черт. 31);
СкК - с раструбом для соединения сваркой, гладким концом и раструбом для соединения уплотнительным кольцом (черт. 32).
Тройник типа КудкК
Черт 26
Тройник типа КСК
Черт. 27
Тройник типа ССК
Черт. 28
Тройник типа ССС
Черт. 29
Тройник типа РСР
Черт. 30
Тройник типа ССТ
Черт. 31
Тройник типа СкК
Черт.32
9.2. Размеры тройников типов КкК, КудкК, КСК, ССК, ССС, РСР, ССР, СкК должны соответствовать указанным в табл. 11, а тройника типа КкудК - в табл. 12
Таблица 11
мм
|
d |
d1 |
a = 45° |
a = 60° |
a = 87° 30' |
|||||||||
|
l1 |
l2 |
l3 |
l1 |
l2 |
l3 |
l1 |
l2 |
l3 |
l4 |
||||
|
не менее |
|||||||||||||
|
50,0 |
40,0 |
80 |
9 |
70 |
- |
- |
- |
33 |
31 |
39 |
- |
||
|
50,0 |
50,0 |
70 |
17 |
70 |
- |
- |
- |
31 |
39 |
39 |
150* |
||
|
90,0 |
50,0 |
100 |
14 |
100 |
- |
- |
- |
39 |
36 |
58 |
- |
||
|
90,0 |
90,0 |
120 |
30 |
120 |
- |
- |
- |
63 |
59 |
63 |
- |
||
|
110,0 |
50,0 |
115 |
14 |
120 |
|
|
|
39 |
34 |
68 |
- |
||
|
110,0 |
110,0 |
150 |
37 |
145 |
110 |
50 |
110 |
70 |
85 или 58** |
70 |
- |
||
____________
* Для тройника типа КудкК.
**Для тройников, устанавливаемых в санитарно-технических кабинах.
Примечание. Размер 50´40 указан для тройников типов ССС, РСР, ССР.
мм
|
d |
d1 |
a = 87° 30' |
||
|
l1 |
l2 |
l3 |
||
|
90,0 |
50,0 |
103 |
151 |
150 |
|
110,0 |
50,0 |
128 |
151 |
150 |
Пример условного обозначения тройника типа КСК с углом a = 87° 30¢ для соединения с трубами диаметром 110 мм и 50 мм из ПНД:
Тройник T 110К ´ 110C ´ 50К - ПНД ГОСТ 22689.2
То же, тройника типа КСК с углом a = 45° для соединения труб тех же диаметров из ПНД:
Тройник Т45° 110К ´ 110С ´ 50К - ПНД ГОСТ 22689.2
10.1. Крестовины следует изготовлять типов:
КкКК - с тремя раструбами и гладким концом для соединения уплотнительными кольцами (черт. 33);
СкКК - с раструбом для соединения сваркой, двумя раструбами и гладким концом для соединения уплотнительными кольцами (черт. 34);
СССР - с тремя раструбами для соединения сваркой и раструбом для соединения гайкой (черт. 35);
СССК - с тремя раструбами для соединения сваркой и раструбом для соединения уплотнительным кольцом (черт. 36);
СССС - с четырьмя раструбами для соединения сваркой (черт. 37).
Крестовина типа КкКК
Черт 33
Крестовина типа СкКК
Черт. 34
Крестовина типа СССР
Черт. 35
Крестовина типа СССК
Черт. 36
Крестовина типа СССС
Черт.37
10.2. Размеры крестовин должны соответствовать указанным в табл. 13.
Таблица 13
мм
|
Тип изделия |
d |
d1 |
a |
l1 |
l2 |
l3 |
l4 |
|
|
50,0 |
50,0 |
45° |
85 |
17 |
70 |
- |
|
СкКК |
|
|
87° 30' |
36 |
39 |
39 |
- |
|
|
110,0 |
110,0 |
87° 30' |
70 |
58 |
70 |
- |
|
|
90,0 |
90,0 |
45° |
125 |
30 |
125 |
|
|
СССС |
|
|
87° 30' |
63 |
59 |
63 |
- |
|
|
110,0 |
110,0 |
87° 30' |
70 |
85 |
70 |
- |
|
|
110,0 |
50,0 |
60° |
70 |
5 |
88 |
|
|
КкКК |
|
|
87° 30' |
37 |
34 |
66 |
- |
|
|
110,0 |
110,0 |
60° |
110 |
50 |
110 |
- |
|
|
|
|
87° 30' |
70 |
85 или 58* |
70 |
- |
|
СССР |
110,0 |
50,0 |
87° 30' |
70 |
85 |
70 |
66 |
|
СССК |
110,0 |
50,0 |
87° 30' |
70 |
85 |
70 |
66 |
_________
*Для крестовин, устанавливаемых в санитарно-технических кабинах.
Пример условного обозначения крестовины типа СкКК с углом a = 87° 30' для соединения с трубами диаметром 110 мм из ПНД:
Крестовина К 110С ´ 110к ´ 110К ´ 110K - ПНД ГОСТ 22689.2
11.1. Крестовины со смещенными осями отводов следует изготовлять типов:
КкКК - с тремя раструбами и гладким концом для соединения уплотнительными кольцами (черт. 38);
СкКК - с двумя раструбами и гладким концом для соединения с помощью уплотнительных колец и раструбом для соединения сваркой (черт. 39).
Крестовина со смещенными осями отводов типа КкКК
Черт 38
Крестовина со смещенными осями отводив типа СкКК
Черт. 39
Пример условного обозначения крестовины со смещенными осями отводов типа СкКК для соединения труб диаметрами 110 мм и 50 мм из ПНД:
Крестовина Ксм 110C ´ 110к ´ 110К ´ 50К - ПНД ГОСТ 22689.2
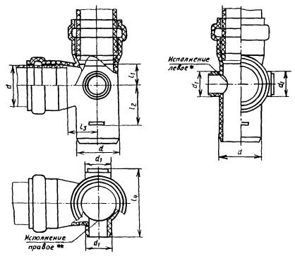
12.1. Тройники универсальные следует изготовлять типов:
КкКс (или КкКсс) - с двумя раструбами и гладким концом для соединения уплотнительными кольцами и боковым отводом (или боковыми отводами) для получения двухплоскостных крестовин (или пятериков) путем приварки патрубков, указанных в разд. 3 (черт. 40);
Универсальный тройник типа КкКс (или КкКсс)
____________
*В случае правого исполнения - глухая стенка.
**В случае левого исполнения - глухая стенка.
Черт. 40
СССС (или ССССС) - с тремя раструбами для соединения сваркой и боковым отводом (или двумя отводами) для получения двухплоскостных крестовин (или пятериков) путем приварки патрубков, указанных в разд. 3 (черт. 41).
Универсальный тройник типа СССС (или ССССС)
___________
* В случае правого исполнения - глухая стенка.
**В случае левого исполнения - глухая стенка.
Черт. 41
12.2. Размеры универсальных тройников должны соответствовать указанным в табл. 14.
Таблица 14
мм
|
d |
d1 |
l1 |
l2 |
l3 |
l4 |
|
|
|
не менее |
|||
|
90,0 |
50,0 |
63 |
59 |
63 |
150 |
|
110,0 |
50,0 |
70 |
58 |
70 |
150 |
Пример условного обозначения тройника универсального типа КкКс с правым боковым отводом диаметром 50 мм для соединения с трубами диаметром 110 мм из ПНД:
Тун 110К ´ 110к ´ 110К ´ 50с - Пр - ПНД ГОСТ 22689.2
То же, для левого исполнения:
Тун 110K ´ 110к ´ 110К ´ 50с - Л - ПНД ГОСТ 22689.2
То же, тройника универсального типа ССССС с двумя боковыми отводами диаметром 50 мм для соединения с трубами диаметром 90 мм из ПНД:
Тун 90С ´ 90С ´ 90С ´ 50С ´ 50С - ПНД ГОСТ 22689.2
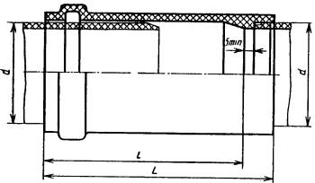
13.1. Муфты следует изготовлять типов:
КК - с раструбами для соединения уплотнительными кольцами (черт. 42);
СС - с раструбами для соединения сваркой (черт. 43).
Муфта типа КК

Черт.42
Исполнение 1

Исполнение 2

Черт.43
13.2. Размеры муфт должны соответствовать указанным в табл. 15.
Таблица 15
мм
|
d |
L |
l |
|
|
не менее |
|
|
50,0 |
87 |
|
|
90,0 |
153 |
5 |
|
110,0 |
|
|
Пример условного обозначения муфты типа СС для соединения труб диаметрами 50 мм и 40 мм из ПНД:
Муфта М 50С ´ 40С - ПНД ГОСТ 22689.2
14.1. Ревизии следует изготовлять типов:
К-с раструбом и гладким концом для соединения уплотнительным кольцом (черт. 44);
С-с раструбами для соединения сваркой (черт. 45).
Ревизия типа К
Черт. 44
Ревизия типа С
Черт. 45
14.2 Размеры ревизий должны соответствовать указанным в табл. 16.
Таблица 16
мм
|
d |
D |
l1 |
l2 |
l3 |
l4 |
|
не менее |
|||||
|
50,0 |
СпУп 60´3 |
39 |
39 |
48 |
15 |
|
90,0 |
СпУп 110´5 |
57 |
70 |
82 |
25 |
|
110,0 |
СпУп 130´5 |
70 |
85 |
88 |
25 |
Пример условного обозначения ревизии типа К для соединения с трубами диаметром 110 мм из ПНД:
Ревизия Р 110К - ПНД ГОСТ 22689.2
15.1. Конструкция и размеры заглушек должны соответствовать черт. 46 и табл. 17, конструкция и размеры крышек - черт. 47 и табл. 18.
Заглушка

Черт.46
Крышка
|
Исполнение "а" |
Исполнение "б" |
Черт. 47
мм
|
d |
D |
S |
h |
|
40,0 |
52 |
3,5 |
35 |
|
50,0 |
64 |
4,0 |
40 |
|
90,0 |
106 |
5,0 |
60 |
|
110,0 |
126 |
5,0 |
60 |
мм
|
d |
D |
h |
|
40,0 |
СпУп 50´3 |
21 |
|
50,0 |
СпУп 60´3 |
21 |
|
90,0 |
СпУп 110´5 |
32 |
|
110,0 |
СпУп 130´5 |
32 |
Пример условного обозначения заглушки для раструба фасонной части диаметром 110 мм из ПНД:
Заглушка З 110 - ПНД ГОСТ 22689.2
То же, крышки исполнения "б" для раструба фасонной части диаметром 50 мм из ПНД:
Крышка К 50(б) -ПНД ГОСТ 22689.2
16.1. Конструкция и размеры накидных гаек должны соответствовать указанным на черт. 48 и в табл. 19.
Гайка накидная

Черт. 48
мм
|
d |
D |
D1 |
h, не менее |
|
40,0 |
СпУп 50х3 |
41 |
21 |
|
50,0 |
СпУп 60х3 |
51 |
21 |
|
90,0 |
СпУп 110х5 |
91 |
32 |
|
110,0 |
СпУп 130х5 |
111 |
32 |
Пример условного обозначения гайки накидной канализационной из ПНД для труб диаметром 50 мм:
Гайка Г 50 - ПНД ГОСТ 22689.2
17.1 Лента прокладочная полиэтиленовая предназначена для установки между наружной поверхностью канализационного трубопровода и внутренней поверхностью металлических креплений.
17.2 Конструкция и размеры прокладочной ленты должны соответствовать указанным на черт. 49.

Масса 1м- 0,020 кг
Черт.49
Условное обозначение прокладочной ленты из ПВД:
Лента ЛП - ПНД ГОСТ 22689.2
17.3. Ленту следует изготовлять из полиэтилена высокого давления по ГОСТ 16337.
18.1. Резиновые уплотнительные кольца предназначены для комплектации канализационных фасонных частей из ПНД и ПВД.
18.2. Конструкция и размеры уплотнительных колец должны соответствовать указанным на черт. 50 и в табл. 20.
![]()
Черт. 50
мм
|
Номинальный диаметр трубы |
D |
d1 |
|
50,0 |
|
6+0,4 |
|
90,0 |
|
7+0,4 |
|
110,0 |
|
7+0,4 |
Пример условного обозначения уплотнительного кольца для комплектации фасонной части с номинальным диаметром 50 мм:
Кольцо Куп 50 ГОСТ 22689.2
18.3. Резина для уплотнительных колец должна иметь твердость по Шору в пределах 30-45 и относительную остаточную деформацию после старения в воздушной среде при сжатии на 40 % и температуре 70 °С в течение 24 ч не более 25 %.
19.1. Уплотнительные прокладки предназначены для комплектации канализационных фасонных частей из ПНД и ПВД с резьбовыми раструбами.
19.2. Конструкция и размеры уплотнительных прокладок должны соответствовать указанным на черт. 51 и в табл. 21.

Черт. 51
мм
|
Номинальный диаметр трубы |
D1 |
Пред. откл. |
D2 |
Пред. откл. |
S |
|
40,0 |
39 |
+1,0 |
45 |
-1,2 |
2 |
|
50,0 |
49 |
+1,0 |
55 |
-1,2 |
2 |
|
90,0 |
93 |
+1,4 |
102 |
-1,4 |
3 |
|
110,0 |
112 |
+1,4 |
122 |
-1,4 |
3 |
Пример условного обозначения уплотнительной прокладки для канализационной фасонной части с номинальным диаметром резьбового раструба 50 мм:
Прокладка П 50 ГОСТ 22689.2
19.3. Уплотнительные прокладки следует изготовлять из резины, по ГОСТ 7338 или из формовой резины по действующим техническим условиям.
Справочное
Таблица 22
|
d |
Масса 1 м труб. кг |
|
|
ПНД |
ПВД |
|
|
40,0 |
0,228 |
0,322 |
|
50,0 |
0,423 |
0,409 |
|
90,0 |
0,782 |
1,068 |
|
110,0 |
1,117 |
1,580 |
Таблица 23
|
Наименование изделия |
d |
d1 |
a |
Тип |
Масса фасонных частей, кг |
|
|
ПНД |
ПВД |
|||||
|
Патрубки |
50,0 |
- |
- |
|
0,039 |
0,04 |
|
90,0 |
- |
- |
КС |
0,10 |
0,13 |
|
|
110,0 |
- |
- |
|
0,16 |
0,22 |
|
|
50,0 |
- |
- |
|
0,035 |
0,04 |
|
|
90,0 |
- |
- |
Кс |
0,08 |
0,12 |
|
|
110,0 |
- |
- |
|
0,14 |
0,19 |
|
|
40,0 |
- |
- |
|
0,020 |
0,02 |
|
|
50,0 |
- |
- |
|
0,025 |
0,025 |
|
|
90,0 |
- |
- |
Рс |
0,10 |
0,13 |
|
|
110,0 |
- |
- |
|
0,16 |
0,22 |
|
|
50,0 |
- |
- |
|
0,026 |
0,03 |
|
|
90,0 |
- |
- |
СР |
0,11 |
0,16 |
|
|
110,0 |
- |
- |
|
0,16 |
0,25 |
|
|
Патрубки компенсационные |
50,0 |
- |
- |
|
0,098 |
0,04 |
|
90,0 |
- |
- |
Кк |
0,26 |
0,40 |
|
|
110,0 |
- |
- |
|
0,39 |
0,54 |
|
|
50,0 |
- |
- |
|
0,088 |
0,09 |
|
|
90,0 |
- |
- |
Кс |
0,22 |
0,35 |
|
|
110,0 |
- |
- |
|
0,34 |
0,54 |
|
|
50,0 |
- |
- |
|
0,093 |
0,09 |
|
|
90,0 |
- |
- |
КС |
0,23 |
0,35 |
|
|
110,0 |
- |
- |
|
0,35 |
0,47 |
|
|
Патрубки переходные |
90,0 |
50,0 |
|
|
0,097 |
0.13 |
|
110,0 |
50,0 |
- |
кК |
0,13 |
0,20 |
|
|
110,0 |
90,0 |
|
|
0,17 |
0,28 |
|
|
90,0 |
50,0 |
|
|
0,07 |
0,08 |
|
|
110,0 |
50,0 |
- |
сК |
0,09 |
0,12 |
|
|
110,0 |
90,0 |
|
|
0,18 |
0,25 |
|
|
50,0 |
40,0 |
|
|
0,025 |
0,025 |
|
|
90,0 |
50,0 |
- |
сС |
0,05 |
0,07 |
|
|
110,0 |
50,0 |
|
|
0,07 |
0,10 |
|
|
110,0 |
90,0 |
|
|
0,10 |
0,16 |
|
|
50,0 |
40,0 |
|
|
0,033 |
0,033 |
|
|
90,0 |
50,0 |
|
|
0,06 |
0,13 |
|
|
110.0 |
50,0 |
- |
сР |
0,08 |
0,17 |
|
|
110,0 |
90,0 |
|
|
0,17 |
0,25 |
|
|
Патрубки приборные |
50,0 |
- |
|
|
0,078 |
0,078 |
|
90,0 |
- |
- |
Ук |
0,20 |
0,22 |
|
|
110,0 |
- |
|
|
0,29 |
0,46 |
|
|
50,0 |
- |
|
|
0,061 |
0,06 |
|
|
90,0 |
- |
|
УС |
0,12 |
0,13 |
|
|
110,0 |
- |
|
|
0,15 |
0,25 |
|
|
Отводы приборные |
90,0 |
- |
- |
Ук |
0,18 |
0,28 |
|
110,0 |
- |
|
|
0,40 |
0,65 |
|
|
90,0 |
- |
- |
УС |
020 |
0,31 |
|
|
110,0 |
- |
|
|
0,37 |
0,60 |
|
|
Отводы |
90,0 |
90,0 |
30° |
Кк |
0,14 |
0,22 |
|
110,0 |
110,0 |
|
|
0,22 |
0,36 |
|
|
50,0 |
50,0 |
|
|
0,052 |
0,052 |
|
|
90,0 |
90,0 |
45° |
Кк |
0,15 |
0,24 |
|
|
110,0 |
110,0 |
|
|
0,27 |
0,43 |
|
|
50,0 |
50,0 |
|
|
0,065 |
0,065 |
|
|
90,0 |
90,0 |
87° 30' |
Кк |
0,20 |
0,31 |
|
|
110,0 |
110,0 |
|
|
0,32 |
0,52 |
|
|
90,0 |
90,0 |
30° |
СК |
0,12 |
0,18 |
|
|
110,0 |
110,0 |
|
|
0,19 |
0,31 |
|
|
50,0 |
40,0 |
|
|
0,040 |
0,040 |
|
|
50,0 |
50,0 |
45° |
СК |
0,048 |
0,048 |
|
|
90,0 |
90,0 |
|
|
0,05 |
0,19 |
|
|
110,0 |
110,0 |
|
|
0,12 |
0,37 |
|
|
50,0 |
40,0 |
|
|
0,049 |
0,049 |
|
|
50,0 |
50,0 |
|
|
0,062 |
0,062 |
|
|
90,0 |
90,0 |
87° 30' |
СК |
0,17 |
0,27 |
|
|
110,0 |
110,0 |
|
|
0,31 |
0,49 |
|
|
90,0 |
90,0 |
30° |
СС |
0,08 |
0,17 |
|
|
110,0 |
110,0 |
|
|
0,12 |
0,20 |
|
|
40,0 |
40,0 |
|
|
0,021 |
0,02 |
|
|
50,0 |
50,0 |
45° |
СС |
0,031 |
0,03 |
|
|
90,0 |
90,0 |
|
|
0,09 |
0,18 |
|
|
110,0 |
110,0 |
|
|
0,16 |
0,26 |
|
|
40,0 |
40,0 |
|
|
0,035 |
0,035 |
|
|
50,0 |
50,0 |
87° 30' |
СС |
0,050 |
0,050 |
|
|
90,0 |
90,0 |
|
|
0,14 |
0,22 |
|
|
110,0 |
110,0 |
|
|
0,23 |
0,37 |
|
|
90,0 |
90,0 |
30° |
СР |
0,15 |
0,23 |
|
|
110,0 |
110,0 |
|
|
0,22 |
0,35 |
|
|
50,0 |
40,0 |
|
|
0,031 |
0,031 |
|
|
50,0 |
50,0 |
45° |
СР |
0,056 |
0,056 |
|
|
90,0 |
50,0 |
|
|
0,21 |
0,33 |
|
|
110,0 |
110,0 |
|
|
0,32 |
0,51 |
|
|
50,0 |
40,0 |
|
|
0,047 |
0,047 |
|
|
50,0 |
50,0 |
87° 30' |
СР |
0,056 |
0,056 |
|
|
90,0 |
90,0 |
|
|
0,21 |
0,33 |
|
|
110,0 |
110,0 |
|
|
0,32 |
0,51 |
|
|
Тройники |
50,0 |
50,0 |
|
|
0,115 |
0,115 |
|
90,0 |
50,0 |
|
|
0,23 |
0,33 |
|
|
90,0 |
90,0 |
45° |
КкК |
0,33 |
0,50 |
|
|
110,0 |
50,0 |
|
|
0,34 |
0,51 |
|
|
110,0 |
110,0 |
|
|
0,55 |
0,89 |
|
|
110,0 |
110,0 |
60° |
КкК |
0,49 |
0,79 |
|
|
50,0 |
50,0 |
|
|
0,099 |
0,099 |
|
|
90,0 |
50,0 |
|
|
0,19 |
0,27 |
|
|
90,0 |
90,0 |
87° 30' |
КкК |
0,27 |
0,42 |
|
|
110,0 |
50,0 |
|
|
0,29 |
0,43 |
|
|
110,0 |
110,0 |
|
|
0,43 |
0,70 |
|
|
Тройники |
50,0 |
50,0 |
|
|
0,111 |
0,111 |
|
90,0 |
50,0 |
|
|
0,21 |
0,30 |
|
|
90,0 |
90,0 |
45° |
КСК |
0,30 |
0,60 |
|
|
110,0 |
50,0 |
|
|
0,31 |
0,46 |
|
|
110,0 |
110,0 |
|
|
0,52 |
0,83 |
|
|
110,0 |
110,0 |
60° |
КСК |
0,46 |
0,74 |
|
|
50,0 |
50,0 |
|
|
0,094 |
0,094 |
|
|
90,0 |
50,0 |
|
|
0,17 |
0,24 |
|
|
90,0 |
90,0 |
87° 30' |
КСК |
0,25 |
0,38 |
|
|
110,0 |
50,0 |
|
|
0,25 |
0,38 |
|
|
110,0 |
110,0 |
|
|
0,43 |
0,21 |
|
|
50,0 |
50,0 |
|
|
0,100 |
0,100 |
|
|
90,0 |
50,0 |
|
|
0,17 |
0,24 |
|
|
90,0 |
90,0 |
45° |
ССК |
0,29 |
0,45 |
|
|
110,0 |
50,0 |
|
|
0,24 |
0,37 |
|
|
110,0 |
110,0 |
|
|
0,47 |
0,76 |
|
|
110,0 |
110,0 |
60° |
ССК |
0,39 |
0,63 |
|
|
50,0 |
50,0 |
|
|
0,078 |
0,078 |
|
|
90,0 |
50,0 |
|
|
0,13 |
0,18 |
|
|
90,0 |
90,0 |
87° 30' |
ССК |
0,21 |
0,32 |
|
|
110,0 |
50,0 |
|
|
0,19 |
0,29 |
|
|
110,0 |
110,0 |
|
|
0,36 |
0,58 |
|
|
50,0 |
40,0 |
|
|
0,070 |
0,070 |
|
|
50,0 |
50,0 |
|
|
0,085 |
0,085 |
|
|
90,0 |
50,0 |
45° |
ССС |
0,16 |
0,22 |
|
|
90,0 |
90,0 |
|
|
0,23 |
0.36 |
|
|
110,0 |
50,0 |
|
|
0,23 |
0,34 |
|
|
110,0 |
110,0 |
|
|
0,39 |
0,63 |
|
|
Тройники |
110,0 |
110,0 |
60° |
ССС |
0.33 |
0,54 |
|
50,0 |
40.0 |
|
|
0,053 |
0,053 |
|
|
50,0 |
50,0 |
|
|
0,062 |
0,062 |
|
|
90,0 |
50,0 |
87° 30' |
ССС |
0,11 |
0,15 |
|
|
90,0 |
90,0 |
|
|
0,18 |
0,27 |
|
|
110,0 |
50,0 |
|
|
0,17 |
0,26 |
|
|
110,0 |
110,0 |
|
|
0,29 |
0,47 |
|
|
50,0 |
40,0 |
|
|
0,093 |
0,095 |
|
|
50,0 |
50,0 |
|
|
0,109 |
0,109 |
|
|
90,0 |
50,0 |
45° |
РСР |
0,24 |
0,34 |
|
|
90,0 |
90,0 |
|
|
0,40 |
0,57 |
|
|
110,0 |
50,0 |
|
|
0,33 |
0,50 |
|
|
110,0 |
110,0 |
|
|
0,60 |
0,96 |
|
|
110,0 |
110,0 |
60° |
РСР |
0,52 |
0,83 |
|
|
50,0 |
40,0 |
|
|
0,075 |
0,075 |
|
|
50,0 |
50,0 |
|
|
0,083 |
0,083 |
|
|
90,0 |
50,0 |
87° 30' |
РСР |
0,19 |
0,27 |
|
|
90,0 |
90,0 |
|
|
0,32 |
0,49 |
|
|
110,0 |
50,0 |
|
|
0,26 |
0,39 |
|
|
110,0 |
110,0 |
|
|
0,48 |
0,78 |
|
|
50,0 |
40,0 |
|
|
0,083 |
0,083 |
|
|
50,0 |
50,0 |
|
|
0,099 |
0,099 |
|
|
90,0 |
50,0 |
45° |
ССР |
0,16 |
0,22 |
|
|
90,0 |
90,0 |
|
|
0,33 |
0,51 |
|
|
110,0 |
50,0 |
|
|
0,24 |
0,36 |
|
|
110,0 |
110,0 |
|
|
0,50 |
0,81 |
|
|
110,0 |
110,0 |
60° |
ССР |
0,42 |
0,68 |
|
|
50,0 |
40,0 |
|
|
0,060 |
0,060 |
|
|
50,0 |
50,0 |
87° 30¢ |
ССР |
0,071 |
0,071 |
|
|
50,0 |
40,0 |
|
|
0,06 |
0,06 |
|
|
50,0 |
50,0 |
|
|
0,071 |
0,071 |
|
|
90,0 |
50,0 |
87° 30' |
ССР |
0,12 |
0,17 |
|
|
90,0 |
90,0 |
|
|
0,25 |
0,38 |
|
|
110,0 |
50,0 |
|
|
0,18 |
0,27 |
|
|
110,0 |
110,0 |
|
|
0,39 |
0,62 |
|
|
Тройники |
50,0 |
50,0 |
|
|
0,104 |
0,104 |
|
90,0 |
50,0 |
|
|
0,20 |
0,28 |
|
|
90,0 |
90,0 |
45° |
СкК |
0,31 |
0,48 |
|
|
110,0 |
50,0 |
|
|
0,28 |
0,42 |
|
|
110,0 |
110,0 |
|
|
0,50 |
0,81 |
|
|
110.0 |
110,0 |
60° |
СкК |
0,44 |
0,70 |
|
|
50,0 |
50,0 |
|
|
0,082 |
0,082 |
|
|
90,0 |
50,0 |
|
|
0,15 |
0,21 |
|
|
90,0 |
90,0 |
87° 30' |
СкК |
0,24 |
0,37 |
|
|
110,0 |
50,0 |
|
|
0,21 |
0,32 |
|
|
110,0 |
110,0 |
|
|
0,39 |
0,63 |
|
|
50,0 |
50,0 |
- |
КудкК |
0,151 |
0,151 |
|
|
90,0 |
50,0 |
- |
КкудК |
0,40 |
0,56 |
|
|
110,0 |
50,0 |
|
|
0,57 |
0,85 |
|
|
Крестовины |
110,0 |
50,0 |
60° |
КкКК |
0,32 |
0,48 |
|
110,0 |
110,0 |
|
|
0,66 |
1,06 |
|
|
110,0 |
50,0 |
87° 30' |
КкКК |
0,30 |
0,46 |
|
|
110,0 |
110,0 |
|
|
0,59 |
0,94 |
|
|
50,0 |
50,0 |
45° |
СкКК |
0,144 |
0,144 |
|
|
50,0 |
50,0 |
87° 30' |
СкКК |
0,115 |
0,115 |
|
|
110,0 |
110,0 |
|
|
0,49 |
0,78 |
|
|
90,0 |
90,0 |
45° |
СССС |
0,30 |
0,46 |
|
|
90,0 |
90,0 |
87° 30' |
СССС |
0,21 |
0,33 |
|
|
110,0 |
110,0 |
|
|
0,36 |
0,57 |
|
|
110,0 |
50,0 |
87° 30' |
СССР |
0,31 |
0,47 |
|
|
110,0 |
50,0 |
87° 30' |
СССК |
0,32 |
0,48 |
|
|
Крестовины со смещенными осями отводов |
110,0 |
50,0 |
- |
КкКК |
0,46 |
0,70 |
|
110,0 |
50,0 |
- |
СкКК |
0,39 |
0,59 |
|
|
Тройники универсальные |
90,0 |
50,0 |
- |
КкКс |
0,29 |
0,40 |
|
110,0 |
50,0 |
|
|
0,44 |
0,66 |
|
|
90,0 |
50,0 |
- |
КкКсс |
0,29 |
0,41 |
|
|
110,0 |
50,0 |
|
|
0,47 |
0,71 |
|
|
90,0 |
50,0 |
- |
СССС |
0,19 |
0,26 |
|
|
110,0 |
50,0 |
|
|
0,30 |
0,46 |
|
|
90,0 |
50,0 |
- |
ССССС |
0,20 |
0,28 |
|
|
110,0 |
50,0 |
|
|
0,31 |
0,47 |
|
|
Муфты |
50,0 |
- |
|
|
0,053 |
0,053 |
|
90,0 |
- |
- |
КК |
0,12 |
0,20 |
|
|
110,0 |
- |
|
|
0,21 |
0,34 |
|
|
50,0 |
40,0 |
|
|
0,018 |
0,018 |
|
|
50,0 |
- |
- |
СС |
0,027 |
0,027 |
|
|
90,0 |
- |
|
|
0,04 |
0,06 |
|
|
110,0 |
- |
|
|
0,07 |
0,12 |
|
|
Ревизии |
50,0 |
- |
|
|
0,089 |
0,089 |
|
90,0 |
- |
- |
К |
0,29 |
0,45 |
|
|
110,0 |
- |
|
|
0,42 |
0,68 |
|
|
50,0 |
- |
|
|
0,068 |
0,068 |
|
|
90,0 |
- |
- |
С |
0,21 |
0,32 |
|
|
110,0 |
- |
|
|
0,32 |
0,52 |
|
|
Заглушки |
40,0 |
- |
|
|
0,017 |
0,017 |
|
50,0 |
- |
|
|
0,027 |
0,027 |
|
|
90,0 |
- |
- |
- |
0,08 |
0,13 |
|
|
110,0 |
- |
|
|
0,12 |
0,23 |
|
|
Крышки |
50,0 |
- |
|
|
0,036 |
0,036 |
|
90,0 |
- |
- |
- |
0,10 |
0,11 |
|
|
110,0 |
- |
|
|
0,14 |
0,14 |
|
|
Гайки накидные |
40,0 |
- |
|
|
0,023 |
0,023 |
|
50,0 |
- |
- |
- |
0,032 |
0,033 |
|
|
90,0 |
- |
|
|
0,08 |
0,07 |
|
|
110,0 |
- |
|
|
0,10 |
0,09 |
|
ИНФОРМАЦИОННЫЕ ДАННЫЕ
1. РАЗРАБОТАН И ВНЕСЕН Министерством промышленности строительных материалов СССР
РАЗРАБОТЧИКИ
О.П. Михеев, канд. техн. наук (руководитель темы); В.И. Фельдман, канд. техн. наук; Л.П. Жаброва; Н.Г. Кулихина; А.Н. Афонин, канд. техн. наук; Р.Ф. Локшин, канд. техн. наук; С.В. Ехлаков, канд. техн. наук; И.В. Гвоздев; В.И. Терехин; А.А. Васильев; Л.С. Васильева; А.П. Чекрыгин
2. УТВЕРЖДЕН И ВВЕДЕН В ДЕЙСТВИЕ Постановлением Государственного строительного комитета СССР от 16.06.89 № 93
3. ВЗАМЕН ГОСТ 22689.2-77 - ГОСТ 22689.20-77
4. ССЫЛОЧНЫЕ НОРМАТИВНО-ТЕХНИЧЕСКИЕ ДОКУМЕНТЫ
|
Обозначение НТД, на который дана ссылка |
Номер пункта |
|
ГОСТ 7338-77 |
19.3 |
|
ГОСТ 16337-77 |
17.3 |
|
Вводная часть |
СОДЕРЖАНИЕ
2. Раструбы и гладкие концы фасонных частей
11. Крестовины со смещенными осями отводов
|
|