
ГОСУДАРСТВЕННЫЙ СТАНДАРТ СОЮЗА ССР
УСТАНОВКИ КОМПАКТНЫЕ
ДЛЯ ОЧИСТКИ БЫТОВЫХ СТОЧНЫХ ВОД
ТИПЫ, ОСНОВНЫЕ ПАРАМЕТРЫ И РАЗМЕРЫ
ГОСТ 25298-82
ИЗДАТЕЛЬСТВО СТАНДАРТОВ
Москва
ГОСУДАРСТВЕННЫЙ СТАНДАРТ СОЮЗА ССР
|
УСТАНОВКИ КОМПАКТНЫЕ ДЛЯ ОЧИСТКИ Типы, основные параметры и размеры Compact treatment plants for domestic sewage water. Types, basic parameters and dimensions |
ГОСТ |
Дата введения 01.01.83
1. Настоящий стандарт распространяется на компактные установки заводского изготовления, предназначенные для полной биологической очистки бытовых сточных вод, а также производственных сточных вод, близких по составу к бытовым, или их смесей.
При этом состав производственных сточных вод или их смесей с бытовыми должен удовлетворять требованиям, изложенным в строительных нормах и правилах по проектированию наружных сетей и сооружений канализации, утвержденных Госстроем СССР.
2. Установки подразделяют в зависимости от:
- технологического процесса - полное окисление, аэробная стабилизация активного ила;
- способа аэрации - мелко- или среднепузырчатая пневматическая, низконапорная, механическая, эжекционная.
3. Типы, основные параметры и размеры установок должны соответствовать указанным на черт. 1- 3 и в табл. 1 2. Отклонения от размеров не должны превышать ± 20 мм.
Зоны отстаивания могут располагаться с одной или двух сторон установки, а также в центральной ее части при соблюдении указанных размеров.
4. Установки должны изготавливаться в соответствии с требованиями настоящего стандарта и технических условий по рабочим чертежам, утвержденным в установленном порядке.
5. Все узлы установки и вспомогательное оборудование следует размещать в соответствии с проектом привязки установок.
6. Установки располагаются на открытом воздухе в районах с расчетной зимней температурой наружного воздуха не ниже минус 30 град. С, в отапливаемых помещениях - в районах с более низкими температурами.
7. Для изготовления установок необходимо применять углеродистую сталь обыкновенного качества по ГОСТ 380.
8. Поставка установок заводами-изготовителями должна осуществляться в комплекте с аэрационными системами, включая воздуходувки (при пневматической аэрации), вентиляторы (при низконапорной аэрации), насосы и эжекторы (при эжекционной аэрации) или привод аэратора (при механической аэрации).
Допускается поставка установок в разобранном виде (в объемных элементах, панелях) с комплектацией всеми элементами внутреннего устройства.
(Измененная редакция, Изм. № 1).
9. Бытовые сточные воды или смесь бытовых и производственных сточных вод при поступлении на установки очистки не должны иметь:
- БПКполн. выше 375 мг/л;
- содержание взвешенных веществ более 325 мг/л;
- температуру ниже 6 °С.
При больших значениях БПКполн. следует пропорционально снижать производительность установок по сточным водам.
10. Очищенные сточные воды должны иметь:
- БПКполн. не выше 15 мг/л;
- содержание взвешенных веществ не более 20 мг/л.
11. Периодичность удаления избыточного активного ила в зависимости от действительного загрязнения сточных вод и климатических условий уточняется в процессе эксплуатации установки в соответствии с ее паспортом и инструкцией по эксплуатации.
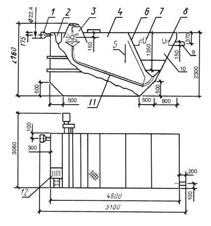
Установка КУ-12

1 - входной патрубок; 2 - лоток; 3 - аэратор; 4 - аэрационная зона; 5 - успокоительная перегородка; 6 - разделительная перегородка; 7 - скобы для погружных досок; 8 - сборные лотки с водосливами; 9 - отводной патрубок; 10 - отстойная зона; 11 - система возврата ила; 12 - решетка или решетка-дробилка
Установки КУТМ-30; КУТМ-60; КУТМ-120

1 - аэрационная система; 2 - подающий лоток; 3 - аэротенк; 4 - сборный лоток; 5 - эрлифт; 6 - отстойник; 7 - блок тонкослойного модуля
Черт. 2
Примечание. На чертеже приведена пневматическая система аэрации.
Установка КУ-200

_______________
* Размеры для справок.
Примечание. На чертеже приведена пневматическая система аэрации.
1 - аэротенк; 2 - аэрационная система; 3 - эрлифты; 4 - сборные лотки; 5 - отстойник; 6 - эрлифты плавающих веществ; 7 - аэробный стабилизатор; 8 - выпуск ила; 9 - опорожнение аэротенка; 10 - отвод очищенных вод
Черт. 2, 3 (Измененная редакция, Изм. № 1).
Типы, основные параметры и размеры
|
Типы |
Производительность, м3/сут |
Метод очистки сточных вод |
Максимальный расход сточных вод, м3/ч |
Габаритные размеры, мм, не более |
Технологический объем, м3, не менее |
Число блоков тонкослойных модулей |
Габариты блоков тонкослойных модулей, мм |
Металлоемкость, т, не более |
||||
|
высота |
длина |
ширина |
зоны аэрации |
зоны отстаивания |
зоны аэробной стабилизации |
|||||||
|
КУ-12 |
12 |
Полное окисление |
1,5 |
2750 |
5100 |
3060 |
12,0 |
3,0 |
- |
- |
- |
2,7 |
|
КУТМ-30 |
30 |
То же |
3,75 |
3950 |
2630 |
6330 |
29,0 |
2,5 |
- |
2 |
980´1150´2005 |
5,2 |
|
КУТМ-60 |
60 |
То же |
7,50 |
3950 |
4630 |
6330 |
58,0 |
5,0 |
- |
4 |
980´1150´2005 |
7,5 |
|
КУТМ-120 |
120 |
То же |
15,0 |
3950 |
8630 |
6330 |
116,0 |
10,0 |
- |
8 |
980´1150´2005 |
12,7 |
|
КУ-200 |
200 |
Аэрация с аэробной стабилизацией избыточного ила |
25,0 |
4200 |
13300 |
6880 |
90,0 |
35,0 |
45,0 |
- |
- |
18,2 |
Основные параметры и размеры систем аэрации установок
|
Типы |
Метод аэрации |
Расход воздуха, л/с |
Расход воды, л/с |
Потребляемая мощность, кВт, не более |
Механический аэратор |
|||
|
диаметр, мм |
мощность электродвигателя, кВт |
Число оборотов аэратора, об/мин |
Масса, кг |
|||||
|
КУ-12 |
Механический |
- |
- |
1,0 |
500 |
1,5 |
90 |
- |
|
КУТМ-30 |
Механический |
- |
- |
1,2 |
500 |
1,5 |
150 |
220 |
|
Пневматический |
14,1 |
- |
1,5 |
- |
- |
- |
- |
|
|
Низконапорный |
165 |
- |
2,8 |
- |
- |
- |
- |
|
|
Эжекционный |
- |
8,5 |
1,5 |
- |
- |
- |
- |
|
|
КУТМ-60 |
Механический |
- |
- |
2,1 |
600 |
3,0 |
90 |
300 |
|
Пневматический |
28,3 |
- |
2,0 |
- |
- |
- |
- |
|
|
Низконапорный |
250 |
- |
3,8 |
- |
- |
- |
- |
|
|
Эжекционный |
- |
17,0 |
3,0 |
- |
- |
- |
- |
|
|
КУТМ-120 |
Механический |
- |
- |
3,6 |
800 |
4,5 |
90 |
500 |
|
Пневматический |
56,6 |
- |
4,0 |
- |
- |
- |
- |
|
|
Низконапорный |
500 |
- |
6,9 |
- |
- |
- |
- |
|
|
Эжекционный |
- |
34,0 |
6,0 |
- |
- |
- |
- |
|
|
КУ-200 |
Механический |
- |
- |
4,4 |
1000 |
5,5 |
75 |
590 |
|
Пневматический |
98 |
- |
7,5 |
- |
- |
- |
- |
|
|
Низконапорный |
850 |
- |
11,0 |
- |
- |
- |
- |
|
|
Эжекционный |
- |
68,0 |
12,0 |
- |
- |
- |
- |
|
ИНФОРМАЦИОННЫЕ ДАННЫЕ
1. РАЗРАБОТАН И ВНЕСЕН Министерством жилищно-коммунального хозяйства РСФСР
РАЗРАБОТЧИКИ
Э. С. Разумовский, канд. техн. наук (руководитель темы); А. П. Чекрыгин; Л. В. Башкатова; Л. С. Васильева
2. УТВЕРЖДЕН И ВВЕДЕН В ДЕЙСТВИЕ Постановлением Государственного комитета СССР по делам строительства от 27.04.82 № 107
3. ВВЕДЕН ВПЕРВЫЕ
4. ССЫЛОЧНЫЕ НОРМАТИВНО-ТЕХНИЧЕСКИЕ ДОКУМЕНТЫ
|
Обозначение НТД, на который дана ссылка |
Номер пункта |
|
ГОСТ 380-88 |
7 |
5. ПЕРЕИЗДАНИЕ (апрель 1994 г.) с Изменением № 1, утвержденным в ноябре 1987 г. (ИУС 2-88)