
ГОСУДАРСТВЕННЫЙ СТАНДАРТ СОЮЗА ССР
ГРУНТЫ
МЕТОДЫ ЛАБОРАТОРНОГО ОПРЕДЕЛЕНИЯ
ХАРАКТЕРИСТИК НАБУХАНИЯ И УСАДКИ
ГОСТ 24143-80
ГОСУДАРСТВЕННЫЙ КОМИТЕТ СССР ПО ДЕЛАМ СТРОИТЕЛЬСТВА
Москва
РАЗРАБОТАН
Ордена Трудового Красного Знамени научно-исследовательским институтом оснований и подземных сооружений имени Н.М. Герсеванова Госстроя СССР
Производственным и научно-исследовательским институтом по инженерным изысканиям в строительстве
ИСПОЛНИТЕЛИ
Е.А. Сорочан, д-р техн. наук; Л.Н. Теренецкий, канд. техн. наук; А.Р. Горлова; Р.С. Зиангиров, д-р геол.-минер. наук; Б.А. Снежкин, канд. геол.-минер. наук; Л.Е. Темкин
ВНЕСЕН Ордена Трудового Красного Знамени научно-исследовательским институтом оснований и подземных сооружений Н.М. Герсеванова Госстроя СССР
Зам. директора В.В. Михеев
УТВЕРЖДЕН И ВВЕДЕН В ДЕЙСТВИЕ Постановлением Государственного комитета СССР по делам строительства от 22 апреля 1980 г. № 55
ГОСУДАРСТВЕННЫЙ СТАНДАРТ СОЮЗА ССР
|
ГРУНТЫ Методы лабораторного определения характеристик набухания и усадки Soils. Laboratory methods for determination of swelling and shrinking characteristics |
ГОСТ |
Постановлением Государственного комитета СССР по делам строительства от 22 апреля 1980 г. № 55 срок введения установлен
с 01.01.1981 г.
Настоящий стандарт распространяется на глинистые грунты природного и нарушенного сложения и устанавливает методы лабораторного определения их набухания и усадки.
Стандарт не распространяется на глинистые грунты, содержащие крупнообломочные включения размерами зерен более 5 мм, и на глинистые грунты в мерзлом состоянии.
1.1. Характеристики набухания и усадки грунта следует определять по относительной деформации: набухание - в условиях, исключающих возможность бокового расширения при насыщении грунта водой или химическим раствором; усадку - в условиях свободной трехосной деформации при высыхании грунта. Испытание для определения характеристик набухания следует производить до прекращения поглощения образцом грунта воды (или раствора), а усадки - до полной потери им влажности.
1.2. За показатели, характеризующие набухание грунта, принимаются свободное набухание (dо), набухание под нагрузкой (dн), давление набухания (rн), влажность грунта после набухания (Wн); за показатели, характеризующие усадку грунта, принимаются величины усадки по высоте (dh), диаметру (dd), объему (dv) и влажность на пределе усадки (Wy).
1.3. Образцы грунта природного сложения для испытаний свободного набухания, набухания под нагрузкой, давления набухания и усадки следует вырезать из одного монолита грунта; образцы грунта нарушенного сложения следует приготовлять с заданными величинами плотности и влажности.
Свободное набухание определяется испытанием одиночного образца грунта.
Набухание под нагрузкой и давление набухания определяется испытанием серии образцов-близнецов, вырезаемых из одного монолита грунта, путем обжатия их давления и последующего водонасыщения.
Величины ступеней давления и их количество должны быть определены заданием и программой исследований.
При отсутствии таких данных испытания надлежит производить в диапазоне полуторакратных величин условных расчетных давлений на глинистые грунты, руководствуясь табл. 2 и 4 приложения 4 к главе СНиП II-15-74.
1.4. Образцы грунта при испытании на набухание следует заливать грунтовой водой, взятой с места отбора грунта, водной вытяжкой или водой питьевого качества. В случаях, определяемых программой исследований, допускается применение дистиллированной воды и искусственно приготовленных растворов заданного химического состава.
При усадке испарение воды (или раствора) из образца грунта не должно вызывать образование на нем усадочных трещин.
1.5. Монолиты грунтов для определения показателей набухания и усадки следует отбирать из открытых горных выработок: шурфов, котлованов, расчисток и пр., а их отбор, транспортирование и хранение надлежит производить по ГОСТ 12071-72.
Отбор образцов из скважин допускается производить при помощи грунтоносов, обеспечивающих сохранение природного сложения и влажности грунта.
1.6. Термины и определения приведены в справочном приложении 1.
2.1. Приборы для определения свободного набухания грунтов (ПНГ) должны включать следующие основные узлы и детали:
рабочее кольцо внутренним диаметром не менее 50 мм, высотой не менее 20 мм;
вкладыш, обеспечивающий высоту образца в кольце не менее 10 мм;
перфорированный верхний штамп;
перфорированный поддон;
ванночки для жидкости;
основания прибора и держателя индикатора;
индикатор часового типа с ценой деления шкалы 0,01 мм для измерения вертикальных деформаций образца грунта.
2.1.1. Конструкция ПНГ должна быть выполнена из материалов, стойких против коррозии, и обеспечивать:
неподвижность рабочего кольца при испытании;
подачу воды к образцу снизу и отвод ее;
величину вертикального давления от штампа, измерительного оборудования, расположенного на нем, и других неуравновешенных деталей не более 0,0006 МПа (0,006 кгс/см2).
2.2. Показатели набухания грунта под нагрузкой и давления набухания следует определять в компрессионных приборах, состоящих из следующих основных узлов и деталей:
рабочего кольца внутренним диаметром более 71 мм и высотой более 20 мм с соотношением высоты к диаметру 1:3,5;
цилиндрической обоймы;
перфорированного штампа;
поддона с емкостью для воды и перфорированного вкладыша под кольцо;
двух индикаторов с ценой деления шкалы 0,01 мм для измерения вертикальных деформаций образца грунта; допускается применение одного индикатора при условии установки его в центре штампа;
механизма вертикальной нагрузки на образец грунта.
2.2.1. Конструкция компрессионного прибора должна быть выполнена из материалов, стойких против коррозии, и обеспечивать:
подачу воды к образцу снизу и отвод ее;
центрированную передачу нагрузки на штамп (образец грунта);
передачу на образец грунта давления ступенями от 0,0125 МПа (0,125 кгс/см2);
постоянство давления на каждой ступени;
неподвижность рабочего кольца при испытаниях;
измерение вертикальных деформаций грунта с погрешностью 0,01 мм;
давление на образец, создаваемое штампом и закрепленным на нем измерительным оборудованием и другими неуравновешенными деталями, не более 0,0025 МПа (0,025 кгс/см2).
2.3. Для определения усадки грунтов необходимо иметь:
рабочее кольцо компрессионного прибора внутренним диаметром более 71 мм и высотой более 20 мм с соотношением высоты к диаметру 1:3,5;
предметное стекло, покрытое тонким и ровным слоем парафина;
емкость с крышкой (стеклянный колпак или эксикатор) объемом не более 1 л для сушки образцов;
шпатель;
штангенциркуль с погрешностью измерения 0,05 мм и приспособление для измерений, показанное в рекомендуемом приложении 2;
микрометр.
3.1. Приборы для проведения испытаний должны устанавливаться на жестком основании, исключающем вибрацию. Горизонтальность установки приборов проверяют по уровню. В помещении во время испытаний должна поддерживаться положительная температура.
Не допускается попадание прямых солнечных лучей на образцы грунта во время испытаний усадки.
3.2. Тарировку ПНГ и компрессионных приборов необходимо производить не реже одного раза в год для учета деформаций фильтров и собственных деформаций приборов (m) при определении деформаций грунта.
Для тарировки ПНГ в рабочее кольцо следует заложить два бумажных фильтра, установить индикатор и замочить фильтры. По индикатору зарегистрировать деформацию (m). Для данной партии фильтров тарировочную поправку принимают как среднее арифметическое значение деформаций трех пар фильтров.
3.2.1. При тарировке компрессионного прибора в рабочее кольцо следует заложить специальный металлический вкладыш, покрытый с двух сторон бумажными фильтрами, смоченными водой и нагружать его ступенями давления 0,05 МПа (0,5 кгс/см2), выдерживать их по 2 мин, до максимального давления на вкладыш 1 МПа (10 кгс/см2), замеряя по индикаторам деформации прибора.
Тарировку производят при трехкратном нагружении прибора, каждый раз с заменой фильтров на новые.
По результатам тарировки компрессионного прибора следует составить таблицу величин деформаций (m) при различных давлениях.
3.3. Для каждого прибора следует определять: высоту и диаметр рабочего кольца, толщину предметного стекла, покрытого тонким слоем парафина (с погрешностью ± 0,05 мм), их массу (с погрешностью ± 0,01 г) и удельное давление от штампа, расположенного на нем измерительного оборудования и неуравновешенных деталей, ± 0,0001 МПа (± 0,001 кгс/см2).
3.4. Образец грунта для испытания на набухание или усадку вырезают режущим кольцом в соответствии с требованиями ГОСТ 5182-78, при этом зазоры между грунтом и стенкой рабочего кольца не допускаются.
Для испытываемых грунтов должны быть определены плотность (объемный вес) по ГОСТ 5182-78, плотность минеральной части (удельный вес) по ГОСТ 5181-78, влажность по ГОСТ 5180-78, границы текучести и раскатывания по ГОСТ 5183-77 и гранулометрический состав по ГОСТ 12536-79. Результаты записывают в журнал испытаний (см. рекомендуемые приложения 3 - 5).
3.5. Грунт в кольце следует покрыть с двух сторон фильтрами и поместить:
а) при определении свободного набухания - в ПНГ;
б) при определении набухания под нагрузкой и давления набухания - в компрессионные приборы.
В журнале испытаний следует записать начальные показания индикаторов (no).
3.6. При испытании грунта на усадку образец грунта следует извлечь из кольца и поместить на предметное стекло, покрытое тонким ровным слоем парафина. Затем измеряют высоту в центре образца, а его диаметр ¾ по трем, заранее размеченным направлениям. Результаты измерений записывают в журнале испытаний (см. рекомендуемое приложение 5).
3.7. Характеристики набухания глинистого грунта нарушенного сложения следует определять на образцах с заданной величиной коэффициента пористости (е), вычисляемого по формуле
, (1)
где rs - плотность минеральной части грунта, г/см3;
rс - плотность скелета грунта, г/см3, определяемая по формуле
, (2)
где rо - плотность грунта, г/см3;
Wз - заданная влажность грунта в долях единицы.
3.8. При определении характеристик усадки грунта нарушенного сложения следует применять образец грунта влажностью на 5 - 10 % больше влажности грунта на границе текучести. Грунт следует выдержать в пустом эксикаторе в течение суток. Затем при помощи шпателя заполняют грунтом рабочее кольцо, внутренняя поверхность которого предварительно смазана тонким слоем технического вазелина. Образование пустот при подготовке образца не допускается.
Приготовленный образец на предметном стекле следует поместить под стеклянный колпак или в емкость с крышкой. За начальные размеры образца принимаются размеры кольца по высоте и внутреннему диаметру.
4.1. В ПНГ следует налить жидкость и наблюдать за развитием деформаций во времени, записывая показания индикаторов в журнал испытаний (см. рекомендуемое приложение 3).
4.2. Ступени давления при определении набухания грунта под нагрузкой и давления набухания должны быть: на первом компрессионном приборе - около 0,0025 МПа (0,025 кгс/см2), что соответствует давлению от массы штампа и смонтированного на нем измерительного оборудования; на втором - 0,025 МПа (0,25 кгс/см2); на третьем - 0,05 МПа (0,5 кгс/см2); на четвертом - 0,1 МПа (1 кгс/см2) и далее с интервалом 0,1 - 0,2 МПа (1 - 2 кгс/см2) на каждый прибор до необходимых пределов.
После нагружения образов грунта в компрессионных приборах их следует выдержать до условной стабилизации деформаций, после чего образцы надлежит замочить.
4.3. Как при свободном набухании, так и в компрессионных приборах после замачивания образцов следует регистрировать деформации через 5; 10; 30; 60 мин, далее через 2 ч в течение рабочего дня, а затем в начале и конце рабочего дня до достижения условной стабилизации деформаций.
В случае отсутствия набухания замачивание производят в течение трех суток.
За начало набухания следует считать относительную деформацию (d), превышающую 0,001.
4.4. За критерий условной стабилизации деформаций свободного набухания глинистых грунтов или деформаций набухания под нагрузкой при данной ступени давления в компрессионных приборах следует принимать деформацию не более 0,01 мм за 16 ч.
4.5. После завершения набухания образца грунта необходимо: слить воду (или раствор) из прибора; кольцо с влажным грунтом (без фильтров) взвесить и произвести контрольное измерение высоты образца грунта в кольце; грунт из кольца высушить в термостате при температуре (105 ± 2) °С. Все результаты измерений надлежит записать в соответствующий журнал испытаний (см. рекомендуемые приложения 3 и 4).
4.6. Испытание усадки грунта следует проводить в три этапа.
На первом и втором этапе испытания измерение высоты, диаметра и массы образца грунта, помещенного в эксикаторе, следует производить не реже двух раз в сутки и результаты заносить в журнал испытаний (см. рекомендуемое приложение 5).
Критерием условного завершения испытания на первом этапе является отсутствие изменений в линейных размерах образцов в двух последовательных измерениях.
На втором этапе сушка образца грунта производится на воздухе.
Критерием условного завершения испытания на втором этапе, после 5 - 6 измерений, является отсутствие изменений в массе образца грунта.
На третьем этапе сушку образца грунта производят в термостате при температуре (105 ± 2) °С в соответствии с требованиями ГОСТ 5180-78 до постоянной массы и в конце испытания производят контрольное измерение линейных размеров образца грунта.
5.1. На основании записей в журналах испытаний грунта в ПНГ или компрессионных приборах (см. рекомендуемые приложения 3 и 4) следует определить:
а) величину абсолютной деформации грунта (Dh) в мм, вычисленную как разность среднеарифметических значений конечных (ni) и начальных (no) показаний индикаторов за вычетом поправки на деформацию приборов и фильтров при набухании согласно п. 3.2;
б) величину относительной деформации образца (d) с погрешностью 0,001 по формуле
. (3)
5.2. По величинам относительной деформации следует построить график зависимости относительных деформаций от вертикального давления d = f(p) (см. обязательное приложение 6). Точки графика, соответствующие ступеням давления, следует соединить лекальной кривой.
Величина давления набухания (рн) соответствует точке пересечения кривой с осью давления (р) (см. график 1 приложения 6) или точке предполагаемого пересечения продолжения кривой графика d = f(p) с осью давления (р) (см. график 2 приложения 6)
5.3. По результатам испытаний усадки на основании записей испытаний грунта (см. рекомендуемое приложение 5) следует:
а) определить объем грунта на каждый момент измерения по формуле
, (4)
где di - диаметр образца в момент измерения, определенный как среднее арифметическое значение измерений в трех направлениях, см;
hi - высота образца в момент измерения, см;
б) рассчитать влажность грунта на каждый момент измерения по формуле
, (5)
где gi - масса образца грунта на момент измерения, г;
g - масса образца сухого грунта, г;
в) рассчитать усадку по высоте, диаметру и объему по формулам соответственно:
; (6)
; (7)
, (8)
где h, d, V и hк, dк, Vк - соответственно начальные и конечные значения высоты, диаметра, см, и объема образца грунта, см3.
5.4. По величинам объема и влажности на каждый момент времени следует построить график зависимости изменения объема образца от влажности V = f (W) (см. обязательное приложение 7).
За величину влажности на пределе усадки (Wy) следует принять влажность, соответствующую точке перегиба графика V = f (W) (см. график 1 приложения 6). Допускается нахождение точки перегиба путем восстановления перпендикуляра к графику из точки пересечения касательных к двум ветвям кривой (см. график 2, приложения 6), соответствующим первому и второму этапам сушки образца.
Справочное
|
Термины и обозначения |
Определения |
|
Влажность набухания (Wн), доли единицы |
Влажность, полученная после завершения набухания образца грунта, обжимаемого в условиях, исключающих возможность бокового расширения, заданным давлением |
|
Влажность на пределе усадки (Wy), доли единицы |
Влажность грунта в момент резкого уменьшения усадки, определяемая по точке перегиба кривой графика зависимости изменения объема образца грунта (V) от изменения влажности (W) при высыхании |
|
Давление набухания (рн), МПа (кгс/см2) |
Давление на образец грунта, возникающее при замачивании жидкостью и обжатии в условиях, исключающих возможность бокового расширения, при котором деформации набухания или сжатия грунта равны нулю |
|
Давление на образец грунта (р), МПа (кгс/см2) |
Отношение величины нагрузки, приложенной через штамп прибора, к площади штампа |
|
Набухание грунта |
1. Свойство глинистого грунта увеличивать свой объем при взаимодействии с водой или другой жидкостью 2. Процесс изменения объема грунта во времени при взаимодействии его с водой или другой жидкостью |
|
Набухание грунта абсолютное (Dh), см |
Увеличение высоты образца грунта в процессе испытаний при взаимодействии грунта с водой или другой жидкостью |
|
Набухание грунта относительное (d=Dh/h) |
Отношение абсолютного набухания к начальной высоте образца грунта |
|
Набухание грунта под нагрузкой (dн), доли единицы |
Относительное набухание грунта при данном давлении на образец |
|
Набухание грунта свободное (dо), доли единицы |
Относительное набухание грунта, полученное в приборах типа ПНГ, когда давлением от массы штампа и измерительного оборудования, не превышающем 0,006 МПа (0,06 кгс/см2), пренебрегают |
|
Степень давления на образец грунта |
Величина приращения давления при передаче нагрузки через штамп на образец грунта во время испытаний |
|
Усадка грунта |
1. Свойство глинистого грунта уменьшать свой объем при испарении из него влаги 2. Процесс изменения линейных размеров и объема образца грунта во времени при испарении из него влаги. |
|
Усадка грунта абсолютная по: высоте (Dh), см; диаметру (Dd), см; объему (DV), см3 |
Уменьшение высоты (h), диаметра (d), объема (V) образца грунта во время испытаний |
|
Усадка грунта относительная по высоте (dh), диаметру (dd), объему (dV) |
Отношение абсолютной усадки образца грунта по высоте, диаметру, объему к их начальным размерам соответственно |
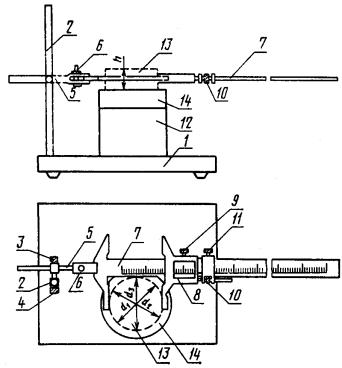
Рекомендуемое

1 - основание; 2 - стойка; 3 - стопор горизонтального перемещения держателя; 4 - стопор вертикального перемещения держателя; 5 - держатель штангенциркуля; 6 - крепежный винт; 7 - штангенциркуль с погрешностью измерения 0,05 мм; 8 - нониус; 9 - стопор нониуса; 10 - микрометрический винт; 11 - стопор микрометрического механизма; 12 - подкладка; 13 - образец грунта; 14 - предметный столик.
Рекомендуемое
Журнал испытаний свободного набухания грунта в ПНГОрганизация ___________________ Объект _______________ Сооружение ___________ (лаборатория) (пункт) Лабораторный ________________ Прибор (тип, номер и т.д.) ______________________ номер образца Шурф № ____________ глубина от ______ до _______ м Структура__________________ (скважина) Визуальное описание грунта в лаборатории _____________________________________ ___________________________________________________________________________ Условия проведения испытаний _______________________________________________ (условия замачивания, вид жидкости, химический состав, концентрация и т.д.) ___________________________________________________________________________
Лабораторный номер образца____________________ Результаты испытаний в ПНГ
Исполнитель _______________________________________________________________ (должность, фамилия, имя, отчество, подпись) Журнал проверил "______"________________ 198 г. ___________________________________________________________________________ (должность, фамилия, имя, отчество, подпись) |
||||||||||||||||||||||||||||||||||||||||||||||||||||||||||||||||||||||||||||||||||||||||||||||||||||||||||||||||||||||||||||||||
Рекомендуемое
Журнал испытаний набухания грунта под нагрузкой в компрессионном прибореОрганизация ________________ Объект _______________ Сооружение _____________ (лаборатория) (пункт) Лабораторный ________________________ Компрессионный ______________________ номер образца прибор (тип, №) Шурф № ___________ глубина от _____ до _____ м Структура _____________________ (скважина) Визуальное описание грунта в лаборатории _____________________________________ ___________________________________________________________________________ Условия проведения испытаний _______________________________________________ (условия замачивания, вид жидкости, химический состав, концентрация и т.д.) ___________________________________________________________________________
Лабораторный номер образца____________________ Результаты испытаний
Обработка результатов испытаний
Исполнитель _______________________________________________________________ (должность, фамилия, имя, отчество, подпись) Журнал проверил "_____"______________________________________________198 г. ___________________________________________________________________________ (должность, фамилия, имя, отчество, подпись) |
|||||||||||||||||||||||||||||||||||||||||||||||||||||||||||||||||||||||||||||||||||||||||||||||||||||||||||||||||||
Рекомендуемое
Обязательное
Масштаб графиков следует принимать:
для давления р (по горизонтали): 0,025 или 0,05 МПа
(0,25 или 0,5 кгс/см2) - 10 мм;
для набухания d (по вертикали): 0,01 или 0,02 - 10 мм.
График 1 График 2
рн - установленная величина давления набухания (график 1); предполагаемая величина давления набухания (график 2).
Обязательное
Масштаб графиков следует принимать:
для влажности (по горизонтали): 0,05 - 10 мм;
для объема (по вертикали): 2 см3 - 10 мм.
График 1 График 2

I - первый этап сушки; II - второй этап сушки; Wy - влажность глинистого грунта на пределе усадки
СОДЕРЖАНИЕ
|
3. Подготовка к испытаниям.. 3 5. Обработка результатов испытаний. 6 Приложение 1 Пояснения терминов, используемых в стандарте. 7 Приложение 2 Приспособление для измерения диаметра и высоты образцов при усадке. 7 Приложение 3 Журнал испытаний свободного набухания грунта в ПНГ. 8 Приложение 4 Журнал испытаний набухания грунта под нагрузкой в компрессионном приборе. 9 Приложение 5 Журнал испытаний грунта при усадке. 12 Приложение 6 График зависимости набухания грунта d от давления р при испытании образца грунта в компрессионном приборе. 13 Приложение 7 График зависимости изменения объема образца грунта V при изменении влажности W в процессе усадки. 13 |