
ГОСУДАРСТВЕННЫЙ СТАНДАРТ СОЮЗА ССР
ГРУНТЫ
МЕТОДЫ ОПРЕДЕЛЕНИЯ ГЛУБИНЫ СЕЗОННОГО ПРОМЕРЗАНИЯ
ГОСТ 24847-81
государственный комитет ссср по делам строительства
Москва
РАЗРАБОТАН
Научно-исследовательским институтом оснований и подземных сооружений им. Н.М. Герсеванова Госстроя СССР
Производственным и научно-исследовательским институтом по инженерным изысканиям в строительстве Госстроя СССР
Всесоюзным научно-исследовательским институтом транспортного строительства Минтрансстроя
Государственным всесоюзным дорожным научно-исследовательским институтом Минтрансстроя
Производственным объединением по инженерно-строительным изысканиям «Стройизыскания» Госстроя РСФСР
Государственным институтом по проектированию оснований и фундаментов «Фундаментпроект» Минмонтажспецстроя СССР
ИСПОЛНИТЕЛИ
М.Ф. Киселев, д-р техн. наук; Р.В. Жаброва (руководители темы); Р.М. Саркисян, канд. техн. наук; Л.Н. Слоев, канд. техн. наук; М.Б. Корсунский, д-р техн. наук; В.И. Рувинский, канд. техн. наук; В.Н. Гайворонский, канд. техн. наук; Ю.А. Юдичев; Г.М. Фельдман, д-р географ. наук; И.Н. Капустина; И.Д. Демин
ВНЕСЕН Научно-исследовательским институтом оснований и подземных сооружений им. Н.М. Герсеванова Госстроя СССР
Директор Б.С. Федоров
УТВЕРЖДЕН И ВВЕДЕН В ДЕЙСТВИЕ Постановлением Государственного комитета СССР по делам строительства от 15 июня 1981 года № 95
ГОСУДАРСТВЕННЫЙ СТАНДАРТ СОЮЗА ССР
|
ГРУНТЫ Методы определения глубины сезонного промерзания Soils. Determination methods of seasonable depth of freezing |
ГОСТ |
Постановлением Государственного комитета СССР по делам строительства от 15 июня 1981 г. № 95 срок введения установлен
с 01.01.1982 г.
Настоящий стандарт распространяется на глинистые, песчаные и крупнообломочные грунты и устанавливает методы определения глубины из сезонного промерзания и глубины проникания в грунт нулевой температуры.
Стандарт не распространяется на скальные грунты, а также на грунты, слой сезонного промерзания которых сливается с вечномерзлой толщей.
1.1. Глубина сезонного промерзания глинистого грунта в природных условиях, определяемая расстоянием по вертикали от поверхности площадки до границы слоя грунта в твердомерзлом состоянии, при уровне грунтовых вод, расположенном ниже глубины сезонного промерзания, измеряется мерзлотомером Ратомского (МР) в целях:
обоснования значений нормативной глубины сезонного промерзания;
назначения глубины заложения и выбора типа фундаментов зданий и сооружений, а также разработки мероприятий, исключающих возможность появления недопустимых деформаций оснований и фундаментов.
Переходный пластично-мерзлый слой грунта, располагаемый между твердомерзлым и талым грунтами, в толщину твердомерзлого слоя не включается.
1.2. Глубина проникания нулевой температуры в песчаный, глинистый или крупнообломочный грунты в природных условиях независимо от глубины залегания грунтовых вод измеряется мерзлотомером Данилина (МД) в целях:
назначения глубины заложения трубопроводов (водопровода, канализации и т.п.) и разработки их конструктивных решений, удовлетворяющих требованиям морозоустойчивости;
разработки конструктивных решений и мероприятий, исключающих возможность появления недопустимых деформаций земляного полотна и покрытия автомобильных дорог.
1.3. Определение глубины фактического промерзания грунта следует производить на горизонтально расположенной площадке, очищенной в течение всего периода измерений от растительности и снега на расстоянии (в радиусе) от мерзлотомера, равном удвоенной нормативной глубине сезонного промерзания грунта, принимаемой в соответствии с главой СНиП II-15-74.
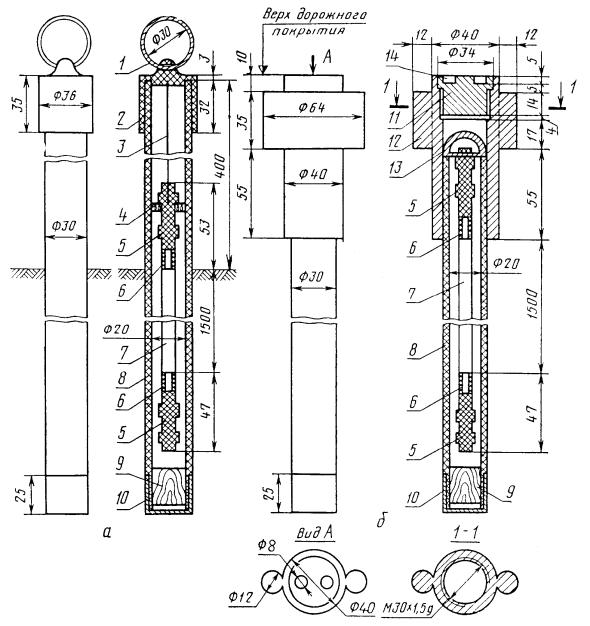
2.1. В состав мерзлотомера Ратомского (МР), конструкция которого приведена на черт. 1, должны входить следующие основные детали:
трубка из некорродирующей стали с прорезями, служащими для заполнения трубки глинистым грунтом и определения границы слоя в твердомерзлом состоянии;
деревянный стержень переменной длины (500; 1000; 1500 мм) для регулирования глубины погружения металлической трубки в зависимости от значений глубины промерзания грунтов;
обсадная фенопластмассовая (эбонитовая) трубка, предохраняющая стенки скважины от осыпания и оплывания.
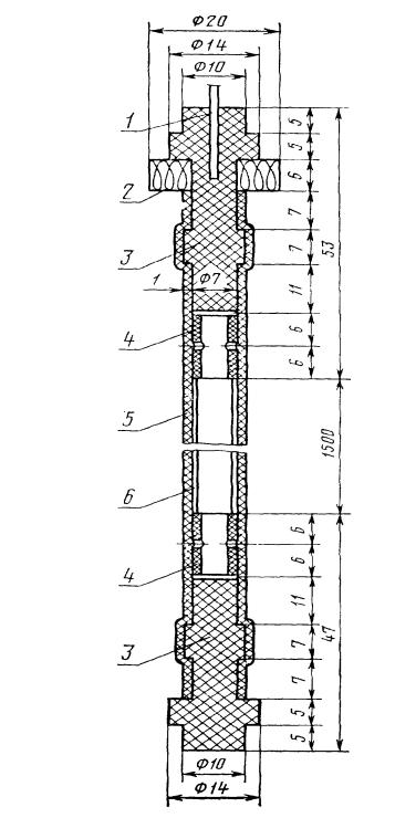
2.2. В состав мерзлотомера Данилина (МД), конструкция которого приведена на черт. 2 и 3, должны входить следующие основные детали:
две резиновые трубки с капроновыми пробками, заполняемые дистиллированной водой: первая - для замера глубины проникания в грунт нулевой температуры до 1500 мм; вторая, погружаемая за счет соответствующего удлинения льняного (капронового) шнура, - для продолжения наблюдений при глубине проникания в грунт нулевой температуры ниже 1500 мм;
обсадная фенопластмассовая (эбонитовая) трубка.
2.3. С наружной стороны металлической трубки МР и резиновой трубки МД должны быть нанесены деления через 10 мм, обозначенные цифрами через каждые пять делений, для отсчета глубины промерзания грунта.
Мерзлотомер Ратомского
а - общий вид; б - продольный разрез; в - металлическая трубка; 1 - металлический стержень с кольцом для удержания мерзлотомера в строго фиксированном положении; 2 - войлочная прокладка; 3 - металлический колпачок для закрытия обсадной трубки; 4 - металлическая обойма стержня; 5 - войлочная обертка, стянутая проволокой; 6 - деревянный стержень; 7 - обсадная фенопластмассовая (эбонитовая) трубка; 8 - трубка из некоррозирующей стали, заполняемая глинистым грунтом; 9 - влажный глинистый грунт - заполнитель металлической трубки; 10 - деревянная пробка; 11 - металлическая насадка; 12 - прорези
Черт. 1
Мерзлотомер Данилина
а - общий вид и продольный разрез мерзлотомера, устанавливаемого на поверхности рельефа; б - то же, устанавливаемого заподлицо с поверхностью дорожного покрытия; 1 - металлическое кольцо для поднятия и опускания мерзлотомера; 2 - пластмассовый колпачок для закрытия обсадной трубки; 3 - льняной (капроновый) шнур; 4 - войлочная прокладка; 5 - капроновая пробка; 6 - капроновая втулка; 7 - резиновая трубка; 8 - обсадная фенопластмассовая (эбонитовая) трубка; 9 - деревянная пробка; 10 - металлическая насадка; 11 - металлическая крышка оголовка; 12 - металлический оголовок; 13 - металлическое полукольцо; 14 - углубление для ключа.
Черт. 2
Комплект резиновой трубки мерзлотомера Данилина
1 - льняной (капроновый) шнур; 2 - войлочная прокладка; 3 - капроновая пробка; 4 - капроновая втулка; 5 - резиновая трубка; 6 - капроновая нить.
Черт. 3
3.1. Подготовку к измерениям глубины сезонного промерзания и проникания в грунт нулевой температуры необходимо проводить в следующем порядке:
выбрать площадку и места установки на ней мерзлотомеров;
пробурить скважины с одновременным отбором образцов грунта;
установить обсадные трубки;
смонтировать и проверить оборудование мерзлотомеров;
заполнить металлическую трубку МР глинистым грунтом, а резиновую трубку МД - дистиллированной водой.
3.2. Местоположение площадки, в пределах которой определяется глубина сезонного промерзания грунта или глубина проникания в грунт нулевой температуры, а также места расположения на ней мерзлотомеров устанавливаются проектной или строительной организацией с учетом рельефа местности, инженерно-геологических и гидрогеологических условий, расположения существующих и проектируемых зданий или сооружений.
3.3. Подготовка площадки и проверка оборудования для измерения глубины сезонного промерзания или определения положения нулевой изотермы грунта должны производиться за месяц до начала промерзания грунта.
После установки оборудования надлежит произвести геодезическими методами планово-высотную привязку мест установки мерзлотомеров и закрепить их соответствующими знаками.
3.4. Скважина для установки мерзлотомера должна проходиться буром, имеющим диаметр наконечника 37 мм, до глубины, превышающей не менее чем на 30 см глубину прогнозируемого промерзания грунта.
3.5. В процессе проходки скважины для установки мерзлотомера должны отбираться пробы грунта через каждые 10 см по глубине в целях определения его природной влажности. Одновременно из каждого слоя грунта, но не реже чем через 50 см отбираются образцы для определения зернового (гранулометрического) состава и пределов пластичности грунта.
3.6. Результаты данных анализа грунта, взятого из каждой скважины, а также краткое описание места расположения скважины, грунтовых напластований и условий их увлажнения (поверхностными или грунтовыми водами) регистрируются в журнале наблюдений (рекомендуемое приложение 1).
3.7. В скважину сразу же после ее проходки необходимо погрузить обсадную трубку так, чтобы метка на ней (см. п. 2.4) совпала с поверхностью грунта. Зазор между стенкой скважины и обсадной трубкой следует засыпать сухим песком и тщательно утрамбовать, а поверхность грунта вокруг обсадной трубки приподнять на 3 - 5 см для отвода воды от скважины.
МД, размещаемый в пределах дорожного покрытия, должен погружаться заподлицо с ним.
Применение суглинков с числом пластичности более 0,12 и глин для заправки металлической трубки МР не допускается.
3.9. Металлическую трубку МР после заправки ее грунтом надлежит немедленно поставить в обсадную трубку и отметить в журнале наблюдений время установки мерзлотомера.
3.10. Резиновая трубка МД приводится в рабочее состояние следующим образом: из трубки вынимаются верхняя и нижняя капроновые пробки; трубка в U-образном положении заполняется дистиллированной водой до краев; концы трубки закрываются пробками; резиновая трубка опускается в обсадную трубку.
4.1. Наблюдения за глубиной промерзания или проникания в грунт нулевой температуры следует проводить с начала промерзания до полного оттаивания грунта через каждые 5 дней после наступления отрицательной температуры воздуха.
4.2. Проведение измерений по МР
4.2.1. Измерение глубины сезонного промерзания грунта по МР следует проводить в следующей последовательности:
замерить высоту патрубка обсадной трубки мерзлотомера;
вынуть металлическую трубку, заправленную глинистым грунтом;
определить границу слоя грунта в твердомерзлом состоянии путем его прокола тупой иглой или стальной проволокой диаметром 2 мм;
зафиксировать фактическую глубину сезонного промерзания грунта и результаты измерений занести в журнал наблюдений;
после очередного замера металлическую трубку следует немедленно опустить в обсадную трубку мерзлотомера.
4.2.2. При промерзании грунта на всю длину металлической трубки МР она освобождается от мерзлого грунта и заправляется заново талым глинистым грунтом согласно п. 3.8. При этом деревянный стержень заменяется другим соответствующей длины и мерзлотомер вновь опускается в обсадную трубку ниже замеренной глубины промерзания для продолжения наблюдений.
4.3. Проведение измерений по МД
4.3.1. Определение глубины проникания в грунт нулевой температуры по МД следует проводить в следующей последовательности:
замерить высоту патрубка обсадной трубки мерзлотомера;
вынуть резиновую трубку, заправленную дистиллированной водой;
определить конец ледяного столбика путем прощупывания;
зафиксировать границу между льдом и водой и результаты измерений занести в журнал наблюдений;
после очередного замера резиновую трубку следует немедленно опустить в обсадную трубку мерзлотомера.
4.3.2. При промерзании всей воды в резиновой трубке следует заменить ее другой с делениями шкалы от 1500 до 3000 мм, опускаемой в обсадную трубку за счет соответствующего удлинения льняного (капронового) шнура, для продолжения наблюдений.
4.4. В процессе наблюдений необходимо следить за вертикальным перемещением обсадной трубки по белой отметке на ней. При обнаружении вертикального смещения обсадной трубки в отсчеты фактической глубины промерзания должны вводиться соответствующие поправки со знаком минус (если отметка окажется выше поверхности грунта) или со знаком плюс (если отметка окажется ниже поверхности грунта).
4.5. Вычисление значения глубины промерзания или положения нулевой изотермы грунта с учетом поправки следует производить немедленно после замера; в случае неувязки вычисленной величины с предыдущим замером необходимо сделать повторный замер.
4.6. Наблюдения за промерзанием грунта следует продолжать и в том случае, если показания мерзлотомера не изменяются или уменьшаются по сравнению с предыдущими замерами.
5.1. Результаты наблюдений за сезонным промерзанием грунта для каждой скважины следует оформлять в виде:
графика изменения глубины промерзания грунта Н в мм во времени (рекомендуемое приложение 2);
описания физических характеристик грунта, условий увлажнения грунтовых напластований.
|
Организация ____________________________________________________________ ЖУРНАЛ № ________НАБЛЮДЕНИЙ ЗА ПРОМЕРЗАНИЕМ ГРУНТАМестоположение площадки ________________________________________________ Тип мерзлотомера ________________________________________________________ Абсолютная отметка устья скважины № ______________________________________ Дата измерений: начало __________________ окончание _______________________ Физические характеристики образцов грунта
Данные измерений глубины промерзания грунта
Руководитель лаборатории _________________________________________________ подпись, инициалы, фамилия Исполнитель ____________________________________________________________ должность, подпись, инициалы, фамилия |
|||||||||||||||||||||||||||||||||||||||||||||||||||||||||||||||||
ОБРАЗЕЦ ГРАФИЧЕСКОГО ОФОРМЛЕНИЯ РЕЗУЛЬТАТОВ НАБЛЮДЕНИЙ ЗА ХОДОМ ПРОМЕРЗАНИЯ ГРУНТА

1 - граница слоя грунта в твердомерзлом состоянии (определяемая по МР) или положение нулевой изотермы (определяемое по МД).
СОДЕРЖАНИЕ
|
5. ОБРАБОТКА РЕЗУЛЬТАТОВ ИЗМЕРЕНИЙ Приложение 1 Рекомендуемое ЖУРНАЛ № ________ НАБЛЮДЕНИЙ ЗА ПРОМЕРЗАНИЕМ ГРУНТА |