
ГОСУДАРСТВЕННЫЙ СТАНДАРТ СОЮЗА ССР
КОНСТРУКЦИИ ЖЕЛЕЗОБЕТОННЫЕ
МЕТОДЫ ИЗМЕРЕНИЯ СИЛЫ НАТЯЖЕНИЯ АРМАТУРЫ
ГОСТ 22362-77
ГОСУДАРСТВЕННЫЙ
КОМИТЕТ СОВЕТА МИНИСТРОВ СССР
ПО ДЕЛАМ СТРОИТЕЛЬСТВА
Москва
РАЗРАБОТАН
Научно-исследовательским институтом бетона и железобетона (НИИЖБ) Госстроя СССР
Директор К.В. Михайлов
Руководители темы: Г.И. Бердичевский, В.А. Клевцов
Исполнители: В.Т. Дьяченко, Ю.К. Жулев, Н.А. Марков, С.А. Мадатян
Всесоюзным научно-исследовательским институтом заводской технологии сборных железобетонных изделий и конструкций (ВНИИ железобетон) Министерства промышленности строительных материалов СССР
Директор Г.С. Иванов
Руководитель темы Е.З. Ермаков
Исполнитель В.Н. Марухин
Научно-исследовательской лабораторией физико-химической механики материалов и технологических процессов Главмоспромстройматериалов
Директор А.М. Горшков
Руководитель и исполнитель темы Э.Г. Ратц
Научно-исследовательским институтом строительных конструкций (НИИСК) Госстроя СССР
Директор А.И. Буракас
Руководитель темы Д.А. Коршунов
Исполнители: В.С. Голобородько, М.В. Сидоренко
ВНЕСЕН Научно-исследовательским институтом бетона и железобетона (НИИЖБ) Госстроя СССР
Директор К.В. Михайлов
ПОДГОТОВЛЕН К УТВЕРЖДЕНИЮ Отделом технического нормирования и стандартизации Госстроя СССР
Начальник отдела В.И. Сычев
Начальник подотдела стандартизации в строительстве М.М. Новиков
Гл. специалисты: И.С. Лифанов, А.В. Шерстнев
УТВЕРЖДЕН И ВВЕДЕН В ДЕЙСТВИЕ Постановлением Государственного комитета Совета Министров СССР по делам строительства от 1 февраля 1997г. № 4
ГОСУДАРСТВЕННЫЙ СТАНДАРТ СОЮЗА ССР
|
КОНСТРУКЦИИ ЖЕЛЕЗОБЕТОННЫЕ Методы измерения силы натяжения арматуры Reinforced
concrete structures. Methode for |
ГОСТ |
Постановлением Государственного комитета Совета Министров СССР по делам строительства от 1 февраля 1977 г. № 4 срок введения установлен
с 01.07 1977 г.
Несоблюдение стандарта преследуется по закону
Настоящий стандарт распространяется на железобетонные предварительно напряженные конструкции, изготовляемые с натяжением арматуры механическим, электротермическим, электротермомеханическим способами, и устанавливает следующие методы измерения силы натяжения арматуры:
гравитационный метод измерения;
метод измерения по показаниям динамометра;
метод измерения по показаниям манометра;
метод измерения по величине удлинения арматуры;
измерение методом поперечной оттяжки арматуры;
частотный метод измерения.
1.1. Применение метода измерения силы натяжения арматуры устанавливается в рабочих чертежах, стандартах или технических условиях на преднапряженные железобетонные конструкций.
1.2. Измерение силы натяжения арматуры осуществляется в процессе ее натяжения или после завершения натяжения.
1.3. Для измерения силы натяжения арматуры применяются приборы - ПРДУ, ИПН-7, ПИН, прошедшие государственные испытания и рекомендованные к массовому выпуску.
Схемы и технические характеристики приборов приведены в справочном приложении 1. Допускается применение и других приборов, удовлетворяющих требованиям настоящего стандарта.
1.4. Приборы, применяемые для измерения силы натяжения арматуры, должны быть проверены по ГОСТ 8.002-71 и иметь градуировочные характеристики, выполненные в виде таблиц или графиков.
1.5. Перед применением прибор должен быть проверен на соответствие требованиям инструкции по его эксплуатации. Порядок проведения измерений должен соответствовать порядку, предусмотренному этой инструкцией.
1.6. Результаты измерения силы натяжения арматуры должны записываться в журнал, форма которого приведена в рекомендуемом приложении 2.
2.1. Гравитационный метод основан на установлении зависимости между силой натяжения арматуры и массой грузов, осуществляющих ее натяжение.
2.2. Гравитационный метод применяется в тех случаях, когда натяжение осуществляется грузами непосредственно через систему рычагов или полиспастов.
2.3. Для измерения силы натяжения арматуры измеряют массу грузов, по которой определяют силу натяжения арматуры с учетом системы передачи силы от грузов к натягиваемой арматуре, потерь от трения и других потерь, если таковые имеются. Учет потерь в системе передачи силы натяжения от грузов арматуре осуществляется динамометром при градуировке системы.
2.4. Масса грузов должна измеряться с погрешностью до 2,5%.
3.1. Метод измерения силы натяжения арматуры по показаниям динамометра основан на связи между силой натяжения и деформациями динамометра.
3.2. Динамометр включают в силовую цепь арматуры между концевыми упорами или за их пределами таким образом, чтобы сила натяжения арматуры воспринималась динамометром.
3.3. Силу натяжения арматуры определяют по градуировочной характеристике динамометра.
3.4. При включении динамометра в цепь из нескольких параллельно расположенных арматурных элементов измеряют суммарную силу натяжения. Величину силы натяжения в каждом элементе можно определять одним из методов, указанных в разд. 5, 6, и 7 настоящего стандарта.
3.5. Для измерения силы натяжения арматуры применяют образцовые динамометры по ГОСТ 9500-75. Допускается применение других динамометров с классом точности не ниже 2,5.
3.6. Величины получаемых показаний должны находиться в пределах 30-100% шкалы динамометра.
4.1. Метод измерения силы натяжения по показаниям манометра основан на зависимости между давлением в цилиндре домкрата, измеряемом манометром, и силой натяжения арматуры.
4.2. Измерение силы натяжения арматуры по показаниям манометра применяют при натяжении ее гидравлическими домкратами. Определение метрологических характеристик гидравлических домкратов осуществляют по ГОСТ 8.136.74.
4.3. Определение силы натяжения арматуры по показаниям манометра осуществляют непосредственно в процессе натяжения и завершают при передаче усилия с домкрата на упоры формы или стенда.
4.4. При групповом натяжении арматуры определяют общую силу. Величину силы натяжения каждого элемента определяют одним из методов, указанных в разд. 5, 6 и 7 настоящего стандарта.
4.5. Для измерения силы натяжения арматуры применяют образцовые манометры по ГОСТ 8625-69 с гидродомкратами.
4.6. Класс точности манометров, определяемый по ГОСТ 13600-68, должен быть не ниже 1.5.
4.7. При измерении силы натяжения по показаниям манометра величины получаемых значений должны находиться в пределах 30-90% шкалы манометра.
4.8. При натяжении арматуры гидравлическими домкратами в гидросистеме устанавливают те же манометры, с которыми проводилась градуировка.
5.1. Метод измерения силы натяжения по величине удлинения напрягаемой арматуры основан на зависимости удлинения арматуры от величины напряжений, которая с учетом площади поперечного сечения арматуры определяет силу натяжения.
5.2. Метод измерения силы натяжения арматуры по величине ее удлинения, вследствие относительно невысокой его точности, применяется не самостоятельно, а в сочетании с другими методами, приведенными в разд. 3, 4, 6 и 7 настоящего стандарта.
Относительно невысокая точность этого метода обуславливается изменчивостью упруго пластических свойств арматурной стали, а также деформативностью форм и упоров.
5.3. Для измерения силы натяжения по величине удлинения необходимо определить величину истинного удлинения арматурного элемента при его натяжении и иметь диаграмму «напряжение-удлинение» арматуры.
5.4. Расчет удлинения арматурной стали при отсутствии диаграммы «напряжение-удлинение» допускается производить по формуле, приведенной в справочном приложении 3.
5.5. При электротермическом способе натяжения с нагревом вне формы длина арматурного элемента назначается заранее с учетом упругопластических свойств стали, длины формы, потерь напряжений вследствие деформации форм, смещения и смятия упоров арматуры и систематически контролируется. Эти потери устанавливаются в начале производства и проверяются периодически.
5.6. Метод измерения силы натяжения по удлинению арматуры применяют в сочетании с методами измерения силы натяжения по показаниям манометра или динамометра. При этом фиксируется момент начала смещения стрелки манометра или динамометра и после этого измеряется удлинение арматуры.
5.7. Для измерения длины арматуры, формы или стенда и удлинений при натяжении арматуры применяются:
линейки металлические измерительные по ГОСТ 427-75;
рулетки металлические измерительные по ГОСТ 7502-69;
штангенциркули по ГОСТ 166-73.
5.8. Силу натяжения арматуры по ее удлинению определяют как произведение площади ее поперечного сечения на величину напряжения. При этом площадь поперечного сечения арматуры, взятой из партии, определяют в соответствии с п. 2.3 ГОСТ 12004-66.
5.9. Величину напряжений определяют по диаграмме растяжения арматуры, взятой из той же партии. Построение диаграммы производится в соответствии с п.8 ГОСТ 12004-66.
5.10. Величина удлинения арматуры измеряется приборами, установленными непосредственно на арматуру; индикаторами часового типа по ГОСТ 577-68; тензометрами рычажными по ГОСТ 18957-73 или указанными в п. 5.7 измерительными инструментами по рискам, нанесенным на арматуру.
5.11. При электротермическом натяжении арматуры с нагревом вне формы величины удлинений, вызывающих напряжение арматуры, определяют как разность между полными удлинениями и потерями на смятие анкеров и деформации формы.
5.12. Полное удлинение арматуры определяют как разность расстояний между упорами силовой формы или стенда и длиной арматурной заготовки между анкерами, измеренных при одинаковой температуре.
5.13. Величину «смятие анкеров» определяют по данным испытаний анкеров в соответствия с п. 3.9. ГОСТ 10922-76.
5.14. Деформации формы на уровне упоров определяют как разность расстояний между ними до и после натяжения арматуры инструментом, указанным в п. 5.7.
5.15. Измерение силы натяжения по величине удлинения может производиться в процессе натяжения и после его завершения.
6.1. Метод основан на установлении зависимости между силой, оттягивающей арматуру на заданную величину в поперечном направлении, и силой натяжения арматуры.
6.2. Поперечная оттяжка арматуры может производиться на полной длине арматуры, натянутой между упорами формы (оттяжка на базе формы), и на базе упоров самого прибора (приборы с собственной базой).
6.3. При оттяжке арматуры на базе формы прибор упирается в форму, которая является звеном цепи измерения. При оттяжке на базе прибора, прибор контактируется с арматурой в трех точках, но не находится в контакте с формой.
6.4. При измерении силы натяжения арматуры методом поперечной оттяжки в арматуре не должно быть остаточных деформаций.
6.5. При измерении силы натяжения арматуры методом оттяжки применяют механические приборы типа ПРДУ или электромеханические приборы типа ПИН.
6.6. Применяемые приборы должны иметь класс точности не ниже 1,5; цена деления шкалы не должна превышать 1% верхнего предельного значения контролируемого натяжения.
6.7. Погрешность градуировочной характеристики не должна превышать ±4%.
Пример оценки погрешности при определении градуировочной характеристики приведен в справочном приложении 4.
6.8. Место установки электромеханических приборов должно находиться на расстоянии не менее 5 м от источников электрических помех.
6.9. Отношение прогиба арматуры к ее длине не должно превышать:
1:150 - для проволочной, стержневой и канатной арматуры диаметром до 12 мм;
1:300 - для стержневой и канатной арматуры диаметром более 12 мм.
6.10. При измерении силы натяжения арматуры прибор с собственной базой устанавливают на арматуре в любом месте по ее длине. При этом стыки арматуры не должны находиться в пределах базы прибора.
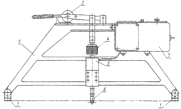
6.11. При измерении силы натяжения арматуры приборами без собственной базы (с оттяжкой на базе формы) приборы устанавливают в середине пролета между упорами (чертеж). Смещение места установки приборов от середины пролета не должно превышать 2% длины арматуры.
Схема установки приборов при измерении силы натяжения арматуры

1 - форма; 2 - прибор ПИН; 3 - прибор ИПН-7; 4 - арматура; 5 - упоры;
6 - прибор ПРДУ
7.1. Частотный метод основан на зависимости между напряжением в арматуре и частотой ее собственных поперечных колебаний, которые устанавливаются в натянутой арматуре через определенное время после выведения ее из состояния равновесия ударом или каким-либо другим импульсом.
7.2. Для измерения силы натяжения арматуры частотным методом применяют прибор ИПН-7 (без собственной базы).
7.3. Прибором ИПН-7 измеряют число колебаний натянутой арматуры за определенное время, по которым определяют силу натяжения с учетом градуировочной характеристики для данного класса, диаметра и длины арматуры.
7.4. Применяемые приборы должны обеспечивать измерение частоты собственных колебаний арматуры с погрешностью, не превышающей ±1,5%.
7.5. Относительная погрешность определения силы натяжения арматуры не должна превышать ±4%.
7.6. Место установки частотных приборов должно находиться от источника электрических помех на расстоянии не менее 5 м.
7.7. Первичный измерительный преобразователь при измерении силы натяжения арматуры приборами без собственной базы должен размещаться на участке арматуры, отстоящем от середины ее длины на расстоянии, не превышающем 2%.
Контролируемая арматура вдоль всей ее длины при колебании не должна соприкасаться со смежными арматурными элементами, закладными деталями и формой.
8.1. Определение градуировочных характеристик приборов осуществляют путем сопоставления показаний прибора с заданной силой, фиксируемой по показаниям динамометра с классом точности не ниже 1,0, установленного последовательно с натягиваемой арматурой.
Определение градуировочных характеристик манометров допускается осуществлять без арматуры путем сопоставления показаний манометра и образцового динамометра, установленного последовательно с гидравлическим домкратом.
8.2. При градуировке приборов максимальная сила натяжения арматуры должна превышать номинальную проектную силу натяжения арматуры на величину допускаемого положительного отклонения. Минимальная сила должна составлять не более 50% номинального проектного значения.
Количество этапов нагружения должно быть не менее 8, а количество измерений на каждом этапе - не менее 3.
8.3. При максимальной силе натяжения арматуры показание образцового динамометра должно составлять не менее 50% его шкалы.
8.4. Определение градуировочных характеристик приборов, применяемых для измерения силы натяжения арматуры методом поперечной оттяжки и частотным методом
8.4.1. Определение градуировочных характеристик приборов должно производиться для каждого класса и динамометра арматуры, а для приборов без собственной базы - для каждого класса, диаметра и длины арматуры.
8.4.2. Длина арматурных элементов, силу натяжения в которых измеряют приборами с собственной базой, должна превышать длину базы прибора не менее чем в 1,5 раза.
8.4.3. При измерении силы натяжения арматуры приборами без собственной базы:
длина арматурных элементов при градуировке не должна отличаться от длины контролируемых элементов более чем на 2%;
отклонение места размещения прибора или датчика прибора от середины длины арматуры не должно превышать 2% длины арматуры для механических приборов и 5% - для приборов частотного типа.
8.5. Пример построения градуировочной характеристики прибора ПРДУ приведен в справочном приложении 4.
9.1. Силу натяжения арматуры определяют как среднее арифметическое результатов измерений. При этом количество измерений должно быть не менее 2.
9.2. Оценку силы натяжения арматуры производят путем сопоставления значений сил натяжения арматуры, полученных при измерении, с силой натяжения, заданной в стандарте или рабочих чертежах на железобетонные конструкции; при этом отклонение результатов измерений не должно превышать допускаемых отклонений.
9.3. Оценка результатов определений силы натяжения арматуры по ее удлинению производится путем сопоставления фактического удлинения с удлинением, определенным расчетом.
Фактическое удлинение не должно отличаться от расчетных значений больше чем на 20%.
Пример расчета удлинения арматурной стали приведен в справочном приложении 3.
10.1. К измерению силы натяжения арматуры допускаются лица, обученные правилам техники безопасности, изучившие устройство оборудования и технологию измерения силы натяжения,
10.2. Должны быть разработаны и строго выполняться меры, обеспечивающие соблюдение требований безопасности на случай обрыва арматуры при измерении силы натяжения.
10.3. Лица, не участвующие в измерении силы натяжения арматуры, не должны находиться в зоне натянутой арматуры.
10.4. Для лиц, участвующих в измерении силы натяжения арматуры, должна быть обеспечена надежная защита щитами, сетками или переносными специально оборудованными кабинами, съемными инвентарными хомутами и козырьками, защищающими от выброса захватов и оборванных стержней арматуры.
Справочное
Прибор ПРДУ
Действие прибора ПРДУ при измерении силы натяжения стержневой арматуры и канатов основано на упругой оттяжке арматурного элемента в середине пролета между упорами, а при измерении силы натяжения проволоки - на оттяжке ее на базе упорной рамки прибора. Деформацию пружины прибора измеряют индикатором часового типа по ГОСТ 577-68, которая представляет собой показание прибора Упр.
Поперечно оси арматуры создается постоянное перемещение системы из двух последовательно соединенных звеньев: натянутый арматурный элемент и пружина прибора.
С увеличением силы натянутой арматуры возрастает сопротивление поперечной оттяжке и уменьшается ее перемещение, а поэтому увеличивается деформация пружины прибора, т.е. показания индикатора прибора.
Градуировочная характеристика прибора зависит от диаметра и длины арматуры при работе на базе формы и только от диаметра - при работе на базе упорной рамки.
Прибор ПРДУ состоит из корпуса, шарнира с направляющей трубкой, ходового винта с лимбом и рукояткой, пружины со сферической гайкой, натяжного крюка, индикатора, упора или упорной рамки (черт. 1 настоящего приложения).
При измерении силы натяжения стержневой арматуры и канатов прибор устанавливают упором на стенд, поддон пли форму. Крюк захвата заводят под стержень или канат и вращением ходового винта за его рукоятку обеспечивают контакт со стержнем или канатом. Дальнейшим вращением ходового винта создают предварительную оттяжку арматуры, величину которой фиксируют индикатором.
В конце предварительной оттяжки по риске на корпусе отмечают положение лимба, жестко соединенного с ходовым винтом (боковая поверхность лимба разбита на 100 частей), и затем продолжают вращение ходового винта на несколько оборотов.
После завершения выбранного числа оборотов записывают показания индикатора (Упр2). Силу натяжения арматуры определяют по градуировочной характеристике прибора Р=f(Упр2).
При измерении силы натяжения арматурной проволоки диаметром 5 мм менее, упор заменяют упорной рамкой с базой 600 мм, а крюк захвата - малым крюком. Силу натяжения проволоки определяют по градуировочной характеристике прибора при установленной рамке.
При невозможности разместить упор прибора в плоскости между стенками форм (ребристые плиты, плиты покрытий и др.) он может быть заметен опорным листом с отверстием для прохода тяги с крюком.
Прибор ИПН-7
Прибор состоит из низкочастотного частотомера с усилителем, размещенных в корпусе, счетчика и первичного измерительного преобразователя, соединенного проводом с усилителем (черт. 2 настоящего приложения).
Схема прибора ПРДУ
1 - упор; 2 - пружина; 3 - индикатор; 4 - корпус; 5 - шарнир; 6 - лимб с ручкой; 7 - собственная база; 8 - крюк
Черт. 1
Схема прибора ИПН-7
1 - корпус прибора; 2 - счетчик; 3 - провод; 4 - первичный преобразователь
Черт. 2
Принцип действия прибора основан на определении частоты собственных колебаний натянутой арматуры, которая зависит от напряжения и ее длины.
Колебания арматуры вызывают поперечно приложенным ударом или другим способом. Первичный измерительный преобразователь прибора воспринимает механические колебания, преобразовывает их в электрические, частоту которых после усиления отсчитывает электромеханический счетчик прибора. По частоте собственных колебаний, пользуясь градуировочной характеристикой, определяют силу натяжения арматуры соответствующих диаметров, классов и длин.
Прибор ПИН
Прибор состоит из рамы с упорами, эксцентрика с рычажным устройством, регулировочной гайки, упругого элемента с тензорезисторами, крючка и элементов электрической схемы, размещенных в отдельном отсеке, которые содержат усилитель и счетное устройство (черт. 3 настоящего приложения).
Прибор измеряет силу, необходимую для поперечного смещения натянутой арматуры на заданную величину.
Заданное поперечное смещение арматуры относительно упоров, прикрепленных к раме прибора, создают путем перемещения ручки эксцентрика в левое положение. При этом рычаг перемещает винт регулировочной гайки на величину, зависящую от эксцентриситета эксцентрика. Необходимая для осуществления перемещения сила зависит от силы натяжения арматуры и измеряется по деформациям упругого элемента.
Прибор градуируют для каждого класса и диаметра арматуры. Показания его не зависят от длины натянутой арматуры.
Схема прибора ПИН
1 - упоры; 2 - рама; 3 - эксцентрик; 4 - регулировочная гайка; 5 - упругий элемент с проволочными тензорезисторами (размещается под кожухом); 6 - крючок; 7 - коробка с элементами электрической схемы.
Черт. 3
Основные технические характеристики приборов
|
Тип прибора |
Сила натяжения, тс |
Диаметр арматуры, мм |
Длина арматуры, м |
Длина собственной базы прибора, мм |
Масса прибора, кг |
|||
|
мин. |
макс. |
мин. |
макс. |
мин. |
макс. |
|||
|
ИПН-7 |
0,2 |
17 |
3 |
8 |
5,0 |
12 |
Без собственной базы |
2,6 |
|
|
|
9 |
10 |
4,0 |
12 |
|||
|
|
|
12 |
16 |
3,5 |
11 |
|||
|
|
|
- |
18 |
3,0 |
8 |
|||
|
ПРДУ |
0,6 |
34 |
4 |
5 |
0,8 |
Без ограничений |
600 |
3,6 |
|
|
|
6 |
8 |
2,0 |
4 |
Без собственной базы |
||
|
|
|
9 |
10 |
2,5 |
12 |
|||
|
|
|
12 |
16 |
2,8 |
14 |
|||
|
|
|
- |
18 |
3,0 |
18 |
|||
|
|
|
20 |
22 |
4,5 |
24 |
|||
|
|
|
- |
25 |
6,0 |
24 |
|||
|
|
|
- |
28 |
8,0 |
24 |
|||
|
ПИН |
0,1 |
20 |
3 |
18 |
0,8 |
Без ограничений |
600 |
4,5 |
Рекомендуемое
|
Дата измерения |
Тип изделия |
Данные арматуры |
Данные прибора |
Показания по шкале |
Сила натяжения арматуры, тс |
Отклонения от проектных значений |
Примечание |
|
||||||||||
|
Количество арматурных элементов |
Класс арматуры, марка стали |
Диаметр, мм |
Длина, мм |
Проектная сила натяжения (номинал и допуск |
Тип и номер |
Множитель шкалы |
Исходные показатели |
1-е измерение |
2-е измерение |
3-е измерение |
Среднее по 3 измерениям с учетом множителя шкалы |
|||||||
|
тс |
% |
|
||||||||||||||||
|
||||||||||||||||||
Справочное
Расчет удлинения арматурной стали Dl при отношении величины ее предварительного напряжения s0 к средней величине условного предела текучести `s0,2 более 0,7 производится по формуле
При отношении s0 и s0,2 менее или равном 0,7 расчет удлинения производится по формуле
где s0 - предварительное напряжение арматурной стали, кгс/см2;
s0,2 - средняя величина условного предела текучести арматурной стали, определяемая из опыта или принимаемая равной 1,05, кгс/см2;
s0,2 - браковочная величина условного предела текучести, определяемая по табл. 5 ГОСТ 5781-75, ГОСТ 10884-71, табл. 2 ГОСТ 13640-68, ГОСТ 846063, кгс/см2;
Eа - модуль упругости арматурной стали, определяемый по табл. 29 СНиП II-21-75, кгс/см2;
la - начальная длина арматуры, см.
Пример 1.
Расчетная длина арматурной стали класса А-IV при s0=5500 кгс/см2 и la=1250 см, натяжение - механическим способом.
1. По табл. 5 ГОСТ 5781-75 определяют браковочную величину условного предела текучести s0,2=6000 кгс/см2; по табл. 29 СНиП II-21-75 определяют модуль упругости арматурной стали Eа=2×106 кгс/см2.
2. Определяют величину
=6300 кгс/см2.
3. Вычисляют отношение
, поэтому удлинение арматурной стали определяют по формуле (1)
.
Пример 2.
Расчет удлинений высокопрочной арматурной проволоки класса Вр-П при s0=9000 кгс/см2 и la=4200 см, натяжение - механическим способом.
1. По результатам контрольных испытаний определяют среднюю величину условного предела текучести`s0,2=13400 кгс/см2; по табл. 29 СНиП 11-21-75 определяют модуль упругости арматурной стали Вр-П. Ea=2×106 кгс/см2.
2. Вычисляют
отношение
, поэтому удлинение арматурной стали определяют по формуле (2)
см
Справочное
Необходимо установить относительную погрешность при определении градуировочной характеристики прибора ПРДУ для арматуры класса A-IV диаметром 25 мм, длиной 12,66 м при максимальной силе натяжения Рmах=27 тс, заданной в рабочих чертежах.
1. На каждой ступени нагружения Р¢, P¢¢… Pn определяют силу натяжения арматуры P¢max, P¢min, P¢¢max, P¢¢min … Pnmax, Pnmin, соответствующие показанию прибора.
Y¢пр.max, Y¢пр.min, Y¢¢пр.max, Y¢¢пр.min … Ynпр.max, Ynпр.min
на этих ступенях нагружения. Так на первой ступени нагружения
Р¢=15 тс, P¢max=15,190 тс, P¢min=14,905 тс, Y¢пр.max=295 делений, Y¢пр.min=292 деления
2. Определяют размах показаний в тс
D Р¢= P¢max - P¢min, D Р¢¢= P¢¢max - P¢¢min … D Рn= Pnmax - Pnmin.
Для первой ступени нагружения он составляет:
D Р¢=15,190 - 14,905=0,285 тс.
3. Определяют относительный размах показаний в процентах
%,
% …
%
%.
Для первой ступени нагружения он составит:
DР¢ % =
%, что не превышает 4,0%.
4. Пример расчета максимальной и минимальной силы при градуировке:
Pгmax=27×1,1=30 тс;
Pгmin= 30×0,5=15 тс.
Величина ступеней загружения должна быть не более
0,15(Pгmax-Pгmin)-0,15(30-15)=2,25 тс.
Принимают величину ступени нагружения (кроме последней ступени) равной 2 тс. Величину последней ступени загружения принимают 1 тс.
На каждой ступени берут 3 отсчета (Упр.1, Упр.2, Упр.3), из которых определяют среднее арифметическое значение Упр.ср. Полученные значения градуировочной характеристики приведены в виде таблицы и графика (чертеж настоящего приложения).
|
Р, тс |
Показания прибора в делениях |
|||
|
1 |
2 |
3 |
ср. |
|
|
15 |
295 |
295 |
292 |
294 |
|
17 |
315 |
317 |
313 |
315 |
|
19 |
334 |
337 |
337 |
336 |
|
21 |
353 |
356 |
352 |
354 |
|
23 |
373 |
370 |
374 |
372 |
|
25 |
392 |
388 |
387 |
388 |
|
27 |
405 |
402 |
400 |
202 |
|
29 |
416 |
412 |
213 |
414 |
|
30 |
421 |
417 |
421 |
419 |
Градуировочная характеристика прибора ПРДУ

СОДЕРЖАНИЕ