
ГОСУДАРСТВЕННЫЙ СТАНДАРТ СОЮЗА ССР
ОПОРЫ ЖЕЛЕЗОБЕТОННЫЕ
ДОРОЖНЫХ ЗНАКОВ
ТЕХНИЧЕСКИЕ УСЛОВИЯ
ГОСТ 25459-82
ГОСУДАРСТВЕННЫЙ
КОМИТЕТ СССР
ПО ДЕЛАМ СТРОИТЕЛЬСТВА
Москва
РАЗРАБОТАН
Государственным всесоюзным дорожным научно-исследовательским институтом (Союздорнии) Минтрансстроя
Всесоюзным научно-исследовательским институтом безопасности дорожного движения (ВНИИБД) МВД СССР
Научно-исследовательским институтом бетона и железобетона (НИИЖБ) Госстроя СССР
Государственным дорожным проектно-изыскательским и научно-исследовательским институтом, (Гипродорнии) Минавтодора РСФСР
ИСПОЛНИТЕЛИ
В. А. Астров, канд. техн. наук (руководитель темы); Л. Ф. Райхлина; В. Я. Буйленко; С. Г. Бородина; Л. В. Руф, канд. техн. наук; В. Д. Белов, канд. техн. наук; И. Д. Демин
ВНЕСЕН Министерством транспортного строительства
Зам. министра Н. И. Литвин
УТВЕРЖДЕН И ВВЕДЕН В ДЕЙСТВИЕ Постановлением Государственного комитета СССР по делам строительства от 14 сентября 1982 г. № 215
ГОСУДАРСТВЕННЫЙ СТАНДАРТ СОЮЗА ССР
|
ОПОРЫ ЖЕЛЕЗОБЕТОННЫЕ ДОРОЖНЫХ ЗНАКОВ Технические условия Concrete posts for road signs. Specifications |
ГОСТ
|
Постановлением Государственного комитета СССР по делам строительства от 14 сентября 1982 г. № 215 срок введения установлен
с 01.01.84
Настоящий стандарт распространяется на железобетонные предварительно напряженные опоры, изготавливаемые из тяжелого бетона и легкого бетона на пористых заполнителях и предназначаемые для установки дорожных знаков по ГОСТ 10807-78.
При соответствующем технико-экономическом обосновании допускается изготавливать опоры из мелкозернистого бетона по роликовой технологии.
1.1. Опоры для установки дорожных знаков подразделяют на три типа:
1 - переменного поперечного сечения по длине опоры;
2 - постоянного поперечного сечения по длине опоры;
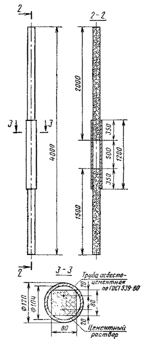
3 - составные (безопасные) постоянного поперечного сечения с использованием в качестве соединительного элемента муфты из асбестоцементной трубы.
1.2. Опоры типа 1 изготавливают длиной 3500, 4000, 4500, 5000, 5500 и 6000 мм, типа 2 - длиной 3500 мм, типа 3 - длиной 4000 мм.
1.3. Параметры опоры в зависимости от типоразмера, числа знаков, устанавливаемых на опоре, и изгибающего момента в расчетном сечении следует выбирать согласно рекомендуемому приложению.
1.4. Форма и основные размеры опор должны соответствовать указанным на черт. 1, 2 и в табл. 1.
Примечание. Допускается изготавливать опоры поперечным сечением с технологическим уклоном до 15 % при условии сохранения размеров расчетного поперечного сечения.
Опоры типа 1

Черт. 1
Опора типа 2 Опора типа 3

Черт. 2
Таблица 1
|
Класс напрягаемой арматуры |
Марка опоры |
Основные размеры опоры, мм |
Изгибающий момент в расчетном сечении, Н×м (кгс×м) |
Класс бетона по прочности на сжатие |
Напрягаемая арматура (на опору) |
Расход материалов на опору |
Справочная масса опоры, кг, изготавливаемой из бетона | |||||
|
L |
b |
t1 |
t2 |
Бетон, м3 |
Сталь, кг |
тяжелого |
легкого на пористых заполнителях | |||||
|
Вр-II |
10Ж35-8.1 |
3500 |
80 |
60 |
160 |
800 (81,6) |
В30 |
2Æ4ВрII |
0,031 |
0,7 |
73,9 |
64,7 (55,4) |
|
10Ж40-8.1 |
4000 |
0,035 |
0,8 |
81,4 |
74,0 (63,4) | |||||||
|
10Ж40-12.1 |
220 |
1200 (122,3) |
0,045 |
107,5 |
94,1 (80,6) | |||||||
|
10Ж40-16.1 |
|
100 |
240 |
1600 (163,1) |
0,060 |
144,0 |
126,0 (108,0) | |||||
|
10Ж40-21.1 |
280 |
2100 (214,1) |
0,068 |
163,2 |
142,8 (122,4) | |||||||
|
10Ж45-8.1 |
4500 |
80 |
160 |
800 (81,6) |
0,040 |
0,9 |
95,1 |
83,1 (71,3) | ||||
|
10Ж45-10.1 |
170 |
1000 (101,9) |
0,041 |
99,4 |
86,9 (74,5) | |||||||
|
10Ж45-15.1 |
100 |
210 |
1500 (152,9) |
0,061 |
145,8 |
127,6 (109,4) | ||||||
|
10Ж45-20.1 |
240 |
2000 (203,9) |
0,068 |
162,0 |
141,8 (121,5) | |||||||
|
10Ж45-25.1 |
80 |
230 |
2500 (254,9) |
4Æ4ВрII |
0,070 |
1,8 |
167,4 |
146,5 (125,5) | ||||
|
10Ж45-35.1 |
290 |
3500 (356,8) |
0,083 |
199,8 |
174,8 (149,8) | |||||||
|
10Ж50-15.1 |
5000 |
200 |
1500 (152,9) |
0,070 |
2,0 |
168,0 |
147,0 (126,0) | |||||
|
10Ж50-25.1 |
230 |
2500 (254,9) |
0,078 |
186,0 |
162,8 (139,5) | |||||||
|
10Ж50-30.1 |
250 |
3000 (305.9) |
0,083 |
198,0 |
173,3 (148,5) | |||||||
|
10Ж50-45.1 |
120 |
320 |
4500 (458,8) |
0,120 |
288,0 |
252,0 (216,0) | ||||||
|
10Ж50-50.1 |
400 |
5500 (560,8) |
0,144 |
345,6 |
302,4 (259,2) | |||||||
|
10Ж55-25.1 |
5500 |
100 |
220 |
2500 (254,9) |
0,083 |
2,2 |
198,0 |
173,3 (148,5) | ||||
|
10Ж55-50.1 |
120 |
360 |
5000 (509,8) |
0,145 |
348,5 |
304,9 (261,4) | ||||||
|
10Ж55-75.1 |
140 |
7500 (764,7) |
0,169 |
406,6 |
355,7 (304,9) | |||||||
|
10Ж60-90.1 |
6000 |
400 |
9000 (917,7) |
0,202 |
2,4 |
483,9 |
423,4 (362,9) | |||||
|
20Ж35-8.1 |
3500 |
80 |
80 |
800 (81,6) |
2Æ4ВрII |
0,022 |
0,7 |
53,8 |
47,0 (40,3) | |||
|
30Ж40-14.1 |
4000 |
1400 (142,7) |
0,022 |
0,7 |
63,2 |
56,4 (49,7) | ||||||
|
Врп-I |
10Ж35-8.2 |
3500 |
80 |
60 |
160 |
800 (81,6) |
В30 |
2Æ5ВрпI |
0,031 |
1,1 |
73,9 |
64,7 (55,4) |
|
10Ж40-8.2 |
4000 |
0,035 |
1,25 |
84,4 |
74,0 (63,4) | |||||||
|
10Ж40-12.2 |
220 |
1200 (122.3) |
0,045 |
107.5 |
94,1 (80,6) | |||||||
|
10Ж40-16.2 |
100 |
240 |
1600 (163,1) |
0,060 |
144,0 |
126,0 (108,0) | ||||||
|
10Ж40-21.2 |
280 |
2100 (214,1) |
0,068 |
163,2 |
142,8 (122,4) | |||||||
|
10Ж45-8.2 |
4500 |
80 |
160 |
800 (81,6) |
0,040 |
1,4 |
95,1 |
83,1 (71,3) | ||||
|
10Ж45-10.2 |
170 |
1000 (101,9) |
0,041 |
99,4 |
86,9 (74,5) | |||||||
|
10Ж45-15.2 |
100 |
210 |
1500 (152,9) |
0,061 |
145,8 |
127,6 (109,4) | ||||||
|
10Ж45-20.2 |
240 |
2000 (203,9) |
0,068 |
162,0 |
141,8 (121,5) | |||||||
|
10Ж45-25.2 |
4500 |
100 |
80 |
230 |
2500 (254,9) |
В30 |
4Æ5ВрпI |
0,070 |
2,8 |
167,4 |
146,5 (125,5) | |
|
10Ж45 35.2 |
290 |
3500 (356,8) |
0,083 |
199,8 |
174,8 (149,8) | |||||||
|
10Ж50-15.2 |
5000 |
200 |
1500 (152,9) |
0,070 |
3,1 |
168,0 |
147,0 (126,0) | |||||
|
10Ж50-25.2 |
230 |
2500 (254,9) |
0,078 |
186,0 |
162,8 (139,5) | |||||||
|
10Ж50-30.2 |
250 |
3000 (305,8) |
0,083 |
198,0 |
173,3 (148,5) | |||||||
|
10Ж50-45.2 |
120 |
320 |
4500 (458,8) |
0,120 |
288,0 |
252,0 (216,0) | ||||||
|
10Ж50-50.2 |
400 |
5500 (560,8) |
0,144 |
345,6 |
302,4 (459,2) | |||||||
|
10Ж55-25.2 |
5500 |
100 |
220 |
2500 (254,9) |
0,083 |
3,4 |
198,0 |
173,3 (148,5) | ||||
|
10Ж55-50.2 |
120 |
360 |
5000 (509,8) |
0,145 |
348,5 |
304,9 (261,4) | ||||||
|
10Ж55-75.2 |
140 |
7500 (713,6) |
0,169 |
406,6 |
355,7 (304,9) | |||||||
|
10Ж60-90.2 |
6000 |
400 |
9000 (917,7) |
0,202 |
3,7 |
483,9 |
423,4 (362,9) | |||||
|
20Ж35-8.2 |
3500 |
80 |
80 |
800 (81,6) |
2Æ5ВрпI |
0,022 |
1,1 |
53,8 |
47,0 (40,3) | |||
|
30Ж40-14.2 |
4000 |
1400 (142,7) |
0,022 |
1,25 |
63,2 |
56,4 (49,7) | ||||||
Примечания:
1. Марка указана для опоры, изготавливаемой из тяжелого бетона.
2. Длина напрягаемой арматуры принята равной длине опоры.
3. Справочная масса опоры приведена для тяжелого бетона со средней плотностью (в высушенном до постоянной массы состоянии) 2400 кг/м3, для легкого бетона на пористых заполнителях - 2100 кг/м3, в скобках - 1800 кг/м3.
4. Справочная масса опоры (безопасной) марок 30Ж40-14.1 и 30Ж40-14.2 приведена с учетом массы асбестоцементной трубы, равной 9,4 кг.
1.5. В качестве напрягаемой арматуры опор следует применять высокопрочную проволоку класса Вр-II или проволоку повышенной прочности класса Врп-I.
1.6. Марка опоры обозначается в соответствии с ГОСТ 23009-78 и состоит из буквенно-цифровых групп, разделенных тире.
Первая группа содержит:
цифровое обозначение типа опоры (см. п. 1.1);
буквенное обозначение наименования опоры - ОЖ;
длину опоры в дециметрах.
Во второй группе указаны:
величина изгибающего момента в гектоньютон-метрах в расчетном сечении;
обозначение вида армирования:
1 - высокопрочной проволокой класса Вр-II диаметром 4 мм;
2 - проволокой повышенной прочности класса Врп-I диаметром 5 мм.
В марке опор, изготавливаемых из легкого бетона на пористых заполнителях или мелкозернистого бетона, приводят обозначение вида бетона - соответственно буквы П или М.
Пример условного обозначения опоры типа 1, длиной 4000 мм, рассчитанной на действие изгибающего момента 1200 Н×м, армированной проволоками повышенной прочности класса Врп-I диаметром 5 мм, изготовленной из легкого бетона на пористых заполнителях:
10Ж40-12.2П
То же, типа 2, длиной 3500 мм, рассчитанной на действие изгибающего момента 800 Н×м, армированной высокопрочными проволоками класса Вр-II диаметром 4 мм, изготовленной из тяжелого бетона:
20Ж35-8.1
То же, типа 3 (безопасная опора), длиной 4000 мм, рассчитанной на действие изгибающего момента 1400 Н×м, армированной высокопрочной проволокой класса Вр-II диаметром 4 мм, изготовленной из мелкозернистого бетона:
30Ж40-14.1М
2.1. Опоры должны изготавливаться в соответствии с требованиями настоящего стандарта по технологической документации, утвержденной в установленном порядке.
2.2. Опоры подлежат изготовлению в формах, обеспечивающих соблюдение требований к качеству и точности изготовления, установленных настоящим стандартом.
2.3. Бетон
2.3.1. Фактическая прочность бетона опор должна соответствовать требуемой, назначаемой по ГОСТ 18105.0-80 и ГОСТ 18105.1-80 в зависимости от класса бетона по прочности на сжатие (табл. 1) и от показателя однородности прочности бетона.
2.3.2. Коэффициент вариации прочности бетона в партии опор высшей категории качества должен быть не более 9 %.
2.3.3. Бетон должен иметь морозостойкость Мрз 100.
2.3.4. Опоры подлежат изготовлению из бетона нормальной степени плотности согласно главе СНиП II-28-73.
Водонепроницаемость бетона должна быть W4.
2.3.5. Качество материалов, применяемых для приготовления бетона, должно обеспечивать выполнение технических требований, установленных настоящим стандартом, и соответствовать:
цемент - ГОСТ 10178-76;
заполнители для тяжелого и мелкозернистого бетона - ГОСТ 10268-80;
заполнители для легкого бетона на пористых заполнителях - ГОСТ 9757-73;
вода - ГОСТ 23732-79.
Заполнитель должен иметь наибольшую крупность зерен до 20 мм.
Химические добавки, применяемые при приготовлении бетона, должны удовлетворять требованиям документов по технологии изготовления железобетонных конструкций.
2.4. В качестве соединительных муфт для составных (безопасных) опор типа 3 следует использовать асбестоцементные трубы по ГОСТ 539-80.
2.5. Арматура
2.5.1. Напрягаемая арматура должна удовлетворять требованиям:
проволока класса Вр-II - ГОСТ 8480-81;
проволока класса Врп-I - ТУ 14-170-119-80.
2.5.2. Натяжение арматуры следует осуществлять механическим или электротермомеханическим способами.
2.5.3. Температура нагрева напрягаемой арматуры при электротермомеханическом способе натяжения не должна превышать значений, установленных документами по технологии изготовления предварительно напряженных железобетонных конструкций.
2.5.4. При применении электротермомеханического способа натяжения арматуры должны проводиться контрольные испытания проволоки на растяжение после электронагрева.
2.5.5. Значения усилий в напрягаемой арматуре, контролируемых по окончании натяжения на упоры, должны соответствовать установленным в табл. 2.
Таблица 2
|
Напрягаемая арматура |
Усилие в напрягаемой арматуре, кН (кгс) |
|
Æ4Вр-II |
14,32 (1460) |
|
Æ5Врп-I |
10,98 (1120) |
2.5.6. Отклонения значений усилий в напрягаемой арматуре от установленных в табл. 2 не должны превышать -5 и +10 %.
2.6. Передача усилий обжатия на бетон (отпуск натяжения арматуры) должна производиться после достижения бетоном требуемой прочности, назначаемой по ГОСТ 18105.0-80 и ГОСТ 18105.1-80 в зависимости от нормируемой передаточной прочности и от показателя однородности прочности бетона.
Нормируемая передаточная прочность бетона составляет 60 % класса бетона по прочности на сжатие.
Фактическая передаточная прочность бетона должна быть не менее 19,6 МПа (200 кгс/см2).
2.7. Поставку опор потребителю производят с прочностью бетона не ниже требуемой передаточной прочности согласно п. 2.6.
Поставка опор с отпускной прочностью бетона менее прочности, соответствующей классу бетона по прочности на сжатие (п. 2.3.1), может производиться при условии, что изготовитель гарантирует достижение бетоном прочности, соответствующей его классу (определяемой по результатам испытаний контрольных образцов), в возрасте 28 сут.
2.8. Точность изготовления опор
2.8.1. Отклонения размеров опор от номинальных, указанных на черт. 1 и 2, не должны превышать, мм:
по длине опоры ±20
по размерам поперечного сечения ±3
2.8.2. Непрямолинейность профиля боковых граней, измеряемая на участке длиной 2 м, не должна превышать 10 мм, а для опор высшей категории качества - 5 мм.
2.8.3. Отклонения положения напрягаемой арматуры от указанного на черт. 1 и 2 не должны превышать 2 мм.
2.8.4. Концы напрягаемой арматуры не должны выступать за торцевые поверхности опор более чем на 20 мм и должны быть защищены слоем плотного цементно-песчаного раствора или битумным лаком.
2.8.5. На поверхности опор не допускаются:
раковины диаметром более 10 мм и глубиной более 5 мм, а для опор высшей категории качества - диаметром более 6 мм и глубиной более 3 мм;
местные наплывы бетона высотой более 5 мм и впадины глубиной более 3 мм;
сколы бетона ребер глубиной более 10 мм и общей длиной более 50 мм на участке ребра длиной 1 м;
трещины в бетоне, за исключением местных поверхностных усадочных.
3.1. Приемку опор следует производить в соответствии с требованиями ГОСТ 13015.1-81.
4.1. Прочность бетона на сжатие следует определять по ГОСТ 10180-78 на серии образцов, изготовленных из бетонной смеси рабочего состава, или неразрушающими методами по ГОСТ 17624-78, ГОСТ 22690.0-77, ГОСТ 22690.1-77 - ГОСТ 22690.4-77.
4.2. Морозостойкость бетона следует определять по ГОСТ 10060-76.
4.3. Водонепроницаемость бетона следует определять на образцах, изготовленных из бетонной смеси рабочего состава, по ГОСТ 12730.0-78 и ГОСТ 12730.5-78.
4.4. Средняя плотность бетона должна определяться по ГОСТ 12730.0-78 и ГОСТ 12730.1-78.
4.5. Методы контроля и испытаний исходных сырьевых материалов для изготовления опор должны соответствовать установленным государственными стандартами и техническими условиями на эти материалы.
4.6. Измерение контролируемого натяжения напрягаемой арматуры производят в соответствии с ГОСТ 22362-77.
4.7. Размеры, непрямолинейность профиля опор, расположение напрягаемой арматуры, качество бетонных поверхностей опор следует проверять методами, установленными ГОСТ 13015-75.
4.8. Опоры, предназначенные для испытания нагружением, должны иметь возраст бетона не менее 3 и не более 28 сут и удовлетворять всем другим требованиям настоящего стандарта.
Допускается использовать для испытаний нагружением опоры, имеющие ржавые пятна на лицевой поверхности; опоры, имеющие раковины, местные наплывы и околы, размеры которых превышают допускаемые настоящим стандартом не более чем в два раза, и другие дефекты, не влияющие на прочность опор.
4.9. Испытание опор по трещиностойкости следует производить в соответствии с ГОСТ 8829-77 по схеме, приведенной на черт 3.

Черт. 3
Загружение опор производят ступенями. Доля нагрузки каждой ступени должна составлять не более 10 % контрольной.
Контрольную нагрузку Fк по проверке трещиностойкости (с учетом собственного веса G консольной части опоры, приложенного в центре ее тяжести), при которой образование трещин не допускается, принимают по табл. 3.
Таблица 3
|
Марка опоры |
Контрольная нагрузка Fк, Н (кгс), по трещиностойкости при плотности бетона, кг/м3 | ||||||
|
2400 |
2300 |
2200 |
2100 |
2000 |
1900 |
1800 | |
|
10Ж35-8.1 10Ж35-8.2 |
600 (61,2) |
609 (62,1) |
617 (62,9) |
625 (63,7) |
634 (64,6) |
641 (65,4) |
650 (66,3) |
|
10Ж40-8.1 10Ж40-8.2 |
489 (49,9) |
502 (51,2) |
515 (52,5) |
528 (53,8) |
541 (55,2) |
554 (56,5) |
567 (57,8) |
|
10Ж40-12.1 10Ж40-12.2 |
776 (79,1) |
793 (80,9) |
810 (82,6) |
829 (84,5) |
846 (86,3) |
864 (88,1) |
882 (89,9) |
|
10Ж40-16.1 10Ж40-16.2 |
1024 (104,4) |
1048 (106,9) |
1072 (109,3) |
1095 (111,7) |
1120 (114,2) |
1143 (116,6) |
1168 (119,1) |
|
10Ж40-21.1 10Ж40-21.2 |
1434 (146,2) |
1461 (149,0) |
1489 (151,8) |
1517 (154,7) |
1545 (157,5) |
1573 (160,4) |
1599 (163,1) |
|
10Ж45-8.1 10Ж45-8.2 |
485 (49,4) |
505 (51,5) |
511 (52,1) |
524 (53,4) |
537 (54,8) |
550 (56,1) |
568 (57,4) |
|
10Ж45-10.1 10Ж45-10.2 |
665 (67,8) |
679 (69,2) |
693 (70,7) |
707 (72,1) |
721 (73,5) |
735 (74,9) |
748 (76,3) |
|
10Ж45-15.1 10Ж45-15.2 |
990 (101,0) |
1011 (103,1) |
1033 (105,3) |
1053 (107,4) |
1075 (109,6) |
1096 (111,8) |
1117 (113,9) |
|
10Ж45-20.1 10Ж45-20.2 |
1421 (144,9) |
1446 (147,4) |
1469 (149,8) |
1494 (152,3) |
1518 (154,8) |
1542 (157,2) |
1566 (159,7) |
|
10Ж45-25.1 10Ж45-25.2 |
1935 (197,3) |
1959 (199,8) |
1982 (202,1) |
2006 (204,5) |
2029 (206,9) |
2053 (209,3) |
2076 (211,7) |
|
10Ж45-35.1 10Ж45-35.2 |
2797 (285,2) |
2826 (288,2) |
2856 (291,2) |
2885 (294,2) |
2914 (297,1) |
2943 (300,1) |
2972 (303,1) |
|
10Ж50-15.1 10Ж50-15.2 |
998 (101,8) |
1019 (103,9) |
1040 (106,0) |
1061 (108,2) |
1082 (110,3) |
1102 (112,4) |
1124 (114,6) |
|
10Ж50-25.1 10Ж50-25.2 |
1928 (195,6) |
1953 (199,1) |
1976 (201,5) |
2000 (203,9) |
2023 (206,3) |
2048 (208,8) |
2071 (211,2) |
|
10Ж50-30.1 10Ж50-30.2 |
2382 (242,9) |
2407 (245,4) |
2433 (248,1) |
2460 (250,8) |
2484 (253,3) |
2511 (256,0) |
2536 (258,6) |
|
10Ж50-45.1 10Ж50-45.2 |
3561 (363,1) |
3600 (367,1) |
3638 (371,0) |
3678 (375,0) |
3718 (379,1) |
3757 (383,1) |
3795 (387,0) |
|
10Ж50-50.1 10Ж50-50.2 |
4337 (442,2) |
4386 (447,2) |
4434 (452,1) |
4482 (457,0) |
4531 (462,0) |
4579 (466,9) |
4628 (471,9) |
|
10Ж55-25.1 10Ж55-25.2 |
1947 (198,5) |
1969 (200,8) |
1993 (203,2) |
2015 (205,5) |
2039 (207,9) |
2061 (210,2) |
2085 (212,6) |
|
10Ж55-50.1 10Ж55-50.2 |
3937 (401,4) |
3981 (405,9) |
4025 (410,4) |
4070 (415,0) |
4114 (419,5) |
4157 (423,9) |
4201 (428,4) |
|
10Ж55-75.1 10Ж55-75.2 |
6259 (638,2) |
6311 (643,5) |
6362 (648,7) |
6414 (654,0) |
6465 (659,2) |
6517 (664,5) |
6570 (669,9) |
|
10Ж60-90.1 10Ж60-90.2 |
7612 (776,2) |
7670 (782,8) |
7728 (788,0) |
7785 (793,8) |
7844 (799,8) |
7901 (805,7) |
7958 (811,5) |
|
20Ж35-8.1 20Ж35-8.2 |
665 (67,8) |
670 (68,3) |
676 (68,9) |
682 (69,5) |
686 (70,0) |
692 (70,6) |
698 (71,2) |
|
30Ж40-14.1 30Ж40-14.2 |
665 (67,8) |
670 (68,3) |
676 (68,9) |
682 (69,5) |
686 (70,0) |
692 (70,6) |
698 (71,2) |
Примечания: 1. Контрольная нагрузка fк приведена с учетом веса консольной части опоры, к которой приложена контрольная нагрузка.
2. Вес загрузочного устройства следует учитывать как составную часть контрольной нагрузки.
5.1. Маркировка опор должна производиться по ГОСТ 13015.2-81.
5.2. Требования к документу о качестве опор, поставляемых потребителю, - по ГОСТ 13015.3-81.
5.3. Опоры следует хранить на складе готовой продукции в контейнерах, штабелях или пакетах рассортированными по маркам.
Высота штабеля или пакета должна быть не более 2 м.
5.4. Нижний ряд опор в штабеле или пакете следует укладывать на плотное выровненное основание по деревянным прокладкам.
5.5. Поставка опор потребителю должна осуществляться в контейнерах или пакетах любым видом транспорта.
5.6. Погрузку, транспортирование и разгрузку опор следует производить, соблюдая правила техники безопасности и принимая меры, исключающие возможность повреждения опор.
Разгрузка опор сбрасыванием не допускается.
5.7. Погрузку, крепление и транспортирование опор на открытом железнодорожном подвижном составе (полувагоны или платформы) следует осуществлять в соответствии с требованиями Правил перевозок грузов и Технических условий погрузки и крепления грузов, утвержденных Министерством путей сообщения.
При транспортировании опор пакетами должны соблюдаться требования ГОСТ 21929-76.
Транспортная маркировка - по ГОСТ 14192-77.
Рекомендуемое
1. Необходимая длина опоры L, м, при различных схемах установки дорожных знаков, приведенных на чертеже, должна удовлетворять условию
L = h1 + h2 + h3 + d,
где h1 - высота части опоры, закрытой знаком (знаками). При этом верхний край знака должен возвышаться над верхом опоры не более чем на 0,15 м; расстояние между краями смежных знаков, размещаемых по вертикали, принимают равным 0,05 м;
h2 - высота части опоры от низа дорожного знака до верха кромки проезжей части автомобильной дороги, принимаемая не менее 1,5 - 2,0 м;
h3 - разница высот между поверхностью кромки проезжей части и места установки опоры, принимаемая равной 0,2 м для одностоечных опор, 0,3 м - для двухстоечных и 0,35 м - для трехстоечных;
d - заглубление опоры в грунт, равное 1,5 м (кроме опор длиной 3,5 м, для которых d = 1,2 м).
2. Размеры поперечного сечения и вид армирования опоры должны приниматься в зависимости от расчетного изгибающего момента М, Н×м (кгс×м), возникающего от ветровой нагрузки на щиты знаков, на опоры и определяемого по формуле
M = 1,1Wh,
где 1,1 - коэффициент, учитывающий дополнительный изгибающий момент от ветровой нагрузки, действующей собственно на опору (без знака);
W - расчетная ветровая нагрузка на знак (знаки), Н (кгс),
;
А - расчетная площадь знака (знаков), м2;
-
нормативное значение
статической составляющей ветровой нагрузки, Па (кгс/м2),
= 0,75
;
0,75 - коэффициент снижения ветровой нагрузки из-за небольшой высоты опоры;
q0 - скоростной напор ветра, принимаемый равным 539,4 Па (55 кгс/м2);
kc - коэффициент, учитывающий изменение скоростного напора ветра по высоте, равный 1;
с - аэродинамический коэффициент, равный 1,4;
h - высота приложения ветровой нагрузки, м.
При указанных значениях изгибающий момент допускается определять по формуле
M = 623,01 Ah, H×м (M = 63,525Ah, кгс×м).
3. Для двух- и трехстоечных опор (см. схемы 8 и 9), предназначенных для установки дорожных знаков индивидуального проектирования, вычисленный общий изгибающий момент следует уменьшить соответственно в два и три раза.
4. По установленной высоте опоры и расчетному изгибающему моменту выбирается типоразмер опоры по табл. 1 настоящего стандарта.
5. Потребная длина опоры и значения расчетных изгибающих моментов для основных схем установки дорожных знаков приведены в табл. 1 и 2 настоящего приложения.
Расчетные схемы опор для установки дорожных знаков

1 - дорожный знак; 2 - опора; 3 - покрытие автомобильной дороги; 4 - обочина (присыпная берма)
Таблица 1
Расчетные показатели опоры для основных схем установки дорожных знаков
|
Номер схемы |
Типоразмер знака по ГОСТ 10807-78 |
Длина опоры L, м |
Изгибающий момент М в расчетном сечении опоры, Н×м (кгс×м) |
Номер схемы |
Типоразмер знака по ГОСТ 10807-78 |
Длина опоры L, м |
Изгибающий момент М в расчетном сечении опоры, Н×м (кгс×м) |
|
1 |
I |
3,50 4,50 |
352,6 (35,36) 440,7 (44,95) |
4 |
I |
4,00 4,50 |
1446,6 (147,51) 1783,1 (181,82) |
|
II |
4,00 4,50 |
491,7 (50,14) 611,6 (62,36) |
II |
4,00 4,50 |
2042,3 (2.08,26) 2500,2 (254,96) | ||
|
III |
4,00 4,50 |
851,9 (86,86) 1050,0 (107,07) |
III |
4,50 5,00 |
3603,1 (367,40) 4360,0 (444,58) | ||
|
IV |
4,50 5,00 |
1619,2 (165,11) 1971,2 (201,00) |
5 |
I |
4,50 5,00 |
821,6 (83,78) 997,9 (101,76) | |
|
2 |
I |
4,00 4,50 |
723,3 (73,76) 891,6 (90,91) |
II |
5,00 5,50 |
1165,7 (118,86) 1405,6 (143,33) | |
|
II |
4,00 4,50 |
1021,1 (104,13) 1250,1 (127,47) |
III |
5,50 6,00 |
2084,2 (212,55) 2480,4 (252,91) | ||
|
III |
4,50 5,00 |
1801,6 (183,70) 2180,0 (222,29) |
IV |
5,50 6,00 |
4125,4 (420,66) 4829,4 (492,45) | ||
|
3 |
I |
4,00 4,50 |
705,3 (71,91) 881,5 (89,89) |
6 |
I |
4,50 5,00 |
1137,2 (115,96) 1401,6 (142,93) |
|
II |
4,00 4,50 |
983,5 (100,27) 1223,3 (124,73) |
II |
5,00 5,50 |
1583,0 (161,43) 1942,8 (198,10) | ||
|
III |
4.00 4,50 |
1703,8 (173,73) 2100,0 (214,15) |
III |
5,00 5,50 |
2793,4 (284,85) 3387,7 (345,46) | ||
|
IV |
4,50 5,00 |
3238,4 (330,22) 3943,4 (402,00) |
IV |
5,50 6,00 |
4510,6 (459,94) 5503,6 (551,93) |
Таблица 2
Расчетные показатели опоры для дорожных знаков индивидуального проектирования
|
Номер схемы |
Размер знака В´Н, м |
Длина опоры L, м |
Изгибающий момент М в расчетном сечении опоры, Н×м (кгс×м) |
|
7 |
1,00´0,34 |
3,50 4,00 |
396,1 (40,39) 502,0 (51,19) |
|
1,50´0,34 |
3,50 4,00 |
594,2 (60,58) 753,3 (76,78) | |
|
1,00´0,51 |
3,50 4,00 |
622,7 (63,50) 781,6 (79,70) | |
|
1,50´0,51 |
4,00 4,50 |
928,0 (94,63) 1165,0 (118,79) | |
|
1,00´4,50 |
4,00 4,50 |
864,1 (88,11) 1075,9 (109,71) | |
|
1,50´0,68 |
4,00 4,50 |
1296,5 (133,11) 1614,2 (164,60) | |
|
8 |
2,00´0,51 |
4,00 4,50 |
654,5 (66,74) 813,3 (82,00) |
|
2,50´0,51 |
4,00 4,50 |
818,2 (83,43) 1016,7 (103,31) | |
|
2,00´0,68 |
4,00 4,50 |
906,5 (92,43) 1118,3 (114,03) | |
|
2,50´0,68 |
4,00 4,50 |
1133,3 (115,56) 1398,0 (142,56) | |
|
3,00´0,68 |
4,00 4,50 |
1360,0 (138,67) 1677,7 (171,07) | |
|
3,50´0,68 |
4,00 4,50 |
1586,5 (161,76) 1957,2 (199,56) | |
|
4,00´0,68 |
4,00 4,50 |
1813,3 (184,89) 2236,9 (228,09) | |
|
4,50´0,68 |
4,00 4,50 |
2039,7 (207,99) 2516,3 (256,58) | |
|
2,00´1,02 |
4,50 5,00 |
1467,8 (149,67) 1785,6 (182,02) | |
|
2,50´1,02 |
4,50 5,00 |
1834,9 (187,10) 2232,1 (227,60) | |
|
3,00´1,02 |
4,50 5,00 |
2202,0 (224,54) 2678,6 (273,14) | |
|
3,50´1,02 |
4,50 5,00 |
2568,9 (261,95) 3125,0 (318,66) | |
|
4,00´1,02 |
4,50 5,00 |
2935,9 (299,37) 3571,4 (364,17) | |
|
4,50´1,02 |
4,50 5,00 |
3301,9 (336,69) 4018,3 (409,76) | |
|
2,00´1,50 |
5,00 5,50 |
2383,0 (242,99) 2850,2 (290,64) | |
|
2,50´1,50 |
5,00 5,50 |
2978,7 (303,74) 3563,6 (363,37) | |
|
3,00´1,50 |
5,00 5,50 |
3574,5 (364,49) 4275,4 (435,96) | |
|
3,50´1,50 |
5,00 5,50 |
4171,0 (425,32) 4987,1 (508,53) | |
|
4,00´1,50 |
5,00 5,50 |
4765,9 (485,98) 5700,5 (581,27) | |
|
4,50´1,50 |
5,00 5,50 |
5360,9 (546,65) 6413,8 (654,01) | |
|
3,00´2,00 |
5,50 6,00 |
5233,2 (533,63) 6167,7 (628,92) | |
|
3,50´2,00 |
5,50 6,00 |
6105,4 (622,56) 7195,6 (733,74) | |
|
4,00´2,00 |
5,50 6,00 |
6977,6 (711,51) 8223,6 (838,56) | |
|
9 |
5,00´1,02 |
4,50 5,00 |
2500,3 (254,96) 3029,8 (308,96) |
|
5,50´1,02 |
4,50 5,00 |
3239,6 (330,34) 3924,9 (400,22) | |
|
5,00´1,50 |
5,00 5,50 |
4049,5 (412,93) 4828,3 (492,34) | |
|
6,50´1,50 |
5,00 5,50 |
5264,4 (536,81) 6277,6 (640,04) | |
|
5,00´2,00 |
5,50 6,00 |
5918,6 (603,51) 6956,8 (709,39) |
СОДЕРЖАНИЕ
|
1. Типы, основные параметры и размеры.. 2 2. Технические требования. 7 3. Правила приемки. 9 4. Методы контроля и испытания. 9 5. Маркировка, хранение и транспортирование. 11 Приложение Указания по выбору параметров опоры дорожных знаков. 11 |