Нормативные документы размещены исключительно с целью ознакомления учащихся ВУЗов, техникумов и училищ.
Объявления:

ГОСУДАРСТВЕННЫЙ СТАНДАРТ СОЮЗА ССР

ОКНА И БАЛКОННЫЕ ДВЕРИ ДЕРЕВЯННЫЕ

МЕТОДЫ МЕХАНИЧЕСКИХ ИСПЫТАНИЙ

ГОСТ 24033-80

 

ГОСУДАРСТВЕННЫЙ СТРОИТЕЛЬНЫЙ КОМИТЕТ СССР

Москва

 

 

ГОСУДАРСТВЕННЫЙ СТАНДАРТ СОЮЗА ССР

ОКНА И БАЛКОННЫЕ ДВЕРИ ДЕРЕВЯННЫЕ

Методы механических испытаний

Windows and balcony doors of wood.
Methods of mechanical tests

ГОСТ
24033-80

Постановлением Государственного комитета СССР по делам строительства от 4 декабря 1979 г. № 233 срок введения установлен

с 01.01.81

Настоящий стандарт распространяется на деревянные окна и балконные двери для жилых, общественных, производственных и вспомогательных зданий и помещений и устанавливает методы механических испытаний на:

надежность;

сопротивление статической нагрузке, действующей в плоскости створки;

сопротивление статической нагрузке, действующей перпендикулярно плоскости створки;

сопротивление статической нагрузке, действующей на запорные приборы и ручки.

Стандарт не распространяется на раздвижные и подъемные окна.

Стандарт применяется при приемочных, доводочных и исследовательских испытаниях.

1. ПОДГОТОВКА ОБРАЗЦОВ

1.1. Образцы - окно или балконная дверь (в дальнейшем - дверь) должны быть изготовлены в соответствии с действующими государственными стандартами на изделия или другой нормативно-технической документацией, утвержденной в установленном порядке.

Образцы для исследовательских испытаний изготовляют в зависимости от целей и задач исследований.

1.2. Количество образцов принимают:

для приемочных испытаний - не менее 3;

для доводочных испытаний - не менее 10.

Количество образцов для исследовательских испытаний должно обеспечивать необходимую достоверность результатов.

За образец принимается изделие, имеющее в коробке одну одинарную или одну спаренную створку.

В дальнейшем под створкой понимается также фрамуга, форточка, клапан и дверная створка.

1.3. Направляемые на испытания образцы сопровождают паспортом по форме, приведенной в обязательном приложении 1.

1.4. Поступившие на испытания образцы предварительно выдерживают в течение 48 ч в помещении, температура воздуха в котором не ниже 16 °С и относительная влажность не выше 65 %.

1.5. После выдержки образцы проверяют на соответствие государственным стандартам или другой нормативно-технической документации, указанной в паспорте.

2. МЕТОДЫ ИСПЫТАНИЙ

2.1. Метод испытания на надежность

2.1.1. Сущность метода

2.1.1.1. Испытание окна или двери на начальную безотказность и до первого отказа при многократном открывании и закрывании с заданной скоростью.

2.1.1.2. Испытание на начальную безотказность состоит в работе без отказов в течение контрольной (заданной) наработки Т циклов.

2.1.1.3. Испытание до первого отказа состоит в определении наработки Т¢ циклов, вызывающей отказ.

2.1.1.4. Под отказом понимают возникновение повреждений, нарушающих работоспособность окна или двери, таких как отрыв, смещение или изгиб петель, смещение деталей в угловых соединениях, разрушение стекла.

2.1.2. Аппаратура

2.1.2.1. Испытательная машина, обеспечивающая воспроизведение необходимого количества циклов открывания створки на определенный угол и закрывания ее с задаваемой постоянной скоростью, снабженная счетчиком циклов (рекомендуемое приложение 2; испытательная машина 1).

2.1.2.2. Штангенциркуль с пределами измерения от 0 до 160 мм и погрешностью не более 0,1 мм по ГОСТ 166-80.

2.1.2.3. Измерительное устройство с пределами измерений от 400 до 2000 мм и погрешностью не более 0,5 мм.

2.1.3. Подготовка к испытанию

2.1.3.1. Образец устанавливают в испытательную машину. Коробку закрепляют неподвижно.

2.1.3.2. Проверяют движение створки. При открывании и закрывании кромки створки не должны соприкасаться с поверхностями коробки.

2.1.3.3. Производят настройку машины на параметры испытания.

2.1.4. Проведение испытания

2.1.4.1. Створку поворачивают на угол a = 60°.

2.1.4.2. Измеряют в мм первоначальные размеры диагоналей а0, b0 с погрешностью не более 0,5 мм и зазора между створкой и коробкой s0 с погрешностью не более 0,1 мм (черт. 1).

Диагонали измеряют по углам фальцев.

Для измерения зазора закрепляют на створке или коробке упор, служащий для крепления штангенциркуля при начале отсчета зазора, которым может служить мебельная или подобная ей металлическая скоба. Упор должен возвышаться не более чем на 2 мм.

 

Измерение зазора s0 (s)

Черт. 1.

2.1.4.3. Включают рабочий ход машины.

Скорость движения свободной кромки створки должна быть от 0,1 до 0,5 м/с, в зависимости от ширины створки.

2.1.4.4. В каждом образце испытывают поочередно все створки.

Спаренные створки испытывают в соединенном состоянии (наружная и внутренняя вместе).

2.1.4.5. При приемочных испытаниях каждую створку испытывают на начальную безотказность контрольной наработкой Т циклов, в зависимости от условий эксплуатации створок при открывании:

постоянном - 1000;

эпизодическом - 300.

2.1.4.6. По окончании испытания производят осмотр образца с целью обнаружения повреждений. Поворачивают створку в первоначальную позицию - на заданный угол a и измеряют диагонали а, b и зазор s.

2.1.4.7. В случае возникновения отказа наработку Т' определяют по счетчику циклов машины.

2.1.4.8. При доводочных и исследовательских испытаниях каждую створку испытывают, как указано в пп. 2.1.4.1 - 2.1.4.7, а затем, если это предусмотрено программой работ, определенное их количество, но не менее 3 створок подвергают дополнительному испытанию до первого отказа.

Наработку Т' определяют по счетчику циклов машины.

Допускаются дополнения испытания, не противоречащие сущности метода, предусмотренные программой работ.

2.1.5. Обработка, оценка и оформление результатов

2.1.5.1. Вычисляют изменения величин диагоналей Dа, Db и зазора Ds по формулам:

Dа = а - a0; Db = b - b0; Ds = s - s0

Изменения диагоналей выражают в процентах от их первоначального размера.

2.1.5.2. После контрольной наработки образцы не должны иметь повреждений и изменений диагоналей Dа, Db; изменение зазора - Ds не должно превышать 0,5 мм на 1 м длины стороны створки.

Наработка, вызвавшая отказ, для каждой створки должна быть T' > 3T.

2.1.5.3. Результаты испытания заносят в отчет.

Отчет о доводочных и исследовательских испытаниях должен содержать также анализ результатов (в том числе статистических показателей исследовательских испытаний), выводы и рекомендации.

2.2. Метод испытания на сопротивление статической нагрузке, действующей в плоскости створки

2.2.1. Сущность метода

2.2.1.1. Испытание окна или двери на сопротивление статической сосредоточенной нагрузке, действующей в плоскости открытой створки и возрастающей до контрольной Рп или предельной Р'п величины.

2.2.1.2. Испытание нагрузкой, возрастающей до контрольной величины, состоит в проверке способности образца сопротивляться нагрузке заданной величины Рп без разрушений и недопустимых изменений формы.

2.2.1.3. Испытание образца нагрузкой, возрастающей до предельной величины, состоит в определении величины нагрузки Р'п, вызывающей отрыв, смещение или изгиб петель, смещение деталей в угловых соединениях или разрушение стекла.

2.2.2. Аппаратура

2.2.2.1. Испытательная машина, позволяющая осуществить закрепление образца и статическое нагружение створки по схемам черт. 2 и в соответствии с п. 2.2.1, с погрешностью измерения нагрузки не более 2 % (см. рекомендуемое приложение 2; испытательная машина 1).

2.2.2.2. Измерительные устройства - по пп. 2.1.2.2 и 2.1.2.3.

2.2.3. Подготовка к испытанию

2.2.3.1. К испытанию подготовляют образцы, выдержавшие испытания в соответствии с требованиями, предусмотренными пп. 2.1.4.1-2.1.4.6.

2.2.3.2. Образец устанавливают в испытательную машину. Коробку закрепляют неподвижно.

Спаренные створки разъединяют, не снимая с петель.

2.2.3.3. Створку поворачивают:

с накладными петлями - на угол b1 =30°;

с врезными, тормозными и пятниковыми петлями - на угол b2 = 90°.

2.2.4. Проведение испытания

2.2.4.1. Измеряют первоначальные величины диагоналей ao, bo и зазора s0 - по п. 2.1.4.2.

2.2.4.2. Производят нагружение створок, как указано на черт. 2, при скорости перемещения нагружающего устройства 40 мм/мин.

Поочередно испытывают все створки каждого окна или двери.

У изделий спаренной конструкции сначала нагружают наружную створку, а затем внутреннюю.

2.2.4.3. При приемочных испытаниях образцы нагружают контрольной нагрузкой Рп (черт. 2), удерживаемой 1 мин.

Нагрузка Рп указана в кгс (9,81 Н).

Черт. 2

В процессе нагружения наблюдают за состоянием образцов.

При появлении разрушений, нарушающих сопротивление образцов, о чем свидетельствует устойчивое движение стрелки силоизмерителя в обратную сторону, испытание прекращают. Разрушающую, предельную нагрузку P'п фиксируют по наибольшему отклонению стрелки силоизмерителя.

2.2.4.4. Нагрузку снимают. Измеряют диагонали а, b и зазор s.

Створка должна находиться в первоначальной позиции - повернутой на заданный угол b1 или b2.

2.2.4.5. При доводочных и исследовательских испытаниях образцы испытывают контрольной нагрузкой, как указано в пп. 2.2.4.1-2.2.4.4.

Образцы в количестве не менее 5 шт., выдержавшие контрольную нагрузку, испытывают до предельного состояния. Предельную нагрузку определяют, как указано в п. 2.2.4.3.

Допускаются дополнения испытания, не противоречащие сущности метода, предусмотренные программой работ.

2.2.5. Обработка, оценка и оформление результатов

2.2.5.1. Вычисления выполняют, как указано в п. 2.1.5.1. Результаты исследовательских испытаний должны подвергаться статистической обработке.

2.2.5.2. После контрольного нагружения образцы не должны иметь разрушений. Изменения диагоналей Dа, Db не должны превышать ±0,1 %, а зазора Ds + 0,5 мм на 1 м длины стороны створки.

Величина предельной нагрузки, полученная на каждой створке, должна быть:

Рп' ³ 1,5 Рп - оконные и дверные створки одинарные и внутренние (от спаренных) любой навески;

Рп' ³ 1,2 Рп - все прочие створки.

2.2.5.3. Оформление результатов по п. 2.1.5.3.

2.3. Метод испытания на сопротивление статической нагрузке, действующей перпендикулярно плоскости створки

2.3.1. Сущность метода

2.3.1.1. Испытание окна или двери на сопротивление статической сосредоточенной нагрузке, действующей перпендикулярно плоскости створки в заданной точке в сторону открывания и возрастающей до контрольной Ри или предельной Ри' величины.

2.3.1.2. Испытание нагрузкой, возрастающей до контрольной величины, состоит в проверке способности образца сопротивляться нагрузке заданной величины Ри без разрушений и недопустимых изменений формы.

2.3.1.3. Испытание нагрузкой, возрастающей до предельной величины, состоит в определении величины нагрузки Ри', вызывающей разрушение стекла, угловых соединений, деталей.

2.3.2. Аппаратура

2.3.2.1. Испытательная машина, позволяющая осуществить закрепление окна или двери и статическое нагружение по схемам черт. 3 и в соответствии с п. 2.3.1, с погрешностью измерения нагрузки не более 2 % (см. рекомендуемое приложение 2; испытательная машина 2).

2.3.2.2. Измерительное устройство линейных перемещений створки с пределами измерения от 0 до 700 мм и погрешностью не более 0,5 мм.

2.3.3. Подготовка к испытанию

2.3.3.1. К испытанию подготовляют образцы, выдержавшие испытания в соответствии с требованиями, предусмотренными пп. 2.2.4.1 - 2.2.4.4. Форточки и клапаны не испытывают.

2.3.3.2. Образец устанавливают в испытательную машину. Коробку закрепляют неподвижно.

У окон и дверей раздельной конструкции наружную и внутреннюю коробки со створками подвергают испытанию отдельно.

2.3.3.3. Запорные приборы освобождают. Угол створки прижимают (см. черт. 3) с силой не менее Z=1,2 Ри', где Ри' - ожидаемая предельная нагрузка.

Опора прижима должна быть сферической формы с радиусом закругления 60 мм.

2.3.4. Проведение испытания

2.3.4.1. На измерителе перемещений отмечают нулевое положение угла створки fo (см. черт. 3).

Нагрузка Ри указана в кгс (9,81 Н),

а, б - окно и дверь с поворотом створок вокруг вертикальной крайней оси; в - окно с поворотом створки вокруг верхней крайней оси; г - окно с поворотом створки вокруг нижней крайней оси; д - окно с поворотом створки вокруг горизонтальной средней оси; е - окно с поворотом створки вокруг вертикальной средней оси.

Черт. 3

2.3.4.2. Производят нагружение створки в точках, указанных на черт. 3, в направлении открывания при скорости перемещения нагружающего устройства 40 мм/мин.

Поочередно испытывают все створки.

Спаренные створки испытывают сначала в соединенном состоянии, а затем их свободные стороны разъединяют и нагружают внутреннюю створку.

2.3.4.3. При приемочных испытаниях образцы нагружают контрольной нагрузкой Ри (см. черт. 3), удерживаемой 1 мин. Далее испытание проводят, как указано в п. 2.2.4.3.

2.3.4.4. Нагрузку снимают и через 5 мин, не освобождая прижима, на измерителе перемещений делают отметку, соответствующую положению угла створки после испытания f.

2.3.4.5. При доводочных и исследовательских испытаниях образцы испытывают, как указано в пп. 2.3.4.1-2.3.4.4. Далее испытания проводят, как указано в п. 2.2.4.5.

2.3.5. Обработка, оценка и оформление результатов

2.3.5.1. Вычисляют величину остаточного перемещения угла створки по формуле

и выражают ее в процентах от ширины створки.

Результаты исследовательских испытаний должны подвергаться статистической обработке.

2.3.5.2. После контрольного нагружения образцы не должны иметь разрушений, а остаточное перемещение Df не должно превышать 0,5 %.

Величина предельной нагрузки, полученная на каждой створке, должна быть

Ри' = 1,3 Ри.

2.3.5.3. Оформление результатов - по п. 2.1.5.3.

2.4. Метод испытания на сопротивление статической нагрузке, действующей на запорные приборы и ручки

2.4.1. Сущность метода

2.4.1.1. Испытание окна или двери на сопротивление статической сосредоточенной нагрузке, действующей на запорные приборы и ручки, находящиеся в рабочем положении, в сторону открывания створки и возрастающей до контрольной Рз или предельной Р¢з величины.

2.4.1.2. Испытание нагрузкой, возрастающей до контрольной величины, состоит в проверке способности сопротивляться нагрузке заданной величины Рз без разрушений.

2.4.1.3. Испытание нагрузкой, возрастающей до предельной величины, состоит в определении величины нагрузки Р¢з, вызывающей отрыв или смещение запорного прибора, ручки или разрушение материалов в зоне их расположения.

2.4.2. Аппаратура

2.4.2.1. Испытательная машина, позволяющая осуществить закрепление окна или двери и статическое нагружение по схемам черт. 4 и в соответствии с п. 2.4.1, с погрешностью измерения нагрузки не более 2 % (см. рекомендуемое приложение 2; испытательная машина 2).

2.4.3. Подготовка к испытанию

2.4.3.1. Образец устанавливают в испытательную машину. Коробку закрепляют неподвижно.

Запорные приборы устанавливают в рабочее положение.

Нагрузка Рз указана в кгс (9,81 Н).

Черт. 4

При наличии разрушений, кроме зоны запорных приборов и ручек вызванных предыдущими испытаниями, допускается произвести дополнительные закрепления, фиксирующие створку.

2.4.4. Проведение испытания

2.4.4.1. К каждому запорному прибору и ручке, кроме стяжек, поочередно прикладывают нагрузку в сторону открывания створки, возрастающую при скорости перемещения нагружающего устройства 4 мм/мин.

Испытывают запорные приборы и ручки на каждой створке.

Спаренные створки испытывают в соединенном состоянии.

2.4.4.2. При приемочных испытаниях образцы нагружают контрольной нагрузкой Рз (черт. 4), удерживаемой 1 мин.

Далее условия проведения испытания - по п. 2.2.4.3.

2.4.4.3. Нагрузку снимают. Производят осмотр образцов с целью выявления возможных разрушений. Проверяют работу приборов, выводя их из рабочего положения и устанавливая в рабочее положение вручную, без применения вспомогательных средств.

2.4.4.4. При доводочных и исследовательских испытаниях образцы испытывают, как указано в пп. 2.4.4.1-2.4.4.3.

Далее испытание проводят, как указано в п. 2.2.4.5.

2.4.5. Обработка, оценка и оформление результатов

2.4.5.1. Результаты исследовательских испытаний должны подвергаться статистической обработке.

2.4.5.2. После контрольного нагружения образцы не должны иметь разрушений.

Величина предельной нагрузки, полученная на каждом запорном приборе или ручке, должна быть

Р3' > 1,4 Р3.

2.4.5.3. Оформление результатов - по п. 2.1.5.3.

ПРИЛОЖЕНИЕ 1

Обязательное

ПАСПОРТ ИЗДЕЛИЙ, НАПРАВЛЯЕМЫХ НА ИСПЫТАНИЯ

Наименование министерства (ведомства) ____________________________________

Наименование и адрес организации - автора конструкции ______________________

________________________________________________________________________

Наименование и адрес завода-изготовителя___________________________________

Наименование, марка изделия и техническая документация (ГОСТ, ОСТ и пр.)

________________________________________________________________________

Количество образцов каждого типоразмера ___________________________________

Дата изготовления ________________________________________________________

Дата отправления _________________________________________________________

Подпись руководителя предприятия, организации _____________________________

Примечание. Техническая документация (за исключением государственных стандартов) прилагается к паспорту.

 

 

ПРИЛОЖЕНИЕ 2

Рекомендуемое

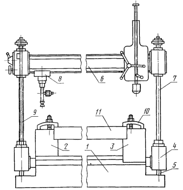
ОБОРУДОВАНИЕ ДЛЯ МЕХАНИЧЕСКИХ ИСПЫТАНИЙ ОКОН Испытательная машина 1 (конструкции ВНИИдрева)

Машина (черт. 1) предназначена для испытаний на надежность окон и балконных дверей и на сопротивление нагрузке, действующей в плоскости створки

Окно или дверь помещают между стойками машины, неподвижной и подвижной, перемещаемой приводом при настройке на ширину окна или двери. Коробку закрепляют на стойках. Открывание и закрывание створки производится рычагами - толкателями, поворот которых осуществляется с помощью гидропривода. Скорость движения толкателей регулируется. Число циклов (открывание - закрывание) фиксируется счетчиком. Управление работой машины - с пульта. Вертикальное нагружение створки производится с помощью нагружающего устройства. Привод электрический.

Техническая характеристика

Габаритные размеры, мм:

ширина ...................................... 4140

длина ......................................... 4000

высота ....................................... 3970

Масса, кг .......................................... 3400

Установленная мощность, кВт ...... 5,5

Скорость движения толкателей рад/с ... 0,1-2,0

Максимальная величина статической нагрузки, кгс 150

 

1 - стойка; 2 - испытуемое изделие; 3 - привод; 4 - рычаги-толкатели; 5 - гидробак; 6 - счетчик оборотов; 7 - пульт управления; 8 - нагружающее устройство, 9 - стопорное устройство.

Черт. 1

Испытательная машина 2 (конструкции ВНИИдрева)

Машина (черт 2) предназначена для испытания на сопротивление окон и балконных дверей нагрузке, действующей перпендикулярно плоскости створки, в том числе на запорные приборы и ручки.

Окно или дверь помещают на опоры машины: неподвижную и подвижную, перемещаемую при настройке на ширину окна или двери. Коробку закрепляют на опорах. Настройка нагружающего устройства на заданную зону изделия производится путем перемещения каретки с траверсой по направляющим, а нагружающего устройства с силоизмерителем - по траверсе Нагружение и разгружение осуществляется при перемещении траверсы по колонкам.

Управление всеми перемещениями - с пульта. Привод электромеханический.

Техническая характеристика

Габаритные размеры, мм:

ширина ................................................................ 4105

длина ................................................................... 4630

высота ................................................................. 2915

Масса, кг ................................................................. 5400

Установленная мощность, кВт ............................. 4,1

Максимальная статическая нагрузка, кгс ............ 1000

Скорость перемещения нагружающего устройства, мм/мин .... 40 и 120

Скорость перемещения каретки, м/с .................... 0,15

Скорость перемещения опоры, м/с ...................... 0,04

1 - основание машины; 2 - неподвижная опора; 3 - подвижная опора; 4 - каретка; 5 - направляющая каретки; 6 - траверса; 7 - колонка для перемещения траверсы; 8 - датчик сил; 9 - измеритель перемещений; 10 - прижимы; 11 - испытуемое изделие

Черт. 2

2008-2013. ГОСТы, СНиПы, СанПиНы - Нормативные документы - стандарты.