Нормативные документы размещены исключительно с целью ознакомления учащихся ВУЗов, техникумов и училищ.
Объявления:

ГОСУДАРСТВЕННЫЙ СТАНДАРТ СОЮЗА ССР

ОКНА И БАЛКОННЫЕ ДВЕРИ ДЕРЕВЯННЫЕ

 СО СТЕКЛОПАКЕТАМИ И СТЕКЛАМИ                      ГОСТ

ДЛЯ ЖИЛЫХ И ОБЩЕСТВЕННЫХ ЗДАНИЙ            24699-81

 Типы, конструкция и размеры

Wooden windows and balcony doors with double glazing units

and additional glasses for dwelling and public buildings.

Types, structure and dimensions

Дата введения 01.01.84

Настоящий стандарт распространяется на деревянные окна и балконные двери со стеклопакетами и стеклами, предназначаемые для жилых и общественных зданий, а также для вспомогательных зданий и помещений предприятий различных отраслей народного хозяйства.

1. ТИПЫ, РАЗМЕРЫ И МАРКИ

1.1. Окна и балконные двери по настоящему стандарту изготовляют, с однокамерными клееными стеклопакетами во внутренних и стеклами в наружных створках.

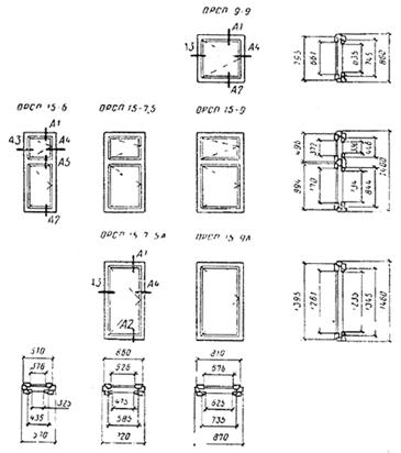
1.2. Габаритные размеры окон и балконных дверей и размеры проемов для них должны соответствовать: для жилых зданий — указанным на черт. 1 и в приложении 1; для общественных зданий — указанным на черт. 2 и в приложении 2.

Окна и балконные двери, приведенные на черт. 1, могут применяться и для общественных зданий.

1.3. Заполнение оконных проемов общественных зданий шириной 1,8 М (модуль М = 100 мм) и более следует осуществлять, набором окон, приведенных на черт. 2.

1.4. По требованию потребителей одностворные окна и балконные двери, в т. ч: с форточными створками и фрамугами должны изготовляться также и левыми, а многостворные окна с несимметричным рисунком — в негативном (зеркальном) изображении.

1.5. Устанавливают следующую структуру условного обозначения марки) окон и балконных дверей:

Примеры условных обозначений (марок)

Окно правое серии РСП для проема высотой 15 и шириной 9 дм:

ОРСП15—9 ГОСТ 24699-81

То же, левое:         ОРСП15— 9Л ГОСТ 24699-81

Дверь балконная правая серии РСП для проема высотой 22 и шириной 9 дм:

БРСП22—9 ГОСТ 24699-81

Окно серии РСП для проема высотой 18 и шириной 15 дм, с несимметричным рисунком (вариант А):

ОРСП18—15А ГОСТ 24699-81

То же. в негативном (зеркальном) исполнении:

ОРСП18—15АН ГОСТ 24699-81

Габаритные размеры окон и балконных дверей жилых зданий

Окна

Балконные двери

Примечания:

1. Схемы изделий изображены со стороны фасада.

2. Цифры над схемами изделий означают размеры проемов в модулях.

3. Окна талов 15—12; 15—13,5; 15—15; 15—18 и 15—21 — с клапанами.

Черт. 1

Габаритные размеры окон и балконных дверей общественных зданий

Окна

Балконные двери

Примечания:

1. Схемы изделий изображены со стороны фасада.

2. Цифры над схемами изделий означают размеры проемов в модулях.

Черт. 2

2. ТРЕБОВАНИЯ К КОНСТРУКЦИИ

2.1. Окна и балконные двери должны изготовляться в соответствии с требованиями ГОСТ 23166 и настоящего стандарта по рабочим чертежам, утвержденным в установленном порядке.

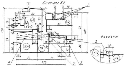
2.2. Конструкция, форма, основные размеры и марки окон и балконных дверей для жилых зданий должны соответствовать указанным на черт. 3—5, размеры сечений деталей — на черт. 6—18; для общественных зданий — на черт. 19—21, а размеры сечений деталей — на черт. 22—29.

2.3. Размеры окон и балконных дверей на черт. 1—5 и 19—21 указаны по наружным сторонам коробок, в свету, и по наружным сторонам створок, фрамуг, клапанов и полотен.

На чертежах, приведенных в настоящем стандарте, указаны размеры неокрашенных деталей и изделий в миллиметрах.

2.4. Для отвода дождевой воды сверлят отверстия диаметром 10 мм, которые должны располагаться в нижних брусках коробок и горизонтальных импостах под створками и фрамугами на расстоянии 50 мм от вертикальных брусков коробок и импостов, а под клапанами — одно отверстие посередине.

Конструкция, форма, основные размеры и марки окон и балконных дверей жилых зданий

Черт. 3

2.5. Внутренние створки окон высотой более 1350 мм при ширине более 600 мм, а также высотой более 1000 мм при ширине более 850 мм должны быть навешены на 3 петли.

Примеры расположения приборов в окнах и балконных дверях приведены в приложении 3.

2.6. Для остекления внутренних створок окон и балконных дверей применяют клееные однокамерные стеклопакеты по действующей НТД.

2.7. Для остекления наружных створок окон и балконных дверей следует применять оконное стекло по ГОСТ III толщиной: для жилых зданий 2,5 — 3 мм, для общественных зданий 3 — 4 мм.

Толщину стекла уточняют в проекте с учетом ветровых нагрузок в районе строительства.

2.8. Последовательность выполнения операций при монтаже стеклопакетов и схемы расположения опорных, распорных и боковых прокладок, устанавливаемых по периметру стеклопакетов, приведены в приложениях 4 и 5.

Монтаж стеклопакетов и выбор материалов для прокладок следует выполнять в соответствии с инструкцией по применению, монтажу и эксплуатации стеклопакетов в гражданском строительстве.

2.9. Места прикрепления уплотняющих пенополиуретановых прокладок в притворах окон и балконных дверей указаны на чертежах сечений деталей.

2.10. Приклеивание облицовок к каркасу клапана должно выполняться на клеях средней водостойкости (карбамидном, поливинилацетатном и т.п.). Наружные клапаны должны изготовляться из цельной древесины.

2.11. Клапаны могут быть оснащены пластмассовой сеткой и жалюзийной решеткой, в этом случае отливы на клапанах не применяют.

2.12. Клеи и мастики, используемые при изготовлении окон, должны быть разрешены к применению в установленном порядке.

2.13. Ручка-упор для клапана, фрамужный соединитель и спецификации стеклопакетов и стекол для окон и балконных дверей жилых и общественных зданий приведены в приложениях 6 — 9.

Черт. 4

Черт. 5

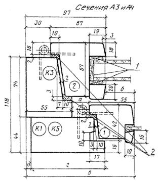
Сечения по притворам окон и балконных дверей жилых зданий

1 — уплотняющие прокладки по ГОСТ 10174

Черт. 6

1 — опорные, распорные и боковые прокладки; 2 — рейка, допускается приклеивание рейки с дополнительным креплением шурупами; 3 — уплотняющие прокладки по ГОСТ 10174; 4 — отверстие диаметром 10 мм для отвода воды (см. п. 2.4)

Черт. 7

1 — опорные, распорные и боковые прокладки; 2 ¾ уплотняющие прокладки по ГОСТ 10174

Сечение

а

б

в

г

д

Деталь

A3

20

33

130

90

6

K5

А4

5

18

115

74

7

К1

Черт. 8

1 — опорные, распорные и боковые прокладки; 2 — рейка, допускается приклеивание рейки с дополнительным креплением шурупами (см черт. 7. вариант); 3 — уплотняющие прокладки по ГОСТ 10174; 4 — отверстие диаметром 10 мм для отвода воды (см. п. 2.4)

Черт. 9

Сечение

а

б

в

Деталь

А6

20

70

122

К8; K10

А12

10

60

112

К9; K11

1 — уплотняющие прокладки по ГОСТ 10174

Черт. 10

1 — уплотняющие прокладки по ГОСТ 10174; 2 сетка; 3 — жалюзийная решетка

Сечение

а

б

в

Деталь

А7

5

18

122

K10

А13

20

33

137

K12

Черт. 11

1 — уплотняющие прокладки по ГОСТ 10174; 2 — мягкая ДВП толщиной 12 мм, 4 слоя, по ГОСТ 4698 (вариант: допускается заполнение полужесткими минераловатными плитами на синтетическом связующем по ГОСТ 9573); 3 — твердая ДВП толщиной 3,2 мм по ГОСТ 4598 марки Т группы А

Черт. 12

1 — уплотняющие прокладки по ГОСТ 10174

Черт. 13

1 — уплотняющие прокладки по ГОСТ 10174

Черт. 14

1 — уплотняющие прокладки по ГОСТ 10174

Черт. 15

Сечение

а

б

в

Деталь

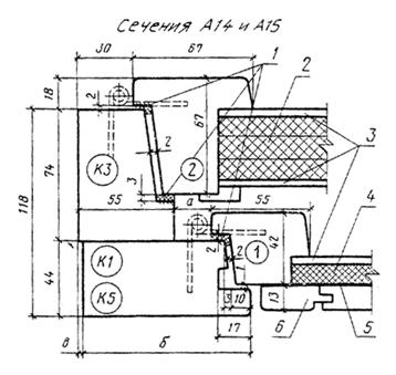
А14

20

90

6

К5

А15

5

74

7

К1

1 — уплотняющие прокладки по ГОСТ 10174; 2 — мягкая ДВП толщиной 12 мм, 3 слоя, по ГОСТ 4598-74 (вариант: допускается заполнение минераловатными полужесткими плитами на синтетическом связующем по ГОСТ 9573); 3 — твердая ДВП марки Т группы А толщиной 3,2 мм по ГОСТ 4598; 4 — мягкая ДВП толщиной 12 мм по ГОСТ 4398; 5 — пергамин по ГОСТ 2697; 6 — обшивка типа О-2 по ГОСТ 8242

Черт. 16

1 — раскладка

Черт. 17

Черт. 18

Конструкция, форма, основные размеры и марки окон и балконных дверей общественных зданий

Черт. 19

Черт. 20

Черт. 21

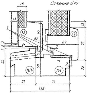
Сечения по притворам окон и балконных дверей общественных зданий

1 — уплотняющие прокладки по ГОСТ 10174

Черт. 22

1 — опорные, распорные и боковые прокладки; 2 — рейка, допускается приклеивание рейки с дополнительным креплением шурупами; 3 — уплотняющие прокладки по ГОСТ 10174; 4 — отверстие диаметром 10 мм для отвода воды (см. п. 2.4)

Черт. 23

Сечение

а

б

в

г

д

Деталь

Б3

20

38

140

90

6

K15

Б4

5

23

125

74

7

K14

1 — опорные, распорные и боковые прокладки; 2 уплотняющие прокладки по ГОСТ 10174

Черт. 24

1 — опорные, распорные и боковые прокладки; 2 — рейка, допускается приклеивание рейки с дополнительным креплением шурупами (см. черт. 23, вариант); 4 — отверстие диаметром 10 мм для отвода воды (см, п. 2.4)

Черт. 25

1 — уплотняющие прокладки по ГОСТ 10174

Черт. 26

Сечение

а

б

в

Деталь

Б7

20

90

6

K15

Б8

5

74

7

K14

1 — мягкая ДВП толщиной 12 мм, 3 слоя по ГОСТ 4598 (вариант: допускается заполнение полужесткими минераловатными плитами на синтетическом связующем по ГОСТ 9573); 2 — твердая ДВП марки группы А толщиной 3,2 мм по ГОСТ 4598; 3 — мягкая ДВП толщиной 12 мм по ГОСТ 4598; 4 — пергамин по ГОСТ 2897; 5 — обшивка типа О-2 по ГОСТ 8242; 6 — уплотняющие прокладка по ГОСТ 10174

Черт. 27

Черт. 28

1 — уплотняющие прокладки по ГОСТ 10174

Черт. 29

ПРИЛОЖЕНИЕ 1

Справочное

ГАБАРИТЫ ПРОЕМОВ ОКОН И БАЛКОННЫХ ДВЕРЕЙ В НАРУЖНЫХ СТЕНАХ ЖИЛЫХ ЗДАНИЙ

Примечание. Размеры ширины проемов указаны для стен из панелей и модульного кирпича.

ПРИЛОЖЕНИЕ 2

Справочное

ГАБАРИТЫ ПРОЕМОВ ОКОН И БАЛКОННЫХ ДВЕРЕЙ В НАРУЖНЫХ СТЕНАХ ОБЩЕСТВЕННЫХ ЗДАНИЙ

Примечание. Размеры ширины проемов указаны для стен из панелей и модульного кирпича.

ПРИЛОЖЕНИЕ 3

Рекомендуемое

РАСПОЛОЖЕНИЕ ПРИБОРОВ В ОКНАХ И БАЛКОННЫХ ДВЕРЯХ (примеры)

1 — завертка ЗР2—1, ЗР2—2 для наружных створок со съемной ручкой и накладкой; 2 — ограничитель для фрамуг; 3 — ручка PC-80; 4 — ПВ4—90—1; 5 — ПФ2; 6 — ПВ4—90—2; 7пв2—200¾1; 8 — ПВ4—60¾1; 9пв4—90—2

Примечания:

1. Приборы для окон и дверей должны соответствовать ГОСТ 538, ГОСТ 5087, ГОСТ 5088, ГОСТ 5089, ГОСТ 5090 и ГОСТ 5091.

2. Завертки показаны в открытом положении.

3. Ручки РС80 устанавливают на наружное полотно со стороны балкона.

4. Фрамужный прибор ПФ2 показан условно.

5. Угольники устанавливают в соответствии с п. 2.13 ГОСТ 23166.

6. При ширине фрамуг более 830 мм устанавливают два ограничителя для фрамуг.

ПРИЛОЖЕНИЕ 4

Справочное

ПОСЛЕДОВАТЕЛЬНОСТЬ ВЫПОЛНЕНИЯ ОПЕРАЦИЙ ПРИ МОНТАЖЕ СТЕКЛОПАКЕТОВ

а — наклеить боковые прокладки;

б — установить стеклопакет, опорные и распорные прокладки;

в — нанести пистолетом слой нетвердеющей герметизирующей мастики вдоль торцов стеклопакета;

г — установить боковые прокладки и штапики;

д — зазоры уплотнить мастикой

1 — боковая прокладка; 2 переплет; 3 — опорная или распорная прокладка; 4 — стеклопакет; 5 — пистолет; 6 — штапик

ПРИЛОЖЕНИЕ 5

Справочное

РАСПОЛОЖЕНИЕ ОПОРНЫХ, РАСПОРНЫХ И БОКОВЫХ ПРОКЛАДОК, УСТАНАВЛИВАЕМЫХ ПО ПЕРИМЕТРУ СТЕКЛОПАКЕТОВ

а) Опорные и распорные прокладки

1 — распорная прокладка 5´В´50 (В — толщина стеклопакета): 2 — опорная прокладка 5´В´100 (В — толщина стеклопакета)

б) Боковые прокладки (4´15´50) мм

Примечания:

1. Боковые прокладки устанавливаются симметрично с обеих сторон стеклопакетов.

2. Опорные, распорные и боковые прокладки должны изготовляться из древесины твердолиственных пород, пропитанных гидрофобным составом, или из полимера «Агат».

ПРИЛОЖЕНИЕ 6

Справочное

РУЧКА-УПОР ДЛЯ КЛАПАНА

Вариант 1

Вариант 2

Шурупы 1—3´25 по ГОСТ 1145 (2 шт.)

ПРИЛОЖЕНИЕ 7

Справочное

ФРАМУЖНЫЙ СОЕДИНИТЕЛЬ

1 — ограничитель; 2— соединитель

ПРИЛОЖЕНИЕ 8

Справочное

СПЕЦИФИКАЦИЯ СТЕКЛОПАКЕТОВ И СТЕКОЛ ДЛЯ ОКОН И БАЛКОННЫХ ДВЕРЕЙ ЖИЛЫХ ЗДАНИЙ

Марка

Размер, мм

 

Стеклопакет

Стекло

 

Высота

Ширина

Кол.

Высота

Ширина

Кол.

ОРСП9—9

 

700

1

 

640

1

ОРСП9—12

690

440

 

650

375

 

ОРСП9¾13,5

 

510

2

 

450

2

ОРСП9—15

 

590

 

 

525

 

ОРСП15—6

400

400

 

350

340

 

 

800

 

 

750

 

 

ОРСП15—7,5

400

550

 

350

490

 

 

800

 

 

750

 

 

ОРСП15¾9

400

700

1

350

640

1

 

800

 

 

750

 

 

ОРСП15—12

 

780

 

 

720

 

ОРСП15¾13,5

 

930

 

 

870

 

ОРСП15—15

 

1080

 

 

1020

 

ОРСП15—18

 

630

2

1250

565

2

ОРСП15—21

1290

780

 

 

720

 

ОРСП15—7,5A

 

550

 

 

490

 

ОРСП15—9A

 

700

1

 

640

1

БРСП22—7,5

 

550

 

1240

490

 

БРСП22—9

 

700

 

 

640

 

ПРИЛОЖЕНИЕ 9

Справочное

СПЕЦИФИКАЦИЯ СТЕКЛОПАКЕТОВ И СТЕКОЛ ДЛЯ ОКОН И БАЛКОННЫХ ДВЕРЕЙ ОБЩЕСТВЕННЫХ ЗДАНИЙ

Марка

Размер, мм

 

Стеклопакет

Стекло

 

Высота

Ширина

Кол.

высота

Ширина

Кол.

ОРСП12—9

 

690

 

 

620

 

ОРСП12—12

 

990

 

 

920

 

ОРСП12—13,5

980

1140

 

930

1070

 

ОРСП12¾15

 

690

 

 

620

 

 

 

460

 

 

390

 

ОРСП18—9

400

690

 

340

620

 

 

1040

 

 

995

 

 

ОРСП18—12

400

990

 

340

920

 

 

1040

 

1

995

 

1

ОРСП18¾13,5

400

1140

 

340

1070

 

 

1040

 

 

995

 

 

ОРСП18—15

400

690

 

340

620

 

 

1040

 

 

995

 

 

 

 

460

 

 

390

 

ОРСП18—9A

 

690

 

 

620

 

ОРСП18—12A

 

990

 

 

920

 

ОРСП18—13,5A

1580

1140

 

1530

1070

 

ОРСП18 15A

 

690

 

 

620

 

 

 

460

 

 

390

 

ОРСП21¾9

400

690

 

340

620

 

 

1340

 

 

1295

 

 

ОРСП21¾12

400

990

 

340

920

 

 

1340

 

 

1295

 

 

ОРСП21¾13,5

400

1140

 

340

1070

 

 

1340

 

 

1295

 

 

 

400

690

 

340

620

 

ОРСП21—15

1340

 

 

1295

 

 

 

 

460

1

 

390

1

ОРСП21—9A

 

690

 

 

620

 

ОРСП21—12A

1880

990

 

1830

920

 

ОРСП21—13,5A

 

1140

 

 

1070

 

ОРСП21¾15А

 

690

 

 

620

 

 

 

460

 

 

390

 

БРСП24—9

1580

 

 

1530

 

 

БРСП28—9

400

690

 

340

620

 

 

1340

 

 

1300

 

 

БРСП28¾12

400

990

 

340

920

 

 

1340

 

 

1300

 

 

ИНФОРМАЦИОННЫЕ ДАННЫЕ

1. РАЗРАБОТАН И ВНЕСЕН Государственным комитетом по гражданскому строительству и архитектуре при Госстрое СССР

РАЗРАБОТЧИКИ

И. В. Строков (руководитель темы); И. С. Посельская; Б. А. Филозофович; Г. Г. Коваленко; И. Ф. Савченко; В. И. Тихонович; Н. Д. Крылов, Г. В. Левушкин

2. УТВЕРЖДЕН И ВВЕДЕН В ДЕЙСТВИЕ постановлением Государственного комитета СССР по делам строительства от 03.02.81 № 10

3. Введен впервые

4. ССЫЛОЧНЫЕ НОРМАТИВНО-ТЕХНИЧЕСКИЕ ДОКУМЕНТЫ

Обозначение НТД, на который дана ссылка

Номер пункта, приложения

ГОСТ 111-90

2.7

ГОСТ 538-88

Приложение 3

ГОСТ 2697-83

2.2

ГОСТ 4598-86

2.2

ГОСТ 5087-80

Приложение 3

ГОСТ 5088-78

»

ГОСТ 5089-90

»

ГОСТ 5090-86

Приложение 3

ГОСТ 5091-78

»

ГОСТ 8242-88

2.2

ГОСТ 9573-82

2.2

ГОСТ 10174-90

2.2

ГОСТ 23166-78

2.1, приложение 3

 

2008-2013. ГОСТы, СНиПы, СанПиНы - Нормативные документы - стандарты.