ГОСУДАРСТВЕННЫЙ СТАНДАРТ СОЮЗА ССР
ОКНА И БАЛКОННЫЕ ДВЕРИ ДЕРЕВЯННЫЕ СО СТЕКЛОПАКЕТАМИ И СТЕКЛАМИ ДЛЯ ЖИЛЫХ И ОБЩЕСТВЕННЫХ ЗДАНИЙ
Типы, конструкция и размеры
ГОСТ 24700-81
Москва
ГОСУДАРСТВЕННЫЙ СТАНДАРТ СОЮЗА ССР
ОКНА И БАЛКОННЫЕ ДВЕРИ ДЕРЕВЯННЫЕ
СО СТЕКЛОПАКЕТАМИ И СТЕКЛАМИ ДЛЯ ГОСТ
ЖИЛЫХ И ОБЩЕСТВЕННЫХ ЗДАНИЙ 24700-81
Типы, конструкция и размеры
Wooden windows and balcony doors with double glazing
units for dwelling and public buildings.
Types, structure and dimensions
Дата введения 01.01.84
Настоящий стандарт распространяется на деревянные окна и балконные двери со стеклопакетами, предназначаемые для жилых и общественных зданий, а также для вспомогательных зданий и помещений предприятий различных отраслей народного хозяйства.
1.1. Окна и балконные двери по настоящему стандарту изготовляются одинарной конструкции с однокамерными клееными стеклопакетами.
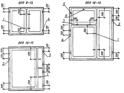
1.2. Габаритные размеры окон и балконных дверей и размеры проемов для них должны соответствовать: для жилых зданий - указанным на черт. 1 и в приложении 1; для общественных зданий - указанным на черт. 2 и в приложении 2.
Окна и балконные двери, приведенные на черт. 1, могут применяться и для общественных зданий.
1.3. Заполнение оконных проемов общественных зданий шириной 18М (М - модуль, равный 100 мм) и более следует осуществлять набором окон, приведенных на черт. 2.
1.4. По требованию потребителей одностворные окна и балконные двери, в т.ч. с форточными створками и фрамугами, должны изготовляться также и левыми, а многостворные окна с несимметричным рисунком - в негативном (зеркальном) изображении.
1.5. Устанавливают следующую структуру условного обозначения (марки) окон и балконных дверей:

Примеры условных обозначений
Окно правое серии СП для проема высотой 15 и шириной 9 дм:
ОСП15-9 ГОСТ 24700-81
То же, левое:
ОСП15-9Л ГОСТ 24700-81
Дверь балконная правая серии СП для проема высотой 22 и шириной 9 дм:
БСП22-9 ГОСТ 24700-81
Окно серии СП для проема высотой 18 и шириной 15 дм, с несимметричным рисунком (вариант А):
ОСП18-15А ГОСТ 24700-81
То же, в негативном (зеркальном) исполнении:
ОСП18-15АН ГОСТ 24700-81
Габаритные размеры окон и балконных дверей жилых зданий

Примечания:
1. Схемы изделия изображены со стороны фасада.
2. Цифры над схемами изделий означают размеры проемов в модулях.
3. Окна типов 15-12; 15-13,5; 15-15; 15-18 и 15-21 - с клапанами.
Черт. 1
Габаритные размеры окон и балконных дверей общественных зданий

Примечания:
1. Схемы изделия изображены со стороны фасада.
2. Цифры над схемами изделий означают размеры проемов в модулях.
Черт. 2
2.1. Окна и балконные двери должны изготовляться в соответствии с требованиями ГОСТ 23166 и настоящего стандарта по рабочим чертежам, утвержденным в установленном порядке.
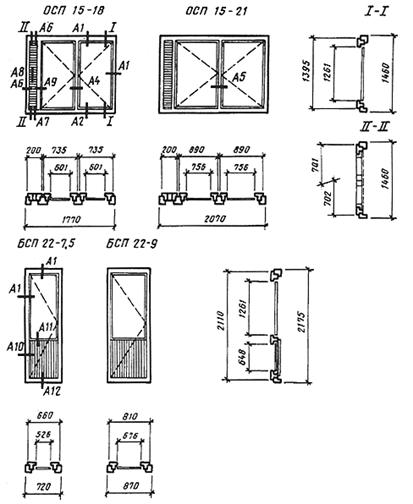
2.2. Конструкция, форма, основные размеры и марки окон и балконных дверей для жилых зданий должны соответствовать указанным на черт. 3 - 5, для общественных зданий - на черт. 6 - 8, а размеры сечений деталей - на черт. 9 - 20.
2.3. Размеры окон и балконных дверей на черт. 1 - 8 даны по наружным сторонам коробок, в свету, и по наружным сторонам створок, фрамуг и клапанов.
На чертежах, приведенных в настоящем стандарте, указаны размеры неокрашенных деталей и изделий в миллиметрах.
2.4. Для отвода дождевой воды сверлят отверстия диаметром 10 мм, которые должны располагаться в верхних брусках подфорточных створок, в нижних брусках коробок и горизонтальных импостах на расстоянии 50 мм от вертикальных брусков коробок и импостов, а под клапанами - одно отверстие посередине.
Конструкция, форма, основные размеры и марки окон и балконных дверей жилых зданий

Черт. 3

Черт. 4

Черт. 5
2.5. Створки окон высотой 1350 мм при ширине более 600 мм, а также высотой более 1000 мм при ширине более 850 мм должны быть навешены на три петли.
Примеры расположения приборов в окнах и балконных дверях приведены в приложении 3.
2.6. Для остекления окон и балконных дверей жилых и общественных зданий следует применять клееные однокамерные стеклопакеты по действующей НТД.
2.7. Толщину стекла в стеклопакетах уточняют в проекте с учетом ветровых нагрузок в районе строительства.
2.8. Последовательность выполнения операций при монтаже стеклопакетов и схемы расположения опорных, распорных и боковых прокладок, устанавливаемых по периметру стеклопакетов, приведены в приложениях 4 и 5.
Монтаж стеклопакетов и выбор материалов для прокладок следует выполнять в соответствии с инструкцией по применению, монтажу и эксплуатации стеклопакетов в гражданском строительстве.
2.9. Места прикрепления уплотняющих пенополиуретановых прокладок в притворах окон и балконных дверей указаны на чертежах сечений деталей.
2.10. Приклеивание облицовок к каркасу клапана должно выполняться на клеях повышенной водостойкости (фенолформальдегидном типа КБ-3, мочевиномеламиновом типа ММС и др.).
2.11. Клапаны должны быть оснащены пластмассовой сеткой и жалюзийной решеткой или облицованы с наружной стороны обшивкой типа О-2 по ГОСТ 8242.
Пример облицовки клапана обшивкой приведен в приложении 6.
2.12. Клеи и мастики, используемые при изготовлении окон, должны быть разрешены к применению в установленном порядке.
2.13. По требованию потребителя по периметру коробок на боковых поверхностях допускается выборка четверти, заполняемой теплоизоляционным материалом и заделываемой наличником при соединении изделий друг с другом.
2.14. Спецификации стеклопакетов для окон и балконных дверей жилых и общественных зданий приведены в приложении 7 и 8.
Конструкция, форма, основные размеры и марки окон и балконных дверей общественных зданий

Черт. 6

Черт. 7

Черт. 8
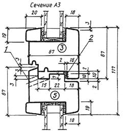
Сечения по притворам окон и балконных дверей жилых и общественных зданий

|
Сечение |
а |
Деталь |
|
А1 |
67 |
1 |
|
Б1 |
72 |
2 |
1 ¾ четверть для соединения изделий; 2 ¾ уплотняющая прокладка по ГОСТ 10174
Черт. 9

|
Сечение |
а |
Деталь |
|
А2 |
67 |
3 |
|
Б2 |
72 |
4 |
1 ¾ отверстие диаметром 10 мм для отвода воды (см. п. 2.4); 2 ¾ опорные, распорные и боковые прокладки; 3 ¾ уплотняющая прокладка по ГОСТ 10174
Черт. 10

1 ¾ отверстие диаметром 10 мм для отвода воды (см. п. 2.4); 2 ¾ уплотняющая прокладка по ГОСТ 10174
Черт. 11

|
Сечение |
а |
б |
в |
Деталь |
|
А4 |
20 |
67 |
70 |
1; К3 |
|
А5 |
10 |
67 |
60 |
1; К4 |
|
Б3 |
20 |
72 |
70 |
2; К3 |
1 ¾ уплотняющие прокладки по ГОСТ 10174
Черт. 12

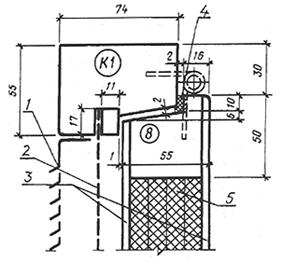
1 — решетка жалюзийная; 2 — сетка (см. п. 2.11); 3 — твердая ДВП марки Т группы А толщиной 3,2 мм по ГОСТ 4598; 4 — уплотняющая прокладка по ГОСТ 10174; 5 — мягкая ДВП толщиной 12 мм, 4 слоя по ГОСТ 4598*
_____________
* Вариант. Допускается заполнение полужесткими минераловатными плитами на синтетическом связующем по ГОСТ 9573
Черт. 13

1 — сетка (см. п.2.11); 2 — уплотняющая прокладка по ГОСТ 10174
Черт. 14

1 — сетка (см. п. 2.11); 2 — решетка жалюзийная; 3 — уплотняющая прокладка по ГОСТ 10174
Черт. 15

1 — уплотняющие прокладки по ГОСТ 10174
Черт. 16

1 — отверстие диаметром 10 мм для отвода воды (см. п. 2.4); 2 уплотняющие прокладки по ГОСТ 10174
Черт. 17

|
Сечение |
а |
Деталь |
|
А10 |
67 |
1 |
|
Б5 |
72 |
2 |
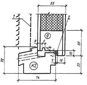
1 — уплотняющая прокладка по ГОСТ 10174; 2 — твердая ДВП марки Т группы А толщиной 3,2 мм по ГОСТ 4598*; 3 — мягкая ДВП толщиной 12 мм, 3 слоя по ГОСТ 4598; 4 — обшивка типа О—2 по ГОСТ 8242; 5 пергамин по ГОСТ 2697; 6 — распорная рейка
________________
* Вариант. Допускается заполнение полужесткими минераловатными плитами на синтетическом связующем по ГОСТ 9573
Черт. 18

|
Сечение |
а |
Деталь |
|
А11 |
67 |
6 |
|
Б6 |
72 |
7 |
Черт. 19

|
Сечение |
а |
Деталь |
|
А12 |
67 |
3 |
|
Б7 |
72 |
4 |
1 — уплотняющая прокладка по ГОСТ 10174-90
Черт. 20


Примечание к приложениям 1 и 2. Размеры ширины проемов указаны для стен из панелей и модульного кирпича.

1 ¾ завертка ЗР2-1; 2 ¾ ПВ2-100-1; 3 ¾ ПВ4-60-1; 4 ¾ ПВ4-90-1; 5 ¾ ограничитель фрамужный; 6 ¾ ПФ2; 7 ¾ ПВ4-90-2
Черт. 1

1 ¾ ПВ2-100-1; 2 ¾ завертка ЗР2-1; 3 ¾ ручка РС80; 4 ¾ ограничитель фрамужный; 5 ¾ ПФ2; 6 ¾ ПВ4-90-2
Примечания:
1. Приборы для окон и дверей должны соответствовать ГОСТ 538, ГОСТ 5087, ГОСТ 5088, ГОСТ 5089, ГОСТ 5090 и ГОСТ 5091.
2. Завертки показаны в открытом положении.
3. Ручки РС 80 устанавливают на полотно со стороны балкона.
4. Фрамужный прибор ПФ2 показан условно.
5. Угольники устанавливают в соответствии с п. 2.13 ГОСТ 23166.
6. При ширине фрамуг более 830 мм устанавливают два фрамужных ограничителя.
Черт. 2

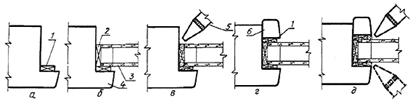
а — наклеить боковые прокладки; б — установить стеклопакет, опорные и распорные прокладки; в — нанести пистолетом слой нетвердеющей герметизирующей мастики; г — установить боковые прокладки и штапики; д — зазоры уплотнить мастикой; 1 — боковая прокладка; 2 — опорная или распорная прокладка; 3 — стеклопакет; 4 переплет; 5 — пистолет; 6 — штапик
а) Опорных и распорных прокладок

1 ¾ распорная прокладка 5´В´50 мм; 2 ¾ опорная прокладка 5´В´100 мм (В - толщина стеклопакета)
б) Боковых прокладок 4´15´50 мм

Примечания:
1. Боковые прокладки устанавливают симметрично с обеих сторон стеклопакетов.
2. Опорные, распорные и боковые прокладки должны изготовляться из древесины твердолиственных пород, пропитанных гидрофобным составом, или из полимера "Агат".

а — по верхнему притвору; б — по нижнему притвору; в — по боковому притвору; г — по среднему притвору; 1 — обшивка типа О-2 по ГОСТ 8242; 2 — пергамин по ГОСТ 2697; 3 — мягкая ДВП толщиной 12 мм, 4 слоя по ГОСТ 4598 (допускается вариант, см. черт. 18); 4 — твердая ДВП марки Т группы А толщиной 3,2 мм по ГОСТ 4598
|
Марка |
Размер, мм |
Кол. |
|
|
|
Высота |
Ширина |
|
|
ОСП9-9 |
|
700 |
1 |
|
ОСП9-12 |
690 |
440 |
|
|
ОСП9-13,5 |
|
510 |
2 |
|
ОСП9-15 |
|
590 |
|
|
ОСП15-6 |
400 |
400 |
|
|
|
800 |
|
|
|
ОСП15-7,5 |
400 |
550 |
|
|
|
800 |
|
|
|
ОСП15-9 |
400 |
700 |
1 |
|
|
800 |
|
|
|
ОСП15-12 |
|
780 |
|
|
ОСП15-13,5 |
|
930 |
|
|
ОСП15-15 |
|
1080 |
|
|
ОСП15-18 |
1290 |
630 |
2 |
|
ОСП15-21 |
|
780 |
|
|
ОСП15-7,5А |
|
550 |
|
|
ОСП15-9А |
|
700 |
1 |
|
БСП22-7,5 |
|
550 |
|
|
БСП22-9 |
|
700 |
|
|
Марка |
Размер, мм |
Кол. |
|
|
|
Высота |
Ширина |
|
|
ОСП12-9 |
|
690 |
|
|
ОСП12-12 |
|
990 |
|
|
ОСП12-13,5 |
980 |
1140 |
|
|
ОСП12-15 |
|
690 |
|
|
|
|
460 |
|
|
ОСП18-9 |
400 |
690 |
|
|
|
1040 |
|
|
|
ОСП18-12 |
400 |
990 |
|
|
|
1040 |
|
|
|
ОСП18-13,5 |
400 |
1140 |
|
|
|
1140 |
|
|
|
|
400 |
690 |
|
|
ОСП18-15 |
1040 |
|
|
|
|
|
460 |
|
|
ОСП18-9А |
|
690 |
|
|
ОСП18-12А |
1580 |
990 |
|
|
ОСП18-13,5А |
|
1140 |
|
|
ОСП18-15А |
|
690 |
|
|
|
|
460 |
|
|
ОСП21-9 |
400 |
690 |
1 |
|
|
1340 |
|
|
|
ОСП21-12 |
400 |
990 |
|
|
|
1340 |
|
|
|
ОСП21-13,5 |
400 |
1140 |
|
|
|
1340 |
|
|
|
|
400 |
690 |
|
|
ОСП21-15 |
1340 |
|
|
|
|
|
460 |
|
|
ОСП21-9А |
|
690 |
|
|
ОСП21-12А |
|
990 |
|
|
ОСП21-13,5А |
1880 |
1140 |
|
|
ОСП21-15А |
|
690 |
|
|
|
|
460 |
|
|
БСП24-9 |
1580 |
|
|
|
БСП28-9 |
400 |
690 |
|
|
|
1340 |
|
|
|
БСП28-12 |
400 |
990 |
|
|
|
1340 |
|
|
ИНФОРМАЦИОННЫЕ ДАННЫЕ
1. РАЗРАБОТАН И ВНЕСЕН Государственным комитетом по гражданскому строительству и архитектуре при Госстрое СССР
РАЗРАБОТЧИКИ
Б.А.Филозофович (руководитель темы); Г.Г.Коваленко; И.С.Посельская; З.А.Буркова; С.П.Соловьев, канд. архит., И.Ф.Савченко; М.Д.Артемов, канд. техн. наук; К.П.Копылов, канд. техн. наук; Я.С.Щулов; Н.Д.Крылов; Ю.М.Щипанов; Г.В.Левушкин
2. УТВЕРЖДЕН И ВВЕДЕН В ДЕЙСТВИЕ постановлением Государственного комитета СССР по делам строительства от 03.02.81 № 11
3. ВВЕДЕН ВПЕРВЫЕ
4. ССЫЛОЧНЫЕ НОРМАТИВНО-ТЕХНИЧЕСКИЕ ДОКУМЕНТЫ
|
Обозначение НТД, на который дана ссылка |
Номер пункта, приложения |
|
ГОСТ 538-88 |
Приложение 3 |
|
ГОСТ 2697-83 |
2.2, приложение 6 |
|
ГОСТ 4598-86 |
2.2, приложение 6 |
|
ГОСТ 5087-80 |
Приложение 3 |
|
ГОСТ 5088-78 |
» |
|
ГОСТ 5089-90 |
» |
|
ГОСТ 5090-86 |
» |
|
ГОСТ 5091-78 |
Приложение 3 |
|
ГОСТ 8242-88 |
2.10, приложение 6 |
|
ГОСТ 9573-82 |
2.2 |
|
ГОСТ 10174-90 |
2.2 |
|
ГОСТ 23166-78 |
2.1, приложение 3 |
5. ПЕРЕИЗДАНИЕ. Октябрь 1991 г.
Приложение к письму Минстроя России от 17 апрели 1997 г. № СП-232/13
РЕКОМЕНДАЦИИ
по применению окон и балконных дверей с различными значениями сопротивления теплопередаче (Rо, м2 С/Вт) для жилых и общественных зданий
|
Градусосутки отопительного периода |
Планируемое значение Rотр |
Рекомендуемые конструкции деревянных и поливинилхлоридных (ПВХ) окон и балконных дверей |
Справочное значение Rо |
|
до 2500 |
0,38 |
Деревянные по ГОСТ 24700 и ПВХ окна с однокамерными стеклопакетами (СПО) |
0,38 |
|
|
|
Деревянные спаренные по ГОСТ 11214 |
0,40 |
|
|
|
Деревянные раздельные по ГОСТ 11214 |
0,43 |
|
до 4000 |
0,50 |
Деревянные по ГОСТ 24700 и ПВХ окна с двухкамерными стеклопакетами (СПД) |
0,50 |
|
|
|
Деревянные по ГОСТ 24700 и ПВХ окна с СПО и теплоотражающим покрытием внутреннего стекла (ТОП) |
0,53 |
|
до 5000 |
0,55 |
Деревянные с тройным остеклением по ГОСТ 16289 |
0,55 |
|
|
|
Деревянные со стеклом и СПО по ГОСТ 24699 |
0,55 |
|
|
|
Деревянные по ГОСТ 24700 и ПВХ окна с СПД и ТОП |
0,57 |
|
|
|
Деревянные по ГОСТ 24700 и ПВХ окна с СПО и ТОП, заполнение - аргон |
0,60 |
|
до 6000 |
0,65 |
Деревянные по ГОСТ 24700 и ПВХ окна с СПД и ТОП, межстекольные расстояния 12 и 8 мм. |
0,65 |
|
|
|
с усиленными сечениями профилей |
0,55 |
|
|
|
Деревянные спаренные по ГОСТ 11214 с установкой теплового экрана между стекол |
0,65 |
|
|
|
Деревянные с тройным остеклением по ГОСТ 16289 с ТОП |
0,65 |
|
|
|
Деревянные со стеклом и СПО с ТОП по ГОСТ 24699 |
0,65 |
|
до 8000 |
0,75 |
Деревянные со стеклом и СПО с ТОП по ГОСТ 24699, заполнение - аргон, с усиленным сечением профилей |
0,75 |
|
|
|
Деревянные со стеклом и СПД с ТОП по ГОСТ 24699, межстекольные расстояния 12 и 8 мм, аргон, с усиленным сечением профилей |
0,75 |
|
свыше 8000 |
0,85 |
Деревянные с тройным остеклением с ТОП по ГОСТ 16289 и установкой в спаренной части теплового экрана |
0,85 |
|
|
|
Деревянные со стеклом и СПО с ТОП по ГОСТ 24699, заполнение - криптон, с усиленным сечением профилей |
1,0 |
Примечания:
1. До внесения изменений в ГОСТ 11214-86, ГОСТ 16289-86, ГОСТ 24699-81, ГОСТ 24700-81 рекомендуется по согласованию с Минстроем России проводить работы по модернизации конструктивных решений окон с учетом современного опыта их производства и применения. При этом в конструкциях окон с сопротивлением теплопередаче выше 0,4 м2 С/Вт рекомендуется применять 2 ряда уплотнительных прокладок.
2. Сопротивление теплопередаче глухой части балконных дверей должно быть не менее чем в 1,5 раза выше сопротивления теплопередаче светопрозрачной части этих изделий.
3. Справочное значение Rо приведено для конструкции с отношением площади остекления к площади заполнения светового проема 0,7-0,75.