
ГОСУДАРСТВЕННЫЙ СТАНДАРТ СОЮЗА ССР
ЗОЛЫ-УНОСА
ТЕПЛОВЫХ
ЭЛЕКТРОСТАНЦИЙ ДЛЯ БЕТОНОВ
ТЕХНИЧЕСКИЕ УСЛОВИЯ
ГОСТ 25818-91
ГОСУДАРСТВЕННЫЙ СТРОИТЕЛЬНЫЙ КОМИТЕТ СССР
Москва
ГОСУДАРСТВЕННЫЙ СТАНДАРТ СОЮЗА ССР
|
ЗОЛЫ-УНОСА ТЕПЛОВЫХ
ЭЛЕКТРОСТАНЦИЙ Технические условия Thermal plant fly-ashes for concretes. Specifications |
ГОСТ
|
Дата введения 01.07.91
Настоящий стандарт распространяется на золы-уноса (далее - золы) сухого отбора, образующиеся на тепловых электростанциях в результате сжигания углей в пылевидном состоянии и применяемые в качестве компонента для изготовления тяжелых, легких, ячеистых бетонов и строительных растворов, а также в качестве тонкомолотой добавки для жаростойких бетонов и минеральных вяжущих для приготовления смесей и грунтов в дорожном строительстве.
Стандарт не распространяется на золу, образующуюся от сжигания горючих сланцев, поставку и применение которой осуществляют по соответствующей нормативно-технической документации.
Применение золы - в соответствии с приложением 1.
(Измененная редакция. Изм. № 1)
1.1. Основные параметры и типы
1.1.1. Золы по виду сжигаемого угля подразделяют на:
антрацитовые, образующиеся при сжигании антрацита, полуантрацита и тощего каменного угля (А);
каменноугольные, образующиеся при сжигании каменного, кроме тощего, угля (КУ);
буроугольные, образующиеся при сжигании бурого угля (Б).
1.1.2. Золы в зависимости от химического состава подразделяют на типы:
кислые (К) - антрацитовые, каменноугольные и буроугольные, содержащие оксид кальция до 10 %;
основные (О) - буроугольные, содержащие оксид кальция более 10 % по массе.
1.1.3. Золы в зависимости от качественных показателей подразделяют на 4 вида:
I - для железобетонных конструкций и изделий из тяжелого и легкого бетонов;
II - для бетонных конструкций и изделий из тяжелого и легкого бетонов, строительных растворов;
III - для изделий и конструкций из ячеистого бетона;
IV - для бетонных и железобетонных изделий и конструкций, работающих в особо тяжелых условиях (гидротехнические сооружения, дороги, аэродромы и др.).
1.1.4. Обозначение марки золы включает вид сжигаемого угля, тип и вид золы, обозначение настоящего стандарта.
Пример условного обозначения каменноугольной кислой золы, применяемой для изготовления железобетонных конструкций:
ЗУ КУК-1 ГОСТ 25818-91
1.2. Характеристики
1.2.1. Качественные показатели зол различных видов должны соответствовать требованиям, указанным в таблице.
|
Наименование показателя |
Вид сжигаемого угля |
Значение показателя в зависимости от вида золы | |||
|
I |
II |
III |
IV | ||
|
1. Содержание оксида кальция (СаО), % по массе: |
|
|
|
|
|
|
для кислой золы, не более |
Любой |
10 |
10 |
10 |
10 |
|
для основной золы, св. |
Бурый |
10 |
10 |
10 |
10 |
|
в том числе: свободного оксида кальция (СаОсв) не более: |
|
| |||
|
для кислой золы |
Любой |
Не нормируется | |||
|
для основной золы |
Бурый |
5 |
5 |
Не нормируется |
2 |
|
2. Содержание оксида магния (MgO), % по массе, не более |
Любой |
5 |
5 |
Не нормируется |
5 |
|
3. Содержание сернистых и сернокислых соединений в пересчете на SO3, % по массе, не более: |
|
|
|
|
|
|
для кислой золы |
Любой |
3 |
5 |
3 |
3 |
|
для основной золы |
Бурый |
5 |
5 |
6 |
3 |
|
4. Содержание щелочных оксидов в пересчете на Na2O, % по массе, не более: |
|
|
|
|
|
|
для кислой золы |
Любой |
3 |
3 |
3 |
3 |
|
для основной золы |
Бурый |
1,5 |
1,5 |
3,5 |
1,5 |
|
5. Потеря массы при прокаливании (п.п.п.), % по массе, не более: |
|
|
|
|
|
|
для кислой золы |
Антрацитовый |
20 |
25 |
10 |
10 |
|
Каменный |
10 |
15 |
7 |
5 | |
|
Бурый |
3 |
5 |
5 |
2 | |
|
для основной золы |
Бурый |
3 |
5 |
3 |
3 |
|
6. Удельная поверхность, м2/кг, не менее: |
|
|
|
|
|
|
для кислой золы |
Любой |
250 |
150 |
250 |
300 |
|
для основной золы |
Бурый |
250 |
200 |
150 |
300 |
|
7. Остаток на сите № 008, % по массе, не более: |
|
|
|
|
|
|
для кислой золы |
Любой |
20 |
30 |
20 |
15 |
|
для основной золы |
Бурый |
20 |
20 |
30 |
15 |
Примечания:
1. Допускается в основных золах содержание свободного оксида кальция СаОсв и оксида магния MgO выше указанного в таблице, если обеспечивается равномерность изменения объема образцов при испытании их в автоклаве или применение этих зол обосновано специальными исследованиями бетона по долговечности с учетом конкретных условий эксплуатации.
2. Допускается в золах содержание сернистых и сернокислых соединений и потеря массы при прокаливании выше указанных в таблице, если применение этих зол обосновано специальными исследованиями по долговечности бетонов и коррозионной стойкости арматуры.
3. Допускается в золах I - III видов больший остаток на сите № 008 и меньшая величина удельной поверхности, чем указано в таблице, если при применении этих зол обеспечиваются заданные показатели качества бетона.
1.2.2. Золы в смеси с портландцементом должны обеспечивать равномерность изменения объема при испытании образцов кипячением в воде, а основные золы III вида - в автоклаве.
1.2.3. Влажность золы должна быть не более 1 % по массе.
1.2.4. Золы-уноса в зависимости от величины суммарной удельной эффективной активности естественных радионуклидов Аэфф применяют:
для производства материалов, изделий и конструкций, применяемых для строительства и реконструкции жилых и общественных зданий при Аэфф до 370 Бк/кг;
для производства материалов, изделий и конструкций, применяемых для строительства производственных зданий и сооружений, а также строительства дорог в пределах территорий населенных пунктов и зон перспективной застройки при Аэфф свыше 370 Бк/кг до 740 Бк/кг.
При необходимости в национальных нормах, действующих на территории государства, величина удельной эффективной активности естественных радионуклидов может быть изменена в пределах норм, указанных выше.
(Измененная редакция. Изм. № 1)
2.1. Зола должна быть принята техническим контролем предприятия-поставщика.
2.2. Предприятие-поставщик осуществляет контроль качества зол путем проведения их периодических испытаний.
2.3. При периодических испытаниях определяют:
один раз в сутки - влажность, удельную поверхность или остаток из сите № 008, потерю массы при прокаливании, а для основных зол дополнительно - содержание свободного оксида кальция (СаОсв);
один раз в неделю для основных зол - содержание сернистых и сернокислых соединений в пересчете на SO3 и равномерность изменения объема;
один раз в квартал - содержание оксидов кальция (СаО), магния (МgО), натрия и калия в пересчете на Na2O, а для кислых зол - содержание сернистых и сернокислых соединений в пересчете на SO3 и равномерность изменения объема;
один раз в год - удельную активность радионуклидов.
Указанные показатели качества определяют также каждый раз при изменении вида угля и условий его сжигания.
2.4. Для проверки качества зол отбирают одну объединенную пробу, которую составляют не менее чем из пяти точечных проб. Масса точечной пробы должна быть не менее 2 кг. Количество и порядок отбора проб, обеспечивающие их представительность, устанавливают в технологической документации, разработанной в установленном порядке, с учетом конкретных условий работы тепловой станции.
Из объединенной пробы отбирают лабораторную пробу, масса которой должна быть достаточной для проведения всех испытаний, предусмотренных настоящим стандартом.
2.5. Потребитель имеет право проводить входной контроль качества зол, применяя при этом порядок отбора и подготовки проб в соответствии с требованиями ГОСТ 30515.
(Измененная редакция. Изм. № 1)
2.6. Количество поставляемой золы определяют по массе.
2.7. Предприятие-поставщик сопровождает каждую партию золы документом о качестве.
Партией считают количество золы, одновременно отгружаемое одному потребителю в течение суток.
В документе о качестве указывают:
обозначение золы в соответствии с п. 1.1.4;
наименование и адрес предприятия-поставщика;
наименование и адрес потребителя;
номер и дату выдачи документа;
номер партии и количество золы;
номер транспортных средств и номера накладных;
результаты периодических испытаний золы;
суммарную удельную эффективную активность естественных радионуклидов.
(Измененная редакция. Изм. № 1)
3.1. Химический анализ зол проводят по ГОСТ 8269.1, влажность определяют по ГОСТ 8269.1.
(Измененная редакция. Изм. № 1)
3.2. Содержание свободного оксида кальция (СаОсв) определяют по ГОСТ 23227 или по методике в соответствии с приложением 2.
3.3. Потерю массы при прокаливании определяют по ГОСТ 11022.
3.4. Остаток на сите № 008 и удельную поверхность определяют по ГОСТ 310.2.
3.5. Равномерность изменения объема смеси цемента с золой определяют по ГОСТ 310.3 методом кипячения, при этом золу смешивают с портландцементом в соотношении 1:1 до получения теста нормальной густоты.
Равномерность изменения объема смеси цемента с золой, содержащей свободный оксид кальция (СаОсв) и оксид магния (МgО) выше указанных в таблице, а также с основной золой III вида определяют по ГОСТ 310.3 в автоклаве или в соответствии с приложением 3.
3.6. Удельную активность естественных радионуклидов, содержащихся в золе, определяют гамма-спектрометрическим методом по ГОСТ 30108.
(Измененная редакция. Изм. № 1)
4.1. Золы транспортируют в специализированных вагонах-цементовозах, хопперах, судах, а также в автоцементовозах в соответствии с Правилами перевозки грузов соответствующими видами транспорта.
При транспортировке зол в вагонах-цементовозах и хопперах должны соблюдаться требования ГОСТ 22235, Правил перевозок грузов и технических условий погрузки и крепления грузов, утвержденных Министерством путей сообщения. Вагоны следует загружать с учетом полного использования их грузоподъемности.
(Измененная редакция. Изм. № 1)
4.2. Золы хранят в силосах или других крытых емкостях.
Рекомендуемое
1. При изготовлении тяжелых, легких бетонов и строительных растворов золы следует применять для экономии цемента, заполнителей, улучшения технологических свойств бетонной и растворной смесей, а также показателей качества бетонов и растворов.
2. При изготовлении ячеистых бетонов кислые золы следует применять в качестве кремнеземистого компонента смеси, а также с целью экономии цемента в бетонах неавтоклавного твердения. Основные золы с содержанием оксида кальция (СаО) не менее 30 % следует применять в качестве вяжущего для частичной замены извести или цемента в ячеистых бетонах автоклавного и неавтоклавного твердения. Применение золы с удельной поверхностью менее 250 м2/кг допускается после ее предварительного домола.
3. Зола для жаростойких бетонов, применяемая для экономии цемента и улучшения эксплуатационных свойств бетона, по химическому составу и дисперсности должна соответствовать требованиям ГОСТ 20910.
4. В конструкционно-теплоизоляционных бетонах кислую золу следует применять для частичной или полной замены пористых песков и снижения средней плотности бетона.
5. Для конструкций подводных и внутренних зон гидротехнических сооружений следует применять кислую золу IV вида.
6. Оптимальное содержание золы в тяжелых, легких, ячеистых бетонах и строительных растворах устанавливают в результате подбора составов на конкретных материалах при условии обеспечения требуемых показателей качества бетона и раствора в изделиях, конструкциях и коррозионной стойкости арматуры.
7. В целях обеспечения коррозионной стойкости ненапрягаемой арматуры в железобетонных конструкциях, эксплуатируемых в неагрессивных средах, содержание кислой золы в бетоне не должно превышать по массе расход портландцемента. При этом минимальный расход цемента устанавливают по ГОСТ 26633. Возможность увеличения содержания золы в тяжелых, легких бетонах сборных и монолитных железобетонных конструкциях устанавливают после проведения специальных исследований по коррозионной стойкости арматуры, деформативным свойствам и долговечности бетонов, выполненных на конкретных материалах.
8. Применение кислой золы в бетонах железобетонных конструкций, в том числе преднапряженных, предназначенных для эксплуатации в агрессивных средах, может быть допущено при условии удовлетворения требований СНиП 2.03.11. Применение золы в бетонах преднапряженных конструкций, армированных термически упрочненной арматурной сталью, склонной к коррозионному растрескиванию, не допускается без проведения специальных исследований.
8. Основные золы с содержанием оксида кальция (СаО) не менее 30 % по массе, при изготовлении строительных растворов и бетонов для сборных и монолитных бетонных и железобетонных изделий и конструкций, следует применять в качестве компонента цемента или другого вяжущего.
При этом суммарное содержание сернистых и сернокислых соединений в бетоне в пересчете на SO3 не должно превышать 3 % по массе.
Обязательное
1. Аппаратура, реактивы и растворы
Сахароза, 10 %-ный раствор по ГОСТ 5833.
Кислота соляная 0,1 и раствор по ГОСТ 3118.
Фенолфталеин (индикатор), 1 %-ный спиртовой раствор по ТУ 609-53-60.
2. Проведение анализа
Навеску золы массой 1,5 г растирают в агатовой ступке в течение 5 мин. Навеску свежерастертой золы массой (0,2 ± 0,0002) г помещают в стакан вместимостью 500 мл, добавляют 100 мл 10 %-ного раствора сахарозы и перемешивают в магнитной мешалке в течение 10 мин, после чего фильтруют в коническую колбу вместимостью 500 мл. С помощью пипетки отбирают 50 мл фильтрата и переносят в колбу вместимостью 250 мл, прибавляют 2 - 3 капли фенолфталеина и титруют 0,1 н раствором соляной кислоты. Титрование проводят по каплям до исчезновения окраски.
3. Обработка результатов
Массовую долю свободного оксида кальция в процентах вычисляют по формуле
![]()
где V - объем раствора НСl, пошедший на титрование, мл;
V1 - объем исходного раствора, мл;
V2 - объем аликвотной части раствора, мл;
0,002804 - количество оксида кальция, соответствующее 1 мл 0,1 н раствора соляной кислоты;
т - масса навески пробы, г.
Рекомендуемое
1. Аппаратура
Формы для изготовления образцов-призм размером (2,5´2,5´28,0) см (черт. 1).
_____________
* Действует до 01.01.92.
Вкладыши из нержавеющей стали (черт. 2).
Длиномер оптический вертикальный типа ИЗВ-2 (Ленинградское оптико-механическое объединение) или любой другой прибор для измерения длины образцов, обеспечивающий точность отсчета не менее 0,01 мм.
Эталон с изолирующей оправой (черт. 3) для контрольной тарировки прибора.
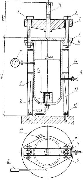
Автоклав с контрольной автоматикой, способной поддерживать манометрическое давление (2,1 ± 0,1) МПа [(21 ± 1) кгс/см2] (черт. 4).
Ванна с гидравлическим затвором по ГОСТ 310.3.
2. Изготовление образцов
2.1. Из цементно-зольного теста нормальной густоты изготавливают образцы-призмы размером (2,5´2,5´28,0) см с двумя вкладышами, расстояние между торцами которых должно быть 250 мм. Вкладыши располагают по продольной оси образцов на их торцах. Цементно-зольное тесто нормальной густоты приготавливают по ГОСТ 310.3, при этом кислую золу смешивают с цементом в соотношении 1:1, а основную золу - в соотношении, в котором предполагается использовать в производстве. Одновременно на том же цементе изготавливают образцы-призмы из цементного теста нормальной густоты (без золы).
2.2. Перед изготовлением образцов внутреннюю поверхность форм (исключая вкладыши) смазывают машинным маслом. Стыки наружных стенок с поддоном формы промазывают тонким слоем солидола или другой густой смазкой.
2.3. После окончания перемешивания форму заполняют цементно-зольным (цементным) тестом в два приема, примерно равными по высоте слоями. Каждый слой уплотняют штыковкой с отжатием теста в углы вокруг вкладышей. Избыток теста срезают вровень с верхом формы и поверхность образцов заглаживают.
2.4. Изготовленные образцы в формах хранят в ванне с гидравлическим затвором при температуре (20 ± 2) °С в течение (21 ± 2) ч.
2.5. Образцы, имеющие через (24 ± 2) ч недостаточную прочность, допускается вынимать из форм через 48 ч с указанием этого срока в журнале.
3. Проведение испытаний
3.1. После распалубки измеряют первоначальную длину образцов-призм и эталона с точностью 0,01 мм, после чего образцы помещают в предварительно подготовленный автоклав. Эталон хранят постоянно в том же помещении, где и измеритель длины. В автоклаве образцы устанавливают в вертикальном положении над водой таким образом, чтобы вес образца не передавался на вкладыш-упор и образцы не касались друг друга и стенок автоклава.
Автоклав должен содержать достаточное количество воды (7 - 10 % от рабочего объема резервуара автоклава) температурой (20 ± 2) °С, обеспечивающей среду насыщенного пара в течение испытания.
После включения автоклава открывают спускной кран, чтобы вытеснить из автоклава воздух. Как только из крана начнет выходить пар, кран необходимо закрыть и поднимать температуру в автоклаве со скоростью, обеспечивающей получение давления (2,1 ± 0,1) МПа за время 60 - 90 мин, считая со времени включения автоклава.
Давление (2,1 ± 0,1) МПа поддерживают в автоклаве в течение 3 ч. По окончании этого периода автоклав отключают и охлаждают с такой скоростью, чтобы через 1,5 ч давление в автоклаве не превышало 0,1 МПа. После этого осторожно открывают спускной кран и давление в автоклаве выравнивают с атмосферным.
Затем автоклав открывают, образцы помещают в воду температурой 90 °С. Далее воду, в которую помещены образцы, охлаждают добавлением холодной воды таким образом, чтобы через 15 мин температура воды снизилась до (20 ± 2) °С.
Последующие 15 мин образцы выдерживают в воде указанной температуры. Затем образцы извлекают из воды, их поверхность обтирают, измеряют длину образцов после испытания в автоклаве и длину эталона. Допускается открывать автоклав и измерять образцы на следующий день после испытания.
Эталоном служит стальной стержень с закаленными концами, вделанный в деревянную оправу для предохранения его от влияния температуры. С длиной эталона сравнивают длины измеряемых образцов-призм.
В процессе проведения автоклавного испытания необходимо строго соблюдать правила техники безопасности при работе с сосудами, находящимися под высоким давлением пара.
3.2. Величину относительного удлинения подсчитывают как среднее арифметическое результатов измерений четырех образцов. В случае получения отрицательной деформации (усадки) перед величиной изменения длины ставят знак минус.
4. Обработка результатов
Относительное удлинение каждого образца ei, %, рассчитывают по формуле

где
- длина образца до испытания в
автоклаве с учетом длины вкладышей, мм;
- длина образца после испытания в автоклаве с учетом длины
вкладышей,
мм;
- эффективная длина образца (расстояние
между торцевыми поверхностями вкладышей), равная 250
мм;
- длина эталона, измеренная
перед испытанием образцов в автоклаве, мм;
- длина эталона, измеренная после
испытания образцов в
автоклаве, мм.
Среднее относительное удлинение вер определяют по формуле

Если при испытании относительное удлинение образцов не превышает 0,5 %, считают золу выдержавшей испытание.
Форма для изготовления образцов-призм

1 - донышко формы; 2 - боковая стенка формы; 3 - торцевая стенка формы; 4 - вкладыш из нержавеющей стали; 5 - винт М5´25; 6 - шрифт
Черт. 1
Вкладыш из нержавеющей стали

Черт. 2
Эталон с изолирующей оправой

1 - стержень из нержавеющей стали; 2 - изолирующая оправа (дуб с последующим покрытием наружной поверхности лаком)
Черт. 3
Схема лабораторного автоклава

1 - корпус; 2 - нагревательные электроды; 3 - крышка; 4 - верхний фланец; 5 - бугельные болты; 6 - фланцевые болты; 7 - двухплечий бугель; 8 - электроконтактный манометр ЭКМ-1; 9 - края для спуска пара и воздуха; 10 - предохранительный клапан; 11 - упорный винт; 12 - фундаментные болты; 13 - опоры; 14 - защитный кожух автоклава
Черт. 4
ИНФОРМАЦИОННЫЕ ДАННЫЕ
1. РАЗРАБОТАН Научно-исследовательским институтом железобетона Госстроя СССР
РАЗРАБОТЧИКИ
Л. А. Малинина, д-р техн. наук (руководитель темы); В. Ф. Степанова, канд. техн. наук; Т. П. Щеблыкина, канд. техн. наук; И. М. Дробященко, канд. техн. наук; Т. А. Ухова, канд. техн. наук; В. Г. Довжик, канд. техн. наук; И. С. Хаймов, канд. техн. наук; В. Б. Судаков, канд. техн. наук; О. М. Чуракова; Г. С. Коних; В. И. Романов; Ю. П. Чернышев, канд. техн. наук; В. Г. Брагинский, канд. техн. наук; А. А. Безверхний, канд. техн. наук; О. А. Игнатова; С. И. Павленко, канд. техн. наук; А. М. Сергеев, д-р техн. наук; В. В. Еремеева, Т. А. Фиронова
2. ВНЕСЕН Министерством энергетики и электрификации СССР
3. УТВЕРЖДЕН И ВВЕДЕН В ДЕЙСТВИЕ Постановлением Государственного строительного комитета СССР от 04.02.91 № 4
4. Стандарт соответствует СТ СЭВ 3477-81 в части отбора и подготовки проб
5. ВЗАМЕН ГОСТ 25818-83
6. ССЫЛОЧНЫЕ НОРМАТИВНО-ТЕХНИЧЕСКИЕ ДОКУМЕНТЫ
|
Обозначение НТД, на который дана ссылка |
Номер пункта, приложения |
|
ГОСТ 310.2-76 |
3.4 |
|
ГОСТ 310.3-76 |
3.5, приложение 3 |
|
ГОСТ 3118-77 |
Приложение 2 |
|
ГОСТ 5382-73 |
3.1 |
|
ГОСТ 5833-75 |
Приложение 2 |
|
ГОСТ 10538-87 |
3.1 |
|
ГОСТ 11022-95 |
3.3 |
|
ГОСТ 20910-90 |
Приложение 1 |
|
ГОСТ 22235-76 |
4.1 |
|
ГОСТ 23227-78 |
3.2 |
|
ГОСТ 26633-91 |
Приложение 1 |
|
СТ СЭВ 3477-81 |
2.5 |
|
СНиП 2.03.11-85 |
Приложение 1 |
|
ОСП-72/87 |
1.2.4 |
|
ТУ 609-53-60-88 |
Приложение 2 |
(Измененная редакция. Изм. № 1)
СОДЕРЖАНИЕ
|
1. Технические требования. 1 2. Приемка. 3 3. Методы контроля. 4 4. Транспортирование и хранение. 4 Приложение 1 Область применения. 5 Приложение 2 Определение содержания свободного оксида кальция (саосв) ускоренным методом.. 6 Приложение 3* Определение равномерности изменения объема испытанием в автоклаве при давлении 2,1 мпа (21 кгс/см2) 6 |