
ГОСУДАРСТВЕННЫЙ СТАНДАРТ СОЮЗА ССР
ЦЕМЕНТЫ ТАМПОНАЖНЫЕ
Методы определения растекаемости,
плотности, водоотделения,
времени загустевания и сроков схватывания
ГОСТ 26798.1-85
(СТ СЭВ 6825-89)
ГОСУДАРСТВЕННЫЙ КОМИТЕТ СССР ПО ДЕЛАМ СТРОИТЕЛЬСТВА
Москва
СОДЕРЖАНИЕ
|
4. ОПРЕДЕЛЕНИЕ ВРЕМЕНИ ЗАГУСТЕВАНИЯ 5. ОПРЕДЕЛЕНИЕ СРОКОВ СХВАТЫВАНИЯ ПРИЛОЖЕНИЕ Обязательное. ПОВЕРКА ИСПЫТАТЕЛЬНОГО ОБОРУДОВАНИЯ И СРЕДСТВ ИЗМЕРЕНИЙ
|
ГОСУДАРСТВЕННЫЙ СТАНДАРТ СОЮЗА ССР
|
ЦЕМЕНТЫ ТАМПОНАЖНЫЕ Методы определения растекаемости, плотности, водоотделения, времени загустевания и сроков схватывания Oil-well cements. Test methods of flowability, density, water-el: mination, thickening time and setting time |
ГОСТ 26798.1-85 (СТ СЭВ 6825-89) |
Постановлением Государственного комитета СССР по делам строительства от 12 декабря 1935 г. № 230 срок введения установлен
с 01.01.87
Настоящий стандарт распространяется на все виды тампонажных цементов и устанавливает методы испытаний для определения растекаемости, плотности, водоотделения, времени загустевания и сроков схватывания цементного теста.
Чаша, лопатка по ГОСТ 310.3-76.
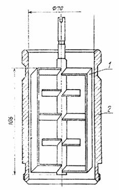
Мешалка для перемешивания цементного теста по СТ СЭВ 3920-82 (п. 4.1). Допускается применение мешалки по черт. 1 со скоростью вращения лопастного устройства (1500±100) мин-1, объемом перемешиваемого раствора в стакане цилиндрической формы от 500 до 900 см3.
Допускается применение мешалок иной конструкции, обеспечивающих получение однородного цементного теста при времени перемешивания (180±5) с.
Форма-конус (черт. 2).
Измерительный столик, установленный горизонтально по уровню, снабженный шкалой, представляющей собой концентрические окружности с минимальным диаметром 70 мм и максимальным не менее 250 мм. Цена деления шкалы должна быть не более 5 мм. Столик должен быть покрыт стеклом.
Линейка с погрешностью ±1 мм по ГОСТ 427-75.
Испытательное оборудование и средства измерений должны подвергаться поверке в соответствии с обязательным приложением.
1.2. Проведение испытаний
1.2.1. Форму-конус устанавливают на стекле в центре измерительного столика таким образом, чтобы внутренняя окружность формы совпадала с начальной окружностью шкалы столика. Внутреннюю поверхность конуса и стекло перед испытанием протирают влажной тканью.
1.2.2. Цементное тесто готовят по ГОСТ 26798.0-85.
1.2.3. Готовым цементным тестом заполняют форму-конус до верхнего торца. Интервал времени от момента окончания перемешивания до момента начала заполнения конуса не должен быть более 5 с. Затем конус резко поднимают в вертикальном направлении.
Мешалка для перемешивания цементного теста

1 - лопастное устройство; 2 - стакан
Черт. 1
Форма-конус
Черт. 2
1.2.4. Диаметр расплыва цементного теста измеряют во взаимно перпендикулярных направлениях металлической линейкой. За значение растекаемости принимают среднее из результатов двух измерений. При этом расхождение между большим и меньшим диаметром не должно быть более 10 мм.
2.1. Аппаратура
Лабораторные весы общего назначения по ГОСТ 24104-88 или другие весы с пределом взвешивания не ниже 500 г и погрешностью взвешивания не более 1,0 г.
Пикнометр вместимостью (100±0,5) см3 (черт. 3).
Чаша и лопатка по ГОСТ 310.3-76.
Мешалка для перемешивания цементного теста по п. 1.1.
2.2. Проведение испытаний
2.2.1. Определяют массу чистого сухого пикнометра с погрешностью до 1,0 г.
2.2.2. Цементное тесто готовят по ГОСТ 26798.0-85.
2.2.3. По окончании перемешивания пикнометр заполняют цементным тестом и закрывают крышкой, при этом цементное тесто должно заполнить канал в крышке пикнометра. Избыток теста, выступивший из отверстия в крышке, удаляют влажной тканью.
2.2.4. Массу пикнометра, заполненного цементным тестом, определяют с погрешностью до 1,0 г.
Пикнометр
1 - пробка; 2 - стакан
Черт. 3
2.2.5. Плотность цементного теста rц вычисляют с округлением до 10 кг/м3 по формуле
кг/м3, (1)
где т1 - масса пустого пикнометра, г;
т2 - масса пикнометра с цементным тестом, г;
V - вместимость пикнометра, см.
3.1. Аппаратура
Чаша, лопатка по ГОСТ 310.3- 76.
Мешалка для перемешивания цементного теста по п. 1.1.
2 мерных цилиндра по ГОСТ 1770-74, исполнение 2 или 3, вместимостью 250 мл. с ценой деления не более 2 см3.
3.2. Проведение испытаний
3.2.1. Цементное тесто готовят по ГОСТ 26798.0-85.
3.2.2. Цементное тесто заливают в два цилиндра так, чтобы в каждом из них метка 250 см находилась на уровне верхнего края мениска.
3.2.3. Цилиндры оставляют в покое при температуре (20±3)°С . Через 2 ч измеряют объем отделившейся сверху воды. Разница в отстоях в обоих цилиндрах не должна быть более 0,5 см3.
3.2.4. Водоотделение (W) в процентах от объема цемента вычисляют с точностью до 0,1 % по формуле
, (2)
где v1 и v2 - объем отделившейся воды соответственно в первом и втором цилиндрах, см3.
Мешалка для перемешивания цементного теста по п. 1.1.
Чаша, лопатка по ГОСТ 310.3-76.
Консистометр КЦ-5 для испытания цементов при низких, нормальных и умеренных температурах.
Консистометр КЦ-3 для испытаний цементов при повышенных и высоких температурах. Допускается применение консистометра КЦ-3 для испытаний цементов при низких, нормальных и умеренных температурах.
Консистометры должны быть прокалиброваны в соответствии с инструкцией к прибору. Схема измерительного узла консистометра приведена на черт. 4.
Допускается применение консистометров иной марки, обеспечивающих получение результатов испытаний, сопоставимых с результатами, полученными на консистометрах КЦ-3 и КЦ-5.
4.2. Проведение испытаний
4.2.1. Цементное тесто готовят по ГОСТ 26798.0-85.
4.2.2. Испытание проводят в соответствии с инструкцией к прибору. Температурный режим и давление - по ГОСТ 26798.0-85.
4.2.3. Частота вращения стакана консистометров КЦ-3 и КЦ-5 должна быть (150±5) мин-1. Допускается проводить испытания при частоте вращения стакана этих консистометров (60±2) мин-1.
4.2.4. Временем загустевания цементного теста считают время от начала затворения до момента достижения консистенции 30 единиц консистенции (ед. к) по шкале прибора.
Схема измерительного узла консистометра
1 - лопастное устройство; 2 - стакан
Черт. 4
5.1. Аппаратура
Мешалка для перемешивания цементного теста по п. 1.1.
Чаша и лопатка по ГОСТ 310.3-76.
Прибор Вика с иглой по ГОСТ 310.3-76.
Кольцо к прибору Вика по ГОСТ 310.3-76.
Подставка к прибору (черт. 5).
Термостат, обеспечивающий соблюдение режима по ГОСТ 26798.0-85. Воду в термостате меняют через каждые 7 сут.
Автоклав, обеспечивающий соблюдение режимов по ГОСТ 26798.0-85, с устройством для определения сроков схватывания. Устройство должно быть снабжено набором стержней с иглами или механизмом для сбрасывания иглы и поворота кольца после каждого измерения. Масса стержня с иглой должна быть (340 ± 2) г. Форма, размеры и состояние иглы должны соответствовать ГОСТ 310.3-76.
Подставка к прибору Вика
* i - толщина стенки кольца Вика
Черт. 5
5.2. Определение сроков схватывания цементов для низких и нормальных температур
5.2.2. Кольцо прибора Вика и подставку к нему предварительно смазывают смазочным маслом любой марки (индустриальным или консервационным) или пластичной смазкой любой марки и устанавливают кольцо на подставку.
5.2.3. Цементное тесто готовят по ГОСТ 26798.0-85.
5.2.4. После окончания перемешивания кольцо прибора Вика в один прием заполняют цементным тестом.
5.2.6. Первое погружение иглы в цементное тесто производят не позднее чем через 1 ч 30 мин после затворения, последующие - через 1 ч 45 мин, 2 ч и 2 ч 15 мин, а в дальнейшем - не реже чем через каждый час.
5.3. Определение сроков схватывания цементов для умеренных температур
5.3.1. Подготовку к испытаниям проводят по пп. 5.2.1 - 5.2.4.
5.3.2. Кольцо Вика накрывают металлической или стеклянной пластинкой и помещают в термостат таким образом, чтобы уровень воды над кольцом был не менее 2 см. Через 1 ч 30 мин кольцо с цементным тестом вынимают из термостата и проводят испытания по п. 5.2.5. Повторные испытания проводят до фиксации начала схватывания через каждые 15 мин, а в дальнейшем не реже чем через каждые 30 мин. После каждого испытания кольцо снова помещают в термостат.
5.4. Определение сроков схватывания цементов для повышенных температур
5.4.1. Цементное тесто готовят по ГОСТ 26798.0-85.
5.4.2. Кольцо устройства для определения сроков схватывания смазывают тонким слоем пластичной смазки любой марки.
Цементное тесто заливают в кольцо устройства для определения сроков схватывания. Закрепляют кольцо в устройстве и помещают его в автоклав, который полностью заполняют рабочей жидкостью согласно инструкции к нему и герметизируют.
5.4.3. Погружать иглы следует в соответствии с программой испытаний. Результаты погружений определяют согласно инструкции по эксплуатации, прилагаемой к устройству для определения сроков схватывания. Интервал времени между последующими погружениями иглы не должен превышать 1 ч.
5.5. Началом схватывания цементного теста считают время, прошедшее от начала затворения до момента, когда игла не доходит до подставки на 1 - 2 мм. Концом схватывания цементного теста считают время от начала затворения до момента, когда игла погружается в тесто на глубину от 1 до 3 мм.
1. Поверке подлежат форма-конус, пикнометр, консистометр, автоклав, прибор Вика, устройство для определения сроков схватывания в автоклаве.
2. Поверку производят в соответствии с утвержденными методиками с периодичностью не реже одного раза и год.
3. Проверяемые параметры аппаратуры приведены в таблице.
|
Объект поверки |
Поверяемые узлы или детали |
Поверяемые параметры |
|
Форма-конус |
- |
Размеры |
|
Пикнометр |
Прибор в сборе |
Вместимость |
|
Консистометр |
Средства измерения температур к давления |
Показания средств измерения |
|
|
Привод стакана, прибор в целом |
Скорость вращения, показания в единицах консистенции |
|
Устройство для определения сроков схватывания в автоклаве |
Игла |
Отсутствие искривлений, размеры |
|
|
Кольцо |
Размеры |
|
|
Падающие части в сборе |
Масса |
|
Автоклав |
Средства измерения температуры и давления |
Показания средств измерений |
|
Термостат |
Средства измерения температуры |
То же |