
ГОСУДАРСТВЕННЫЙ СТАНДАРТ СОЮЗА ССР
БЕТОНЫ
МЕТОДЫ ИСПЫТАНИЙ
ГОСТ 24452-80
ГОСУДАРСТВЕННЫЙ КОМИТЕТ СССР
ПО ДЕЛАМ СТРОИТЕЛЬСТВА
Москва
РАЗРАБОТАНЫ
Научно-исследовательским институтом бетона и железобетона (НИИЖБ) Госстроя СССР
Министерством транспортного строительства
Научно-исследовательским институтом строительных конструкций (НИИСК) Госстроя СССР
Министерством промышленности строительных материалов СССР Государственным комитетом СССР по стандартам
ИСПОЛНИТЕЛИ
А.А. Гвоздев, д-р техн. наук; А.В. Яшин, канд. техн. наук (руководители темы); Н.Г. Хубова, канд. техн. наук; И.К. Белобров, канд. техн. наук; Р.Л. Серых, канд. техн. наук; А.Ф. Милованов, д-р техн. наук; А.Т. Баранов, канд. техн. наук; Ю.С. Волков, канд. техн. наук; В.И. Скатынский, канд. техн. наук; Н.И. Елисаветская; Е.Н. Щербаков, канд. техн. наук; К.М. Кац, канд. техн. наук; Е.С. Одинцов; А.А. Ахадов; А.И. Марков, канд. техн. наук; Р.О. Красновский, канд. техн. наук; В.В. Доркин, канд. техн. наук; Н.М. Васильев, канд. техн. наук; В.А. Критов, канд. техн. наук; А.И. Марченко, канд. техн. наук; В.А. Рахманов, канд. техн. наук; В.Н. Кравцов; В.А. Богословский
ВНЕСЕНЫ Научно-исследовательским институтом бетона и железобетона (НИИЖБ) Госстроя СССР
Директор К.В. Михайлов
УТВЕРЖДЕНЫ И ВВЕДЕНЫ В ДЕЙСТВИЕ Постановлениями Государственного комитета СССР по делам строительства от 18 ноября, 30 и 31 декабря 1980 г. № 177, 214 и 237
ГОСУДАРСТВЕННЫЙ СТАНДАРТ СОЮЗА ССР
|
БЕТОНЫ Методы определения призменной прочности, модуля упругости и коэффициента Пуассона Concretes. Methods of prismatic compressive strengths, modulus of elasticity and Poissons ratio determination |
ГОСТ |
Постановлением Государственного комитета СССР по делам строительства от 18 ноября 1980 г. № 177 срок введения установлен
с 01.01.1982 г.
Настоящий стандарт распространяется на все виды бетонов, применяемых в промышленном, энергетическом, транспортном, водохозяйственном, жилищно-гражданском и в других видах строительства, в том числе подвергающиеся в процессе эксплуатации нагреву, насыщению водой, нефтепродуктами и другими жидкостями.
Стандарт устанавливает методы определения призменной прочности, модуля упругости и коэффициента Пуассона бетона.
Испытание для определения указанных показателей свойств бетона производится путем постепенного (ступенями) нагружения образцов-призм или образцов-цилиндров стандартных размеров осевой сжимающей нагрузкой до разрушения при определении призменной прочности и до уровня 30 % разрушающей нагрузки с измерением в процессе нагружения образцов их деформации при определении модуля упругости и коэффициента Пуассона.
Призменная прочность, модуль упругости и коэффициент Пуассона вычисляются по определенным в процессе испытания нагрузкам (Рр и 0,3Рр) и продольным и поперечным относительным упругомгновенным деформациям (e1у и e2у).
Настоящий стандарт следует применять при определении показателей свойств бетонов различного вида и назначения в соответствии с требованиями стандартов, технических условий или рабочих чертежей на бетонные и железобетонные конструкции и изделия, а также при изучении свойств новых видов бетонов.
Стандарт соответствует рекомендации СЭВ PC 279-65 и РИЛЕМ P8 в части требований к образцам.
1.1. Призменную прочность, модуль упругости и коэффициент Пуассона следует определять на образцах-призмах квадратного сечения или цилиндрах круглого сечения с отношением высоты к ширине (диаметру), равным 4. Ширина (диаметр) образцов должна приниматься равной 70, 100, 150, 200 или 300 мм в зависимости от назначения и вида конструкций и изделий. За базовый принимают образец размерами 150´150´600 мм.
Размеры образцов в зависимости от наибольшей крупности заполнителя должны удовлетворять требованиям ГОСТ 10180-78.
1.2. Отклонение размеров и формы образцов от номинальных, неплоскостность их опорных поверхностей, прилегающих к плитам пресса, а также неперпендикулярность опорных и боковых поверхностей образцов не должны превышать значений, установленных ГОСТ 10180-78.
1.3. Отбор проб и изготовление образцов из бетонной смеси либо отбор образцов, изготовленных путем выбуривания или выпиливания их из изделий, конструкций и сооружений производят по ГОСТ 10180-78.
1.4. Образцы изготовляют сериями. Серия должна состоять из трех образцов.
1.5. Правила выдерживания образцов и сроки испытаний следует принимать по ГОСТ 10180-78, если нет других требований, предусмотренных стандартами или техническими условиями на бетонные н железобетонные конструкции и изделия или рабочими чертежами конструкций. Образцы, высверленные или выбуренные из конструкций или изделий, должны до испытания находиться под влажной тканью за исключением образцов, требующих иных условий твердения, предусмотренных ГОСТ 10180-78.
2.1. Для измерения деформаций следует применять тензометры по ГОСТ 18957-73 и другие приборы, обеспечивающие измерение относительных деформаций с точностью не ниже 1×10-5.
Допускается использовать проводниковые тензорезисторы по ГОСТ 21616-76, наклеиваемые на поверхность бетона.
2.2. Тензометры и индикаторы для измерения деформации устанавливают на образце с помощью прижимных приспособлений (рамок, струбцин, опорных вставок) в соответствии с фиксируемой базой измерения деформаций по п. 3.5. Прижимные приспособления должны обеспечивать неизмененное положение тензометров и индикаторов относительно образца в процессе измерения деформации.
2.3. Прессы и испытательные машины должны удовлетворять требованиям ГОСТ 8905-73. Допускается применение другого испытательного оборудования, отвечающего требованиям ГОСТ 10180-78.
2.4. Формы для изготовления образцов следует применять в соответствии с требованиями ГОСТ 22685-77, а оборудование для изготовления образцов, приборы и инструменты для определения отклонений размеров и формы образцов от номинальных и неплоскостности их опорных поверхностей по ГОСТ 10180-78.
2.5. Для определения плотности (объемной массы) бетона образцов следует применять оборудование по ГОСТ 12730.0-78 и ГОСТ 12730.1-78.
2.6. Для определения призменной прочности, модуля упругости бетона, подвергающегося в процессе эксплуатации нагреву, насыщению водой, нефтепродуктами и другими жидкостями, дополнительно применяют оборудование по обязательным приложениям 1 и 2.
2.7. Испытательные машины (прессы) и приборы должны быть аттестованы и проверены в установленном порядке организациями Госстандарта или ведомственными метрологическими службами в соответствии с ГОСТ 8.001-80 и МУ 8.7-77.
3.1. Перед испытанием образцы следует осмотреть, устранить имеющиеся дефекты, отдельные выступы на гранях снять наждачным камнем, измерить линейные размеры, проверить отклонение формы и размеров в соответствии с ГОСТ 10180-78.
3.2. Плотность (объемную массу) и влажность бетона в момент испытания (в тех случаях, когда это необходимо) определяют по ГОСТ 12730.1-78 и ГОСТ 12730.2-78.
3.3. Перед испытанием образцы должны не менее 2 ч находиться в помещении лаборатории, кроме образцов, испытываемых при нагреве.
3.4. Интервал рабочих температур помещения, где проводятся испытания, - от 10 до 30°С по ГОСТ 18957-73.
3.5. На боковых поверхностях образцов следует разметить центральные линии для установки приборов для измерения деформаций и центрирования образцов по оси испытательной машины (пресса).
По центральным линиям размечают базы измерения продольных и поперечных деформаций образцов.
База измерения деформаций должна в 2,5 раза и более превышать наибольший размер зерен заполнителя и быть не менее 50 мм при использовании тензорезисторов и 100 м - при использовании других приборов для измерения деформаций.
База измерения продольных деформаций должна быть не более 2/3 высоты образца и располагаться на одинаковом расстоянии от его торцов.
3.6. Приборы для измерения деформаций образцов должны быть установлены по четырем его граням или по трем или четырем образующим цилиндра, развернутым под углом 120° или 90°. Приборы для измерения поперечных деформаций должны быть установлены посредине высоты образца нормально базам измерения продольных деформаций.
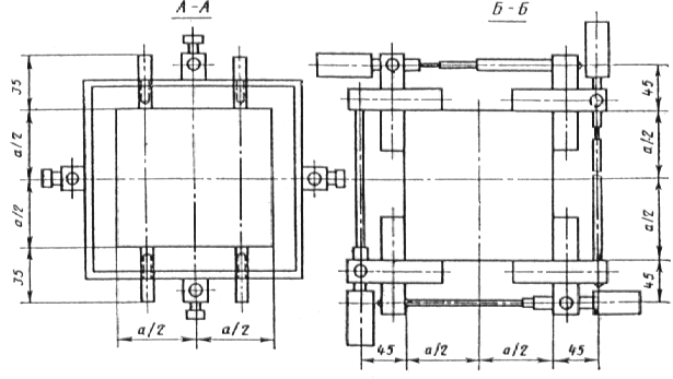
Для крепления индикаторов используют приспособления в виде стальных рамок, закрепляемых на образце с помощью четырех упорных винтов - по два с противоположных сторон образца - или опорных вставок, приклеиваемых на образце (см. черт. 1).
Рамки следует изготовлять из стальных полос, опорные вставки - из стальных квадратов или прутков с отверстиями для крепления индикаторов. Масса соединительной вставки для измерения поперечных деформаций образца не должна превышать 10 г в соответствии с требованиями ГОСТ 18957-73. В качестве соединительной вставки для измерения продольных деформаций следует применять соединительные вставки-рамки, обеспечивающие возможность измерения деформаций до конца разрушения образца.
Для крепления опорных вставок следует применять быстрополимеризующийся клей с малым набуханием.
Перед наклеиванием поверхность образца следует обезжирить органическим растворителем, а затем нагреть опорную вставку до температуры 50 - 60 °С. Опорную вставку в горячем состоянии прижимают к поверхности образца, предварительно нанеся на нее клей.
Рекомендуемая схема установки приспособлений для крепления индикаторов при измерении продольных и поперечных деформаций образца приведены на чертеже.
3.7. Подготовку образцов, насыщенных водой, нефтепродуктами и другими жидкостями, проводят по методике, предусмотренной в обязательном приложении 1. Для устранения влагопотерь производят гидроизоляцию образцов в соответствии с ГОСТ 24544-80.
3.8. Определение призменной прочности и модуля упругости бетонов, подвергающихся в процессе эксплуатации нагреву, производят с применением оборудования и выполнения дополнительных требований, предусмотренных в обязательном приложении 2 и рекомендуемом приложении 3.
Схема установки приспособлений для крепления индикаторов при измерении продольных и поперечных деформаций образца


4.1. При определении модуля упругости и коэффициента Пуассона шкалу силоизмерителя испытательного пресса (машин) выбирают из условия, что ожидаемое значение разрушающей нагрузки Рр должно быть от 70 до 80 % от максимальной, допускаемой выбранной шкалой. При определении призменной прочности шкалу силоизмерителя выбирают в соответствии с требованиями ГОСТ 10180-78.
4.2. Перед испытанием образец с приборами устанавливают центрально по разметке плиты пресса и проверяют совмещение начального отсчета с делением шкалы прибора.
4.3. Начальное усилие обжатия образца, которое в последующем принимают за условный нуль, должно быть не более 2 % от ожидаемой разрушающей нагрузки.
Значение ожидаемой разрушающей нагрузки при испытании образцов устанавливают по данным о прочности бетона, принятой в технической документации, или по прочности на сжатие изготовленных из одного замеса образцов-кубов, определенной в соответствии с ГОСТ 10180-78. Ее значение при одинаковых сечениях кубов и призм следует принимать от 80 до 90 % от средней разрушающей нагрузки образцов-кубов.
4.4. При центрировании образцов необходимо, чтобы в начале испытания от условного нуля до нагрузки, равной (40 ± 5 %) Рр отклонения деформаций по каждой грани (образующей) не превышали 15 % их среднего арифметического значения.
При несоблюдении этого требования при нагрузке, равной или большей (15 ± 5 %) Рр, следует разгрузить образец, сместить его относительно центральной оси разметки плиты пресса в сторону больших деформаций и вновь произвести его центрирование.
Образец бракуют после пяти неудачных попыток его центрирования.
4.5. При центрировании образцов деформации фиктивных волокон, совпадающих с центрами отверстий, в которых крепят индикаторы (черт. 1), относят к граням образца и определяют по формулам:
(1)
(2)
где
и
- деформации фиктивных волокон на
противоположных гранях образца;
и
- деформации, отнесенные к граням образца;
а - размер стороны образца;
с - расстояние от грани образца до центра отверстий, в которых крепят индикаторы.
4.6. При определении призменной прочности, модуля упругости и коэффициента Пуассона бетона нагружение образца до уровня нагрузки, равной (40 ± 5 %) Рр, следует производить ступенями, равными 10 % ожидаемой разрушающей нагрузки, сохраняя в пределах каждой ступени скорость нагружения (0,6 ± 0,2) МПа/с.
На каждой ступени следует производить выдержку нагрузки от 4 до 5 мин (при нагреве до 15 мин) и записывать отсчеты по приборам в начале и в конце выдержки ступени нагрузки в журнал по форме рекомендуемого приложения 4.
При уровне нагрузки, равной (40 ± 5 %) Рр, снимают приборы с образца, если нет других требований, предусмотренных программой испытания. После снятия приборов дальнейшее нагружение образца следует производить непрерывно с постоянной скоростью в соответствии с требованием ГОСТ 10180-78.
4.7. Машины (прессы) для испытаний следует эксплуатировать в соответствии с техническими условиями и правилами. Они должны быть снабжены страховочными приспособлениями в виде упругих элементов, воспринимающими нагрузку разрушения образца и гасящими упругую энергию.
Рабочее пространство при проведении испытаний должно быть ограждено металлическими сетками с целью предотвращения разлетания осколков бетона при разрушении образца.
4.8. Лица, допущенные к проведению испытаний, должны пройти курс обучения, включающий изучение настоящего стандарта, правил эксплуатации испытательных машин (прессов), приборов и аппаратуры, а также инструкции по безопасности труда. Программа обучения должна быть утверждена руководителем организации (предприятия).
5.1. Призменную прочность Rпр вычисляют для каждого образца по формуле
(3)
где Рр - разрушающая нагрузка, измеренная по шкале силоизмерителя пресса (машины);
F - среднее значение площади поперечного сечения образца, определяемое по его линейным размерам по ГОСТ 10180-78.
5.2. Модуль упругости Еб вычисляют для каждого образца при уровне нагрузки, составляющей 30 % от разрушающей, по формуле
где s1 = P1/F - приращение напряжения от условного нуля до уровня внешней нагрузки, равной 30 % от разрушающей;
Р1 - соответствующее приращение внешней нагрузки;
e1y - приращение упруго-мгновенной относительной продольной деформации образца, соответствующее уровню нагрузки P1 = 0,3Рp и замеренное в начале каждой ступени ее приложения, которое определяется по п. 5.4.
В пределах ступени нагружения деформации определяют по линейной интерполяции.
5.3. Коэффициент Пуассона бетона вычисляют для каждого образца при уровне нагрузки, составляющей 30 % разрушающей по формуле
(5)
где e2у - приращение упруго-мгновенной относительной поперечной деформации образца, соответствующее уровню нагрузки Р1 = 0,3 Рр и замеренное в начале каждой ступени ее приложения, которое определяется по п. 5.4.
5.4. Значения e1у и e2у определяют по формулам:
где e1 и e2 - приращения полных относительных продольных и поперечных деформаций образца, соответствующие уровню нагрузки Р1 = 0,3 Рр и замеренные в конце ступени ее приложения;
и
- приращения относительных
продольных и поперечных деформаций
быстронатекающей ползучести,
полученные при
выдержках нагрузки на ступенях нагружения до уровня
нагрузки Р1
= 0,3 Рр.
Приращения относительных продольных и поперечных деформаций вычисляют как среднее арифметическое показаний приборов по четырем граням призмы или трем-четырем образующим цилиндра.
5.5. Значения относительных деформаций определяют по формулам:
(8)
(9)
где Dl1, Dl2 - абсолютные приращения продольной и поперечной деформаций образца, вызванные соответствующим приращением напряжений;
l1, l2 - фиксированные базы измерения продольной и поперечной деформации образца.
При использовании тензорезисторов и других аналогичных приборов, шкалы которых проградуированы в относительных единицах деформаций, величины e1 и e2 определяют непосредственно по шкалам измерительных приборов.
5.6. При определении средних значений призменной прочности, модуля упругости и коэффициента Пуассона в серии образцов предварительно отбраковывают анормальные (сильно отклоняющиеся) результаты испытаний.
Для отбраковки анормальных
результатов в серии из трех образцов сравнивают
значения yl призменной прочности, модуля упругости или коэффициента Пуассона в серии, показавших наибольшие и наименьшие значения этих величин со средними их
значениями в серии
, определенными по формуле (10), и проверяют в соответствии с требованием ГОСТ 10180-78
выполнение условий, приведенных в формулах (6) и (7) указанного стандарта. Если эти требования не выполняются, то поступают в соответствии с требованием ГОСТ 10180-78;
если условия выполняются, то средние значения
призменной прочности бетона, его модуля упругости или коэффициента
Пуассона в серии образцов определяют по формуле
где
- среднее значение указанных величин в
серии образцов данного размера;
yi - значение указанных величин по отдельным образцам;
n - число образцов в серии.
5.7. В журнале результатов испытаний должны быть предусмотрены графы в соответствии с требованиями ГОСТ 10180-78 за исключением значения масштабного коэффициента, поскольку этот коэффициент при определении призменной прочности, модуля упругости и коэффициента Пуассона не требуется.
В журнале результатов испытаний должны быть предусмотрены, кроме того, дополнительные графы:
а) состав бетона, жесткость или подвижность смеси, вид, завод-изготовитель и активность вяжущих, вид заполнителей и добавок;
б) модуль упругости бетона отдельных образцов, МПа;
в) средний модуль упругости бетона в серии образцов, МПа;
г) значение коэффициента Пуассона отдельных образцов;
д) среднее значение коэффициента Пуассона в серии образцов;
е) база измерения деформаций, мм;
ж) тип тензометра, примененный для измерения линейных деформаций образца (цена его деления);
з) температура нагрева;
и) температура и относительная влажность воздуха помещения, в котором производились испытания.
В графе «Примечания» должны быть указаны дефекты образцов, особый характер их разрушения, отбраковка результатов испытаний, ее причины и т.д. в соответствии с требованиями ГОСТ 10180-78.
5.8. Применяемые в стандарте основные термины, обозначения и определения приведены в приложении 5.
1. Насыщение производят методом капиллярного насыщения.
Степень насыщения контролируют по увеличению массы образца путем периодического взвешивания. Образцы выдерживают в ваннах до полного их насыщения жидкостью. За полное насыщение принимают прекращение увеличения массы образца при двух последующих взвешиваниях.
2. Насыщение производят в ваннах, выполненных из материалов химически стойких к воде и нефтепродуктам и другим жидкостям.
При насыщении тяжелыми нефтепродуктами (минеральные масла, мазуты и т.п.) ванны должны обеспечивать размещение в них образцов в горизонтальном положении.
Высота ванны должна быть не менее чем на 20 мм выше верхней поверхности уложенных в них образцов.
Ванна для насыщения легкими нефтепродуктами (бензин, керосин и т.п.) должна иметь герметически закрывающиеся крышки. Рекомендуется в этом случае в качестве ванн использовать фляги вместимостью 40 л с резиновыми прокладками на крышках.
3. Перед насыщением образцы взвешивают, определяют их массу с точностью не менее 0,5 г.
4. Для насыщения тяжелыми нефтепродуктами образцы помещают в ванны в горизонтальном положении на расстоянии не ближе 20 мм друг от друга и заливают соответствующей жидкостью так, чтобы ее уровень в ванне был от 5 до 15 мм. Далее жидкость по мере насыщения образца периодически доливают. При этом ее уровень должен находиться на расстоянии от 9 до 15 мм от границы между пропитанным н непропитанным бетоном. Последний раз жидкость доливают так, чтобы ее уровень был на 3 - 5 мм ниже верхней грани образца.
5. При насыщении легкими нефтепродуктами и водой образцы помещают в ванны и заливают жидкость так, чтобы ее уровень был не менее чем на 10 мм выше верхней грани образцов. Ванны должны быть герметично закрыты крышками.
6. Взвешивание образцов производят при насыщении водой или легкими нефтепродуктами один раз в сутки, а при насыщении тяжелыми нефтепродуктами - один раз в 7 сут.
1. При определении призменной прочности и модуля упругости бетона при нагреве серия должна состоять не менее чем из шести образцов, из которых на трех образцах определяют призменную прочность и модуль упругости бетона при требуемой температуре нагрева бетона и на других трех образцах - призменную прочность и модуль упругости в интервале рабочих температур помещении от 10 до 30 °С.
2. Для проведения испытаний применяют:
камерную электрическую печь для нагрева образцов с опорным столиком и выносными удлинителями (см. черт. 1 рекомендуемого приложения 3);
автоматические потенциометры показывающие и самопишущие типа КСП, ЭПД, ЭПП, ЭМП и другие по ГОСТ 7164-78 и обеспечивающие измерение температуры при нагреве;
термопары хромель-копелевые типа ТХК по ГОСТ 6616-74, обеспечивающие измерение температуры до 600 °С;
термопары хромель-алюмелевые типа ТХА по ГОСТ 6616-74, обеспечивающие измерение температуры до 1300 °С;
потенциометр постоянного тока по ГОСТ 9245-79, предназначенный для измерения э.д.с. термопар;
автоматическое электронное программное регулирующее устройство типа РУ5-01М по ТУ-25-07-942-70, входящее в комплект устройств для регулирования температуры при нагреве.
3. Пресс или машины для испытания должны быть снабжены электрической печью для нагрева образца, приспособлениями для нагрева образца, приспособлениями для измерения деформаций и температуры бетона.
4. Камерная электрическая печь должна обеспечивать нагрев образца по заданному режиму до требуемой температуры с равномерным нагревом бетона в зоне замера деформаций. Перепад температуры в печи в пределах зоны замера деформаций не должен превышать 10 °С при нагреве до 300 °С, 20 °С - при нагреве выше 300 до 600 °С, 30 °С - при нагреве выше 600 до 900 °С и 40 °С - при нагреве выше 900 °С.
5. Между оголовниками и торцами образца прокладывают теплоизоляцию из асбестового картона толщиной 6 мм при нагреве до 300 °С, 10 мм - при нагреве выше 300 до 600 °С и 15 мм - при нагреве выше 600 °С.
6. Выносные удлинители должны строго фиксировать базу замера деформаций и обеспечивать измерение деформаций бетона в нагретом состоянии. Для этих целей удлинители диаметром 4 - 6 мм изготовляют из инвара при нагреве до 200 °С и из нихрома при нагреве выше 200 °С.
7. Термопары устанавливают посредине базы замера деформаций бетона в центре сечения образца и на боковой поверхности посредине каждой грани призмы или в четырех взаимно перпендикулярных направлениях цилиндра. Термопару для регулирования температуры устанавливают также в рабочее пространство камерной печи.
8. Определение призменной прочности и модуля упругости бетона при нагреве производят по схеме испытания, указанной на черт. 2 рекомендуемого приложения 3.
Испытание образца при кратковременном нагреве производят в сроки, указанные в п. 1.5, если заданием на испытания не установлен другой срок.
9. Для определения призменной прочности и модуля упругости бетона образцы нагревают до требуемой температуры по ГОСТ 10180-78, выдерживают при температуре 4 ч и затем нагружают их ступенями по п. 4.6 при выдержке нагрузки на каждой ступени 15 мин, поддерживая постоянно требуемую температуру нагрева.
10. Относительную упругомгновенную деформацию бетона при нагреве e1у определяют по формуле 4 настоящего стандарта.
11. По результатам испытаний на модуль упругости бетона при различных температурах нагрева определяют коэффициент b, учитывающий снижение модуля упругости бетона при нагреве, по формуле
(1)
где
- средний модуль
упругости бетона серии образцов при требуемой температуре нагрева;
- средний модуль упругости
бетона в интервале рабочих температур помещения от 10 до 30 °С.
12. Значение ожидаемой разрушающей нагрузки для каждой температуры нагрева определяют по п. 4.3.
13. Коэффициент снижения призменной прочности бетона mбt при нагреве до требуемой температуры определяют по формуле
(2)
где
- средняя призменная прочность бетона для серии образцов при требуемой температуре
нагрева;
- средняя призменная прочность бетона в интервале рабочих температур помещения от 10 до 30 °С.
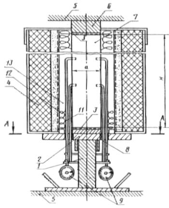
Камерная электрическая печь для проведения, испытаний образца-призмы (а) и образца-цилиндра (б) при нагреве

1 - металлический кожух; 2 - муфель из жаростойкого раствора с нагревателем из проволоки повышенным омическим сопротивлением; 3 - теплоизоляция, а - размер стороны призмы или диаметра цилиндра; Н - высота образца.
Черт. 1
Схема испытания образца-призмы (а) и образца-цилиндра (б) в нагретом состоянии

1 - опорный столик; 2 - съемная опорная плита столика с приваренным к ней оголовником; 3 - теплоизоляция из асбеста; 4 - электрическая печь; 5 - опорная плита; 6 - плита-вставка; 7 - образец; 8 - выносные удлинители; 9 - индикаторы; 10 - отверстия в съемной опорной плите для пропуска удлинителей; 11 - фиксатор для установки печи; 12 - теплоизоляция из ваты; 13 - термопара в рабочем пространстве печи.
Черт. 2
Выносные удлинители 8 пропускают через отверстия 10 в съемной плите опорного столика 2 и устанавливают образец 5, к которому крепят удлинители.
Для крепления удлинителей на гранях образца высверливают отверстия диаметром на 1 - 2 мм больше диаметра выносного удлинителя и глубиной 10 - 12 мм. В отверстия вставляют загнутые концы удлинителей и заделывают их жаростойким раствором на жидком стекле с кремнефтористым натрием и тонкомолотым шамотом.
При испытании образец 7 устанавливают центрально по разметке плиты пресса, опускают электрическую печь 4 на съемную плиту опорного столика 2, устанавливают термопару 13 в рабочее пространство печи. Рабочее пространство печи у торцов образца заполняют теплоизоляцией 12 из шлаковой, кварцевой или каолиновой ваты.
Закрепляют индикаторы 9 и проверяют их работоспособность.
|
Номер ступени нагрузки |
Время приложения ступени нагрузки, мин |
Нагрузка на образец, МПа |
Показание приборов при измерениях продольных (поперечных) деформаций Dl×103 мм (e×105) |
Среднее приращение Dl×103 мм (e×105) |
||||||||
|
1 |
2 |
3 |
4 |
продольных деформаций |
поперечных деформаций |
|||||||
|
отсчет |
приращение |
отсчет |
приращение |
отсчет |
приращение |
отсчет |
приращение |
|||||
|
1 |
2 |
3 |
4 |
5 |
6 |
7 |
8 |
9 |
10 |
11 |
12 |
13 |
|
0 |
|
|
|
|
|
|
|
|
|
|
|
|
|
» |
|
|
|
|
|
|
|
|
|
|
|
|
|
1 |
|
|
|
|
|
|
|
|
|
|
|
|
|
» |
|
|
|
|
|
|
|
|
|
|
|
|
|
2 |
|
|
|
|
|
|
|
|
|
|
|
|
|
» |
|
|
|
|
|
|
|
|
|
|
|
|
|
3 |
|
|
|
|
|
|
|
|
|
|
|
|
|
» |
|
|
|
|
|
|
|
|
|
|
|
|
|
4 |
|
|
|
|
|
|
|
|
|
|
|
|
|
» |
|
|
|
|
|
|
|
|
|
|
|
|
|
5 |
|
|
|
|
|
|
|
|
|
|
|
|
|
» |
|
|
|
|
|
|
|
|
|
|
|
|
|
6 |
|
|
|
|
|
|
|
|
|
|
|
|
|
» |
|
|
|
|
|
|
|
|
|
|
|
|
|
7 |
|
|
|
|
|
|
|
|
|
|
|
|
|
» |
|
|
|
|
|
|
|
|
|
|
|
|
|
8 |
|
|
|
|
|
|
|
|
|
|
|
|
|
» |
|
|
|
|
|
|
|
|
|
|
|
|
|
9 |
|
|
|
|
|
|
|
|
|
|
|
|
|
» |
|
|
|
|
|
|
|
|
|
|
|
|
|
10 |
|
|
|
|
|
|
|
|
|
|
|
|
|
» |
|
|
|
|
|
|
|
|
|
|
|
|
«________» _______________ 198 ___ г. Руководитель _______________
|
Термин |
Обозначение |
Размерность |
Определение |
|
Модуль упругости бетона |
Еб |
МПа |
Коэффициент пропорциональности между нормальным напряжением и соответствующей ему относительной продольной упругомгновенной деформацией при s1 = 0,3 Rпр при осевом сжатии образца |
|
Коэффициент Пуассона |
m |
- |
Коэффициент пропорциональности между абсолютными значениями относительной продольной e1у и поперечной e2у упругомгновенными деформациями при s1 = 0,3 Rпр при осевом сжатии образца |
|
Призменная прочность |
Rпр |
МПа |
Отношение разрушающей осевой сжимающей силы образца призмы стандартных размеров к площади его сечения, нормального к этой силе |
|
Приращение абсолютной продольной (поперечной) деформации образца |
Dl1, Dl2 |
мм |
Полное укорочение (удлинение) линейных абсолютных размеров образца в пределах базы измерения деформации вдоль (поперек) образующей, вызванное осевой сжимающей силой |
|
Относительная продольная (поперечная) деформация образца |
e1, e2 |
- |
Полное укорочение (удлинение) линейных относительных размеров образца в пределах базы измерения деформации вдоль (поперек) образующей, вызванное осевой сжимающей силой |
|
Относительная упругомгновенная продольная (поперечная) деформация образца |
e1у, e2у |
- |
Упругомгновенное укорочение (удлинение) линейных относительных размеров образца в пределах базы измерения деформации вдоль (поперек) образующей, вызванное осевой сжимающей силой в процессе приложения ступеней нагрузки |
|
Относительная продольная (поперечная) деформация быстронатекающей ползучести |
e1п, e2п |
- |
Укорочение (удлинение) линейных относительных размеров образца в пределах базы измерения деформации вдоль (поперек) образующей, вызванное осевой сжимающей силой в процессе выдержки ступеней нагрузки |
|
База измерения продольных (поперечных) линейных деформаций образца |
l1, l2 |
мм |
Фиксированное расстояние между закрепленными опорами, в пределах которого измеряется продольная (поперечная) деформация образца |
СОДЕРЖАНИЕ