
ГОСУДАРСТВЕННЫЙ СТАНДАРТ СОЮЗА ССР
ПОРОДЫ ГОРНЫЕ
МЕТОД ОПРЕДЕЛЕНИЯ ПРЕДЕЛА ПРОЧНОСТИ ПРИ ИЗГИБЕ
ГОСТ 21153.6-75
ГОСУДАРСТВЕННЫЙ КОМИТЕТ СССР ПО СТАНДАРТАМ
Москва
ГОСУДАРСТВЕННЫЙ СТАНДАРТ СОЮЗА ССР
|
ПОРОДЫ ГОРНЫЕ Метод определения предела прочности при изгибе Rocks. Method for the determination of |
ГОСТ |
Постановлением Государственного комитета стандартов Совета Министров СССР от 25 сентября 1975 г. № 2491 срок действия установлен
с 01.07. 1976 г.
Проверен в 1981 г. Срок действия продлен
до 01.07. 1986 г.
Несоблюдение стандарта преследуется по закону
Настоящий стандарт распространяется на твердые горные породы с коэффициентом крепости по Протодьяконову f не менее 0,5 (прочность при одноосном сжатии не менее 50 - 80 кг/см2) и устанавливает метод определения предела их прочности при изгибе, используемого в технической документации при расчетах и проектировании горных работ, горного оборудования, а также при проведении научно-исследовательских работ.
Стандарт не распространяется на разрушенные и мерзлые горные породы.
Сущность метода заключается в определении разрушающей силы при изгибе образца породы, опирающегося на металлическое кольцо, при воздействии на него вертикальной нагрузки, передаваемой через кольцевой пуансон.
1.1. Общие требования - по ГОСТ 21153.0-75.
2.1. Метод отбора проб - по ГОСТ 21153.0-75.
3.1. Оборудование, инструменты и материалы - по ГОСТ 21153.0-75 со следующим дополнением:
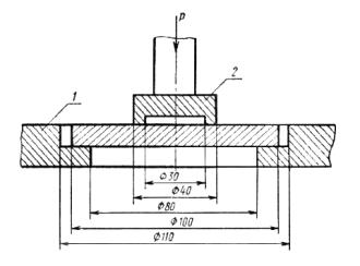
устройство испытательное (см. чертеж), состоящее из стального опорного кольца 1 кольцевого штампа 2.

4.1. Заготовки для образцов получают выбуриванием из проб керна диаметром 90 - 100 мм.
4.2. От полученных заготовок на камнерезной машине отрезают дискообразные образцы толщиной 10 ± 1 мм. Плоские поверхности образцов должны быть параллельны. Отклонения от параллельности, контролируемые индикатором в двух взаимно перпендикулярных направлениях, не должны превышать 0,1 мм по диаметру образца.
5.1. Образец горной породы кладут на опорное кольцо, а сверху на него ставят кольцевой пуансон.
5.2. Отцентрировав испытательное устройство с образцом по вертикальной оси, помещают его между плитами пресса так, чтобы вертикальная ось устройства совмещалась с продольной осью пресса. Отклонения между осями при установке допускается не более 1-2 мм.
5.3. Приводят пресс в действие со скоростью нагружения образца по ГОСТ 21153.0-75. Выбранную скорость нагружения сохраняют до разрушения образца.
5.4. Записывают максимальную величину разрушающей образец силы, зафиксированную силоизмерителем пресса.
6.1. Предел
прочности горной породы при изгибе (
) в кг/см2 вычисляют для каждого испытанного
образца по формуле
,
где Рmax - максимальная разрушающая сила, кг;
h - толщина образца, см.
Для практических расчетов с погрешностью не более 10 % с учетом, что h=1 см, предел прочности при изгибе вычисляют по формуле
.