
ГОСУДАРСТВЕННЫЙ СТАНДАРТ СОЮЗА ССР
ТРУБЫ ОБСАДНЫЕ И МУФТЫ К НИМ
ТЕХНИЧЕСКИЕ УСЛОВИЯ
ГОСТ 632-80
ГОСУДАРСТВЕННЫЙ КОМИТЕТ СССР ПО СТАНДАРТАМ
Москва
ГОСУДАРСТВЕННЫЙ СТАНДАРТ СОЮЗА ССР
|
ТРУБЫ ОБСАДНЫЕ И МУФТЫ К НИМ Технические условия Casing
pipes with couplings. |
ГОСТ |
Срок действия c 01.01.83
В части труб исполнения А с 01.01.84
до 01.01.93
Несоблюдение стандарта преследуется по закону
Настоящий стандарт распространяется на стальные бесшовные трубы с треугольной и трапецеидальной резьбой и муфты к ним, трубы с высокогерметичными соединениями и муфты к ним, а также безмуфтовые раструбные трубы, применяемые для крепления нефтяных и газовых скважин.
(Измененная редакция, Изм. № 4).
1.1. Стандарт предусматривает изготовление труб по точности и качеству двух исполнений (А и Б).
Сортамент труб приведен в табл. 1.
Сортамент труб
Таблица 1
|
Толщина стенки, мм |
Тип соединения |
|||||
|
с треугольной резьбой |
оттм |
оттг |
ТБО |
|||
|
короткой |
удлиненной - У |
|||||
|
Исполнение А |
||||||
|
114 |
5,2 |
Д |
- |
- |
- |
- |
|
5,7 |
Д |
- |
- |
- |
- |
|
|
6,4 |
Д |
ДЕЛМ |
ДЕЛМ |
- |
- |
|
|
7,4 |
- |
ДЕЛМР |
ДЕЛМР |
- |
- |
|
|
8,6 |
- |
ДЕЛМРТ |
ДЕЛМРТ |
ДЕЛМРТ |
- |
|
|
10,2 |
- |
ЛМРТ |
ЛМРТ |
ЛМРТ |
- |
|
|
127 |
5,6 |
д |
- |
- |
- |
- |
|
6,4 |
д |
ДЕЛМ |
ДЕЛМ |
- |
- |
|
|
7,5 |
д |
ДЕЛМРТ |
ДЕЛМРТ |
- |
- |
|
|
9,2 |
- |
ДЕЛМРТ |
ДЕЛМРТ |
ДЕЛМРТ |
ДЕЛМРТ |
|
|
10,2 |
- |
ДЕЛМРТ |
ДЕЛМРТ |
ДЕЛМРТ |
ДЕЛМРТ |
|
|
140 |
6,2 |
д |
- |
Д |
- |
- |
|
7,0 |
д |
ДЕЛМ |
ДЕЛМ |
- |
- |
|
|
7,7 |
д |
ДЕЛМРТ |
ДЕЛМРТ |
- |
- |
|
|
9,2 |
- |
ДЕЛМРТ |
ДЕЛМРТ |
ДЕЛМРТ |
ДЕЛМРТ |
|
|
10,5 |
- |
ДЕЛМРТ |
ДЕЛМРТ |
ДЕЛМРТ |
ДЕЛМРТ |
|
|
146 |
6,5 |
д |
- |
Д |
- |
- |
|
7,0 |
д |
ДЕЛМ |
Д |
- |
- |
|
|
7,7 |
д |
ДЕЛМ |
ДЕЛМ |
- |
- |
|
|
8,5 |
- |
ДЕЛМРТ |
ДЕЛМРТ |
ДЕЛМРТ |
ДЕЛМРТ |
|
|
9,6 |
- |
ДЕЛМРТ |
ДЕЛМРТ |
ДЕЛМРТ |
ДЕЛМРТ |
|
|
10,7 |
- |
ДЕЛМРТ |
ДЕЛМРТ |
ДЕЛМРТ |
ДЕЛМРТ |
|
|
168 |
7,3 |
д |
ДЕ |
ДЕ |
- |
- |
|
8,0 |
ДЕ |
ДЕЛ |
ДЕЛ |
- |
- |
|
|
8,9 |
Д |
ДЕЛМРТ |
ДЕЛМРТ |
ДЕЛМРТ |
ДЕЛМРТ |
|
|
10,6 |
- |
ДЕЛМРТ |
ДЕЛМРТ |
ДЕЛМРТ |
ДЕЛМРТ |
|
|
12,1 |
- |
ДЕЛМРТ |
ДЕЛМРТ |
ДЕЛМРТ |
ДЕЛМРТ |
|
|
178 |
5,9 |
Д |
- |
- |
- |
- |
|
6,9 |
Д |
- |
Д |
- |
- |
|
|
8,1 |
Д |
ДЕЛ |
ДЕЛ |
- |
- |
|
|
9,2 |
Д |
ДЕЛМРТ |
ДЕЛМРТ |
ДЕЛМРТ |
ДЕЛМРТ |
|
|
10,4 |
- |
ДЕЛМРТ |
ДЕЛМРТ |
ДЕЛМРТ |
ДЕЛАЮТ |
|
|
11,5 |
- |
ДЕЛМРТ |
ДЕЛМРТ |
ДЕЛМРТ |
ДЕЛМРТ |
|
|
12,7 |
- |
ДЕЛМРТ |
ДЕЛМРТ |
ДЕЛМРТ |
ДЕЛМРТ |
|
|
13,7 |
- |
ЕЛМРТ |
ЕЛМРТ |
ЕЛМРТ |
ЕЛМРТ |
|
|
15,0 |
- |
ЛМРТ |
ЛМРТ |
ЛМРТ |
ЛМРТ |
|
|
194 |
7,6 |
д |
- |
Д |
- |
- |
|
8,3 |
д |
ДЕЛМРТ |
ДЕЛМРТ |
- |
- |
|
|
9,3 |
- |
ДЕЛМРТ |
ДЕЛМРТ |
ДЕЛМРТ |
ДЕЛМРТ |
|
|
10,9 |
- |
ДЕЛМРТ |
ДЕЛМРТ |
ДЕЛМРТ |
ДЕЛМРТ |
|
|
12,7 |
- |
ДЕЛМРТ |
ДЕЛМРТ |
ДЕЛМРТ |
ДЕЛМРТ |
|
|
16,1 |
- |
ЛМРТ |
ЛМРТ |
ЛМРТ |
ЛМРТ |
|
|
219 |
6,7 |
Д |
- |
- |
- |
- |
|
7,7 |
д |
- |
Д |
- |
- |
|
|
8,9 |
д |
ДЕЛМ |
ДЕЛМ |
ДЕЛМ |
- |
|
|
10,2 |
д |
ДЕЛМР |
ДЕЛМР |
ДЕЛМР |
- |
|
|
11,4 |
- |
ДЕЛМРТ |
ДЕЛМРТ |
ДЕЛМРТ |
- |
|
|
12,7 |
- |
ДЕЛМРТ |
ДЕЛМРТ |
ДЕЛМРТ |
- |
|
|
14,2 |
- |
ЕЛМРТ |
ЕЛМРТ |
ЕЛМРТ |
- |
|
|
245 |
7,9 |
д |
- |
Д |
- |
- |
|
8,9 |
д |
ДЕЛМ |
ДЕЛМ |
ДЕЛМ |
- |
|
|
10,0 |
д |
ДЕЛМР |
ДЕЛМР |
ДЕЛМР |
- |
|
|
11,1 |
- |
ДЕЛМРТ |
ДЕЛМРТ |
ДЕЛМРТ |
- |
|
|
12,0 |
- |
ДЕЛМРТ |
ДЕЛМРТ |
ДЕЛМРТ |
- |
|
|
13,8 |
- |
ДЕЛМРТ |
ДЕЛМРТ |
ДЕЛМРТ |
- |
|
|
15,9 |
- |
ЛМРТ |
ЛМРТ |
ЛМРТ |
- |
|
|
273 |
7,1 |
д |
- |
- |
- |
- |
|
8,9 |
ДЕЛМ |
- |
ДЕЛМ |
ДЕЛМ |
- |
|
|
10,2 |
ДЕЛМР |
- |
ДЕЛМР |
ДЕЛМР |
- |
|
|
11,4 |
ДЕЛМР |
- |
ДЕЛМР |
ДЕЛМР |
- |
|
|
12,6 |
ДЕЛМРТ |
- |
ДЕЛМРТ |
ДЕЛМРТ |
- |
|
|
13,8 |
ДЕЛМРТ |
- |
ДЕЛМРТ |
ДЕЛМРТ |
- |
|
|
15,1 |
ЕЛМРТ |
- |
ЕЛМРТ |
ЕЛМРТ |
- |
|
|
16,5 |
ЛМРТ |
- |
ЛМРТ |
ЛМРТ |
- |
|
|
299 |
8,5 |
Д |
- |
Д |
- |
- |
|
9,5 |
Д |
- |
Д |
- |
- |
|
|
11,1 |
ДЕЛМ |
- |
ДЕЛМ |
- |
- |
|
|
12,4 |
ДЕЛМРТ |
- |
ДЕЛМРТ |
- |
- |
|
|
14,8 |
ЕЛМРТ |
- |
ЕЛМРТ |
- |
- |
|
|
324 |
8,5 |
Д |
- |
- |
- |
- |
|
9,5 |
ДЕЛ |
- |
ДЕЛ |
- |
- |
|
|
11,0 |
ДЕЛМ |
- |
ДЕЛМ |
- |
- |
|
|
12,4 |
ДЕЛМРТ |
- |
ДЕЛМРТ |
- |
- |
|
|
14,0 |
ДЕЛМРТ |
- |
ДЕЛМРТ |
- |
- |
|
|
340 |
8,4 |
д |
- |
- |
- |
- |
|
9,7 |
ДЕЛ |
- |
ДЕЛ |
- |
- |
|
|
10,9 |
ДЕЛ |
- |
ДЕЛ |
- |
- |
|
|
12,2 |
ДЕЛМ |
- |
ДЕЛМ |
- |
- |
|
|
13,1 |
ДЕЛМРТ |
- |
ДЕЛМРТ |
- |
- |
|
|
11,0 |
ДЕЛМРТ |
- |
ДЕЛМРТ |
- |
- |
|
|
15,4 |
ЛМРТ |
- |
ЛМРТ |
- |
- |
|
|
351 |
9,0 |
Д |
- |
- |
- |
- |
|
10,0 |
ДЕЛ |
- |
- |
- |
- |
|
|
11,0 |
ДЕЛМ |
- |
- |
- |
- |
|
|
12,0 |
ДЕЛМ |
- |
- |
- |
- |
|
|
377 |
9,0 |
Д |
- |
- |
- |
- |
|
10,0 |
ДЕ |
- |
- |
- |
- |
|
|
11,0 |
ДЕЛ |
- |
- |
- |
- |
|
|
12,0 |
ДЕЛ |
- |
- |
- |
- |
|
|
406 |
9,5 |
Д |
- |
- |
- |
- |
|
11,1 |
ДЕ |
- |
- |
- |
- |
|
|
12,6 |
ДЕ |
- |
- |
- |
- |
|
|
16,7 |
ДЕ |
- |
- |
- |
- |
|
|
426 |
10,0 |
Д |
- |
- |
- |
- |
|
11,0 |
ДЕ |
- |
- |
- |
- |
|
|
12,0 |
ДЕ |
- |
- |
- |
- |
|
|
473 |
11,1 |
Д |
- |
- |
- |
- |
|
508 |
11,1 |
Д |
- |
- |
- |
- |
|
12,7 |
Д |
- |
- |
- |
- |
|
|
16,1 |
Д |
- |
- |
- |
- |
|
|
Исполнение Б |
||||||
|
114 |
6,4 |
ДКЕ |
- |
- |
- |
- |
|
7,4 |
ДКЕ |
ДКЕЛ |
ДКЕЛМР |
- |
- |
|
|
8,6 |
ДКЕЛМРТ |
ДКЕЛМРТ |
ДКЕЛМРТ |
ДКЕЛМРТ |
- |
|
|
127 |
6,4 |
ДКЕ |
- |
- |
- |
- |
|
7,5 |
ДКЕЛ |
ДКЕЛ |
ДКЕЛМРТ |
- |
- |
|
|
9,2 |
ДКЕЛМРТ |
ДКЕЛМРТ |
ДКЕЛМРТ |
ДКЕЛМРТ |
ДКЕЛМРТ |
|
|
140 |
6,2 |
ДКЕ |
- |
- |
- |
- |
|
7,0 |
ДКЕ |
ДКЕ |
ДКЕ |
- |
- |
|
|
7,7 |
ДКЕЛ |
ДКЕЛМРТ |
ДКЕЛМРТ |
- |
- |
|
|
9,2 |
ДКЕЛМРТ |
ДКЕЛМРТ |
ДКЕЛМРТ |
ДКЕЛМРТ |
ДКЕЛМРТ |
|
|
10,5 |
ДКЕЛМРТ |
ДКЕЛМРТ |
ДКЕЛМРТ |
ДКЕЛМРТ |
ДКЕЛМРТ |
|
|
146 |
6,5 |
ДКЕ |
- |
- |
- |
- |
|
7,0 |
ДКЕ |
ДКЕЛ |
ДКЕ |
- |
- |
|
|
7,7 |
ДКЕ |
ДКЕЛ |
ДКЕЛМРТ |
- |
- |
|
|
8,5 |
ДКЕЛМРТ |
ДКЕЛМРТ |
ДКЕЛМРТ |
- |
- |
|
|
9,5 |
ДКЕЛМРТ |
ДКЕЛМРТ |
ДКЕЛМРТ |
ДКЕЛМРТ |
ДКЕЛМРТ |
|
|
10,7 |
ДКЕЛМРТ |
ДКЕЛМРТ |
ДКЕЛМРТ |
ДКЕЛМРТ |
ДКЕЛМРТ |
|
|
168 |
7,3 |
ДКЕЛ |
- |
- |
- |
- |
|
8,0 |
ДКЕ |
ДКЕЛ |
ДКЕЛ |
- |
- |
|
|
8,9 |
ДКЕЛМРТ |
ДКЕЛМРТ |
ДКЕЛМРТ |
ДКЕЛМРТ |
ДКЕЛМРТ |
|
|
10,6 |
ДКЕЛМРТ |
ДКЕЛМРТ |
ДКЕЛМРТ |
ДКЕЛМРТ |
ДКЕЛМРТ |
|
|
12,1 |
ДКЕЛМРТ |
ДКЕЛМРТ |
ДКЕЛМРТ |
ДКЕЛМРТ |
ДКЕЛМРТ |
|
|
178 |
6,9 |
ДКЕ |
- |
- |
- |
- |
|
8,1 |
ДКЕЛ |
ДКЕЛ |
ДКЕЛ |
- |
- |
|
|
9,2 |
ДКЕЛМРТ |
ДКЕЛМРТ |
ДКЕЛМРТ |
ДКЕЛМРТ |
ДКЕЛМРТ |
|
|
10,4 |
ДКЕЛМРТ |
ДКЕЛМРТ |
ДКЕЛМРТ |
ДКЕЛМРТ |
ДКЕЛМРТ |
|
|
11,5 |
ДКЕЛМРТ |
ДКЕЛМРТ |
ДКЕЛМРТ |
ДКЕЛМРТ |
ДКЕЛМРТ |
|
|
12,7 |
ДКЕЛМРТ |
ДКЕЛМРТ |
ДКЕЛМРТ |
ДКЕЛМРТ |
ДКЕЛМРТ |
|
|
194 |
7,6 |
ДКЕ |
- |
- |
- |
- |
|
8,3 |
ДКЕ |
ДКЕЛ |
- |
- |
- |
|
|
9,5 |
ДКЕЛМРТ |
ДКЕЛМРТ |
ДКЕЛМРТ |
ДКЕЛМРТ |
ДКЕЛМРТ |
|
|
10,9 |
ДКЕЛМРТ |
ДКЕЛМРТ |
ДКЕЛМРТ |
ДКЕЛМРТ |
ДКЕЛМРТ |
|
|
12,7 |
ДКЕЛМРТ |
ДКЕЛМРТ |
ДКЕЛМРТ |
ДКЕЛМРТ |
ДКЕЛМРТ |
|
|
219 |
7,7 |
ДКЕ |
- |
ДКЕ |
- |
- |
|
8,9 |
ДКЕЛМ |
ДКЕЛМ |
ДКЕЛМ |
- |
- |
|
|
10,2 |
ДКЕЛМРТ |
ДКЕЛМРТ |
ДКЕЛМРТ |
ДКЕЛМРТ |
- |
|
|
11,4 |
ДКЕЛМРТ |
ДКЕЛМРТ |
ДКЕЛМРТ |
ДКЕЛМРТ |
- |
|
|
12,7 |
ДКЕЛМРТ |
ДКЕЛМРТ |
ДКЕЛМРТ |
ДКЕЛМРТ |
- |
|
|
14,2 |
ДКЕЛМРТ |
ДКЕЛМРТ |
ДКЕЛМРТ |
ДКЕЛМРТ |
- |
|
|
245 |
7,9 |
ДКЕ |
- |
ДКЕ |
- |
- |
|
8,9 |
ДКЕЛМ |
ДКЕЛМ |
ДКЕЛМ |
- |
- |
|
|
10,0 |
ДКЕЛМРТ |
ДКЕЛМРТ |
ДКЕЛМРТ |
ДКЕЛМРТ |
- |
|
|
11,1 |
ДКЕЛМРТ |
ДКЕЛМРТ |
ДКЕЛМРТ |
ДКЕЛМРТ |
- |
|
|
12,0 |
ДКЕЛМРТ |
ДКЕЛМРТ |
ДКЕЛМРТ |
ДКЕЛМРТ |
- |
|
|
13,8 |
ДКЕЛМРТ |
ДКЕЛМРТ |
ДКЕЛМРТ |
ДКЕЛМРТ |
- |
|
|
273 |
7,1 |
ДКЕ |
- |
- |
- |
- |
|
8,9 |
ДКЕ |
- |
ДКЕЛМ |
- |
- |
|
|
10,2 |
ДКЕЛМРТ |
- |
ДКЕЛМРТ |
ДКЕЛМРТ |
- |
|
|
11,4 |
ДКЕЛМРТ |
- |
ДКЕЛМРТ |
ДКЕЛМРТ |
- |
|
|
12,6 |
ДКЕЛМРТ |
- |
ДКЕЛМРТ |
ДКЕЛМРТ |
- |
|
|
13,8 |
ДКЕЛМРТ |
- |
- |
- |
- |
|
|
299 |
8,5 |
ДКЕ |
- |
ДКЕ |
- |
- |
|
9,5 |
ДКЕЛМРТ |
- |
ДКЕЛМ |
- |
- |
|
|
11,1 |
ДКЕЛМРТ |
- |
ДКЕЛМ |
- |
- |
|
|
12,4 |
ДКЕЛМРТ |
- |
ДКЕЛМ |
- |
- |
|
|
14,8 |
ДКЕЛМРТ |
- |
- |
- |
- |
|
|
324 |
9,5 |
ДКЕ |
- |
ДКЕЛМ |
- |
- |
|
11,0 |
ДКЕЛМРТ |
- |
ДКЕЛМ |
- |
- |
|
|
12,4 |
ДКЕЛМРТ |
- |
ДКЕЛМ |
- |
- |
|
|
14,0 |
ДКЕЛМРТ |
- |
- |
- |
- |
|
|
340 |
8,4 |
Д |
- |
- |
- |
- |
|
15,4 |
ЛМРТ |
- |
ЛМРТ |
- |
- |
|
|
351 |
9,0 |
ДК |
- |
- |
- |
- |
|
10,0 |
ДК |
- |
- |
- |
- |
|
|
11,0 |
ДК |
- |
- |
- |
- |
|
|
12,0 |
ДК |
- |
- |
- |
- |
|
|
377 |
9,0 |
ДК |
- |
- |
- |
- |
|
10,0 |
ДК |
- |
- |
- |
- |
|
|
11,0 |
ДК |
- |
- |
- |
- |
|
|
12,0 |
ДК |
- |
- |
- |
- |
|
|
406 |
16,7 |
ДЕ |
- |
- |
- |
- |
|
426 |
10,0 |
ДК |
- |
- |
- |
- |
|
11,0 |
ДК |
- |
- |
- |
- |
|
|
12,0 |
ДК |
- |
- |
- |
- |
|
|
473 |
11,1 |
ДК |
- |
- |
- |
- |
|
508 |
12,7 |
Д |
- |
- |
- |
- |
|
16,1 |
Д |
- |
- |
- |
- |
|
Примечание. По согласованию изготовителя с потребителем трубы могут быть изготовлены с промежуточными и большими значениями толщин стенок.
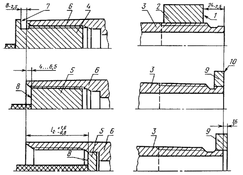
1.2. Размеры и масса труб и муфт к ним должны соответствовать указанным на черт. 1 и в табл. 2 для соединений с короткой треугольной резьбой, на черт. 1 м в табл. 3 для соединений с удлиненной треугольной резьбой - У, на черт. 2 и в табл. 4 для соединений с трапецеидальной резьбой - ОТТМ и на черт. 3 и в табл. 5 для высокогерметичных соединений - ОТТГ. Размеры и масса безмуфтовых раструбных труб - ТБО должны соответствовать указанным на черт. 4 и в табл. 6.
1.1; 1.2 (Измененная редакция, Изм. № 2, 4).
1.3. Трубы исполнения А и Б должны изготовляться длиной от 9,5 до 13 м.
В партии труб с треугольной резьбой и трапецеидальной резьбой - ОТТМ допускается:
до 20 % труб длиной от 8 до 9,5 м и не более 10 % труб длиной от 5 до 8 м при их изготовлении из литой заготовки (слитка);
до 10 % труб длиной от 8 до 9,5 м и не более 5 % труб длиной от 5 до 8 м при их изготовлении из катаной заготовки.
По требованию потребителя допускается изменение количества труб длиной менее 9,5 м в партии, а также изготовление труб длиной менее 5 м.
Трубы с высокогерметичными соединениями - ОТТГ и безмуфтовые раструбные трубы - ТБО изготовляют длиной от 9,5 до 13 м.
Длина трубы определяется расстоянием между ее торцами, а при наличии навинченной муфты - расстоянием от свободного торца муфты до конца сбега резьбы противоположного конца трубы.
Допускается изготовление труб ОТТГ длиной от 8 до 9,5 м в объеме 20 % партии из литой заготовки (слитка).
(Измененная редакция, Изм. № 4).
Черт. 1
Черт. 2
Черт. 3
* Dн - наружный диаметр нормальной муфты;
Dс - наружный диаметр специальной муфты.
Черт. 4
(Измененная редакция, Изм. № 1, 2).
1.4. Предельные отклонения по размерам и массе труб и муфт устанавливают следующие:
а) по наружному диаметру труб:
всех условных диаметров......................................
% (исполнение А);
с условным диаметром до 219 мм включ............ ±1,0 % (исполнение Б);
с условным диаметром свыше 219 мм................. ±1,25 % (исполнение Б).
Концы труб с треугольной резьбой, ОТТМ и ОТТГ, а также ниппельные концы труб ТБО должны выполняться так, чтобы обеспечивать минимальную длину резьбы с полным профилем без черновик, указанную в п. 2.20, и минимальную толщину стенки в плоскости торца трубы, указанную в примечаниях к табл. 13, 14, 17 и 19.
Для раструбных концов труб ТБО допускается увеличение наружного диаметра D на расстоянии (lВmin + D) мм от торца не более чем на 3 мм, а на расстоянии свыше 500 мм от торца предельные отклонения наружного диаметра трубы должны соответствовать указанным в настоящем пункте;
б) по толщине стенки...................................... минус 12,5 %
Плюсовые отклонения ограничиваются массой трубы;
в) по наружному диаметру муфт:
нормальных............................................ ±1,0 %, но не более ±3 мм;
специальных...........................................
мм;
г) по длине муфт.................................... ±3,0 мм;
д) по массе.............................................. для
отдельной трубы -
(исполнение А);
для партии труб (массой не менее 60 т) -
минус 1,75 % (исполнение А),
для
отдельной трубы -
% (исполнение Б).
Примечание. Для труб исполнения А массой менее 60 т предельные отклонения для партии труб не регламентируются.
Таблица 2
Трубы с короткой треугольной резьбой и муфты к ним
Размеры, мм
|
Труба |
Муфта |
||||||
|
Наружный диаметр D |
Толщина стенки s |
Внутренний диаметр d |
Масса 1 м, кг |
Наружный диаметр Dн |
Длина Lм |
Масса, кг |
|
|
114 |
114,3 |
5,2 |
103,9 |
14,0 |
127,0 (133,0) |
158 |
3,7 (5,2) |
|
5,7 |
102,9 |
15,2 |
|||||
|
6,4 |
101,5 |
16,9 |
|||||
|
7,4 |
99,5 |
19,4 |
|||||
|
8,6 |
97,1 |
22,3 |
|||||
|
127 |
127,0 |
5,6 |
115,8 |
16,7 |
141,3 (146,0) |
165 |
4,6 (6,3) |
|
6,4 |
114,2 |
19,1 |
|||||
|
7,5 |
112,0 |
22,1 |
|||||
|
9,2 |
108,6 |
26,7 |
|||||
|
140 |
139,7 |
6,2 |
127,3 |
20,4 |
153,7 (159,0) |
171 |
5,2 (7,0) |
|
7,0 |
125,7 |
22,9 |
|||||
|
7,7 |
124,3 |
25,1 |
|||||
|
9,2 |
121,3 |
29,5 |
|||||
|
10,5 |
118,7 |
33,6 |
|||||
|
146 |
146,1 |
6,5 |
133,1 |
22,3 |
166,0 |
177 |
8,0 |
|
7,0 |
132,1 |
24,0 |
|||||
|
7,7 |
130,7 |
26,2 |
|||||
|
8,5 |
129,1 |
28,8 |
|||||
|
9,5 |
127,1 |
32,0 |
|||||
|
10,7 |
124,7 |
35,7 |
|||||
|
168 |
168,3 |
7,3 |
153,7 |
29,0 |
187,7 |
181 |
9,1 |
|
8,0 |
152,3 |
31,6 |
|||||
|
8,9 |
160,5 |
35,1 |
|||||
|
10,6 |
147,1 |
41,2 |
|||||
|
12,1 |
144,1 |
46,5 |
|||||
|
178 |
177,8 |
5,9 |
166,0 |
24,9 |
194,5 (198,0) |
184 |
8,3 (10,0) |
|
6,9 |
164,0 |
29,1 |
|||||
|
8,1 |
161,6 |
33,7 |
|||||
|
9,2 |
159,4 |
38,2 |
|||||
|
10,4 |
157,0 |
42,8 |
|||||
|
11,5 |
154,8 |
47,2 |
|||||
|
12,7 |
152,4 |
51,5 |
|||||
|
194 |
193,7 |
7,6 |
178,5 |
35,0 |
215,9 |
190 |
12,2 |
|
8,3 |
177,1 |
38,1 |
|||||
|
9,5 |
174,7 |
13,3 |
|||||
|
10,9 |
171,9 |
49,2 |
|||||
|
12,7 |
168,3 |
56,7 |
|||||
|
219 |
219,1 |
6,7 |
205,7 |
35,1 |
244,5 |
196 |
16,2 |
|
7,7 |
203,7 |
40,2 |
|||||
|
8,9 |
201,3 |
46,3 |
|||||
|
10,2 |
198,7 |
52,3 |
|||||
|
11,4 |
196,3 |
58,5 |
|||||
|
12,7 |
193,7 |
64,6 |
|||||
|
142 |
190,7 |
71,5 |
|||||
|
245 |
244,5 |
7,9 |
228,7 |
46,2 |
269,9 |
196 |
17,9 |
|
8,9 |
226,7 |
51,9 |
|||||
|
10,0 |
224,5 |
58,0 |
|||||
|
11,1 |
222,3 |
63,6 |
|||||
|
12,0 |
220,5 |
68,7 |
|||||
|
13,8 |
216,9 |
78,7 |
|||||
|
273 |
273,1 |
7,1 |
258,9 |
46,5 |
298,5 |
203 |
20,7 |
|
8,9 |
295,3 |
57,9 |
|||||
|
10,2 |
252,7 |
65,9 |
|||||
|
11,4 |
250,3 |
73,7 |
|||||
|
12,6 |
247,9 |
80,8 |
|||||
|
13,8 |
245,5 |
88,5 |
|||||
|
15,1 |
242,9 |
96,1 |
|||||
|
16,5 |
240,1 |
104,5 |
|||||
|
299 |
298,5 |
8,5 |
281,5 |
60,5 |
323,9 |
203 |
22,5 |
|
9,5 |
279,5 |
67,9 |
|||||
|
11,1 |
2763 |
78,3 |
|||||
|
12,4 |
273,7 |
87,6 |
|||||
|
14,8 |
268,9 |
103,5 |
|||||
|
324 |
323,9 |
8,5 |
306,9 |
66,1 |
351,0 |
203 |
23,4 |
|
9,5 |
304,9 |
73,6 |
|||||
|
11,0 |
301,9 |
84,8 |
|||||
|
12,4 |
299,1 |
95,2 |
|||||
|
14,0 |
295,9 |
106,9 |
|||||
|
340 |
339,7 |
8,4 |
322,9 |
68,5 |
305,1 |
203 |
25,5 |
|
9,7 |
320,3 |
78,6 |
|||||
|
10,9 |
317,9 |
88,6 |
|||||
|
12,2 |
315,3 |
98,5 |
|||||
|
13,1 |
313,5 |
105,2 |
|||||
|
14,0 |
311,7 |
112,2 |
|||||
|
15,4 |
308,9 |
123,5 |
|||||
|
351 |
351,0 |
9,0 |
333,0 |
75,9 |
376,0 |
229 |
29,0 |
|
10,0 |
331,0 |
81,1 |
|||||
|
11,0 |
329,0 |
92,2 |
|||||
|
12,0 |
327,0 |
100,3 |
|||||
|
377 |
377,0 |
9,0 |
359,0 |
81,7 |
402,0 |
229 |
31,0 |
|
10,0 |
357,0 |
90,5 |
|||||
|
11,0 |
355,0 |
99,3 |
|||||
|
12,0 |
363,0 |
108,0 |
|||||
|
406 |
406,4 |
9,5 |
387,4 |
93,2 |
431,8 |
228 |
35,9 |
|
11,1 |
384,2 |
108,3 |
|||||
|
12,6 |
381,2 |
122,1 |
|||||
|
16,7 |
373,0 |
160,1 |
|||||
|
426 |
426,0 |
10,0 |
406,0 |
102,7 |
451,0 |
229 |
37,5 |
|
11,0 |
404,0 |
112,6 |
|||||
|
12,0 |
402,0 |
122,5 |
|||||
|
473 |
473,1 |
11,1 |
450,9 |
125,9 |
508,0 |
228 |
54,0 |
|
508 |
508,0 |
11,1 |
485,8 |
136,3 |
533,4 |
228 |
44,6 |
|
12,7 |
482,6 |
155,1 |
|||||
|
16,1 |
475,8 |
195,6 |
|||||
Таблица 3
Трубы с удлиненной треугольной резьбой - У и муфты к ним
Размеры, мм
|
Труба |
Муфта |
||||||
|
Наружный диаметр D |
Толщина стенки s |
Внутренний диаметр d |
Масса 1 м, кг |
Наружный диаметр Dн |
Длина Lм |
Масса, кг |
|
|
114 |
114,3 |
6,4 |
101,5 |
16,9 |
127,0 (133,0) |
177 |
4,1 (5,6) |
|
7,4 |
99,5 |
19,4 |
|||||
|
8,6 |
97,1 |
22,3 |
|||||
|
10,2 |
93,9 |
26,7 |
|||||
|
127 |
127,0 |
6,4 |
114,2 |
19,1 |
141,3 (146,0) |
196 |
5,7 (7,0) |
|
7,5 |
112,0 |
22,1 |
|||||
|
9,2 |
108,6 |
26,7 |
|||||
|
10,7 |
105,6 |
30,7 |
|||||
|
140 |
139,7 |
7,0 |
125,7 |
22,9 |
153,7 (159,0) |
203 |
6,4 (8,5) |
|
7,7 |
124,3 |
25,1 |
|||||
|
9,2 |
121,3 |
29,5 |
|||||
|
10,5 |
118,7 |
33,6 |
|||||
|
146 |
146,1 |
7,0 |
132,1 |
24,0 |
166,0 |
215 |
9,7 |
|
7,7 |
130,7 |
26,2 |
|||||
|
8,5 |
129,1 |
28,8 |
|||||
|
9,5 |
127,1 |
32,0 |
|||||
|
10,7 |
124,7 |
35,7 |
|||||
|
168 |
168,3 |
7,3 |
153,7 |
29,0 |
187,7 |
222 |
11,3 |
|
8,0 |
152,3 |
31,6 |
|||||
|
8,9 |
150,5 |
35,1 |
|||||
|
10,6 |
147,1 |
41,2 |
|||||
|
12,1 |
144,1 |
46,5 |
|||||
|
178 |
177,8 |
8,1 |
161,6 |
33,7 |
194,5 (198,0) |
228 |
10,7 (12,4) |
|
9,2 |
159,4 |
38,2 |
|||||
|
10,4 |
157,0 |
42,8 |
|||||
|
11,5 |
154,8 |
47,2 |
|||||
|
12,7 |
152,4 |
5,1,5 |
|||||
|
13,7 |
150,4 |
55,5 |
|||||
|
15,0 |
147,8 |
60,8 |
|||||
|
194 |
193,7 |
8,3 |
177,1 |
36,1 |
215,9 |
235 |
15,5 |
|
9,5 |
174,7 |
43,3 |
|||||
|
10,9 |
171,9 |
49,2 |
|||||
|
12,7 |
168,3 |
56,7 |
|||||
|
15,1 |
163,5 |
66,5 |
|||||
|
219 |
219,1 |
8,9 |
201,3 |
46,3 |
244,5 |
254 |
21,6 |
|
10,2 |
198,7 |
52,3 |
|||||
|
11,4 |
196,3 |
68,5 |
|||||
|
12,7 |
193,7 |
64,6 |
|||||
|
14,2 |
190,7 |
71,5 |
|||||
|
245 |
244,5 |
8,9 |
226,7 |
51,9 |
269,9 |
266 |
25,3 |
|
10,0 |
224,5 |
58,0 |
|||||
|
11,1 |
222,3, |
63,6 |
|||||
|
12,0 |
220,5 |
68,7 |
|||||
|
13,8 |
216,9 |
78,7 |
|||||
|
15,9 |
212,7 |
89,5 |
|||||
Таблица 4
Трубы с трапецеидальной резьбой и муфты к ним - ОТТМ
Размеры, мм
|
Труба |
Муфта |
||||||||
|
Наружный диаметр D |
Толщина стенки s |
Внутренний диаметр d |
Масса 1 м, кг |
Наружный диаметр |
Длина Lм |
Масса, кг |
|||
|
Dн |
Dс |
Dн |
Dс |
||||||
|
114 |
114,3 |
6,4 |
101,5 |
16,9 |
127,0 (133,0) |
123,8 |
170 |
4,0 (5,6) |
3,0 |
|
7,4 |
90,5 |
19,4 |
|||||||
|
8,6 |
97,1 |
22,3 |
|||||||
|
10,2 |
93,9 |
26,7 |
|||||||
|
127 |
127,0 |
6,4 |
114,2 |
19,1 |
141,3 (146,0) |
136,5 |
174 |
4,8 (6,6) |
3,3 |
|
7,5 |
112,0 |
22,1 |
|||||||
|
9,2 |
108,6 |
26,7 |
|||||||
|
10,7 |
105,6 |
30,7 |
|||||||
|
140 |
139,7 |
6,2 |
127,3 |
20,4 |
153,7 (159,0) |
149,2 |
182 |
5,3 (7,3) |
4,1 |
|
7,0 |
125,7 |
22,9 |
|||||||
|
7,7 |
124,3 |
25,1 |
|||||||
|
9,2 |
121,3 |
29,5 |
|||||||
|
10,5 |
118,7 |
33,6 |
|||||||
|
146 |
146,1 |
5 |
133,1 |
22,3 |
166 |
156 |
182 |
7,9 |
4,4 |
|
7,0 |
132,1 |
24,0 |
|||||||
|
7,7 |
130,7 |
26,2 |
|||||||
|
8,5 |
129,1 |
28,8 |
|||||||
|
9,5 |
127,1 |
32,0 |
|||||||
|
10,7 |
124,7 |
35,7 |
|||||||
|
168 |
168,3 |
7,3 |
153,7 |
29,0 |
187,7 |
177,8 |
190 |
9,5 |
4,8 |
|
8,0 |
152,3 |
31,6 |
|||||||
|
8,9 |
150,5 |
35,1 |
|||||||
|
10,6 |
147,1 |
41,2 |
|||||||
|
12,1 |
144,1 |
46,5 |
|||||||
|
178 |
177,8 |
6,9 |
161,0 |
29,1 |
194,5 (198,0) |
187,3 |
198 |
8,6 (10,5) |
5,3 |
|
8,1 |
161,6 |
33,7 |
|||||||
|
9,2 |
159,4 |
38,2 |
|||||||
|
10,4 |
157,0 |
42,8 |
|||||||
|
11,5 |
151,8 |
47,2 |
|||||||
|
12,7 |
152,1 |
51,5 |
|||||||
|
13,7 |
150,4 |
55,5 |
|||||||
|
15,0 |
147,8 |
60,8 |
|||||||
|
194 |
193,7 |
7,6 |
178,5 |
35,0 |
215,9 |
206,4 |
206 |
13,4 |
8,0 |
|
8,3 |
177,1 |
38,1 |
|||||||
|
9,5 |
174,7 |
43,3 |
|||||||
|
10,9 |
171,9 |
49,2 |
|||||||
|
12,7 |
168,3 |
55,7 |
|||||||
|
15,1 |
163,5 |
66,5 |
|||||||
|
219 |
219,1 |
7,7 |
203,7 |
40,2 |
214,5 |
231,8 |
218,0 |
18,0 |
9,6 |
|
8,9 |
201,3 |
46,3 |
|||||||
|
10,2 |
198,7 |
52,3 |
|||||||
|
11,4 |
196,3 |
58,5 |
|||||||
|
12,7 |
193,7 |
64,6 |
|||||||
|
14,2 |
190,7 |
71,5 |
|||||||
|
245 |
244,5 |
7,9 |
228,7 |
46,2 |
269,9 |
257,2 |
218 |
19,9 |
10,7 |
|
8,9 |
226,7 |
51,9 |
|||||||
|
10,0 |
224,5 |
58,0 |
|||||||
|
11,1 |
222,3 |
63,6 |
|||||||
|
12,0 |
220,5 |
68,7 |
|||||||
|
13,8 |
216,9 |
78,7 |
|||||||
|
15,9 |
212,7 |
89,5 |
|||||||
|
273 |
273,1 |
8,9 |
255,3 |
57,9 |
298,5 |
285,8 |
218 |
22,2 |
12,0 |
|
10,2 |
252,7 |
65,9 |
|||||||
|
11,4 |
250,3 |
73,7 |
|||||||
|
12,6 |
247,9 |
80,8 |
|||||||
|
13,8 |
245,5 |
88,5 |
|||||||
|
15,1 |
242,9 |
96,1 |
|||||||
|
16,5 |
240,1 |
104,5 |
|||||||
|
299 |
298,5 |
8,5 |
281,5 |
60,5 |
323,9 |
- |
218 |
24,1 |
- |
|
9,5 |
279,5 |
67,9 |
|||||||
|
11,1 |
276,3 |
78,3 |
|||||||
|
12,4 |
273,7 |
87,6 |
|||||||
|
14,8 |
268,9 |
103,5 |
|||||||
|
324 |
323,9 |
8,5 |
306,9 |
66,1 |
351,0 |
- |
218 |
26,1 |
- |
|
9,5 |
304,9 |
73,6 |
|||||||
|
11,0 |
301,9 |
84,8 |
|||||||
|
12,1 |
299,1 |
95,2 |
|||||||
|
14,0 |
295,9 |
106,9 |
|||||||
|
340 |
339,7 |
9,7 |
320,3 |
78,6 |
365,1 |
- |
218 |
27,3 |
- |
|
10,9 |
317,9 |
88,6 |
|||||||
|
12,2 |
312,3 |
98,5 |
|||||||
|
13,1 |
313,5 |
105,2 |
|||||||
|
14,0 |
311,7 |
112,2 |
|||||||
|
15,4 |
308,9 |
123,5 |
|||||||
Таблица 5
Трубы с высокогерметичными соединениями и муфты к ним - ОТТГ
|
Труба |
Муфта |
|||||||||
|
Наружный диаметр D, мм |
Толщина стенки S, мм |
Внутренний диаметр d, мм |
Масса 1 м, кг |
Наружный диаметр |
Длина Lм, мм |
Внутренний диаметр dм (пред. откл. |
Масса, кг |
|||
|
Дн, мм |
Дс, мм |
Дн |
Дс |
|||||||
|
114 |
114,3 |
8,6 |
97,1 |
22,3 |
127,0 (133,0) |
123,8 |
205 |
97 |
4,8 (6,8) |
3,9 |
|
10,2 |
93,9 |
26,7 |
97 |
|||||||
|
127 |
127,0 |
9,2 |
108,6 |
26,7 |
141,3 (146,0) |
136,5 |
210 |
110 |
5,8 (7,9) |
4,4 |
|
10,7 |
105,6 |
30,7 |
110 |
|||||||
|
140 |
139,7 |
9,2 |
121,3 |
29,5 |
153,7 (159,0) |
149,2 |
218 |
122 |
7,0 (9,1) |
5,0 |
|
10,5 |
118,7 |
33,6 |
119 |
|||||||
|
8,5 |
129,1 |
28,8 |
130 |
|||||||
|
146 |
146,1 |
9,5 |
127,1 |
32,0 |
106,0 |
156,0 |
218 |
130 |
9,5 |
5,2 |
|
10,7 |
124,7 |
35,17 |
126 |
|||||||
|
8,9 |
150,5 |
30,1 |
151 |
|||||||
|
168 |
168,3 |
10,6 |
147,1 |
41,2 |
187,7 |
177,8 |
225 |
148 |
11,3 |
6,2 |
|
12,1 |
144,1 |
46,5 |
148 |
|||||||
|
9,2 |
159,4 |
38,2 |
160 |
|||||||
|
178 |
177,8 |
10,4 |
157,0 |
42,8 |
194,5 (198,0) |
187,3 |
234 |
158 |
10,6 (13,9) |
6,8 |
|
11,5 |
154,8 |
47,2 |
158 |
|||||||
|
12,7 |
162,4 |
51,5 |
158 |
|||||||
|
13,7 |
150,4 |
55,5 |
158 |
|||||||
|
15,0 |
148,0 |
60,8 |
158 |
|||||||
|
194 |
193,7 |
9,5 |
174,7 |
43,3 |
215,9 |
206,4 |
242 |
1715 |
15,7 |
9,4 |
|
10,9 |
171,9 |
49,2 |
175 |
|||||||
|
12,7 |
168,3 |
56,7 |
172 |
|||||||
|
15,1 |
163,5 |
66,5 |
172 |
|||||||
|
219 |
219,1 |
8,9 |
201,3 |
46,3 |
244,5 |
231,8 |
254 |
203 |
21,6 |
11,9 |
|
10,2 |
198,7 |
52,3 |
203 |
|||||||
|
11,4 |
196,3 |
58,5 |
198 |
|||||||
|
12,7 |
193,7 |
64,6 |
198 |
|||||||
|
14,2 |
190,7 |
71,5 |
198 |
|||||||
|
245 |
244,5 |
8,9 |
226,7 |
51,9 |
269,9 |
257,2 |
254 |
226 |
23,9 |
13,2 |
|
10,0 |
224,5 |
58,0 |
223 |
|||||||
|
11,1 |
222,3 |
63,6 |
223 |
|||||||
|
12,0 |
220,5 |
68,7 |
223 |
|||||||
|
13,8 |
216,9 |
78,7 |
223 |
|||||||
|
15,9 |
212,7 |
89,5 |
223 |
|||||||
|
273 |
273,1 |
8,9 |
255,3 |
57,9 |
298,5 |
285,8 |
254 |
256 |
26,7 |
14,8 |
|
10,2 |
252,7 |
65,9 |
256 |
|||||||
|
11,4 |
250,3 |
73,7 |
256 |
|||||||
|
12,6 |
247,9 |
80,8 |
256 |
|||||||
|
13,8 |
245,5 |
88,5 |
256 |
|||||||
|
16,1 |
242,9 |
96,1 |
256 |
|||||||
|
16,5 |
240,1 |
104,5 |
256 |
|||||||
Примечания:
1. Если значения наружного диаметра и масса муфты для исполнения А и Б отличаются, то для исполнения Б эти значения представлены в скобках (табл. 2 - 5).
2. Муфты специальные с уменьшенным наружным диаметром (Дс) изготовляются только исполнения А (табл. 4 и 5).
(Измененная редакция, Изм. № 4).
Таблица 6
Трубы безмуфтовые раструбные - ТБО
Размеры, мм
|
Наружный диаметр D |
Толщина стенки s |
Внутренний диаметр d |
Наружный диаметр высаженной части раструбного конца Dн (пред. откл. ±0,5) |
Длина высаженной части раструбного конца lВmin |
Масса 1 м, кг |
Уменьшение массы одной трубы, обусловленное отделкой концов, кг |
|
|
127 |
127,0 |
9,2 |
108,6 |
136 |
104 |
22,0 |
0,2 |
|
10,7 |
105,6 |
26,7 |
0,6 |
||||
|
140 |
139,7 |
9,2 |
121,3 |
154 |
108 |
29,5 |
0,5 |
|
10,5 |
118,7 |
33,6 |
0,8 |
||||
|
146 |
146,1 |
8,5 |
129,1 |
162 |
108 |
28,8 |
0,1 |
|
9,5 |
127,1 |
32,0 |
0,4 |
||||
|
10,7 |
124,7 |
35,7 |
0,7 |
||||
|
168 |
168,3 |
8,9 |
150,5 |
178 |
112 |
35,1 |
0,0 |
|
10,6 |
147,1 |
41,2 |
0,5 |
||||
|
12,11 |
144,1 |
46,5 |
1,1 |
||||
|
178 |
177,8 |
9,2 |
15,9,4 |
187 |
116 |
38,2 |
0,7 |
|
104 |
157,0 |
42,8 |
1,1 |
||||
|
11,5 |
154,8 |
47,2 |
1,6 |
||||
|
12,7 |
152,4 |
51,5 |
2,2 |
||||
|
13,7 |
150,4 |
55,5 |
2,6 |
||||
|
15,0 |
147,8 |
60,8 |
2,8 |
||||
|
194 |
193,7 |
9,5 |
174,7 |
206 |
120 |
43,3 |
0,0 |
|
10,9 |
171,9 |
49,2 |
0,7 |
||||
|
12,7 |
168,3 |
56,7 |
1,6 |
||||
|
15,1 |
163,5 |
66,5 |
2,8 |
Примечание к табл. 2 - 6. При вычислении массы плотность стали принята равной 7,85 г/см2.
(Измененная редакция, Изм. № 3).
1.5. Не допускается овальность труб исполнения Б, превышающая 0,8 предельных отклонений по наружному диаметру за исключением мест ремонта.
1.6. На концевых участках, равных одной трети длины трубы, не допускается изогнутость более 1,3 мм на 1 м длины. Не допускается общая изогнутость всей трубы (стрела прогиба), замеренная на середине трубы, более 1/2000 длины трубы.
1.7. Условное обозначение труб должно включать тип соединения (кроме труб с короткой треугольной резьбой), условный диаметр трубы, толщину стенки, группу прочности и обозначение настоящего стандарта.
Условное обозначение муфт должно включать тип соединения (кроме муфт к трубам с короткой треугольной резьбой), условный диаметр трубы, группу прочности, вид муфты (для специальных муфт к трубам ОТТМ и ОТТГ) и обозначение настоящего стандарта.
Примеры условных обозначений
Трубы из стали группы прочности Д, с условным диаметром 245 мм, с толщиной стенки 10 мм и муфты к ним:
245´10-Д ГОСТ 632-80 - для труб с короткой треугольной резьбой;
245-Д ГОСТ 632-80 - для муфт к этим трубам;
У-245´10 Д ГОСТ 632-80 - для труб с удлиненной треугольной резьбой;
У-245-Д ГОСТ 632-80 - для муфт к этим трубам;
ОТТМ-245´10-Д ГОСТ 632-80 - для труб с трапецеидальной резьбой;
ОТТМ-245-Д ГОСТ 632-80 - для муфт нормальных к этим трубам;
ОТТМ-245-Д С ГОСТ 632-80 - для муфт специальных (с уменьшенным наружным диаметром) к этим трубам;
ОТТГ-245´10-Д ГОСТ 632-80 - для труб с высокогерметичными соединениями;
ОТТГ-245-Д ГОСТ 632-80 - для муфт нормальных к этим трубам;
ОТТГ-245-Д-С ГОСТ 632-80 - для муфт специальных (с уменьшенным наружным диаметром) к этим трубам.
Трубы безмуфтовые раструбные из стали группы прочности Д, с условным диаметром 168 мм, толщиной стенки 9 мм:
ТБО-168´9 Д ГОСТ 632-80
Примечания:
1. При заказе труб ОТТМ и ОТТГ со специальными муфтами из стали последующих групп прочности в условном обозначении муфт указывается необходимая группа прочности стали.
2. Для труб и муфт исполнения А после обозначения стандарта ставится буква А.
2.1. Трубы и муфты должны изготовляться в соответствии с требованиями настоящего стандарта и по технологическим регламентам, утвержденным в установленном порядке.
2.2. На наружной и внутренней поверхности труб и муфт не должно быть плен, раковин, закатов, расслоений, трещин и песочин.
Допускается вырубка и зачистка указанных дефектов при условии, что их глубина не превышает предельного минусового отклонения по толщине стенки. Заварка, зачеканка или заделка дефектных мест не допускается.
В местах, где толщина стенки может быть замерена непосредственно, глубина дефектных мест может превышать указанную в настоящем пункте величину при условии сохранения минимальной толщины стенки, определяемой как разность между номинальной толщиной стенки трубы и предельным для нее минусовым отклонением.
Допускаются отдельные незначительные забоины, вмятины, риски, тонкий слой окалины и другие дефекты, обусловленные способом производства, если они не выводят толщину стенки за пределы минусовых отклонений.
2.3. Место перехода высаженной части раструбного конца трубы ТБО к ее части с толщиной стенки 5 не должно иметь резких уступов.
На поверхности диаметром Dв на длине lВ min от торца трубы дефекты, указанные в п. 2.2, не допускаются.
На наружной и внутренней поверхности высаженной части раструбного конца на расстоянии свыше lВ min от торца трубы не должно быть более трех дефектных мест (незаполнения металлом и ремонт дефектов), протяженность каждого из которых по окружности не должна быть более 50 мм, шириной - более 20 мм и глубиной - более 2 мм.
Толщина стенки в переходной части раструбного конца не должна быть менее минимально допустимой толщины стенки гладкой части трубы.
2.4. Массовая доля серы и фосфора в стали не должна быть более 0,045 % каждого.
2.5. Трубы и муфты должны изготовляться из стали группы прочности, указанной в табл. 7.
Таблица 7
|
Норма механических свойств для стали групп прочности |
||||||||
|
Д исполнение |
К исполнение Б |
E |
Л |
М |
Р |
Т |
||
|
А |
Б |
|||||||
|
Временное сопротивление sв, не менее, МПа (кгс/см2) |
655 (66,8) |
637 (65,0) |
687 (70,0) |
688 (77,3) |
758 (77,3) |
862 (87,9) |
1000 (101,9) |
1103 (112,5) |
|
Предел текучести sт: |
|
|
|
|
|
|
|
|
|
не менее, МПа (кгс/мм2) |
379 (38,7) |
373 (38,0) |
490 (50,0) |
552 (56,2) |
655 (66,8) |
758 (77,3) |
930 (94,9) |
1034 (105,5) |
|
не более, МПа (кгс/мм2) |
552 (56,2) |
|
- - |
758 (77,3) |
862 (87,9) |
965 (98,4) |
1137 (116,0) |
1241 (126,5) |
|
Относительное удлинение, ds, %, не менее |
14,3 |
16,0 |
12,0 |
13,0 |
12,3 |
10,8 |
9,5 |
8,5 |
Примечание. Для труб из стали группы прочности Д исполнения Б максимальное значение предела текучести не ограничено.
(Измененная редакция, Изм. № 2, 3).
2.6. Трубы и муфты должны изготовлять из стали одной и той же группы прочности. Допускается изготовление трубы с муфтами из стали с более высокими механическими свойствами. По требованию потребителей специальные муфты с уменьшенным наружным диаметром к трубам ОТТМ и ОТТГ должны изготовлять из стали последующих групп прочности с более высокими механическими свойствами.
(Измененная редакция, Изм. № 4).
2.7. Трубы и муфты к ним группы прочности К и выше, должны быть подвергнуты термической или термомеханической обработке.
Трубы ТБО всех групп прочности должны быть подвергнуты термической обработке после высадки раструбного конца.
2.8. Трубы должны выдерживать испытание на сплющивание. Расстояние между параллельными плоскостями после испытания не должно быть более указанного в табл. 8.
2.9. Резьба и уплотнительные конические расточки муфт должны быть оцинкованы или фосфатированы.
2.10. Каждая труба с треугольной резьбой, ОТТМ и OTTГ должна быть снабжена муфтой, закрепленной на муфтонаверточном станке на одном из ее концов.
При свинчивании труб с муфтами должна применяться смазка или другие уплотнители, обеспечивающие герметичность соединения и предохраняющие его от задиров и коррозии.
Таблица 8
|
Отношение диаметра к толщине стенки D/s |
Расстояние между параллельными плоскостями, мм |
|
|
Д |
16 и более |
0,65D |
|
К, Е |
0,70D |
|
|
Л |
0,75D |
|
|
Д |
Менее 16 |
(0,98 - 0,02D/s)D |
|
К, Е |
(1,18 - 0,03D/s)D |
|
|
Л |
(1,23 - 0,03D/s)D |
Примечание. Расстояние между параллельными плоскостями для труб групп прочности М, Р и Т устанавливают по согласованию изготовителя с потребителем.
2.11. С целью предохранения от коррозии наружная поверхность каждой трубы и муфты по требованию потребителя должна быть окрашена.
2.12. Трубы с навинченными муфтами, а также трубы безмуфтовые раструбные должны выдерживать испытание внутренним гидравлическим давлением.
Величины гидравлического давления (р) вычисляют по формулам
(кгс/см2);
(МПа),
где s - номинальная толщина стенки, мм;
D - номинальный наружный диаметр трубы, мм;
R - допускаемое напряжение, кгс/мм2 (МПа).
Для труб исполнения А группы прочности Д допускаемое напряжение R принимают для труб с условным диаметром 273 мм и более равным 0,6sт min и для остальных труб - равным 0,8sт min.
По требованию потребителя для труб исполнения А величина допускаемого напряжения R для труб группы прочности Д с условным диаметром 273 м и более принимается равной 0,8sт min.
Для труб исполнения Б допускаемое напряжение (R) принимают для труб с условным диаметром до 219 мм включительно равным 0,8sт min, а для труб с условным диаметром более 219 мм равным 0,6sт min.
Величины давления для труб с короткой треугольной резьбой с условным диаметром до 245 мм включительно и для всех диаметров труб ОТТГ и ТБО указаны в табл. 9 (исполнение А).
Для труб с короткой треугольной резьбой с условным диаметром более 245 мм, для всех диаметров труб с удлиненной треугольной резьбой и труб ОТТМ, у которых давление ограничивается прочностью муфт (табл. 10), за величину давления принимается меньшее значение из указанных в табл. 9 и 10 (исполнение А). Величины испытательных гидравлических давлений (для исполнения Б) указаны в табл. 10а.
Величины давления для труб, ограниченные прочностью муфт вычисляют по формуле
(кгс/см2);
(МПа),
где Dм - номинальный наружный диаметр нормальной и специальной муфты, мм;
sт min - минимальный предел текучести, кгс/мм2 (МПа);
dp - наружный диаметр резьбы муфты в плоскости торца трубы после свинчивания на станке, мм, определяемый по формуле
dp = d3 + 2h1 - LK,
где d3 - внутренний диаметр резьбы в плоскости торца муфты, мм;
h1 - высота профиля, мм;
L - общая длина резьбы трубы (до конца сбега), мм;
К - конусность резьбы.
Таблица 9
Величины испытательных гидравлических давлений труб исполнения А
|
Толщина стенки, мм |
Давление для труб из стали группы прочности, МПа (кгс/см2) |
||||||
|
Д |
E |
Л |
М |
Р |
Т |
||
|
114 |
5,2 |
27,5 (280) |
- |
- |
- |
- |
- |
|
5,7 |
30,4 (310) |
- |
- |
- |
- |
- |
|
|
6,4 |
33,8 (345) |
49,5 (505) |
58,7 (600) |
67,7 (690) |
- |
- |
|
|
7,4 |
39,2 (400) |
56,9 (580) |
67,7 (690) |
78,5 (800) |
96,1 (980) |
- |
|
|
8,6 |
45,6 (465) |
66,2 (675) |
79,0 (805) |
91,2 (930) |
114,8 (1140) |
122,6 (1250) |
|
|
10,2 |
- |
- |
93,7 (955) |
108,4 (1105) |
122,6 (1250) |
122,6 (1250) |
|
|
127 |
5,6 |
27,0 (275) |
- |
- |
- |
- |
- |
|
6,4 |
30,4 (310) |
44,6 (455) |
53,0 (540) |
61,3 (625) |
- |
- |
|
|
7,5 |
35,8 (365) |
52,0 (530) |
61,8 (630) |
71,6 (730) |
87,8 (895) |
97,6 (995) |
|
|
9,2 |
44,1 (450) |
63,8 (650) |
76,0 (775) |
87,8 (895) |
107,9 (1100) |
119,7 (1220) |
|
|
10,7 |
51,0 (520) |
74,6 (760) |
88,3 (900) |
102,0 (1040) |
122,6 (1250) |
122,6 (1250) |
|
|
140 |
6,2 |
27,0 (275) |
- |
- |
- |
- |
- |
|
7,0 |
30,4 (310) |
44,2 (450) |
52,5 (535) |
60,8 (620) |
- |
- |
|
|
7,7 |
33,8 (345) |
48,6 (495) |
57,9 (590) |
66,9 (680) |
82,1 (835) |
91,2 (930) |
|
|
9,2 |
40,2 (410) |
57,9 (590) |
60,2 (705) |
80,0 (815 |
98,1 (1000) |
108,9 (1110) |
|
|
10,5 |
45,6 (465) |
66,3 (675) |
79,0 (805) |
91,2 (930) |
111,8 (1140) |
122,6 (1250) |
|
|
146 |
6,5 |
27,0 (275) |
- |
- |
- |
- |
- |
|
7,0 |
29,4 (300) |
42,1 (430) |
50,0 (510) |
58,3 (595) |
- |
- |
|
|
7,7 |
32,4 (330) |
46,6 (475) |
55,4 (565) |
64,3 (655) |
- |
- |
|
|
8,5 |
35,3 (360) |
51,5 (525) |
61,3 (625) |
70,6 (720) |
86,8 (885) |
96,6 (985) |
|
|
9,5 |
39,7 (405) |
57,9 (590) |
68,2 (695) |
79,0 (805) |
97,1 (990) |
107,9 (1100) |
|
|
10,7 |
44,5 (455) |
64,7 (660) |
77,0 (785) |
89,3 (910) |
109,4 (1115) |
121,6 (1240) |
|
|
168 |
7,3 |
26,5 (270) |
38,3 (390) |
- |
- |
- |
- |
|
8,0 |
28,9 (295) |
42,1 (430) |
50,0 (510) |
- |
- |
- |
|
|
8,9 |
31,9 (325) |
46,6 (475) |
55,4 (665) |
64,3 (655) |
79,0 (805) |
87,3 (890) |
|
|
10,6 |
38,3 (390) |
55,4 (565) |
66,2 (676) |
76,5 (780) |
93,7 (955) |
104,0 (1060) |
|
|
12,1 |
43,7 (445) |
63,3 (645) |
75,5 (770) |
87,3 (890) |
106,9 (1090) |
118,7 (1210) |
|
|
178 |
5,9 |
20,1 (205) |
- |
- |
- |
- |
- |
|
6,9 |
23,5 (240) |
- |
- |
- |
- |
- |
|
|
8,1 |
27,5 (280) |
40,2 (410) |
47,6 (485) |
- |
- |
- |
|
|
9,2 |
31,4 (320) |
45,6 (465) |
54,4 (555) |
62,8 (640) |
77,0 (785) |
85,8 (876) |
|
|
10,4 |
35,3 (360) |
51,5 (555) |
61,3 (625) |
71,1 (725) |
87,3 (890) |
96,6 (985) |
|
|
11,5 |
39,2 (400) |
57,0 (580) |
67,7 (690) |
78,5 (800) |
96,1 (980) |
107,0 (1090) |
|
|
1,7 |
43,2 (440) |
62,8 (640) |
75,0 (765) |
86,8 (885) |
106,4 (1085) |
118,2 (1205) |
|
|
13,7 |
- |
68,2 (695) |
80,9 (825) |
93,7 (955) |
114,8 (1170) |
122,6 (1250) |
|
|
15,0 |
- |
- |
88,3 (900) |
102,5 (1045) |
122,6 (1250) |
122,6 (1250) |
|
|
194 |
7,6 |
24,0 (245) |
- |
- |
- |
- |
- |
|
8,3 |
26,0 (265) |
37,8 (385) |
45,1 (460) |
52,0 (530) |
63,8 (650) |
71,1 725) |
|
|
9,5 |
29,9 (305) |
43,2 (440) |
51,5 (525) |
59,4 (605) |
73,1 (745) |
80,9 (825) |
|
|
10,9 |
34,3 (360) |
49,6 (505) |
58,9 (600) |
68,2 (695) |
83,9 (855) |
93,2 (950) |
|
|
12,7 |
39,7 (1015) |
57,9 (590) |
68,7 (700) |
79,5 (810) |
97,6 (955) |
108,4 (1105) |
|
|
15,1 |
- |
- |
81,9 (835) |
94,7 (965) |
116,2 (1185) |
122,6 (1250) |
|
|
219 |
6,7 |
18,6 (190) |
- |
- |
- |
- |
- |
|
7,7 |
21,6 (220) |
- |
- |
- |
- |
- |
|
|
8,9 |
24,5 (250) |
35,8 (365) |
42,7 (435) |
49,1 (500) |
- |
- |
|
|
10,2 |
28,6 (290) |
41,2 (420) |
49,1 (500) |
56,4 (575) |
69,2 (705) |
- |
|
|
11,4 |
31,4 (320) |
46,1 (470) |
54,4 (555) |
63,3 (645) |
77,5 (790) |
85,8 (875) |
|
|
12,7 |
35,3 (360) |
51,0 (520) |
60,8 (620) |
70,1 (715) |
86,3 (880) |
95,6 (975) |
|
|
14,2 |
- |
57,3 (585) |
68,2 (695) |
78,5 (800) |
96,6 (985) |
107,4 (1095) |
|
|
245 |
7,9 |
19,6 (200) |
- |
- |
- |
- |
- |
|
8,9 |
22,1 (225) |
31,9 (325) |
38,3 (390) |
44,1 (450) |
- |
- |
|
|
10,0 |
25,0 (255) |
36,3 (370) |
42,7 (435) |
49,5 (505) |
60,8 (620) |
67,7 (690) |
|
|
11,1 |
27,5 (280) |
40,2 (410) |
47,6 (485) |
54,9 (560) |
67,7 (690) |
75,0 (765) |
|
|
12,0 |
29,9 (305) |
43,2 (440) |
51,5 (525) |
59,4 (605) |
73,1 (745) |
81,4 (830) |
|
|
13,8 |
34,3 (350) |
49,5 (505) |
59,4 (605) |
68,7 (700) |
83,9 (855) |
93,2 (950) |
|
|
15,9 |
- |
- |
68,2 (695) |
79,0 (805) |
96,6 (985) |
107,4 (1095) |
|
|
273 |
7,1 |
11,8 (120) |
- |
- |
- |
- |
- |
|
8,9 |
14,7 (150) |
28,9 (295) |
34,3 (350) |
39,7 (405) |
- |
- |
|
|
10,2 |
17,2 (175) |
32,9 (335) |
39,2 (400) |
45,1 (460) |
55,4 (565) |
- |
|
|
11,4 |
19,1 (195) |
36,8 (375) |
43,7 (445) |
50,5 (515) |
62,3 (635) |
- |
|
|
12,6 |
21,1 (215) |
40,7 (415) |
48,6 (495) |
55,9 (570) |
68,7 (700) |
76,5 (780) |
|
|
13,8 |
23,1 (235) |
44,6 (455) |
53,0 (540) |
61,3 (625) |
75,1 (765) |
83,5 (850) |
|
|
15,1 |
- |
418,6 (495) |
57,9 (590) |
67,2 (685) |
82,4 (840) |
91,7 (935) |
|
|
16,5 |
- |
- |
63,3 (645) |
73,1 (745) |
90,3 (920) |
100,1 (1020) |
|
|
299 |
8,5 |
12,8 (130) |
- |
- |
- |
- |
- |
|
9,5 |
14,7 (150) |
- |
- |
- |
- |
- |
|
|
11,1 |
16,7 (170) |
32,9 (335) |
39,2 (400) |
45,1 (460) |
- |
- |
|
|
12,4 |
18,6 (190) |
36,8 (375) |
43,7 (445) |
50,5 (515) |
61,8 (630) |
68,7 (700) |
|
|
14,8 |
- |
43,7 (445) |
52,0 (530) |
60,3 (615) |
74,1 (755) |
81,9 (835) |
|
|
324 |
8,5 |
12,3 (125) |
- |
- |
- |
- |
- |
|
9,5 |
13,7 (140) |
26,0 (265) |
30,9 (315) |
- |
- |
- |
|
|
11,0 |
15,7 (160) |
29,9 (305) |
35,8 (365) |
41,2 (420) |
- |
- |
|
|
12,4 |
17,7 (180) |
33,8 (345) |
40,2 (410) |
46,6 (475) |
56,9 (580) |
63,8 (650) |
|
|
14,0 |
19,6 (200) |
38,3 (390) |
45,1 (460) |
52,5 (535) |
64,3 (655) |
71,6 (730) |
|
|
340 |
8,4 |
11,3 (115) |
- |
- |
- |
- |
- |
|
9,7 |
13,2 (135) |
25,0 (255) |
29,9 (305) |
- |
- |
- |
|
|
10,9 |
14,6 (150) |
28,4 (290) |
33,8 (345) |
- |
- |
- |
|
|
12,2 |
16,4 (170) |
31,9 (325) |
37,8 (385) |
43,7 (4415) |
- |
- |
|
|
13,1 |
17,5 (180) |
33,8 (345) |
40,2 (410) |
46,6 (475) |
57,4 (585) |
63,8 (650) |
|
|
14,0 |
19,7 (190) |
36,3 (370) |
43,2 (440) |
50,0 (510) |
61,3 (625) |
68,2 (695) |
|
|
15,4 |
- |
- |
47,6 (485) |
54,9 (560) |
67,7 (690) |
75,0 (765) |
|
|
351 |
9,0 |
11,8 (120) |
- |
- |
- |
- |
- |
|
10,0 |
12,8 (130) |
25,0 (255) |
30,0 (305) |
- |
- |
- |
|
|
11,0 |
14,2 (145) |
27,5 (280) |
32,9 (335) |
38,3 (390) |
- |
- |
|
|
12,0 |
15,7 (160) |
30,0 (305) |
35,8 (365) |
41,7 (425) |
- |
- |
|
|
377 |
9,0 |
10,8 (110) |
- |
- |
- |
- |
- |
|
10,0 |
12,3 (125) |
23,5 (240) |
- |
- |
- |
- |
|
|
11,0 |
13,2 (135) |
25,5 (260) |
30,4 (310) |
- |
- |
- |
|
|
12,0 |
14,7 (150) |
28,0 (285) |
33,4 (340) |
- |
- |
- |
|
|
406 |
9,5 |
10,8 (110) |
- |
- |
- |
- |
- |
|
11,1 |
12,3 (125) |
24,0 (245) |
- |
- |
- |
- |
|
|
12,6 |
14,2 (145) |
27,5 (280) |
- |
- |
- |
- |
|
|
16,7 |
18,8 (190) |
36,2 (370) |
- |
- |
- |
- |
|
|
426 |
10,0 |
10,8 (110) |
- |
- |
- |
- |
- |
|
11,0 |
11,8 (120) |
22,6 (230) |
- |
- |
- |
- |
|
|
12,0 |
12,6 (130) |
25,0 (255) |
- |
- |
- |
- |
|
|
473 |
11,1 |
10,8 (110) |
- |
- |
- |
- |
- |
|
508 |
11,1 |
9,8 (100) |
- |
- |
- |
- |
- |
|
12,7 |
11,3 (115) |
- |
- |
- |
- |
- |
|
|
16,1 |
14,2 (145) |
- |
- |
- |
- |
- |
|
Примечания:
1. По требованию потребителя верхний предел гидравлического давления ограничивается величиной 68,7 МПа (700 кгс/см2).
2. Если расчетное давление (р) превышает 122,6 МПа (1250 (кгс/см2), то испытательное давление принимается равным 122,6 МПа (1250 кгс/см2).
Таблица 10
Величины испытательных гидравлических давлений (для исполнения А)
|
Давление для муфт из стали групп прочности, МПа, (кгс/см2) |
||||||||||||||||||||||||
|
Соединения с треугольной резьбой |
ОТТМ |
|||||||||||||||||||||||
|
короткой |
удлиненной - У |
Нормальной муфты |
Специальной муфты |
|||||||||||||||||||||
|
Д |
Е |
Л |
М |
Р |
Т |
Д |
Е |
Л |
М |
Р |
Т |
Д |
Е |
Л |
М |
Р |
Т |
Д |
Е |
Л |
М |
Р |
Т |
|
|
114 |
- |
- |
- |
- |
- |
- |
40,4 (410) |
58,6 (600) |
59,7 (710) |
80,7 (825) |
99,0 (1010) |
110,0 (1120) |
38,7 (395) |
56,3 (575) |
66,9 (680) |
77,4 (790) |
94,9 (970) |
105,5 (1075) |
31,9 (325) |
46,3 (470) |
55,0 (560) |
63,6 (650) |
78,2 (795) |
86,8 (885) |
|
127 |
- |
- |
- |
- |
- |
- |
41,0 (420) |
59,6 (610) |
70,8 (720) |
82,0 (835) |
100,6 (1025) |
111,7 (1140) |
38,5 (395) |
55,9 (570) |
65,5 (680) |
77,0 (785) |
94,4 (965) |
104,9 (1070) |
29,2 (300) |
42,4 (430) |
50,4 (515) |
58,3 (595) |
71,6 (730) |
79,5 (810) |
|
140 |
- |
- |
- |
- |
- |
- |
37,6 (385) |
54,3 (555) |
65,4 (660) |
75,0 (765) |
92,6 (940) |
102,3 (1045) |
35,3 (360) |
51,3 (525) |
61,0 (620) |
70,5 (720) |
86,6 (885) |
96,2 (980) |
27,3 (280) |
39,5 (405) |
47,0 (480) |
54,3 (555) |
66,8 (680) |
74,1 (755) |
|
146 |
- |
- |
- |
- |
- |
- |
46,3 (475) |
67,3 (685) |
80,0 (815) |
92,6 (945) |
113,6 (1160) |
122,6 (1250) |
43,5 (445) |
63,2 (645) |
75,2 (765) |
87,1 (890) |
106,9 (1090) |
118,7 (1210) |
26,9 (275) |
39,0 (400) |
46,5 (475) |
53,7 (550) |
66,0 (675) |
73,2 (745) |
|
168 |
- |
- |
- |
- |
- |
- |
40,6 (415) |
59,0 (600) |
70,1 (715) |
81,1 (825) |
99,6 (1015) |
110,6 (1130) |
38,2 (390) |
55,5 (565) |
66,0 (675) |
76,4 (780) |
93,4 (955) |
104,1 (1060) |
23,3 (240) |
33,8 (345) |
40,2 (410) |
46,6 (475) |
57,2 (585) |
63,4 (645) |
|
178 |
- |
- |
- |
- |
- |
- |
35,1 (360) |
51,0 (520) |
606 (620) |
70,1 (715) |
86,1 (880) |
95,6 (975) |
32,8 (335) |
47,8 (485) |
56,8 (580) |
65,7 (670) |
80,7 (825) |
89,6 (915) |
22,4 (230) |
32,6 (335) |
38,8 (395) |
44,9 (460) |
55,1 (560) |
61,3 (625) |
|
194 |
- |
- |
- |
- |
- |
- |
39,8 (405) |
57,9 (590) |
68,7 (700) |
79,5 (810) |
97,7 (995) |
108,5 (1105) |
37,7 (385) |
54,8 (560) |
65,2 (665) |
75,4 (770) |
92,6 (945) |
102,9 (1050) |
25,5 (260) |
37,1 (380) |
44,0 (450) |
51,0 (520) |
62,6 (640) |
69,5 (710) |
|
219 |
- |
- |
- |
- |
- |
- |
39,9 (405) |
58,0 (590) |
68,8 (700) |
79,7 (815) |
97,8 (995) |
108,6 (1110) |
37,7 (385) |
54,8 (560) |
65,2 (665) |
75,5 (770) |
92,7 (945) |
102,9 (1050) |
23,2 (235) |
33,7 (345) |
40,1 (410) |
46,4 (475) |
57,0 (580) |
63,2 (645) |
|
245 |
- |
- |
- |
- |
- |
- |
36,6 (375) |
53,0 (540) |
63,1 (645) |
73,1 (745) |
89,6 (915) |
99,5 (1015) |
34,2 (350) |
49,7 (505) |
59,0 (600) |
68,3 (695) |
83,9 (855) |
93,2 (950) |
20,9 (215) |
30,4 (310) |
36,1 (370) |
41,8 (425) |
51,3 (525) |
57,0 (580) |
|
273 |
31,1 (315) |
45,1 (4,60) |
53,6 (545) |
62,1 (635) |
76,2 (775) |
84,6 (865) |
- |
- |
- |
- |
- |
- |
31,0 (315) |
45,0 (460) |
53,4 (545) |
61,9 (630) |
75,9 (775) |
84,3 (860) |
18,8 (190) |
27,4 (280) |
32,5 (330) |
37,7 (385) |
46,2 (470) |
51 (525) |
|
299 |
28,6 (290) |
41,6 (425) |
49,4 (505) |
57,2 (585) |
70,2 (715) |
78,0 (795) |
- |
- |
- |
- |
- |
- |
28,5 (290) |
41,5 (425) |
49,2 (500) |
57,0 (580) |
70,0 (715) |
77,8 (795) |
- |
- |
- |
- |
- |
- |
|
324 |
27 (285) |
40,5 (415) |
48,1 (490) |
55,7 (570) |
68,4 (700) |
76,0 (775) |
- |
- |
- |
- |
- |
- |
27,8 (285) |
40,4 (410) |
48,0 (490) |
55,5 (565) |
68,1 (695) |
75,7 (770) |
- |
- |
- |
- |
- |
- |
|
340 |
25,3 (260) |
36,8 (375) |
43,7 (445) |
506 (515) |
62,2 (635) |
69,0 (705) |
- |
- |
- |
- |
- |
- |
25,3 (260) |
36,7 (375) |
43,6 (445) |
50,9 (515) |
62,0 (630) |
68,8 (700) |
- |
- |
- |
- |
- |
- |
|
361 |
24,9 (255) |
36,2 (370) |
43,0 (440) |
49,8 (510) |
- |
- |
- |
- |
- |
- |
- |
- |
- |
- |
- |
- |
- |
- |
- |
- |
- |
- |
- |
- |
|
377 |
23,3 (240) |
33,8 (345) |
40,3 (410) |
- |
- |
- |
- |
- |
- |
- |
- |
- |
- |
- |
- |
- |
- |
- |
- |
- |
- |
- |
- |
- |
|
406 |
22,0 (225) |
32,0 (325) |
- |
- |
- |
- |
- |
- |
- |
- |
- |
- |
- |
- |
- |
- |
- |
- |
- |
- |
- |
- |
- |
- |
|
426 |
20,8 (210) |
30,2 (310) |
- |
- |
- |
- |
- |
- |
- |
- |
- |
- |
- |
- |
- |
- |
- |
- |
- |
- |
- |
- |
- |
- |
|
473 |
24,4 (250) |
- |
- |
- |
- |
- |
- |
- |
- |
- |
- |
- |
- |
- |
|
- |
- |
- |
- |
- |
- |
- |
- |
- |
|
508 |
17,8 (180) |
- |
- |
- |
- |
- |
- |
- |
- |
- |
- |
- |
- |
- |
- |
- |
- |
- |
- |
- |
- |
- |
- |
- |
Примечание. Если расчетное давление (р) превышает 122,6 МПа (1250 кгс/см2), то испытательное давление принимается равным 122,6 МПа (1250 кгс/см2).
Таблица 10а
Величины испытательных гидравлических давлений (для исполнения Б)
|
Давление для муфт из стали групп прочности, МПа (кгс/мм2) |
|||||||||||||||||||||
|
Соединения с треугольной резьбой |
ОТТМ |
||||||||||||||||||||
|
короткой |
удлиненной - У |
нормальной муфты |
|||||||||||||||||||
|
Д |
к |
Е |
Л |
м |
Р |
Т |
Д |
к |
Е |
Л |
м |
Р |
Т |
Д |
к |
Е |
Л |
м |
Р |
Т |
|
|
114 |
50,0 510 |
65,7 670 |
74,1 755 |
87,9 895 |
101,7 1035 |
124,8 1275 |
138,7 1415 |
51,4 525 |
67,5 690 |
76,0 775 |
90,2 920 |
104,4 1065 |
128,1 1305 |
142,4 1455 |
48,9 500 |
64,2 655 |
72,3 735 |
85,8 875 |
99,3 1015 |
121,8 1245 |
135,5 1380 |
|
127 |
46,7 475 |
61,3 625 |
69,0 705 |
82,0 835 |
94,8 965 |
116,3 1185 |
129,3 1320 |
48,6 495 |
63,9 650 |
72,0 735 |
85,4 870 |
98,8 1010 |
121,3 1235 |
134,8 1375 |
45,4 460 |
59,6 610 |
67,2 685 |
79,7 815 |
92,2 940 |
113,2 1155 |
125,8 1285 |
|
140 |
43,8 445 |
57,5 585 |
64,8 660 |
76,8 785 |
88,9 905 |
109,1 1115 |
121,3 1235 |
45,6 465 |
59,9 610 |
67,5 685 |
80,1 815 |
92,7 945 |
113,8 1160 |
126,5 1290 |
42,7 435 |
56,1 570 |
63,2 645 |
75,0 765 |
86,8 885 |
106,5 1085 |
118,4 1210 |
|
146 |
43,4 440 |
57,0 580 |
64,2 655 |
76,2 775 |
88,2 900 |
108,2 1105 |
120,3 1230 |
45,6 465 |
59,8 610 |
67,4 685 |
80 815 |
92,6 945 |
113,6 1160 |
126,3 1290 |
42,1 430 |
55,3 565 |
62,3 635 |
73,9 755 |
85,5 870 |
104,9 1070 |
116,6 1190 |
|
168 |
37,9 385 |
49,8 510 |
56,1 570 |
66,6 680 |
77,0 785 |
94,5 965 |
105,1 1070 |
39,8 405 |
52,3 535 |
58,9 600 |
69,9 715 |
80,9 825 |
99,2 1015 |
110,3 1130 |
36,8 375 |
48,3 495 |
54,4 555 |
64,6 660 |
74,7 760 |
91,7 935 |
101,9 1040 |
|
178 |
37,1 380 |
48,7 495 |
54,9 560 |
65,2 665 |
75,4 770 |
92,5 945 |
102,9 1050 |
39,2 400 |
51,5 525 |
58 590 |
68,8 700 |
79,6 810 |
97,7 995 |
108,6 1110 |
36,4 370 |
47,8 490 |
53,9 550 |
63,9 650 |
74,0 755 |
90,8 925 |
100,9 103,0 |
|
194 |
37,2 380 |
48,9 500 |
55,1 560 |
65,4 665 |
75,6 770 |
92,8 945 |
103,2 1050 |
39,2 400 |
51,4 525 |
58,0 590 |
68,8 700 |
79,6 810 |
97,6 995 |
108,6 1110 |
36,5 370 |
48,0 490 |
54,1 550 |
64,2 655 |
74,2 755 |
91,1 930 |
101,3 1035 |
|
219 |
37,0 375 |
48,6 495 |
54,8 555 |
65,0 665 |
75,2 765 |
92,2 940 |
102,6 1045 |
39,2 400 |
51,5 525 |
58,0 590 |
68,9 700 |
79,7 815 |
97,8 995 |
108,7 1110 |
36,6 375 |
48,1 490 |
54,2 550 |
64,3 655 |
74,4 760 |
91,3 930 |
101,5 1035 |
|
245 |
33,5 340 |
44,0 450 |
49,6 505 |
58,9 600 |
68,1 695 |
83,6 855 |
92,9 950 |
35,9 365 |
47,2 480 |
53,2 540 |
63,1 645 |
73,0 745 |
89,6 915 |
99,6 1015 |
33,2 340 |
43,6 445 |
49,1 500 |
58,3 595 |
67,4 690 |
82,7 845 |
92,0 940 |
|
273 |
30,6 310 |
40,1 410 |
45,2 460 |
53,6 545 |
62,1 635 |
76,2 775 |
84,7 865 |
- |
- |
- |
- |
- |
- |
- |
30,0 305 |
38,4 400 |
44,4 450 |
52,7 540 |
61,0 620 |
74,9 765 |
83,2 850 |
|
299 |
28,2 285 |
37,0 375 |
41,7 425 |
49,4 505 |
57,2 585 |
70,2 715 |
78,0 795 |
- |
- |
- |
- |
- |
- |
- |
27,7 280 |
36,3 370 |
40,9 415 |
48,6 495 |
56,2 575 |
- |
- |
|
324 |
27,4 280 |
36,0 370 |
40,6 415 |
48,2 490 |
55,7 570 |
68,4 700 |
76,0 775 |
- |
- |
- |
- |
- |
- |
- |
27,0 275 |
35,4 360 |
39,9 405 |
47,4 485 |
64,8 560 |
- |
- |
|
340 |
24,9 255 |
32,7 335 |
36,9 375 |
- |
- |
- |
- |
- |
- |
- |
- |
- |
- |
- |
24,5 250 |
32,2 330 |
36,2 370 |
- |
- |
- |
- |
|
406 |
21,6 220 |
28,4 290 |
- |
- |
- |
- |
- |
- |
- |
- |
- |
- |
- |
- |
- |
- |
- |
- |
- |
- |
- |
|
473 |
24,0 245 |
31,5 320 |
- |
- |
- |
- |
- |
- |
- |
- |
- |
- |
- |
- |
- |
- |
- |
- |
- |
- |
- |
|
508 |
17,5 180 |
23,0 235 |
- |
- |
- |
- |
- |
- |
- |
- |
- |
- |
- |
- |
- |
- |
- |
- |
- |
- |
- |
|
351 |
24,3 250 |
31,9 325 |
- |
- |
- |
- |
- |
- |
- |
- |
- |
- |
- |
- |
- |
- |
- |
- |
- |
- |
- |
|
377 |
22,7 230 |
30,0 305 |
- |
- |
- |
- |
- |
- |
- |
- |
- |
- |
- |
- |
- |
- |
- |
- |
- |
- |
- |
|
426 |
20,3 205 |
26,6 270 |
- |
- |
- |
- |
- |
- |
- |
- |
- |
- |
- |
- |
- |
- |
- |
- |
- |
- |
- |
Величина давления для всех труб исполнения Б указана в табл. 11.
Таблица 11
Величины испытательных гидравлических давлений труб исполнения Б
|
Толщина стенки, мм |
Давление для труб из стали групп прочности, МПа (кгс/см2) |
|||||||
|
Д |
К |
Е |
л |
м |
р |
т |
||
|
114 |
6,4 |
33,3 (340) |
44,1 (450) |
49,5 (505) |
- |
- |
- |
- |
|
7,4 |
38,7 (395) |
51,0 (520) |
56,9 (580) |
67,7 (690) |
78,5 (800) |
96,1 (980) |
- |
|
|
8,6 |
45,1 (460) |
58,9 (600) |
66,2 (675) |
79,0 (805) |
91,2 (930) |
111,8 (1140) |
122,6 (1250) |
|
|
127 |
6,4 |
29,9 (305) |
39,7 (405) |
44,6 (455) |
- |
- |
- |
- |
|
7,5 |
35,3 (360) |
46,1 (470) |
52,0 (530) |
61,8 (630) |
71,6 (730) |
87,8 (895) |
97,6 (995) |
|
|
9,2 |
43,2 (440) |
56,9 (580) |
63,8 (650) |
76,0 (775) |
87,8 (895) |
107,9 (1100) |
119,7 (1220) |
|
|
140 |
6,2 |
26,5 (270) |
34,8 (355) |
39,2 (400) |
- |
- |
- |
- |
|
7,0 |
29,9 (305) |
39,2 (400) |
44,2 (450) |
- |
- |
- |
- |
|
|
7,7 |
32,9 (335) |
43,2 (440) |
48,6 (495) |
57,9 (590) |
66,9 (680) |
82,1 (835) |
91,2 (930) |
|
|
9,2 |
39,2 (400) |
51,5 (525) |
57,9 (590) |
69,2 (705) |
80,0 (815) |
98,1 (1000) |
108,9 (1110) |
|
|
10,5 |
44,6 (455) |
58,9 (600) |
66,3 (675) |
79,0 (805) |
91,2 (930) |
111,8 (1140) |
122,6 (1250) |
|
|
146 |
6,5 |
26,5 (270) |
34,8 (355) |
39,2 (400) |
- |
- |
- |
- |
|
7,0 |
28,4 (290) |
37,8 (385) |
42,2 (430) |
50,0 (510) |
- |
- |
- |
|
|
7,7 |
31,4 (320) |
41,2 (420) |
46,6 (475) |
55,4 (565) |
64,3 (655) |
79,0 (805) |
87,8 (895) |
|
|
8,5 |
34,8 (355) |
45,6 (465) |
51,5 (525) |
61,3 (625) |
70,6 (720) |
86,8 (885) |
96,6 (985) |
|
|
9,5 |
38,7 (395) |
51,0 (520) |
57,9 (590) |
68,2 (695) |
79,0 (805) |
97,1 (990) |
107,9 (1100) |
|
|
10,7 |
43,6 (445) |
57,4 (585) |
64,7 (660) |
77,0 (785) |
89,3 (910) |
109,4 (1115) |
121,6 (1240) |
|
|
168 |
7,3 |
26,0 (265) |
33,8 (345) |
38,3 (390) |
45,6 (465) |
- |
- |
- |
|
8,0 |
28,4 (290) |
37,2 (380) |
43,0 (430) |
51,0 (510) |
- |
- |
- |
|
|
8,9 |
31,4 (320) |
41,7 (425) |
46,6 (475) |
55,4 (565) |
64,3 (655) |
79,0 (805) |
87,3 (890) |
|
|
10,6 |
37,8 (385) |
49,5 (505) |
55,4 (565) |
66,2 (675) |
76,5 (780) |
93,7 (955) |
104,0 (1060) |
|
|
12,1 |
42,7 (435) |
56,4 (575) |
63,3 (645) |
75,5 (770) |
87,3 (890) |
106,9 (1090) |
118,7 (1210) |
|
|
178 |
6,9 |
23,0 (235) |
30,4 (310) |
34,3 (350) |
- |
- |
- |
- |
|
8,1 |
27,0 (275) |
35,8 (365) |
40,2 (410) |
47,6 (485) |
- |
- |
- |
|
|
9,2 |
30,9 (315) |
40,7 (415) |
45,6 (465) |
54,4 (555) |
62,8 (640) |
77,0 (785) |
85,8 (875) |
|
|
10,4 |
34,8 (355) |
46,1 (470) |
51,5 (525) |
61,3 (625) |
71,1 (725) |
87,3 (890) |
96,6 (985) |
|
|
11,5 |
38,7 (395) |
50,5 (515) |
57,0 (580) |
67,7 (690) |
78,5 (800) |
96,1 (980) |
107,0 (1090) |
|
|
12,7 |
42,7 (435) |
55,9 (570) |
62,8 (640) |
75,0 (765) |
86,8 (885) |
106,4 (1085) |
1,18,2 (1205) |
|
|
194 |
7,6 |
23,5 (240) |
30,9 (315) |
34,8 (355) |
- |
- |
- |
- |
|
8,3 |
25,5 (260) |
33,8 (345) |
37,8 (385) |
45,1 (460) |
- |
- |
- |
|
|
9,5 |
29,4 (300) |
38,2 (390) |
43,2 (440) |
51,5 (525) |
59,4 (605) |
73,1 (745) |
80,9 (825) |
|
|
10,9 |
33,4 (340) |
44,1 (450) |
49,6 (505) |
58,9 (600) |
68,2 (695) |
83,9 (855) |
93,2 (950) |
|
|
12,7 |
39,2 (400) |
51,5 (525) |
57,9 (590) |
68,7 (700) |
79,5 (810) |
97,6 (995) |
108,4 (1105) |
|
|
219 |
7,7 |
21,1 (215) |
27,5 (280) |
30,9 (315) |
- |
- |
- |
- |
|
8,9 |
24,0 (245) |
31,9 (325) |
358 (365) |
42,7 (435) |
49,1 500 |
- |
* |
|
|
10,2 |
27,9 (285) |
36,3 (370) |
41,2 (420) |
49,1 (500) |
56,4 (575) |
69,2 (705) |
77,0 (785) |
|
|
11,4 |
30,9 (315) |
40,7 (415) |
46,1 (470) |
51,4 (555) |
63,3 (645) |
77,5 (790) |
85,8 (875) |
|
|
12,7 |
34,3 (350) |
45,6 (465) |
51,0 (520) |
60,8 (620) |
70,1 (715) |
86,3 (880) |
95,6 (975) |
|
|
14,2 |
38,7 (395) |
51,0 (520) |
57,4 (585) |
68,2 (695) |
78,5 (800) |
96,6 (935) |
107,4 (1095) |
|
|
245 |
7,9 |
14,2 (145) |
19,1 (195) |
21,6 (220) |
- |
- |
- |
- |
|
8,9 |
16,2 (165) |
21,6 (220) |
24,0 (245) |
28,4 (290) |
32,9 (335) |
- |
- |
|
|
10,0 |
18,1 (185) |
24,0 (245) |
27,0 (275) |
31,9 (325) |
37,3 (380) |
45,6 (465) |
50,5 (515) |
|
|
11,1 |
20,1 (205) |
26,5 (270) |
29,9 (305) |
35,8 (365) |
41,2 (420) |
50,5 (515) |
56,4 (575) |
|
|
12,0 |
22,1 (225) |
28,9 (295) |
32,4 (330) |
38,7 (395) |
44,6 (455) |
54,9 (560) |
60,8 (620) |
|
|
13,8 |
25,0 (255) |
33,4 (340) |
37,3 (380) |
44,1 (450) |
51,5 (525) |
63,3 (645) |
70,1 (715) |
|
|
273 |
7,1 |
11,8 (120) |
15,2 (155) |
17,2 (175) |
- |
- |
- |
- |
|
8,9 |
14,7 (150) |
19,1 (195) |
21,6 (220) |
25,5 (260) |
29,4 (300) |
- |
- |
|
|
10,2 |
16,7 (170) |
22,1 (225) |
24,5 (250) |
29,4 (300) |
33,8 (345) |
41,7 (425) |
46,6 (475) |
|
|
11,4 |
18,6 (190) |
24,5 (250) |
27,5 (280) |
32,9 (335) |
37,8 (385) |
46,6 (475) |
52,0 (530) |
|
|
12,6 |
206 (210) |
27,0 (275) |
30,4 (310) |
36,3 (370) |
42,2 (430) |
51,5 (525) |
57,4 (585) |
|
|
13,8 |
22,6 (230) |
29,9 (305) |
33,4 (340) |
39,7 (405) |
46,1 (470) |
56,4 (575) |
62,8 (640) |
|
|
299 |
8,5 |
12,7 (130) |
16,7 (170) |
18,6 (190) |
- |
- |
- |
- |
|
9,5 |
14,2 (145) |
18,6 (190) |
21,1 (215) |
25,0 (255) |
28,9 (295) |
35,3 (360) |
39,7 (405) |
|
|
11,1 |
16,7 (170) |
22,1 (225) |
24,5 (250) |
29,4 (300) |
33,8 (345) |
41,7 (425) |
46,1 (470) |
|
|
12,4 |
18,6 (190) |
24,5 (250) |
27,5 (280) |
32,4 (330) |
37,8 (385) |
46,6 (475) |
51,5 (525) |
|
|
14,8 |
22,1 (225) |
28,9 (295) |
32,9 (335) |
38,7 (395) |
45,1 (460) |
55,4 (565) |
61,3 (625) |
|
|
324 |
9,7 |
13,2 (135) |
17,2 (175) |
19,6 (200) |
- |
- |
- |
- |
|
10,9 |
15,2 (155) |
20,1 (205) |
22,6 (230) |
26,5 (270) |
30,9 (315) |
37,8 (385) |
42,2 (430) |
|
|
12,4 |
17,1 (175) |
22,6 (230) |
25,5 (260) |
29,9 (305) |
34,8 (355) |
42,7 (435) |
47,6 (485) |
|
|
14,0 |
19,1 (195) |
25,5 (260) |
28,4 (290) |
33,8 (345) |
39,2 (400) |
48,0 (490) |
53,5 (545) |
|
|
340 |
9,7 |
12,8 (130) |
16,7 (170) |
18,6 (190) |
- |
- |
- |
- |
|
10,9 |
14,2 (145) |
18,6 (190) |
21,1 (215) |
- |
- |
- |
- |
|
|
12,2 |
16,2 (165) |
21,1 (215) |
23,5 (240) |
- |
- |
- |
- |
|
|
13,1 |
17,2 (175) |
22,6 (230) |
25,5 (260) |
- |
- |
- |
- |
|
|
14,0 |
18,6 (190) |
24,0 (245) |
27,4 (280) |
- |
- |
- |
- |
|
|
351 |
9,0 |
11,3 (115) |
15,2 (155) |
- |
- |
- |
- |
- |
|
10,0 |
12,7 (130) |
16,7 (170) |
- |
- |
- |
- |
- |
|
|
1,1,0 |
14,2 (145) |
18,6 (190) |
- |
- |
- |
- |
- |
|
|
12,0 |
15,2 (155) |
20,1 (205) |
- |
- |
- |
- |
- |
|
|
377 |
9,0 |
10,8 (110) |
14,2 (145) |
- |
- |
- |
- |
- |
|
10,0 |
11,8 (120) |
15,7 (160) |
- |
- |
- |
- |
- |
|
|
11,0 |
13,2 (135) |
17,2 (175) |
- |
- |
- |
- |
- |
|
|
12,0 |
14,2 (145) |
18,6 (190) |
- |
- |
- |
- |
- |
|
|
406 |
9,5 |
10,3 (105) |
13,7 (140) |
- |
- |
- |
- |
- |
|
11,1 |
12,2 (125) |
16,2 (165) |
- |
- |
- |
- |
- |
|
|
12,6 |
13,7 (140) |
18,1 (185) |
- |
- |
- |
- |
- |
|
|
426 |
10,0 |
10,3 (105) |
13,7 (140) |
- |
- |
- |
- |
- |
|
11,0 |
11,8 (120) |
15,2 (155) |
- |
- |
- |
- |
- |
|
|
12,0 |
12,7 (130) |
16,7 (170) |
- |
- |
- |
- |
- |
|
|
473 |
11,1 |
10,3 (105) |
13,7 (140) |
- |
- |
- |
- |
- |
|
508 |
11,1 |
9,8 (100) |
12,7 (130) |
- |
- |
- |
- |
- |
Примечания:
1. Если расчетное давление (р) превышает 68,7 МПа (700 кгс/см2), испытательное давление принимают равным 68,7 МПа (700 кгс/см2) по требованию потребителя.
2. Для труб группы прочности Д с короткой треугольной резьбой, если расчетное давление превышает 24,5 МПа (250 кгс/см2), испытательное давление принимают равным 24,5 МПа (250 кгс/см2).
3. По согласованию изготовителя с потребителем испытательное давление должно приниматься равным расчетному давлению (р), но не более 122,6 МПа (1250 кгс/см2).
(Измененная редакция, Изм. № 2).
2.13. Основные параметры и размеры соединений труб с треугольной резьбой и муфт к ним
2.13.1. Форма и размеры профиля резьбы труб и муфт к ним должны соответствовать указанным на черт. 5 и в табл. 12.
2.13.2. Размеры соединений с короткой треугольной резьбой должны соответствовать указанным на черт. 6 и в табл. 13 и с удлиненной треугольной резьбой - У - на черт. 6 и в табл. 14.
2.13.3. Предельные отклонения от номинальных размеров резьбы должны соответствовать указанным в табл. 15.
2.13.4. Натяг оцинкованной или фосфатированной резьбы муфты по резьбовому калибру-пробке должен быть равен величине А (черт. 7 и в табл. 13 и 14), принятой для свинчивания муфт с трубами вручную. Предельные отклонения ±3,2 мм.
* Размеры для справок.
1 - линия, параллельная оси резьбы; 2 - линия среднего диаметра резьбы; 3 - ось резьбы
Черт. 5
Таблица 12
Размеры, мм
|
Норма |
|
|
Шаг резьбы Р |
3,175 |
|
Высота исходного профиля Н* |
2,750 |
|
Высота профиля h1 |
|
|
Рабочая высота профиля h* |
1,734 |
|
Угол профиля a* |
60° |
|
Угол наклона стороны профиля a/2 |
30° ± 1°15' |
|
Радиус закругления: |
|
|
вершины профиля r |
0,508+0,045 |
|
впадины профиля r1 |
0,432-0,045 |
|
Зазор z* |
0,076 |
|
Угол наклона j |
1°47'24" |
|
Конусность 2tgj |
1:16 |
Примечания:
1. Шаг резьбы Р измеряется параллельно оси резьбы трубы и муфты.
2. Предельные отклонения величины радиусов r и r1 даны для проектирования резьбообразующего инструмента и контролю не подвергаются.
* Размеры для справок.
1 - конец сбега резьбы; 2 - нитки со срезанными вершинами; 3 - основная плоскость; 4 - линия среднего диаметра резьбы; 5 - сбег резьбы (10 max)
Черт. 6
2.13.5. Натяг резьбы трубы Ат (расстояние от измерительной плоскости калибра-кольца до торца трубы) по резьбовому калибру-кольцу должен соответствовать величинам, указанным на черт. 7 и в табл. 13 и 14. Предельные отклонения ±3,2 мм.
2.13.6. При свинчивании вручную оцинкованных или фосфатированных муфт с трубами натяг должен быть равен величине А (см. черт. 6 и табл. 13 и 14). Предельные отклонения ±3,2 мм. Допускается подбор муфт и концов труб по натягу.
Таблица 13
Соединение труб с короткой треугольной резьбой и муфт к ним
мм
|
Наружный диаметр трубы D |
Толщина стенки s |
Средний диаметр резьбы в основной плоскости d*ср |
Диаметр резьбы в плоскости торца |
Длина резьбы трубы |
Внутренний диаметр резьбы в плоскости торца муфты d*3 |
Диаметр цилиндрической выточки муфты d0 |
Ширина торцовой плоскости муфты Вmin |
Расстояние от торца муфты до конца сбега резьбы на трубе при свинчивании вручную (натяг) А |
Расстояние от торца трубы до середины муфты в закрепленном соединении b* |
Натяг резьбы трубы Ат |
|||||
|
наружный d*1 |
внутренний d*2 |
общая (до конца сбега) L (пред. откл. ±3,2) |
до основной плоскости (с полным профилем) l* |
Номин. |
Пред. откл. |
исполнение А |
исполнение Б |
||||||||
|
114 |
114,3 |
5,2 |
112,566 |
112,105 |
108,485 |
51,0 |
35,125 |
111,230 |
116,7 |
+0,8 |
3,0 |
6,0 |
9,5 |
28,0 |
18,7 |
|
114 |
114,3 |
5,7 - 8,6 |
112,566 |
111,136 |
107,516 |
66,5 |
50,625 |
111,230 |
116,7 |
12,5 |
3,2 |
||||
|
127 |
127,0 |
5,6 |
125,266 |
124,023 |
120,403 |
63,5 |
47,625 |
123,930 |
129,4 |
4,0 |
19,0 |
9,7 |
|||
|
127 |
127,0 |
92 |
125,266 |
123,617 |
119,997 |
70,0 |
54,125 |
123,930 |
129,4 |
12,5 |
3,2 |
||||
|
140 |
139,7 |
6,2 - 10,5 |
137,966 |
136,130 |
132,510 |
73,0 |
57,125 |
136,630 |
142,1 |
3,5 |
12,5 |
3,2 |
|||
|
146 |
146,1 |
6,5 - 10,7 |
144,316 |
142,292 |
138,672 |
76,0 |
60,125 |
142,980 |
148,4 |
6,5 |
12,5 |
3,2 |
|||
|
168 |
168,3 |
6,5 - 12,1 |
166,541 |
164,298 |
160,678 |
79,5 |
63,625 |
165,205 |
170,7 |
6,0 |
12,5 |
3,2 |
|||
|
178 |
177,8 |
5,9 |
176,066 |
175,011 |
171,391 |
60,5 |
44,625 |
174,730 |
180,2 |
4,5 |
6,5 |
31,5 |
22,2 |
||
|
178 |
177,8 |
6,9 - 13,7 |
176,066 |
173,823 |
170,203 |
79,5 |
63,625 |
174,730 |
180,2 |
12,5 |
3,2 |
||||
|
194 |
193,7 |
7,6 - 12,7 |
191,941 |
189,511 |
185,894 |
82,5 |
66,625 |
190,512 |
196,1 |
7,5 |
11,0 |
12,5 |
3,2 |
||
|
219 |
219,1 |
6,7 |
217,341 |
215,317 |
211,697 |
76,0 |
60,125 |
215,912 |
221,5 |
+1,5 |
8,5 |
22,0 |
12,7 |
||
|
219 |
219,1 |
7,7 - 14,2 |
217,341 |
214,723 |
211,103 |
85,5 |
69,625 |
215,912 |
221,5 |
12,5 |
3,2 |
||||
|
245 |
244,5 |
7,9 - 13,8 |
242,741 |
240,123 |
236,503 |
85,5 |
69,625 |
241,312 |
246,9 |
12,5 |
3,2 |
||||
|
273 |
273,1 |
7,1 |
271,316 |
269,667 |
266,047 |
70,0 |
54,125 |
269,887 |
275,5 |
31,5 |
22,2 |
||||
|
273 |
273,1 |
8,9 - 16,5 |
271,316 |
268,480 |
264,860 |
89,0 |
73,125 |
269,887 |
275,5 |
12,5 |
3,2 |
||||
|
299 |
298,5 |
8,5 - 14,8 |
296,716 |
293,880 |
290,260 |
89,0 |
73,125 |
295,287 |
300,9 |
12,5 |
3,2 |
||||
|
324 |
323,9 |
8,5 - 14,0 |
322,116 |
319,280 |
315,660 |
89,0 |
73,125 |
320,687 |
326,3 |
9,0 |
12,5 |
3,2 |
|||
|
340 |
339,7 |
8,4 - 15,4 |
337,991 |
335,155 |
331,535 |
89,0 |
73,125 |
336,562 |
342,1 |
8,5 |
12,5 |
3,2 |
|||
|
406 |
406,4 |
9,5 - 16,7 |
404,666 |
401,048 |
397,428 |
101,5 |
85,625 |
403,237 |
408,8, |
12,5 |
3,2 |
||||
|
473 |
473,1 |
11,1 |
471,341 |
467,723 |
464,103 |
101,5 |
85,625 |
469,912 |
475,5 |
13,0 |
12,5 |
3,2 |
|||
|
508 |
508,0 |
11,1 - 16,1 |
506,266 |
502,648 |
499,082 |
101,5 |
85,625 |
504,837 |
510,4 |
8,5 |
12,5 |
3,2 |
|||
Примечания:
1. Концом сбега резьбы считается конец стороны наиболее удаленной от торца трубы впадины непрерывно исчезающей нитки резьбы.
2. Допускается коническая выточка у торца муфты, образующая которой параллельна образующей конуса резьбы. Наименьший диаметр конической выточки должен быть равен d0 цилиндрической выточки.
3. Минимальную толщину стенки под резьбой в плоскости торца трубы (t) вычисляют по формуле t = 0,875s - 0,5 (D×D - d1), (с округлением до 0,1 мм),
где s - номинальная толщина стенки трубы, мм;
D - номинальный наружный диаметр трубы, мм;
d2 - внутренний диаметр резьбы в плоскости торца трубы, мм;
D - коэффициент, учитывающий величину верхнего предельного отклонения наружного диаметра труб;
D = 1,0075 - для всех условных диаметров труб (исполнение А);
D = 1,01 - для труб с условным диаметром до 219 мм (исполнение Б);
D = 1,0125 - для труб с условным диаметром свыше 219 мм (исполнение Б).
Если величина t, вычисленная по вышеприведенной формуле, окажется менее 1,5 мм, то минимальная толщина стенки под резьбой в плоскости торца трубы должна быть равной 1,5 мм.
4. Резьбовые соединения труб с условными диаметрами 351, 377 и 426 мм - по техническим условиям, утвержденным в установленном порядке.
(Измененная редакция, Изм. № 2, 4).
Таблица 14
Соединение труб с удлиненной треугольной резьбой и муфт к ним - У
мм
|
Наружный диаметр трубы D |
Средний диаметр резьбы в основной плоскости dср |
Диаметр резьбы в плоскости торца трубы |
Длина резьбы трубы |
Внутренний диаметр резьбы в плоскости торца муфты d*3 |
Диаметр цилиндрической выточки муфты d0 |
Ширина торцовой плоскости муфты Вmin |
Расстояние от торца муфты до конца сбега резьбы на трубе при свинчивании вручную (натяг) А |
Расстояние от торца трубы до середины муфты в закрепленном соединении b* |
Натяг резьбы трубы Ат |
|||||
|
наружный d*1 |
внутренний d*2 |
резьбы в плоскости торца муфты d*3 |
до основной плоскости (с полным профилем) l* |
Номин. |
Пред. откл. |
исполнение А |
исполнение Б |
|||||||
|
114 |
114,3 |
112,566 |
110,542 |
106,922 |
76,0 |
60,125 |
111,230 |
116,7 |
+0,8 |
3,0 |
6,0 |
9,5 |
12,5 |
6,3 |
|
127 |
127,0 |
125,266 |
122,648 |
119,028 |
85,5 |
69,625 |
123,930 |
129,4 |
4,0 |
12,3 |
||||
|
140 |
139,7 |
137,966 |
135,130 |
131,510 |
89,0 |
73,125 |
136,630 |
142,1 |
3,5 |
12,8 |
||||
|
146 |
146,1 |
144,316 |
141,105 |
137,485 |
95,0 |
79,125 |
142,980 |
148,4 |
6,5 |
15,8 |
||||
|
168 |
168,3 |
166,541 |
163,111 |
159,49l |
98,5 |
82,625 |
165,205 |
170,7 |
6,0 |
15,8 |
||||
|
178 |
177,8 |
176,066 |
172,448 |
168,829 |
101,5 |
85,625 |
174,730 |
180,2 |
4,5/6,5 |
18,8 |
||||
|
194 |
193,7 |
191,941 |
188,105 |
184,485 |
105,0 |
89,125 |
190,512 |
196,1 |
7,5 |
11,0 |
19,3 |
|||
|
219 |
219,1 |
217,341 |
212,911 |
209,291 |
114,5 |
98,625 |
215,912 |
221,5 |
+1,5 |
8,5 |
25,8 |
|||
|
245 |
244,5 |
242,741 |
237,936 |
234,316 |
120,5 |
104,625 |
241,312 |
246,9 |
31,8 |
|||||
Примечания:
1. Концом сбега резьбы считается конец стороны наиболее удаленной от торца трубы впадины непрерывно исчезающей нитки резьбы.
2. Допускается коническая выточка у торца муфты, образующая которой параллельна образующей конуса резьбы. Наименьший диаметр конической выточки должен быть равен d0 цилиндрической выточки.
3. Минимальную толщину стенки под резьбой в плоскости торца трубы (t) вычисляют по формуле, приведенной в примечании 3 к табл. 13. Если величина t, вычисленная по вышеприведенной формуле, окажется менее 1,15 мм, то минимальная толщина стенки под резьбой в плоскости торца трубы должна быть равной 1,5 мм.
(Измененная редакция, Изм. № 2, 4).
1 - измерительная плоскость резьбового калибра кольца; 2 - резьбовой калибр-кольцо; 3 - труба; 4 - резьбовой калибр-пробка; 5 - муфта; 6 - измерительная плоскость резьбового калибра-пробки
Черт. 7
2.13.7. После свинчивания трубы и муфты на станке торец муфты должен совпадать с концом сбега резьбы на трубе (см. черт. 6). Предельные отклонения ±3,2 мм.
2.14. Основные параметры и размеры соединений труб с трапецеидальной резьбой и муфт к ним ОТТМ
2.14.1. Форма и размеры профиля резьбы труб и муфт к ним должны соответствовать указанным на черт. 8 и в табл. 16.
2.14.2. Размеры резьбовых соединений должны соответствовать указанным на черт. 9 и в табл. 17.
2.14.3. Предельные отклонения от номинальных размеров резьбы должны соответствовать указанным в табл. 18.
Таблица 15
мм
|
шаг резьбы |
конусности резьбы |
||
|
на длине 25,4 мм |
на всей длине резьбы с полным профилем |
трубы |
муфты |
|
±0,075 |
±0,150 |
+0,36 -0,22 |
+0,22 -0,36 |
Примечания:
1. Предельные отклонения шага резьбы на длине, не превышающей 25,4 мм, допускаются для расстояния между любыми двумя нитками с полным профилем. Для расстояния между нитками более 25,4 мм допускается увеличение предельных отклонений пропорционально увеличению расстояния, но не свыше указанных в таблице для всей длины резьбы с полным профилем.
2. Предельные отклонения конусности (отклонения от разности двух диаметров) приняты на длине резьбы 100 мм и относятся к среднему диаметру резьбы трубы и муфты, а также к наружному диаметру резьбы трубы и внутреннему диаметру резьбы муфты.
Таблица 16
Размеры, мм
|
Норма |
|
|
Шаг резьбы Р |
5,08 |
|
Высота профиля h1 |
1,60 ± 0,03 |
|
Угол профиля a* |
13° |
|
Угол наклона стороны профиля: |
|
|
a1 |
3° ±1° (исполнение А) ±1° 30' (исполнение Б) |
|
a2 |
40° ±1° (исполнение А) ±1° 30' (исполнение Б) |
|
Ширина вершины профиля b* |
2,29 |
|
Ширина впадины профиля b1 |
2,43+0,05 |
|
Радиус скругления профиля: |
|
|
r |
0,20+0,05 |
|
r1 |
0,80+0,05 |
|
r2 |
0,20-0,05 |
|
r3 |
0,80-0,05 |
|
Угол уклона j |
1°47'24'' |
|
Конусность 2tgj |
1:16 |
Примечания:
1. Шаг резьбы Р измеряется параллельно оси резьбы трубы и муфты.
2. Все предельные отклонения на элементы профиля резьбы, за исключением предельных отклонений на углы наклона сторон и высоту профиля, даны для проектирования резьбообразующего инструмента и контролю не подвергаются.
* Размеры для справок.
1 - ось резьбы муфты ОТТМ и ОТТГ и раструбного конца трубы ТБО; 2 - линия, параллельная оси резьбы муфты ОТТМ и ОТТГ и раструбного конца трубы ТБО; 3 - ось резьбы трубы ОТТМ и ОТТГ и ниппельного конца трубы ТБО; 4 - линия, параллельная оси резьбы трубы ОТТМ и ОТТГ и ниппельного конца трубы ТВО
Черт. 8
2.14.4. При определении натяга резьбы трубы по резьбовому и гладкому калибрам-кольцам измерительная плоскость калибров-колец должна совпадать с торцом трубы или не доходить до торца не более чем на 2,5 мм (черт. 10).
2.14.5. Натяг оцинкованной или фосфатированной резьбы муфты по резьбовому калибру-пробке должен быть равен 12-2,5 мм, а измерительная плоскость гладкого калибра-пробки должна совпадать с торцом муфты или утопать относительно торца муфты не более чем на 2,5 мм (черт. 10).
* Размеры для справок.
1 - конец сбега резьбы; 2 - нитки со срезанными вершинами; 3 - основная плоскость; 4 - сбег резьбы (13 max)
Черт. 9
2.14.6. При свинчивании вручную оцинкованных или фосфатированных муфт с трубами натяг должен быть равен (14 ± 3) мм (черт. 11). Допускается подбор муфт и концов труб по натягу.
2.14.7. После свинчивания трубы и муфты на станке торец муфты должен совпадать с концом сбега резьбы на трубе или не доходить до него не более чем на 5 мм (черт. 11).
Таблица 17
Соединения труб с трапецеидальной резьбой и муфт к ним - ОТТМ
мм
|
Наружный диаметр трубы D |
Внутренний диаметр резьбы в основной плоскости dср |
Диаметры резьбы в плоскости торца трубы |
Длина резьбы трубы |
Внутренний диаметр резьбы в плоскости торца муфты d*3 |
Диаметр фаски в плоскости торца муфты, d0 (пред. откл. +1) |
Длина резьбы с полным профилем l1 min |
Ширина торцовой плоскости муфты Bmin |
||||
|
наружный d*1 |
внутренний d*2 |
резьбы в плоскости торца муфты d*3 |
до основной плоскости (с полным профилем) l* |
исполнение А |
исполнение Б |
||||||
|
114 |
114,3 |
111,100 |
111,675 |
108,475 |
74 |
42 |
112,225 |
116,5 |
76 |
3,0 |
6,0 |
|
127 |
127,0 |
123,800 |
124,250 |
121,050 |
76 |
44 |
124,925 |
129,2 |
78 |
4,0 |
|
|
140 |
139,7 |
136,500 |
136,700 |
133,500 |
80 |
48 |
137,625 |
141,9 |
82 |
3,5 |
|
|
146 |
146,1 |
142,850 |
143,050 |
139,850 |
80 |
48 |
143,975 |
148,3 |
82 |
6,5 |
|
|
168 |
168,3 |
165,075 |
165,025 |
161,825 |
84 |
52 |
166,200 |
170,5 |
86 |
6,0 |
|
|
178 |
177,8 |
174,600 |
174,300 |
171,100 |
88 |
56 |
175,725 |
180,0 |
90 |
4,5 |
6,5 |
|
194 |
193,7 |
190,475 |
189,925 |
186,725 |
92 |
60 |
191,600 |
195,9 |
94 |
7,5 |
|
|
219 |
219,1 |
215,875 |
214,950 |
211,750 |
98 |
65 |
217,000 |
221,3 |
100 |
9,0 |
|
|
245 |
244,5 |
241,275 |
240,350 |
237,150 |
98 |
66 |
242,400 |
246,7 |
100 |
||
|
273 |
273,1 |
269,850 |
268,925 |
265,725 |
98 |
66 |
270,975 |
275,3 |
100 |
8,5 |
|
|
299 |
298,5 |
295,250 |
294,325 |
291,125 |
98 |
66 |
296,375 |
300,7 |
100 |
||
|
324 |
323,9 |
320,650 |
319,725 |
316,525 |
98 |
66 |
321,775 |
326,1 |
100 |
9,5 |
|
|
340 |
339,7 |
336,525 |
335,600 |
332,400 |
98 |
66 |
337,650 |
342,0 |
100 |
8,5 |
|
Примечания:
1. Концом сбега резьбы считается конец стороны впадины непрерывно исчезающей нитки, наиболее удаленный от торца трубы.
2. Минимальную толщину стенки под резьбой в плоскости торца трубы (t) вычисляют по формуле, приведенной в примечании 3 к табл. 13.
3. Размер Вmin указан только для нормальных муфт.
4. Высота фаски резьбы в плоскости торца трубы должна быть равной 2 мм.
(Измененная редакция, Изм. № 2).
Таблица 18
|
Предельные отклонения |
||||||
|
шага резьбы |
конусности резьбы |
|||||
|
на длине 25,4 мм |
на всей длине резьбы с полным профилем |
трубы |
муфты |
|||
|
для труб с условным диаметром до 194 мм включ. |
для труб с условным диаметром св. 194 мм |
для труб с условным диаметром до 194 мм включ. |
для труб с условным диаметром св. 194 мм |
|||
|
А |
±0,05 |
±0,10 |
+0,25 |
+0,25 -0,10 |
-0,25 |
+0,10 -0,25 |
|
Б |
+30 -0,20 |
+0,20 -0,30 |
||||
(Измененная редакция, Изм. № 4).
1 - измерительная плоскость резьбового и гладкого калибров-колец; 2 - резьбовой и гладкий калибры-кольца; 3 - труба; 4 - резьбовой калибр-пробка; 5 - гладкий калибр-пробка; 6 - муфта; 7 - измерительная плоскость резьбового калибра-пробки; 8 - измерительная плоскость гладкого калибра-пробки
Черт. 10
1 - конец сбега резьбы; 2 - соединение свинченное на станке; 3 - соединение, свинченное вручную
Черт. 11
2.15. Основные параметры и размеры высоко-герметичных соединений труб и муфт к ним - ОТТГ
2.15.1. Форма и размеры профиля резьбы труб и муфт к ним должны соответствовать указанным на черт. 8 и в табл. 16.
2.15.2. Размеры высокогерметичных соединений должны соответствовать указанным на черт. 12 и в табл. 19.
2.15.3. Предельные отклонения от номинальных размеров резьб должны соответствовать указанным в табл. 20.
2.15.4. Предельные отклонения конусности на всей длине уплотнительного конического пояска труб и уплотнительной конической расточки муфт соответственно ±0,03 и +0,06 мм.
2.15.5. При определении натяга резьбы по резьбовому и гладкому калибрам-кольцам измерительная плоскость калибров-колец должна находиться на расстоянии 24-2,5 мм от торца трубы (черт. 13).
2.15.6. Натяг оцинкованной или фосфатированной резьбы муфты по резьбовому калибру-пробке должен быть равен 8-2,5 мм (черт. 13), а измерительная плоскость гладкого калибра-пробки должна утопать относительно торца муфты от 4,0 до 6,5 мм (черт. 13).
2.15.7. При определении величины диаметра уплотнительного конического пояска трубы измерительная плоскость гладкого калибра-кольца должна совпадать с торцом трубы или не доходить до торца не более чем на 1,6 мм (черт. 13).
2.15.8. При определении величины диаметра в расчетной плоскости оцинкованной
или фосфатированной уплотнительной конической расточки муфты измерительная
плоскость гладкого калибра-пробки должна находиться на расстоянии l2 (см. табл. 19) от торца муфты. Предельные отклонения
мм (см. черт. 13).
* Размеры для справок.
1 - конец сбега резьбы; 2 - нитки со срезанными вершинами; 3 - основная плоскость; 4 - сбег резьбы (13 max); 5 - длина резьбы с полным профилем; 6 - расчетная плоскость; 7 - сбег резьбы
Черт. 12
Примечание. Для нормальных муфт ОТТГ допускается замена фаски 35° ± 5° радиусом округления, не превышающим ширину фаски.
Таблица 19
Высокогерметичные соединения труб и муфт к ним - ОТТГ и труб безмуфтовых раструбных - ТБО
мм
|
Наружный диаметр трубы D |
Внутренний диаметр резьбы в основной плоскости d*вн |
Труба ОТТГ и ниппельный конец трубы ТБО |
Муфта ОТТГ и раструбный конец трубы ТБО |
||||||||||||
|
Наружный диаметр резьбы в плоскости торца d*1 |
Диаметр уплотнительного конического пояска в плоскости торца d*2 |
Расстояние от торца до конца сбега резьбы l (пред. откл. -1) |
Расстояние от торца до основной плоскости l* |
Диаметр уплотнительной конической расточки в расчетной плоскости d*упл |
Внутренний диаметр резьбы в плоскости торца d*3 |
Диаметр фаски в плоскости торца d0 (пред. откл. +1) |
Расстояние от торца до упорного уступа L1 (пред. откл. +1) |
Расстояние от торца до расчетной плоскости l*1 |
Длина резьбового конуса l2 (пред. откл. -1) |
Длина резьбы с полным профилем l3 min |
Ширина торцевой плоскости Вmin |
||||
|
Исполнение А |
Исполнение Б |
||||||||||||||
|
114 |
114,3 |
111,100 |
110,175 |
106,375 |
98 |
66 |
106,425 |
112,475 |
116,5 |
96 |
88 |
82 |
72 |
3,0 |
|
|
127 |
127,0 |
123,800 |
122,750 |
118,950 |
100 |
68 |
119,000 |
125,175 |
129,2 |
98 |
90 |
84 |
74 |
4,0 |
6,0 |
|
140 |
139,7 |
136,500 |
135,200 |
134,400 |
104 |
72 |
131,450 |
137,875 |
141,9 |
102 |
94 |
88 |
78 |
3,5 |
|
|
146 |
146,1 |
142,850 |
141,550 |
137,750 |
104 |
72 |
137,800 |
144,225 |
148,3 |
102 |
94 |
88 |
78 |
6,5 |
|
|
168 |
168,3 |
165,075 |
163,525 |
159,725 |
108 |
76 |
159,775 |
166,450 |
170,5 |
106 |
98 |
92 |
82 |
6,0 |
|
|
178 |
177,8 |
174,600 |
172,800 |
169,000 |
112 |
80 |
169,050 |
175,975 |
180,0 |
110 |
102 |
96 |
86 |
4,5 |
6,5 |
|
194 |
193,7 |
190,475 |
188,425 |
184,625 |
116 |
84 |
184,675 |
191,850 |
195,9 |
114 |
106 |
100 |
90 |
7,5 |
|
|
219 |
219,1 |
215,875 |
213,450 |
209,650 |
122 |
90 |
209,700 |
217,250 |
221,3 |
120 |
112 |
106 |
96 |
9,0 |
|
|
245 |
244,5 |
241,275 |
238,850 |
235,050 |
122 |
90 |
235,100 |
242,650 |
246,7 |
120 |
112 |
106 |
96 |
9,0 |
|
|
273 |
273,1 |
269,850 |
267,425 |
263,625 |
122 |
90 |
263,675 |
271,225 |
275,3 |
120 |
112 |
106 |
96 |
8,5 |
|
Примечание:
1. Концом сбега резьбы считается конец стороны впадины непрерывно исчезающей нитки, наиболее удаленный от торца трубы ОТТГ и ниппельного конца трубы ТБО.
2. Конец сбега резьбы муфты ОТТГ и раструбного конца трубы ТБО может находиться на фаске, расположенной между резьбой и уплотнительной конической расточкой.
3. Минимальную толщину стенки уплотнительного конического пояска в плоскости торца трубы ОТТГ и ниппельного конца трубы ТБО (t) вычисляют по формуле, приведенной в примечании 3 к табл. 13. За величину d2 принимается диаметр уплотнительного конического пояска с плоскости торца. Если величина t, вычисленная по формуле, окажется менее 3,0 мм, то величина t принимается равной 3,0 мм, а для труб исполнения А размерами 219, 245 и 273 мм с толщиной стенки 8,9 мм и для труб исполнения Б размерами 245´10 мм и 273´10,2 мм принимается равной 2,5 мм.
4. (Исключено, Изм. № 4).
5. Размер Bmin указан только для нормальных муфт к трубам ОТТГ.
(Измененная редакция, Изм. № 2, 4).
Таблица 20
Предельные отклонения |
||||||
|
шага резьбы |
конусности резьбы |
|||||
|
на длине 25,4 мм |
на всей длине резьбы с полным профилем |
трубы |
муфты |
|||
|
для труб с условным диаметром до 194 мм включ. |
для труб с условным диаметром св. 194 мм |
для труб с условным диаметром до 194 мм включ. |
для труб с условным диаметром св. 194 мм |
|||
|
А |
±0,05 |
±0,10 |
+0,15 |
+0,20 -0,05 |
-0,15 |
+0,05 -0,20 |
|
Б |
+0,30 -0,20 |
+0,20 -0,30 |
||||
(Измененная редакция, Изм. № 4).
1 - измерительная плоскость резьбового и гладкого калибров-колец; 2 - резьбовой и гладкий калибры-кольца; 3 - труба ОТТГ и ниппельный конец трубы ТБО; 4 - резьбовой калибр-пробка; 5 - гладкий калибр-пробка; 6 - муфта ОТТГ и раструбный конец трубы ТБО; 7 - измерительная плоскость резьбового калибра-пробки; 8 - измерительная плоскость гладкого калибра-пробки; 9 - гладкий калибр-кольцо; 10 - измерительная плоскость гладкого калибра-кольца
Черт. 13
2.15.9. При свинчивании вручную оцинкованных или фосфатированных муфт с трубами натяг должен быть равен 10 ± 2 мм (черт. 14). Допускается подбор муфт и концов труб по натягу.
2.15.10. После свинчивания трубы и муфты на станке должно быть обеспечено сопряжение торца трубы и упорного уступа муфты по всему периметру стыка упорных поверхностей (см. черт. 14). Допускается наличие зазора между упорными поверхностями трубы и муфты не свыше 1 мм (для исполнения Б).
1 - конец сбега резьбы; 2 - соединение, свинченное вручную; 3 - соединение, свинченное на станке
Черт. 14
2.15.11. Торцы трубы и муфты и упорные уступы муфты должны быть перпендикулярны к оси резьбы. Предельное отклонение от перпендикулярности - 0,06 мм.
Предельное отклонение от плоскостности на ширине упорных поверхностей - 0,06 мм.
2.15.12. Оси резьб и оси уплотнительных конических поверхностей труб и муфт должны совпадать. Предельное отклонение от соосности - 0,04 мм.
2.16. Основные параметры и размеры соединений труб безмуфтовых раструбных ТБО
2.16.1. Форма и размеры профиля резьбы ниппельного и раструбного концов труб должны соответствовать указанным на черт. 8 и в табл. 16.
2.16.2. Размеры соединений должны соответствовать указанным на черт. 12 и в табл. 19.
2.16.3. Предельные отклонения от номинальных размеров резьбы должны соответствовать указанным в табл. 21.
2.16.4. Предельные отклонения конусности на всей длине уплотнительного конического пояска ниппельного конца трубы и уплотнительной конической расточки раструбного конца трубы соответственно ±0,03 мм и ±0,06 мм.
Таблица 21
мм
|
шага резьбы |
конусности резьбы |
||
|
на длине 25,4 мм |
на всей длине резьбы с полным профилем |
ниппельного конца трубы |
раструбного конца трубы |
|
±0,5 |
±0,10 |
+0,15 |
-0,15 |
Примечания:
1. См. примечание 1 к табл. 15.
2. Предельные отклонения конусности (отклонения от разности двух диаметров) приняты на длине резьбы 100 мм и относятся к наружному и внутреннему диаметрам резьбы ниппельного и раструбного концов трубы. Конусность по внутреннему диаметру резьбы ниппельного конца трубы проверяется на длине резьбы с полным профилем и со срезанными вершинами (до начала сбега резьбы).
(Измененная редакция, Изм. № 3).
2.16.5. Натяги резьб ниппельного и раструбного концов труб должны соответствовать указанным в пп. 2.15.5 и 2.15.6.
2.16.6. Величина диаметров уплотнительных конических поверхностей ниппельного и раструбного концов трубы должна определяться в соответствии с пп. 2.15.7 и 2.15.8.
2.16.7. Торцы трубы и упорный уступ раструбного конца трубы должны быть перпендикулярны к оси резьбы. Предельные отклонения от перпендикулярности - 0,06 мм.
Предельное отклонение от плоскостности на ширине упорных поверхностей - 0,06 мм.
2.16.8. Оси резьб и оси уплотнительных конических поверхностей ниппельного и раструбного концов трубы, должны совпадать. Предельное отклонение от соосности - 0,04 мм.
2.16.9. Не допускается разность между максимальной и минимальной шириной упорного уступа раструбного конца трубы более 2 мм.
2.16.10. Не допускается разностенность в плоскости торца раструбного конца трубы более 2 мм.
2.17. Оси резьб обоих концов муфты должны совпадать. Предельные отклонения от соосности: 0,75 мм в плоскости торца и 3 мм на длине 1 м.
2.18. Не допускается разностенность в плоскости торца специальных муфт с уменьшенным наружным диаметром к трубам ОТТМ и ОТТГ более 1 мм.
2.19. Поверхности резьбы, уплотнительных конических поверхностей, упорных торцов и уступов труб и муфт должны быть гладкими, без заусенцев, рванин и других дефектов, нарушающих их непрерывность и прочность, а также герметичность соединения.
Параметр шероховатости поверхности резьбы Rz по ГОСТ 2789-73 не должен быть более 20 мкм.
2.20. Для труб с треугольной резьбой нитки с черновинами по вершинам резьбы не допускаются на расстоянии не менее (l - 13) мм от торца трубы. Для труб ОТТМ, ОТТГ и ТБО нитки с черновинами по всей окружности не допускаются на расстоянии менее (l - 10) мм от торца грубы. На длине (l - 10) мм допускаются черновины на одной нитке для труб диаметром до 194 мм и на двух нитках для труб диаметром 219 мм и более общей протяженностью для каждой нитки не более 25 % длины окружности.
(Измененная редакция, Изм. № 4).
2.21. Для выхода резьбообразующего инструмента на середине муфт к трубам с треугольной резьбой и ОТТМ может быть проточена канавка на глубину, не превышающую высоту профиля h1 более чем на 0,5 мм. Канавка не должна иметь острых углов (подрезов).
При отсутствии канавки допускается перерез встречных ниток в середине муфты:
к трубам с треугольной резьбой - на расстоянии не свыше 9 мм, считая от середины муфты в обе стороны; к трубам ОТТМ - на длине резьбы с неполным профилем.
2.22. (Исключен, Изм. № 4).
3.1. Трубы предъявляются к приемке партиями. Партия должна состоять из труб одного условного диаметра, одной толщины стенки и группы прочности, одного типа соединения и одного исполнения и сопровождаться одним документом, удостоверяющим соответствие их качества требованиям настоящего стандарта и содержащим:
товарный знак или наименование предприятия-изготовителя и товарный знак;
условный диаметр труб и толщину стенки в миллиметрах, длину труб в метрах и массу труб в килограммах;
тип соединения;
вид исполнения (для труб исполнения А);
группу прочности, номер плавки, массовую долю серы и фосфора для всех входящих в партию плавок;
номера труб (от - до для каждой плавки);
результаты испытаний;
обозначение настоящего стандарта.
(Измененная редакция, Изм. № 1).
3.2. Проверке внешнего вида, величины дефектов и геометрических размеров и параметров, кроме указанных ниже в настоящем пункте, должна быть подвергнута каждая труба и каждая муфта партии.
Шаг резьбы (на длине 25,4 мм и на всей длине), углы наклона сторон и высота профиля, конусность по среднему диаметру треугольной резьбы, конусность по внутреннему диаметру наружной трапецеидальной резьбы и по наружному диаметру внутренней трапецеидальной резьбы, перпендикулярность и плоскостность упорных поверхностей, соосность резьбы и уплотнительных конических поверхностей соединений труб и муфт ОТТГ и труб ТБО и ширина упорного уступа раструбного конца труб ТБО линейные и угловые размеры, указанные на черт. 6, 9, 12 и в табл. 13, 14, 17, 19, должны проверяться периодически в объемах и сроках, согласованных изготовителем с потребителем.
Проверке соосности резьб должно быть подвергнуто не менее 1 % муфт от каждой партии.
(Измененная редакция, Изм. № 3).
3.3. Проверке качества сопряжения торца трубы ОТТГ и упорного уступа муфты подвергают каждое соединение партии.
3.4. Проверка массы должна производиться на каждой трубе партии исполнения А и Б.
Допускается для труб исполнения Б проверку массы не проводить. При этом трубы принимаются по фактической расчетной массе.
Муфты принимаются по фактически расчетной массе.
(Измененная редакция, Изм. № 3).
3.5. Массовая доля серы и фосфора должна проверяться от каждой плавки. Для труб, изготовляемых из металла другого предприятия, массовая доля серы и фосфора должна удостоверяться документом о качестве предприятия-изготовителя металла.
3.6. Для проверки механических свойств металла отбирают по одной трубе и одной муфтовой заготовке каждого размера от каждой плавки.
3.7. Для проверки на сплющивание отбирают по одной трубе каждого размера от каждой плавки.
3.8. Проверке внутренним гидравлическим давлением должна быть подвергнута каждая труба исполнения А и Б с навинченной и закрепленной на ней муфтой, а также каждая труба ТБО.
Допускается проверку труб исполнения Б с короткой и удлиненной треугольной резьбой условным диаметром 245 мм и более проводить по показателю внутреннего гидравлического давления в объеме не менее 50 % от партии труб с распространением результатов на всю партию.
Испытание труб ТБО допускается проводить до нарезания резьбы после термической обработки.
3.9. Для обнаружения продольных дефектов трубы и муфты (муфтовая заготовка) должны быть подвергнуты неразрушающему контролю методом ультразвуковой или магнитоиндукционной дефектоскопии.
Проверке неразрушающим методом на наличие продольных дефектов должна быть подвергнута каждая труба всех групп прочности исполнения А и начиная с группы прочности Д и выше исполнения Б.
По требованию потребителя допускается поставка без контроля неразрушающими методами труб всех групп прочности исполнения Б и труб группы прочности Д исполнения А.
(Измененная редакция, Изм. № 4).
3.10. При получении неудовлетворительных результатов испытаний хотя бы по одному из показателей по нему проводят повторные испытания на удвоенной выборке от той же партии.
Результаты повторных испытаний распространяются на всю партию.
3.11. Контроль натяга свинченных вручную труб и муфт (пп. 2.13.6, 2.14.6, 2.15.9) осуществляется только при выполнении заказа потребителей на поставку труб с муфтами, навинченными от руки.
3.12. Контроль натяга резьбы муфт допускается производить до оцинкования или фосфатирования резьбы.
3.11, 3.12. (Введены дополнительно, Изм. № 4).
4.1. Осмотр внешней и внутренней поверхности труб и муфт проводится визуально.
4.2. Глубина залегания дефектов должна проверяться надпиловкой или другим способом в одном-трех местах.
4.3. Проверка геометрических размеров и параметров труб и муфт должна осуществляться с помощью универсальных измерительных средств или специальных приборов, обеспечивающих необходимую точность измерения, в соответствии с технической документацией, утвержденной в установленном порядке.
4.4. Проверка внутреннего диаметра трубы должна проводиться по всей длине трубы двойным жестким шаблоном или цилиндрической оправкой с размерами, указанными в табл. 22.
Для труб со станов периодической прокатки (пилигримовых) с условным диаметром 245 - 340 мм и для труб ТБО всех диаметров допускается уменьшение диаметра шаблона (оправки) на 1 мм. Предельное отклонение диаметра шаблона (оправки) +0,25 мм.
Таблица 22
мм
|
Длина шаблона (оправки) |
Диаметр шаблона (оправки) |
|
|
114 - 219 |
150 |
d*1 - 3 |
|
245 - 340 |
300 |
d* - 4 |
|
351 - 508 |
300 |
d*1 - 3 |
d* - номинальный внутренний диаметр трубы.
4.5. Изогнутость на концевых участках трубы определяется исходя из величины стрелы прогиба и вычисляется как частное от деления стрелы прогиба в миллиметрах на расстояние от места измерения до ближайшего конца трубы в метрах.
При измерении изогнутости труб ТБО длина высаженной части раструбного конца в расчет не принимается.
4.6. Конусность по наружному диаметру резьбы труб и ниппельных концов труб ТБО и по внутреннему диаметру резьбы муфт и раструбных концов труб ТБО, а также конусность уплотнительных конических поверхностей труб и муфт ОТТГ и труб ТБО должна проверяться гладкими коническими калибрами (кольцами и пробками полными или неполными) или специальными приборами.
4.7. Проверка толщины стенки под резьбой (t) производится во впадине первой нитки, расположенной со стороны торца трубы.
4.8. Для проверки совпадения осей резьбы обоих концов муфта должна навинчиваться на нарезанный цилиндрический стержень, точно выверенный и центрированный в патроне токарного станка или специального приспособления. В свободный конец муфты должен ввинчиваться другой цилиндрический, чисто обработанный стержень длиной не менее 250 мм.
Вращая муфту, определяют биение (удвоенную величину отклонения соосности) стержня у торца муфты и у конца стержня индикатором часового типа с ценой деления 0,01 мм. Отсчет величины биения у конца стержня ведется от середины муфты.
4.9. Натяг резьбы труб с треугольной резьбой должен проверяться резьбовым калибром-кольцом.
4.10. Натяг резьбы муфт с треугольной резьбой должен проверяться резьбовым калибром-пробкой.
4.11. Натяг резьбы труб ОТТМ, ОТТГ и ниппельных концов труб ТБО, должен проверяться гладким и резьбовым калибрами-кольцами.
4.12. Натяг резьбы муфт к трубам ОТТМ и ОТТГ и раструбных концов труб ТБО должен проверяться гладким и резьбовым калибрами-пробками.
4.13. Величина диаметра уплотнительных конических поверхностей соединений труб ОТТГ и муфт к ним, а также труб ТБО должна проверяться гладкими коническими калибрами (пробками и кольцами).
4.14. При проверке сопряжения торца трубы ОТТГ с упорным уступом муфты пластинчатый щуп толщиной 0,03 мм, (для труб исполнения А) и толщиной 1 мм (для труб исполнения Б) не должен проходить по всему периметру стыка.
4.15. Проверка труб по массе исполнения А и Б должна проводиться на специальных средствах для взвешивания точностью, обеспечивающей требования настоящего стандарта.
4.16. Для определения массовой доли серы и фосфора пробы отбирают при разливке стали по ГОСТ 7565-81.
4.17. Испытание на растяжение должно проводиться по ГОСТ 10006-80 на коротких продольных образцах.
Для проверки механических свойств металла от каждой отобранной трубы и муфтовой заготовки вырезают по одному образцу. Образцы должны вырезаться вдоль любого конца трубы и муфтовой заготовки методом, не вызывающим изменения структуры и механических свойств металла. Образцы труб ТБО должны вырезаться из высаженной части раструбного конца трубы.
Допускается выпрямлять концы образца для захвата зажимами испытательной машины.
Допускается проводить контроль механических свойств труб группы прочности Д неразрушающими методами контроля в соответствии с нормативно-технической документацией, При возникновении разногласий испытания проводят по ГОСТ 10006-80.
(Измененная редакция, Изм. № 4).
4.18. Испытание на сплющивание должно проводиться по ГОСТ 8695-75 на кольцевых образцах шириной (60 ± 5) мм, отрезаемых от обоих концов каждой готовой отобранной трубы (или до нарезания резьбы).
Образцы труб ТБО должны отрезаться от гладкой части трубы.
Допускается наличие фаски не более 1´45° на кольцевых образцах.
При испытании образцов труб группы прочности К и выше допускается преждевременное появление трещин или надрывов в плоскости наибольшего изгиба образца (по линии приложения силы).
4.19. Продолжительность испытания гидравлическим давлением должна быть не менее 10 с.
При испытании в стенке и резьбе трубы и муфты не должно обнаруживаться течи.
Трубы, у которых в соединении обнаружен пропуск воды, подлежат перенарезанию с последующим повторным гидравлическим испытанием.
4.20. Проверка труб на наличие продольных дефектов неразрушающими методами контроля приведена в обязательном приложении 3.
5.1. Маркировка, упаковка, транспортирование и хранение должны соответствовать ГОСТ 10692-80 со следующими дополнениями.
5.1.1. На каждой трубе на расстоянии 0,4 - 0,6 м от одного из концов должна быть четко нанесена маркировка ударным способом или накаткой:
условный диаметр трубы в миллиметрах;
номер трубы;
группа прочности;
толщина стенки в миллиметрах;
товарный знак или наименование предприятия-изготовителя и товарный знак;
месяц и год выпуска.
Место нанесения маркировки должно быть обведено или подчеркнуто устойчивой светлой краской. Высота знаков маркировки должна быть 5 - 8 мм. При механическом способе нанесения маркировки труб допускается расположение ее в один ряд, Допускается на каждой трубе маркировать номер плавки.
(Измененная редакция, Изм. № 1).
5.1.2. Рядом с маркировкой ударным способом или накаткой на каждой трубе должна быть нанесена маркировка устойчивой светлой краской:
условный диаметр трубы в миллиметрах;
группа прочности;
толщина стенки в миллиметрах;
длина трубы в сантиметрах;
масса трубы в килограммах (наносится при контроле массы);
тип соединения (кроме труб с короткой треугольной резьбой);
вид исполнения (при поставке труб исполнения А);
товарный знак или наименование предприятия-изготовителя и товарный знак.
Высота знаков маркировки должна быть 35 - 60 мм.
(Измененная редакция, Изм. № 1, 2).
5.1.3. На каждой муфте должна быть четко нанесена маркировка накаткой или ударным способом товарного знака предприятия-изготовителя, группы прочности, буквы С - для специальных муфт к трубам ОТТМ и ОТТГ и вида исполнения муфты (для муфт исполнения А).
5.1.4. Все знаки маркировки должны быть нанесены вдоль образующей трубы и муфты, Допускается наносить знаки маркировки перпендикулярно образующей способом накатки. Допускается наносить знаки маркировки на торцах муфты.
(Измененная редакция, Изм. № 4).
5.1.5. Резьба, упорные торцы и уступы и уплотнительные конические поверхности труб и муфт должны быть защищены от повреждений специальными металлическими предохранительными кольцами и ниппелями.
Кольца должны закрывать соединение труб и ниппельных концов труб ТБО на длине не менее 2/3L минус 3 нитки. Ниппели должны закрывать соединение муфт и раструбных концов труб ТБО на длине не менее 2/3L.
Кольца и ниппели должны выступать за края торцов труб и муфт не менее чем на 10 мм.
Конструкция колец и ниппелей должна обеспечивать возможность отвинчивания их.
При навинчивании колец и ниппелей резьбы, упорные торцы и уступы и уплотнительные конические поверхности должны быть покрыты антикоррозионной смазкой.
5.1.6. При отгрузке в одном вагоне должны быть трубы только одной партии.
Допускается отгрузка в одном вагоне труб разных партий при условии их разделения, если партия труб или ее остаток не соответствуют грузоподъемности вагона.
5.1.7. По требованию потребителя трубы условным диаметром до 219 мм включительно поставляются в пакетах, прочно увязанных не менее чем в двух местах.
По согласованию изготовителя с потребителем трубы условным диаметром свыше 219 до 324 мм включительно транспортируют в пакетах прочно увязанных не менее чем в трех местах.
(Измененная редакция, Изм. № 2).
5.1.8. В одном пакете должны быть трубы только одной партии.
5.1.9. Масса пакета труб не должна превышать 5 т, а по требованию потребителя - 3 т. При увязке труб в пакеты муфты на трубах и раструбные концы труб ТБО должны быть сориентированы в одну сторону.
Обязательное
* Приложения 1, 2 (Исключены, Изм. № 2).
Контроль труб на наличие продольных дефектов осуществляется по всей длине трубы перед нарезанием резьбы на оборудовании для неразрушающего контроля.
Настройка чувствительности аппаратуры выполняется по рабочему испытательному образцу, изготовленному из гладкой части трубы контролируемого размера и имеющему специальные искусственные дефекты.
Трубы, не выдержавшие испытаний неразрушающего контроля, должны быть забракованы. Допускается ремонтировать забракованные трубы с последующим проведением повторных испытаний.
Исполнение А
Испытательный образец должен иметь искусственные дефекты, размеры которых приведены в таблице.
Размеры, мм
|
Вид контроля |
Ультразвуковая или вихретоковая дефектоскопия |
Магнитоиндукционная дефектоскопия |
|||||
|
Вид искусственного дефекта |
Риска прямоугольного профиля на наружной поверхности, параллельная оси образца |
Сквозное отверстие в стенке перпендикулярно оси образца |
Риски прямоугольного профиля на наружной поверхности параллельно оси образца |
||||
|
Размер искусственного дефекта |
Длина |
Глубина, % от номинальной толщины стенки |
Ширина |
Диаметр (пред. откл. ±1,0) |
Длина |
Глубина, % от номинальной толщины стенки |
Ширина |
|
Для всех групп прочности |
50 мин |
(5,0 ± 0,75), но не менее (0,3 ± 0,05) мм и 3-х кратной величины шероховатости поверхности |
Не более 1,0 |
1,6 |
50 мин |
(10 ± 1,5), но не менее (0,3 ± 0,05) мм и 3-х кратной величины шероховатости поверхности |
0,3 ± 0,05 |
|
Для групп прочности Д и Е, Л (по согласованию изготовителя с потребителем) |
Равна удвоенной ширине пьезопластины с искателем |
(12,5 ± 2,0), но не менее (0,6 ± 0,05) мм и 3-х кратной величины шероховатости поверхности |
Не более 1,0 |
3 |
50 мин |
(10 ± 1,5), но не менее (0,6 ± 0,05) и 3-х кратной величины шероховатости поверхности |
0,3 ± 0,05 |
Дефекты, сигнал от которых превышает сигнал дефектоскопа, полученный при настройке на испытательном образце, считаются критическими; труба, содержащая критические дефекты, должна быть забракована. При настройке по искусственному дефекту, имеющему глубину 5 % от номинальной толщины стенки, допускается зачистка обнаруженных дефектов при условии сохранения минимально допустимой толщины стенки.
Концы труб, не контролируемые автоматизированными дефектоскопическими установками, должны быть проверены на наличие продольных относительно оси трубы дефектов на наружной и внутренней поверхности с помощью магнитного порошка или любым другим методом дефектоскопии, обеспечивающим появление критических дефектов, эквивалентных по величине искусственным дефектам, указанным в таблице.
Все трубы, прошедшие дефектоскопию, должны быть дополнительно замаркированы условным знаком «О», наносимым вокруг обозначения группы прочности. О приведенной дефектоскопии указывается также в документе о качестве.
По согласованию изготовителя с потребителем допускается применение вихретоковых методов дефектоскопии.
Исполнение Б
Контроль труб осуществляется по инструкции, утвержденной в установленном порядке.
(Измененная редакция, Изм. № 4).
ИНФОРМАЦИОННЫЕ ДАННЫЕ
1. РАЗРАБОТАН И ВНЕСЕН Министерством черной металлургии СССР, Министерством нефтяной промышленности
ИСПОЛНИТЕЛИ
А.Г. Карков (руководитель темы); Р.В. Федосова; Д.Н. Полячек (руководитель темы); В.Н. Пчелкин; В.С. Краснова; Н.Д. Щербюк (руководитель темы); В.Н. Якубовский; В.А. Бутейнис
2. УТВЕРЖДЕН И ВВЕДЕН В ДЕЙСТВИЕ ПОСТАНОВЛЕНИЕМ Государственного комитета по стандартам от 5.06.80 № 2578
3. Периодичность проверки - 5 лет
4. ВЗАМЕН ГОСТ 632-64
5. ССЫЛОЧНЫЕ НОРМАТИВНО-ТЕХНИЧЕСКИЕ ДОКУМЕНТЫ
|
Обозначение НТД, на который дана ссылка |
Номер пункта, приложения |
|
ГОСТ 17410-78 |
Приложение 3 |
6. Срок действия продлен до 01,01,93 Постановлением № 174 от 24,01,86.
7. Переиздание (сентябрь 1989 г.) с Изменениями № 1, 2, 3, 4, утвержденными в октябре 1982 г., январе 1986 г., июне 1988 г., мае 1989 г. (ИУС 2-83, 5-86, 4-88, 8-89).
СОДЕРЖАНИЕ