
ГОСУДАРСТВЕННЫЙ СТАНДАРТ СОЮЗА ССР
СВАРКА МЕТАЛЛОВ
ТЕРМИНЫ И ОПРЕДЕЛЕНИЯ ОСНОВНЫХ ПОНЯТИЙ
ГОСТ 2601-84
ИПК ИЗДАТЕЛЬСТВО СТАНДАРТОВ
Москва
ГОСУДАРСТВЕННЫЙ СТАНДАРТ СОЮЗА ССР
|
СВАРКА МЕТАЛЛОВ Термины и определения основных понятий Welding of
metals. |
ГОСТ |
Дата введения 01.07.85
В части пунктов 1-12, 16-22, 27-33, 36-45, 47, 48, 50-55, 77, 79, 94, 95, 139, 169 (с 01.07.2010 г.) прекращено применение на территории РФ. Действует ГОСТ Р ИСО 857-1-2009. (ИУС 11-2009)
В части пунктов 5, 48, 58-62, 84, 86 (с 01.07.2010 г.) прекращено применение на территории РФ. Действует ГОСТ Р ИСО 17659-2009 (ИУС 11-2009)
Настоящий стандарт устанавливает применяемые о науке, технике и производстве термины и определения основных понятий в области сварки металлов.
Термины, установленные стандартом, обязательны для применения в документации всех видов, научно-технической учебной и справочной литературе.
Для каждого понятия установлен один стандартизованный термин. Применение терминов-синонимов стандартизованного термина запрещается. Недопустимые к применению термины-синонимы приведены в стандарте в качестве справочных и обозначены «Ндп».
Для отдельных стандартизованных терминов в стандарте приведены в качестве справочных, краткие формы, которые разрешается применять в случаях, исключающих возможность их различного толкования.
Установленные определения можно, при необходимости, изменять по форме изложения, не допуская нарушения границ понятий.
В стандарте в качестве справочных приведены иностранные эквиваленты стандартизованных терминов на немецком (D), английском (Е) и французском (F) языках.
Для отдельных стандартизированных терминов в качестве справочных приведены поясняющие эскизы.
В стандарте приведены алфавитные указатели содержащихся в нем терминов на русском языке и их иностранных эквивалентов.
Стандартизованные термины набраны полужирным шрифтом, их краткая форма - светлым, а недопустимые синонимы - курсивом.
(Измененная редакция, Изм. № 1, 2).
|
Термин |
Определение |
|
Получение неразъемных соединений посредством установления межатомных связей между соединяемыми частями при их нагревании и (или) пластическом деформировании |
|
|
D. Schweissen |
|
|
Е. Welding |
|
|
F. Soudage |
|
|
ВИДЫ СВАРКИ |
|
|
Сварка, выполняемая человеком с помощью инструмента, получающего энергию от специального источника |
|
|
D. Handschweissen; Manuelles Schweissen |
|
|
Е. Manual welding; Hand welding |
|
|
F. Soudage manuеl |
|
|
Сварка, выполняемая с применением машин и механизмов, управляемых человеком |
|
|
D. Mechanisiertes Schweissen; Maschinelles Schweissen |
|
|
Е. Mechanized welding |
|
|
F. Soudage automatique |
|
|
Сварка, выполняемая машиной, действующей по заданной программе, без непосредственного участия человека |
|
|
D. Automatisches Schweissen; Vollautomatisches Schweissen |
|
|
Е. Automatic welding |
|
|
F. Soudage automatique |
|
|
Сварка, осуществляемая местным сплавлением соединяемых частей без приложения давления |
|
|
D. Schmelzschweissen |
|
|
Е. Fusion welding |
|
|
F. Soudage par fusion |
|
|
Нанесение посредством сварки плавлением слоя металла на поверхность изделия |
|
|
D. Auftragsschweissen |
|
|
Е. Surfacing; Bulding-up welding; Overlaying |
|
|
F. Rechargement Deposition |
|
|
Сварка плавлением, при которой нагрев осуществляется электрической дугой |
|
|
D. Lichlbogenschweissen |
|
|
Е. Arc welding |
|
|
F. Soudage à l’arc |
|
|
Дуговая сварка, выполняемая электродом, который, расплавляясь при сварке, служит присадочным металлом |
|
|
Сварка плавящимся электродом |
|
|
D. Lichtbogenschweissen mit abschmelzender Elektrode; Schweissen mit abschmel-zender Elektrode |
|
|
Е. Consumable electrode arc welding; MIG-welding; MAG-welding |
|
|
F. Soudage à l’arc avec electrode consumable; Sondage MIG (MAG) |
|
|
Дуговая сварка, выполняемая нерасплавляющимся при сварке электродом |
|
|
Сварка неплавящимся электродом |
|
|
D. Schweissen mit nichtabschmelzender Elektrode |
|
|
Е. Non-consumable electrode arc welding; TIG-welding |
|
|
F. Soudage à l’arc avec electrode non consumable; Soudage TIG |
|
|
Дуговая сварка, при которой дуга горит под слоем сварочного флюса |
|
|
Сварка под флюсом |
|
|
D. Unterpulverlichtbogenschweissen; Unterpulverschweissen; UP-Schweissen |
|
|
Е. Submerged arc welding |
|
|
F. Soudage à l’arc sous flux solide |
|
|
Дуговая сварка, при которой дуга и расплавляемый металл, а в некоторых случаях, и остывающий шов, находятся в защитном газе, подаваемом в зону сварки с помощью специальных устройств |
|
|
Сварка в защитном газе |
|
|
Ндн. Газоэлектрическая сварка |
|
|
D. Schutzgaslichtbogen-schweissen; Schutzgasschweissen |
|
|
Е. Gas-shielded arc welding |
|
|
F Soudage à l’arc sous protection gazeuse |
|
|
Дуговая сварка, при которой в качестве защитного газа используется аргон |
|
|
D. Argon-Lichtbogenschweissen; Argonarc- Schweissen |
|
|
E. Argon-arc welding |
|
|
F. Precédé argonarc; Soudage à l’arc sous argon; Soudage à l’argonarc |
|
|
Дуговая сварка, при которой в качестве защитного используется углекислый газ |
|
|
Сварка в углекислом газе |
|
|
D. CO2-Schutzgasschweissen; CO2-Schwcissen |
|
|
E. СО2-welding |
|
|
F. Soudage CO2 |
|
|
- |
|
|
Подводная сварка |
|
|
Ндп. Дуговая сварка под водой |
|
|
D. Lichlbogenschweissen unter Wasser; Unterwasserschweissen |
|
|
E. Underwater arc welding |
|
|
F. Soudage à l’arc sous l’eau |
|
|
Дуговая сварка, при которой дугу дополнительно питают импульсами тока по заданной программе |
|
|
D. Impulslichtbogenschweissen |
|
|
E. Pulsed arc welding |
|
|
F. Soudage à courant pulsé; Soudage par impulsions |
|
|
Дуговая сварка, при которой возбуждение дуги, подача электрода и его перемещение проводятся вручную |
|
|
D. Handlichbogenschweissen; Lichtbogenhandschweissen; Lichlbogenschweissen von Hand; E-Handschweissen; Manuelles Lichtbogenschweissen |
|
|
E. Manual arc welding; Hand arc welding |
|
|
F. Soudage à l’arc manuel |
|
|
Дуговая сварка, при которой подача плавящегося электрода или присадочного металла, или относительное перемещение дуги и изделия выполняются с помощью механизмов |
|
|
Ндп. Полуавтоматическая дуговая сварка |
|
|
D. Mechanisiertes Lichtbogenschweissen |
|
|
E. Mechanized arc welding |
|
|
F. Soudage mécanisé à l’arc |
|
|
Механизированная дуговая сварка, при которой возбуждение дуги, подача плавящегося электрода или присадочного металла и относительное перемещение дуги и изделия осуществляются механизмами без непосредственного участия человека, в том числе и по заданной программе |
|
|
D. Aulomatisches Lichbogenschweissen |
|
|
E. Automatic arc welding |
|
|
F. Soudage automatique à l’arc |
|
|
Дуговая сварка, при которой нагрев осуществляется одновременно двумя дугами с раздельным питанием их током |
|
|
D. Zweilichtbogenschweissen Doppellichtbogenschweissen |
|
|
E. Twin-arc welding |
|
|
F. Soudage à double arc; Soudage à deux arcs |
|
|
Дуговая сварка, при которой нагрев осуществляется одновременно более чем двумя дугами с раздельным питанием их током |
|
|
D. Mehrfachlichtbogenschweissen |
|
|
E. Multi-arc welding |
|
|
F. Soudage à arcs multiples |
|
|
Дуговая сварка, при которой нагрев осуществляется одновременно двумя электродами с общим подводом сварочного тока |
|
|
Ндп. Сварка расщепленным электродом |
|
|
D. Zweilektrodenschweissen; Schweissen mit Zwillingselektrode; Schweissen mit Doppelelektrode |
|
|
E. Two-electrode welding |
|
|
F. Sondagc à deux électrodes |
|
|
Дуговая сварка, при которой нагрев осуществляется одновременно более чем двумя электродами с общим подводом сварочного тока |
|
|
D. Mehrdrahtschweissen; Schweissen mit Mehrfachelektrode Multi-electrode |
|
|
E. Multi-electrode welding |
|
|
F. Soudage avcc électrodes multiples |
|
|
Дуговая сварка, при которой на свариваемые кромки наносится слой флюса, толщина которого меньше дугового промежутка |
|
|
Сварка по флюсу |
|
|
D. Schweissen mit Pulverzugabe |
|
|
E. Semi-submerged arc welding |
|
|
F. Soudage avec addition de flux |
|
|
Дуговая сварка без перемещения электрода в плоскости, перпендикулярной его оси, в виде отдельных точек |
|
|
D. Lichtbogenpunktschweissen |
|
|
E. Arc spot welding |
|
|
F. Soudage par points à l’arc |
|
|
Дуговая сварка плавящимся электродом, который вибрирует, вследствие чего дуговые разряды чередуются с короткими замыканиями |
|
|
D. Lichtbogenschweissen mit vibrierender Elektrode |
|
|
E. Vibrating electrode arc welding |
|
|
F. Soudage à l’arc avec electrode vibratoire |
|
|
Дуговая сварка, при которой неподвижный покрытый электрод укладывается вдоль спариваемых кромок, а дуга перемещается по мере расплавления электрода |
|
|
D. Schweissen mit liegen der Elektrode; Unterschienenschweissen; EHV-Schweissen |
|
|
E. Firecracker welding; EHV-welding |
|
|
F. Soudage avec électrode coucheé |
|
|
Дуговая сварка, при которой покрытый электрод располагается наклонно вдоль свариваемых кромок, опираясь на них, и по мере расплавления движется под действием силы тяжести или пружины, а дуга перемещается вдоль шва |
|
|
Ндп. Гравитационная сварка |
|
|
D. Schwehrkraftschweissen |
|
|
E. Gravity welding |
|
|
F. Soudage par gravite |
|
|
Сварка плавлением, при которой нагрев проводится сжатой дугой |
|
|
Ндп. Сварка плазменной дугой |
|
|
Плазменнодуговая сварка |
|
|
D. Plasmaschweissen |
|
|
E. Plasma-arc welding |
|
|
F. Soudage au plasma d’arc (à l’arc plasma); Soudage au plasma |
|
|
Сварка плавлением, при которой для нагрева используется тепло, выделяющееся при прохождении электрического тока через расплавленный шлак |
|
|
Шлаковая сварка |
|
|
D. Elektroschlackeschweissen; ES-Schweissen |
|
|
E. Electroslag welding |
|
|
F. Soudage sous laitier électroconducleur; Soudage electroslag |
|
|
Сварка плавлением, при которой для нагрева используется энергия ускоренных электронов |
|
|
D. Elektronenstrahlschweissen |
|
|
E. Electron beam welding |
|
|
F. Soudage par faisceau d’électrons; Soudage par bombardement électronique |
|
|
Сварка плавлением, при которой для нагрева используется энергия излучения лазера |
|
|
D. Laserschweissen; Laserstrahschweissen |
|
|
E. Laser welding; Laser beam welding |
|
|
F. Soudage au laser Soudage par taisccau laser |
|
|
Сварка плавлением, при которой для нагрева используется тепло пламени смеси газов, сжигаемой с помощью горелки |
|
|
D. Gasschweissen; Gasschmeizschweissen |
|
|
E. Gas welding |
|
|
F. Soudage autogene; Soudage à la flamme |
|
|
Сварка, при которой для нагрева используется энергия горения термитной смеси |
|
|
D. Aluminothermisches; Schweissen; Thermitschweissen |
|
|
E. Thermit welding |
|
|
F. Soudage aluminothermique |
|
|
- |
|
|
D. Schweissen mit Druck |
|
|
E. Welding with pressure |
|
|
F. Soudage avec pression |
|
|
Нанесение слоя металла на поверхность изделия посредством сварки с применением давления |
|
|
D. Auftragsschweissen mit Druck |
|
|
E. Welding-on with pressure |
|
|
F. Rechargement avec pression |
|
|
Сварка с применением давления, при которой используется тепло, выделяющееся в контакте свариваемых частей при прохождении электрического тока |
|
|
D. Widerstandsschweissen |
|
|
E. Resistance welding |
|
|
F. Soudage par résistance |
|
|
Контактная сварка, при которой соединение свариваемых частей происходит по поверхности стыкуемых торцов |
|
|
Стыковая сварка |
|
|
D. Widerstandsstumpfschweissen |
|
|
E. Resistance butt welding |
|
|
F. Soudage en bout par résistance |
|
|
Стыковая контактная сварка, при которой нагрев металла сопровождается оплавлением стыкуемых торцов |
|
|
Сварка оплавлением |
|
|
D. Abbrennstumpfschweissen |
|
|
E. Flash butt welding |
|
|
F. Soudage par étincelage |
|
|
Стыковая контактная сварка, при которой нагрев металла осуществляется без оплавления стыкуемых торцов |
|
|
Сварка сопротивлением |
|
|
D. Pressstumpfschweissen |
|
|
Е. Upset welding; Resistance butt welding |
|
|
F. Soudage en bout par résistance |
|
|
Контактная сварка, при которой сварное соединение получается между торцами электродов, передающих усилие сжатия |
|
|
D. Punktschweissen |
|
|
Е. Resistance-spot welding |
|
|
F. Soudage par points |
|
|
Контактная сварка, при которой сварное соединение получается на отдельных участках, обусловленных их геометрической формой, в том число по выступам |
|
|
D. Buckelschweissen |
|
|
Е. Projection welding; Point welding |
|
|
F. Soudage par bossages |
|
|
Контактная сварка, при которой соединение свариваемых частей происходит между вращающимися дисковыми электродами, передающими усилие сжатия |
|
|
Шовная сварка |
|
|
Ндп. Роликовая сварка |
|
|
D. Rollennaht-Widurstands-schweissen; Rollennahtschweissen; Nahtschweissen |
|
|
Е. Reslstance-seam welding; Seam welding |
|
|
F. Soudage par resistance à la molette; Soudage à la molette; Soudage au galet |
|
|
Контактная сварка с получением стыкового шва вращающимися дисковыми электродами, относительно которых перемещаются детали, собранные с небольшой нахлесткой или встык |
|
|
D. Rollennahtschwelssen von Stumpfstössen |
|
|
Е. Butt-seam welding |
|
|
F. Soudage au galet par écrasement; Soudage à la molette par écrascment |
|
|
Сварка с применением давления, при которой нагрев осуществляется токами высокой частоты |
|
|
D. Hochfrequenzschweissen |
|
|
Е. High frequency welding |
|
|
F. Soudage à haute fréquence |
|
|
Сварка с применением давления, при которой соединение осуществляется в результате вызванного взрывом соударения спариваемых частей |
|
|
D. Sprengschweissen; Explosionschweissen |
|
|
Е. Explosion welding |
|
|
F. Soudage par explosion |
|
|
Сварка с применением давления, при которой соединение осуществляется в результате соударения свариваемых частей, вызнанного воздействием импульсного магнитного поля |
|
|
D. Magnet-Impuls Schweissen |
|
|
Е. Magnetic-pulse welding |
|
|
F. Sondage par pulsations magnétiques |
|
|
Сварка с применением давления, при которой нагрев осуществляется трением, вызванным относительным перемещением свариваемых частей или инструмента |
|
|
D. Reibschweissen |
|
|
Е. Friction welding |
|
|
F. Soudage par friction |
|
|
Сварка с применением давления, осуществляемая за счет пластической деформации свариваемых частей при температуре ниже температуры плавления |
|
|
Ндп. Сварка в твердой фазе |
|
|
Сварка в твердом состоянии |
|
|
D. Pressschweissen; Druckschweissen |
|
|
E. Pressure welding |
|
|
F. Soudage par pression |
|
|
Сварка давлением, при которой нагрев проводится в печах или горцах |
|
|
D. Feuerschweissen |
|
|
Е. Pressure welding with furnace heating |
|
|
F. Soudage par pression au four |
|
|
Печная сварка, при которой осадка выполняется ударами молота |
|
|
D. Hammerschweissen |
|
|
Е. Forge welding; Hammer welding |
|
|
F. Soudage à la forge; Soudage par forgeage |
|
|
Печная сварка, при которой пластическое деформирование осуществляется в прокатных валках |
|
|
D. Walzschweissen |
|
|
Е. Roll welding |
|
|
F. Soudage aux galets |
|
|
Сварка давлением, при которой для нагрева используется тепло пламени смеси газов, сжигаемой с помощью горелки |
|
|
D. Gaspressschweissen |
|
|
Е. Pressure gas welding |
|
|
F. Soudage autogéne par pression |
|
|
Сварка давлением, осуществляемая за счет взаимной диффузии атомов в тонких поверхностных слоях контактирующих частей. Примечание. Диффузионная сварка осуществляется при относительно длительном воздействии повышенной температуры и незначительной пластической деформации |
|
|
D. Diffusionsschweissen |
|
|
Е. Diffusion welding |
|
|
F. Soudage par diffusion |
|
|
Сварка давлением, осуществляемая при воздействии ультразвуковых колебаний |
|
|
D. Ultraschallschweissen |
|
|
Е. Ultrasonic welding |
|
|
F. Soudage par ultrasons |
|
|
Сварка давлением при значительной пластической деформации без нагрева свариваемых частей внешними источниками тепла |
|
|
D. Kaltpressschweissen; Kaltschweissen |
|
|
Е. Cold welding; Cold pressure welding |
|
|
F. Soudage à froid |
|
|
Сварка, осуществляемая в камере, заполненной газом определенного состава |
|
|
D. Schweissen in kontrolierter Atmosphäre |
|
|
Е. Welding under controlled atmosphere |
|
|
F. Soudaпe en atmosphère controllée |
|
|
СВАРНЫЕ СОЕДИНЕНИЯ И ШВЫ |
|
|
Неразъемное соединение, выполненное сваркой |
|
|
D. Schweissverbindung |
|
|
Е. Welded joint |
|
|
F. Joint soudé; Assemblage soudé; Soudure |
|
|
Сварное соединение двух элементов, примыкающих друг к другу торцовыми поверхностями
|
|
|
D. Stumpfstoss; Stumptschweissverbindung |
|
|
Е. Butt joint |
|
|
F. Assemblage en bout; Joint en bout |
|
|
Сварное соединение двух элементов, расположенных под углом и сваренных в месте примыкания их краев
|
|
|
D. Eckstoss; Eckverbindung |
|
|
Е. Corner joint; Fillet weld |
|
|
F. Joint d’angle; Soudure en corniche |
|
|
Сварное соединение, в котором сваренные элементы расположены параллельно и частично перекрывают друг друга
|
|
|
D. Überlappstoss; Überlappverbindung |
|
|
Е. Lap joint; Overlap joint |
|
|
F. Assemblge à recouvrement; Joint a recouvrement |
|
|
Сварное соединение, в котором торец одного элемента примыкает под углом и приварен к боковой поверхности другого элемента
|
|
|
Ндп. Соединение впритык |
|
|
D. T-Stoss; T-Verbindung |
|
|
E. Tee joint; T-joint |
|
|
F. Assemblage en T; Joint en T |
|
|
Сварное соединение, в котором боковые поверхности сваренных элементов примыкают друг к другу
|
|
|
Ндп. Боковое соединение |
|
|
D. Stirnstoss |
|
|
E. Edge joint; Flange joint |
|
|
F. Joint des plaques juxtaposées; Joint à bords relevées |
|
|
Металлическая конструкция, изготовленная сваркой отдельных деталей |
|
|
D. Schweisskonstruktion |
|
|
Е. Welded structure |
|
|
F. Construction soudée |
|
|
Часть конструкции, в которой сварены примыкающие друг к другу элементы |
|
|
D. Schweissteil; Schweisseinheit |
|
|
Е. Welded assembly |
|
|
F. Ensemble soudé; Assemblage soude. |
|
|
Участок сварного соединения, образовавшийся в результате кристаллизации расплавленного металла или в результате пластической деформации при сварке давлением или сочетания кристаллизации и деформации |
|
|
Шов |
|
|
D. Schweissnaht |
|
|
E. Weld |
|
|
F. Soudure |
|
|
Сварной шов стыкового соединения |
|
|
D. Stumpfnaht; Slossnalit |
|
|
Е. Butt weld |
|
|
F. Soudure en bout; Soudure bout à bout |
|
|
Сварной шов углового, нахлесточного или таврового соединений |
|
|
D. Kehlnaht |
|
|
Е. Fillet weld |
|
|
F. Soudure d’angle |
|
|
68. Точечный шов |
Сварной шов, в котором связь между сваренными частями осуществляется сварными точками |
|
D. Punktschweissung |
|
|
Е. Spot weld |
|
|
F. Soudure par points |
|
|
Элемент точечного шва, представляющий собой в плане круг или эллипс |
|
|
D. Schwelsspunkt |
|
|
Е. Weld spot; Weld point |
|
|
F. Point de soudure; Point soudé |
|
|
Зона сварной точки, металл которой подвергался расплавлению |
|
|
D. Schweisslinse |
|
|
Е. Weld nugget; Spot weld nugget |
|
|
F. Noyau de soudure; Lentille de soudure |
|
|
Сварной шов без промежутков по длине |
|
|
Ндп. Сплошной шов |
|
|
D. Durchlauiende Naht |
|
|
Е. Continuous weld; Uninterrupted weld |
|
|
F. Soudure continue |
|
|
Сварной шов с промежутками по длине |
|
|
D. Unterbrochene Naht |
|
|
Е. Interrupted weld; Intermittent weld |
|
|
F. Soudure discontinue; Soudure intermittente |
|
|
Двухсторонний прерывистый шов, у которого промежутки расположены по обеим сторонам стенки один против другого
|
|
|
Цепной шов |
|
|
D. Symmetrisch unterbrochene Naht |
|
|
Е. Chain intermittent weld; Chain intermittent fillet weld |
|
|
F. Soudure discontinue symmétrique |
|
|
Двухсторонний прерывистый шов, у которого промежутки на одной стороне стенки расположены против сваренных участков шва с другой ее стороны
|
|
|
Шахматный шов |
|
|
D. Unterbrochene versetzte Naht |
|
|
Е. Staggered intermittent weld |
|
|
F. Soudure discontinue alternée |
|
|
- |
|
|
D. Mehrlagennaht |
|
|
Е. Multi-run weld; Multi-pass weld |
|
|
F. Soudure en plusieurs passes; |
|
|
Soudure à couches multiples; |
|
|
Soudure à plusieurs couches |
|
|
Меньшая часть двухстороннего шва, выполняемая предварительно для предотвращения прожогов при последующей сварке или накладываемая в последнюю очередь в корень шва |
|
|
D. Gegennaht |
|
|
Е. Sealing bead |
|
|
F. Cordon support; Cordon à l’envers |
|
|
Короткий сварной шов для фиксации взаимного расположения подлежащих сварке деталей |
|
|
D. Heftnaht |
|
|
Е. Tack weld |
|
|
F. Soudure de pointage |
|
|
Сварной шов, выполняемый при монтаже конструкции |
|
|
D. Baustellenschweissnaht; Montageschweissungs |
|
|
Е. Site weld |
|
|
F. Soudure de montage |
|
|
Металл сварного шва, наплавленный или переплавленный за один проход |
|
|
D. Schweissraupe |
|
|
Е. Weld bead; Bead |
|
|
F. Cordon |
|
|
Часть металла сварного шва, которая состоит из одного или нескольких валиков, располагающихся на одном уровне поперечного сечения шва |
|
|
Слой |
|
|
D. Lage |
|
|
Е. Layer |
|
|
F. Couche |
|
|
Часть сварного шва, наиболее удаленная от его лицевой поверхности
|
|
|
D. Nahtwurzcl; Wurzel |
|
|
Е. Weld root |
|
|
F. Racine de la soudure |
|
|
Выпуклость шва, определяемая расстоянием между плоскостью, проходящей через видимые линии границы сварного шва с основным металлом и поверхностью сварного шва, измеренным в месте наибольшей выпуклости
|
|
|
Выпуклость шва |
|
|
Ндп. Усиление шва |
|
|
D. Nahtüberhöhung |
|
|
Е. Weld reiniorcemcnt; Weld convexity |
|
|
F.Surépaisseur de la soudure |
|
|
Вогнутость, определяемая расстоянием между плоскостью, проходящей через видимые линии границы углового шва с основным металлом и поверхностью шва, измеренным в месте наибольшей вогнутости
|
|
|
Вогнутость шва |
|
|
Ндп. Ослабление шва |
|
|
D. Konkavität der Kehlnaht |
|
|
Е. Fillet weld concavity |
|
|
F. Concavité de la soudure |
|
|
Наибольшее расстояние от поверхности углового шва до точки максимального проплавления основного металла
|
|
|
D. Nahthöhe; Kehlnahtdicke |
|
|
Е. Fillet weld throat thickness |
|
|
F. Epaisseur à clin; Epaisseur d’une soudure en angle |
|
|
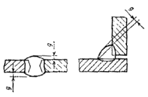
Длина перпендикуляра, опущенного из точки максимального проплавления в месте сопряжения свариваемых частей на гипотенузу наибольшего вписанного во внешнюю часть углового шва прямоугольного треугольника
|
|
|
Расчетная высота шва |
|
|
D. Rechnerische Nahtdicke |
|
|
Е. Desipn throat thickness |
|
|
F. Epaisseur nominale de la soudure |
|
|
Кратчайшее расстояние от поверхности одной из свариваемых частей до границы углового шва на поверхности второй свариваемой части
|
|
|
Катет шва |
|
|
D. Schenkellängу; Nahtschenkel |
|
|
Е. Fillet weld leg |
|
|
F. Côte de la soudure d’angle |
|
|
Расстояние между видимыми линиями сплавления на лицевой стороне сварного шва при сварке плавлением |
|
|
Ширина шва |
|
|
D. Nahtbreite |
|
|
Е. Weld width |
|
|
F. Largeur de la soudure |
|
|
Коэффициент, выражаемый отношением ширины стыкового или углового шва к его толщине |
|
|
Коэффициент формы шва |
|
|
D. Nahtiormfaktor |
|
|
Е. Weld shape factor; Weld geometry factor |
|
|
F. Facteur géométrique de la soudure |
|
|
Различие механических свойств отдельных участков сварного соединения |
|
|
Механическая неоднородность |
|
|
D. Mechanische Inhoniogenität |
|
|
Е. Mechanical heterogeneity |
|
|
F. Hétérogénéité mécanique |
|
|
Участок сварного соединения, в котором металл имеет пониженные показатели твердости и (или) прочности по сравнению с металлом соседних участков |
|
|
Мягкая прослойка |
|
|
D. Weiche Zwischenlage |
|
|
Е. Soft interlayer |
|
|
F. Couche intermédière douce |
|
|
Участок сварного соединения, в котором металл имеет повышенные показатели твердости и (или) прочности по сравнению с металлом соседних участков |
|
|
Твердая прослойка |
|
|
D. Harte Zwischenlage |
|
|
Е. Hard interlayer |
|
|
F. Couche intermédière dure |
|
|
Участок зоны термического влияния, в котором произошло снижение прочности основного металла |
|
|
Разупрочненный участок |
|
|
D. Infestigte Zone |
|
|
E. Weakened zone |
|
|
F. Zone affaibliu |
|
|
Повышение сопротивления деформированию мягкой прослойки сварного соединения за счет сдерживания ее деформаций соседними более прочными его частями |
|
|
Контактное упрочнение |
|
|
D. Lokale Verfestigung |
|
|
Е. Local strengthening |
|
|
F. Raffermissement locale |
|
|
ТЕХНОЛОГИЯ СВАРКИ |
|
|
Направление движения источника тепла вдоль продольной оси сварного соединения |
|
|
D. Schweissrichtung |
|
|
Е. Direction of welding |
|
|
F. Sens de la soudure; Direction de la soudure |
|
|
Сварка, при которой сварной шов выполняется следующими один за другим участками в направлении, обратном общему приращению длины шва
|
|
|
D. Pilgerschrittschweissen |
|
|
Е. Back-step sequence; Back-step welding; Step-back welding |
|
|
F. Soudage à pas de pélerin |
|
|
Обратноступенчатая сварка, при которой многослойный шов выполняют отдельными участками с полным заполнением каждого из них
|
|
|
D. Absatzweises Mehrlagenschweissen |
|
|
Е. Block sequence |
|
|
F. Soudage par blocs successifs |
|
|
Сварка, при которой каждый последующий участок многослойного шва перекрывает весь предыдущий участок или его часть
|
|
|
D. Kaskadenschweissung |
|
|
Е. Cascade welding |
|
|
F. Soudage en cascade |
|
|
Однократное перемещение в одном направлении источника тепла при сварке и (или) наплавке |
|
|
Проход |
|
|
D. Schweissgang |
|
|
Е. Pass; Run |
|
|
F. Passe |
|
|
Сварка, при которой направление сварки неизменно |
|
|
D. Einrichtungschweissen |
|
|
Е. One direction welding |
|
|
F. Soudage dans un sens |
|
|
Сварка, при которой сварной шов выполняется участками, расположенными в разных местах по его длине |
|
|
D. Absatzweises Schweissen |
|
|
E. Skip welding |
|
|
F. Soudage fractionné |
|
|
Сварка плавлением в вертикальном положении, при которой сварочная ванна перемещается сверху вниз |
|
|
D. Fallnahlschweissen; Abwärtsschweissen |
|
|
E. Downhill welding |
|
|
F. Soudage descendant |
|
|
Сварка плавлением в вертикальном положении, при которой сварочная ванна перемещается снизу вверх |
|
|
D. Aufwärtsschweissen |
|
|
E. Uphill welding |
|
|
F. Soudage montant; Soudage ascendant |
|
|
Сварка плавлением в наклонном положении, при которой сварочная ванна перемещается сверху вниз |
|
|
D. Bergabschweissen |
|
|
E. Downward welding (in the inclined position) |
|
|
F. Soudage descendant (en position inclinée) |
|
|
Сварка плавлением в наклонном положении, при которой сварочная ванна перемещается снизу вверх |
|
|
D. Schrägaufwärtsschweissen Bergautschweissen |
|
|
E. Upward welding (in the inclined position) |
|
|
F. Soudade montant (en position inclinée) |
|
|
Дуговая сварка, при которой электрод наклонен под острым углом к направлению сварки |
|
|
D. Schweissen mit stechendcr Brennerstellung |
|
|
E. Welding with electrode inclined under acute angle |
|
|
F. Soudage avec électrode inclinése en avant |
|
|
Дуговая сварка, при которой электрод наклонен под тупым углом к направлению сварки |
|
|
D. Schweissen mit schleppen der Brennersteilung |
|
|
E. Welding with electrode in dined under obtuse angle |
|
|
F. Soudage avec électrode inclinése en arriére |
|
|
Односторонняя спарка со сквозным проплавлением кромок без использования подкладок |
|
|
D. Schweissen ohne Unteriage |
|
|
E. Welding without backing |
|
|
F. Soudage sans support |
|
|
Сварка по замкнутому контуру во всех пространственных положениях, при которой объект сварки неподвижен |
|
|
D. Schweissen in Zwangshjsition |
|
|
E. Position pipe-welding; Orbital welding |
|
|
F. Soudage des joints fixes; Soudage orbital |
|
|
Подача защитного газа к обратной стороне соединяемых частей для защиты их при сварке от воздействия воздуха |
|
|
D. Schutzgaszufuhr von Rüshkseite der Naht |
|
|
E. Weld root gas shielding |
|
|
F. Protection par gaz de la racine de soudure |
|
|
Придание кромкам, подлежащим сварке, необходимой формы |
|
|
D. Fugenvorbereitung; Kantenvorbereitung; Nahtvorbcrcitung |
|
|
E. Edge preparation |
|
|
F. Préparation des bords; Chanfreinage |
|
|
Прямолинейный наклонный срез кромки, подлежащей сварке
|
|
|
D. Kantenabschrägung |
|
|
E. Edge bevelling |
|
|
F. Chanfrein |
|
|
Нескошенная часть торца кромки, подлежащей сварке
|
|
|
D. Stegflanke |
|
|
E. Root face |
|
|
F. Méplat; Talon |
|
|
Острый угол между плоскостью скоса кромки и плоскостью торца
|
|
|
Угол скоса |
|
|
D. Abschrägungswinkel |
|
|
E. Bevel angle |
|
|
F. Angle du chanfrein (de chanfreinage) |
|
|
Угол между скошенными кромками свариваемых частей
|
|
|
Угол разделки |
|
|
D. Öffnungswinkel |
|
|
E.Groove angle |
|
|
F. Angle d’ouverture |
|
|
Кратчайшее расстояние между кромками собранных для сварки деталей |
|
|
D. Spalt; Spaltbreite; Stegabstand |
|
|
Е. Gap; Air gap; Root opening |
|
|
F.Ecartment des bords |
|
|
Металл подвергающихся сварке соединяемых частей |
|
|
D. Grandwerkstoff |
|
|
Е.Base metal; Parent metal |
|
|
F.Métal de base |
|
|
Наибольшая глубина расплавления основного металла в сечении шва или наплавленного валика |
|
|
D. Einbrabdtiefe |
|
|
Е. Depth of pénétration |
|
|
F. Protondcur de penetration |
|
|
Часть металла свариваемого шва, находящаяся при сварке плавлением в жидком состоянии |
|
|
D. Schweissbad |
|
|
Е.Welding pool; Welding bath; Welding puddle |
|
|
F. Bain de fusion; Bain de soudage |
|
|
Углубление, образующееся в конце валика под действием давления дуги и объемной усадки металла шва |
|
|
D. Krater |
|
|
Е. Crater |
|
|
F. Cratère |
|
|
Металл для введения в сварочную ванну в дополнение к расплавленному основному металлу |
|
|
D. Zusatzwerkstoff; Zusatzmetall |
|
|
Е. Filler metal |
|
|
F. Métal d’apport |
|
|
Переплавленный присадочный металл, введенный в сварочную ванну или наплавленный на основной металл |
|
|
D. Eingetragenes Schweissgut; Reines Schweissgut |
|
|
Е. Deposited metal |
|
|
F. Métal déposé |
|
|
Сплав, образованный расилачлснным основным и наплавленным металлами или только переплавленным основным металлом |
|
|
D. Schweissgut |
|
|
Е. Weld metal |
|
|
F. Métal de la soudure |
|
|
Сплошная металлическая связь между свариваемыми поверхностями основного металла, слоями и валиками сварного шва |
|
|
D. Einbrand |
|
|
Е. Complete fusion |
|
|
F. Fusion complète |
|
|
Зона частично сплавившихся зерен на границе основного металла и металла шва |
|
|
Зона сплавления |
|
|
D. Zusammenschmeizzone |
|
|
Е. Fusion zone |
|
|
F. Zone dc liaison |
|
|
Участок основного металла, не подвергшийся расплавлению, структура и свойства которого изменились в результате нагрева при сварке или наплавке |
|
|
Зона термического влияния |
|
|
Ндп. Переходная зона |
|
|
D. Wärmeeinflusszone |
|
|
Е. Heat affected zone |
|
|
F. Zone thermiquement atfectée; Zone influencée thermiquement |
|
|
Дуга, столб которой сжат с помощью сопла плазменной горелки, потока газа или внешнего электромагнитного поля |
|
|
D. Eingeschnürter Lichtbogen |
|
|
Е. Constricted arc |
|
|
F. Arc contracté; Arc étranglé |
|
|
Дуга, при которой объект сварки включен в цепь сварочного тока |
|
|
D. Direktor Lichtbogen |
|
|
Е. Transferred arc |
|
|
F. Arc transféré |
|
|
Дуга, при которой объект сварки не включен в цепь сварочного тока |
|
|
D. Nichtübertragener Lichtbogen; Indirekter Lichtbogen |
|
|
Е. Non-tninsrerred arc |
|
|
F. Arc non transféré |
|
|
Полярность, при которой электрод присоединяется к отрицательному полюсу источника питания дуги, а объект сварки - к положительному |
|
|
D. Minuspolung; Normale Polung |
|
|
Е. Straight polarity |
|
|
F.Polarité normale (directe) |
|
|
Полярность, при которой электрод присоединяется к положительному полюсу источника питания дуги, а объект сварки - к отрицательному |
|
|
D. Pluspolung; Umgekehrte Polung |
|
|
Е. Reversed polarity |
|
|
F. Polnrité inverse (négative) |
|
|
Отклонение дуги в результате действия магнитных полей или ферромагнитных масс при сварке |
|
|
D. Magnetisclie Blaswirkung |
|
|
E. Magnetic are blow |
|
|
F. Soufflage magnétique |
|
|
Операция местной пластической деформации свариваемых частей при сварке с применением давления |
|
|
Осaдкa |
|
|
D. Stauchen; Stauchung |
|
|
E. Upaetting |
|
|
F. Réfoulement |
|
|
Металл, выдавленный за счет осадки при сварке |
|
|
Грат |
|
|
D. Schweissgrat |
|
|
Е. Upset metal; Flash |
|
|
F. Métal refoulé; Bavure |
|
|
Потери металла на испарение и окисление при сварке |
|
|
Угар |
|
|
D.Abbrandverlust; Abbrand |
|
|
Е. Burn-out loss; Burn-out; Burn-off, loss |
|
|
P. Perte de soudure |
|
|
Длина свариваемых частей, выступающих за зажимные приспособления при стыковой контактной сварке и сварке трением |
|
|
Установочная длина |
|
|
D. Einspannlänge |
|
|
Е. Initial extension |
|
|
F. Longueur hors-mors |
|
|
По ГОСТ 29273-92 |
|
|
D. Schweissbarkeit |
|
|
Е. Weldability |
|
|
F. Soudabilité |
|
|
Коэффициент, выраженный отношением массы электрода, расплавленной за единицу времени горения дуги, отнесенной к единице сварочного тока |
|
|
D. Abschmelzkoeffizient; Abschmeizfaktor |
|
|
Е. Fusion coefficient |
|
|
F. Coefficient de fusion |
|
|
Коэффициент, выраженный отношением массы металла, наплавленной за единицу времени горения дуги, отнесенной к единице сварочного тока |
|
|
Коэффициент наплавки |
|
|
D. Auftragskoeffizient |
|
|
Е. Metal deposit factor |
|
|
F. Coefficient de dépot (deposition) |
|
|
Коэффициент, выраженный отношением потерь металла при сварке на угар и разбрызгивание к массе расплавленного присадочного металла |
|
|
Коэффициент потерь |
|
|
D. Relativer Schweissgutverlust |
|
|
Е. Relative loss of filler metal during deposition |
|
|
F. Coefficient de perte en métal |
|
|
Энергия, затраченная на единицу длины сварного шва при сварке плавлением |
|
|
D. Streckenenergie |
|
|
Е. Heat input |
|
|
F. Energie absorbée par unite de longueur |
|
|
ОБОРУДОВАНИЕ И МАТЕРИАЛЫ |
|
|
Специально оборудованное рабочее место для сварки |
|
|
D. Schweissplatz (mit Ausrüstungen) |
|
|
Е. Welding station |
|
|
F. Poste de soudage |
|
|
Установка, состоящая из источника питания, сварочного аппарата или машины для сварки и механизмов относительного перемещения сварочной аппаратуры и изделия |
|
|
D. Schweissanlage |
|
|
Е. Welding machine |
|
|
F. Machine à souder |
|
|
Аппарат для автоматической дуговой сварки |
|
|
Автомат |
|
|
D. Lichtbogenschweissautomat |
|
|
Е. Automatic arc welding machine |
|
|
F. Machine automatique de soudage à l’arc |
|
|
Аппарат для механизированной дуговой сварки, включающий горелку и механизм подачи проволоки с ручным перемещением горелки |
|
|
Полуавтомат |
|
|
D. Halbautomat für Lichtbogenschweissen |
|
|
Е. Semi-automatic arc welding machine |
|
|
F. Machine semi-automatique de soudage à l’arc |
|
|
Устройство, осуществляющее подачу сварочной проволоки и поддержание заданного режима сварки. Примечание. Сварочная головка может составлять часть автомата для дуговой сварки |
|
|
D. Schweisskopf |
|
|
Е. Welding head |
|
|
F. Tête de soudage |
|
|
Часть сварочной головки, предназначенная для направления сварочной проволоки в зону сварки и подвода к ней электрического тока |
|
|
D. Kontakt- und Fuhrungs-rohr |
|
|
Е. Nozzle |
|
|
F. Buse |
|
|
Переносной аппарат для дуговой сварки с самоходной тележкой, которая перемещает его вдоль свариваемых кромок по поверхности изделия или переносному пути |
|
|
D. Schweisstraktor |
|
|
Е. Welding tractor |
|
|
F. Tracteur de soudage à l’arc |
|
|
Устройство для дуговой сварки в защитном газе или самозащитной проволокой, обеспечивающее подвод электрического тока к электроду и газа в зону дуги |
|
|
D. Lichtbogenschweissbrenner |
|
|
Е. Arc welding torch |
|
|
F. Chalumeau (forclie) de soudage à l’arc |
|
|
Сопло для подвода и направления газа с целью защиты сварочной ванны и электрода от воздействия воздуха |
|
|
Сопло |
|
|
D. Düse |
|
|
Е. Welding torch nozzle |
|
|
F. Buse de chalumeau (de torche) |
|
|
Приспособление для закрепления электрода и подвода к нему тока |
|
|
Электродержатель |
|
|
D. Elektrodenhalter |
|
|
Е. Electrode holder |
|
|
F. Porte-électrode |
|
|
- |
|
|
D. Sctrweissgleichrichter |
|
|
Е. Welding rectifier |
|
|
F. Rdresseur de soudage |
|
|
- |
|
|
D. Schweissgenerator |
|
|
Е. Welding generator |
|
|
F. Générateur de soudage |
|
|
Агрегат, состоящий из сварочного генератора и приводного двигателя |
|
|
D. Schweissagregat |
|
|
Е. Welding set |
|
|
F. Groupe électrogène de soudage |
|
|
Сварочный агрегат, в котором приводным двигателем является электрический двигатель |
|
|
D. Schweissumformer |
|
|
Е. Welding converter |
|
|
F. Convertisseur de soudage |
|
|
Устройство для газовой сварки с регулируемым смешением газов и созданием направленного сварочного пламени |
|
|
Горелка |
|
|
D. Schweissbrenner |
|
|
Е. Gas torch |
|
|
F. Chalumeau à gas |
|
|
Горелка для газовой сварки со встроенным инжектором для подсоса горючего газа струей кислорода |
|
|
Ндп. Горелка низкого давления |
|
|
D. Injektorschweissbrenner; Saugschweissbrenner; Niederdruckschweissbrenner |
|
|
Е. Injector blowpipe; Injector torch; Low-pressure torch (blowpipe) |
|
|
F. Chalumeau à basse pression; Chalumeau à injectcur |
|
|
Горелка для газовой сварки, в которой поступление горючего газа и кислорода в смеситель осуществляется под одинаковым давлением |
|
|
Ндп. Горелка высокого давления |
|
|
D. Schweissbrenner oline Injektor |
|
|
E. Pressure welding torch; Blowpipe without injector |
|
|
F. Chalumeau sans injecteur; Chalumeau à haute pression |
|
|
Сварочное пламя, в средней зоне которого имеется избыток кислорода |
|
|
Окислительное пламя |
|
|
D. Oxydierende Flamme |
|
|
Е. Oxidizing flame |
|
|
E. Flamme oxydante |
|
|
Сварочное пламя, в средней зоне которого имеется свободный углерод |
|
|
Науглероживающее пламя |
|
|
D. Aufkohlende Flamme |
|
|
Е. Carburizing flame |
|
|
F. Flamme carburante |
|
|
Аппарат для получения ацетилена посредством разложения карбида кальция водой |
|
|
D. Azetylenentwickler; Azetylenerzeuger |
|
|
Е. Acetylene generator |
|
|
F. Generateur d’acétylène |
|
|
Аппарат для получения водородно-кислородной смеси электролитическим разложением воды |
|
|
D. Wasser-Elektrolyse Generator |
|
|
Е. Water electrolytic generator |
|
|
F. Générateur d’électrolyse aqueuse |
|
|
Горючий газ, применяемый при газовой сварке и нагреве вместо ацетилена |
|
|
D. Ersatzgas |
|
|
E. Changing gas |
|
|
F. Gaz de remplacement |
|
|
Оборудование, предназначенное для установки свариваемых частей в удобное для сварки пространственное положение, перемещения их при сварке, а также для размещения и перемещения сварочного оборудования и сварщиков при выполнении сварочных операций |
|
|
D. Mechanische Schweissausrüstungen |
|
|
E. Machinery for welding |
|
|
F. Equipement méclianique de soudage |
|
|
Устройство для вращения изделий при сварке кольцевых швов и наплавке поверхностей вращения |
|
|
D. Drehvorrichtung |
|
|
E. Manipulator |
|
|
F. Positionneur; Manipulateur de soudage |
|
|
Сварочный вращатель для вращения свариваемых изделий с различными углами наклона оси вращения |
|
|
D. Dreh- und Schwenkvorrichtung |
|
|
E. Versatile welding rotator |
|
|
F. Manipulateur universet de soudage |
|
|
Сварочный вращатель, в котором вращение свариваемых изделий обеспечивается приводными роликами |
|
|
Роликовый вращатель |
|
|
D. Rollen-Drehvorrichtung |
|
|
E. Driving roller device |
|
|
F. Manipulateur à rouleaux |
|
|
Устройство для установки свариваемых частей и удобное для сварки положение |
|
|
Кантователь |
|
|
D. Kantapparat; Kanter |
|
|
E. Welding tilter |
|
|
F. Culbuteur de soudage |
|
|
Приспособление для сборки и закрепления друг относительно друга свариваемых частей в определенном положении |
|
|
Кондуктор |
|
|
D. Spannvorrichtung |
|
|
E. Jig; Fixture |
|
|
F. Dispositit de fixation; Monturc |
|
|
Аппарат для подачи или подачи и уборки сварочного флюса |
|
|
D. Pulverzufuhr- und-absaugvorrichtung |
|
|
E. Flux apparatus |
|
|
F. Disposilif d’amenée de flux |
|
|
Деталь или приспособление, устанавливаемые при сварке плавлением под кромки свариваемых частей |
|
|
D. Feste Badsicherung |
|
|
E. Backing bar; Fixed molten pool support |
|
|
F. Latte; Support |
|
|
Подкладка в виде приспособления, удерживающего расплавленный металл ванны при помощи флюса |
|
|
D. Pulverkissen |
|
|
E. Flux backing; Flux cushion |
|
|
F. Support de flux |
|
|
Подкладка из медной пластины, покрытой тонким слоем флюса, обеспечивающая формирование шва, удержание расплавляемого металла и отвод тепла |
|
|
D. Kupfer-Schweisspulver-Unterlage |
|
|
E. Combined copper-flux backing |
|
|
F. Latte en cuivre et en flux |
|
|
Проволока для использования в качестве плавящегося электрода либо присадочного металла при сварке полавлением |
|
|
D. Schweissdraht |
|
|
E. Welding wire |
|
|
F. Fil pour soudage; Fil (baguette) à soudage |
|
|
Сварочная проволока для использования в качестве плавящегося электрода |
|
|
D. Elektrodendraht |
|
|
E. Electrode wire I" |
|
|
F. Fil électrode |
|
|
Сварочная проволока, используемая как присадочный металл и не являющаяся электродом |
|
|
D. Zusatzdraht; Schweisszusatzdraht |
|
|
E. Filler wire |
|
|
F. Fil d’apport (de soudure) |
|
|
Электродная проволока, содержащая вещества, которые защищают расплавленный металл от вредного воздействия воздуха при сварке |
|
|
D. Selbstschusatzdraht |
|
|
E. Self-shielding wire |
|
|
F. Fil-éleclrode autoprotége |
|
|
Сварочная проволока, состоящая из металлической оболочки, заполненной порошкообразными веществами |
|
|
D. Pulverdraht; Röhrchendralit |
|
|
E. Flux cored electrode (wire) |
|
|
F. Fil fourré |
|
|
Деталь из электропроводного материала, включаемая в цепь сварочного тока для подвода его к сварочной дуге и не расплавляющаяся при сварке |
|
|
Неплавящийся электрод |
|
|
D. Nichtabschmeizende Elektrode |
|
|
E. Non-consumable electrode |
|
|
F. Electrode non consumable |
|
|
Металлический электрод, включаемый в цепь сварочного тока для подвода его к сварочной дуге, расплавляющийся при сварке и служащий присадочным металлом |
|
|
Плавящийся электрод |
|
|
D. Abschmelzende Elektrode |
|
|
E. Consumable electrode |
|
|
F. Electrode consumable |
|
|
Плавящийся электрод для дуговой сварки, имеющий на поверхности покрытие, адгезионно связанное с металлом электрода |
|
|
D. Umhüllte Elektrode |
|
|
E. Covered electrode; Coated electrode |
|
|
P. Electrode cnrobée |
|
|
Смесь веществ, нанесенная на электрод для усиления ионизации, защиты от вредного воздействия среды, металлургической обработки сварочной ванны |
|
|
Покрытие |
|
|
Ндп. Обмазка электрода |
|
|
D. Elektrodenumhüllung; EIcktrodenmantel |
|
|
E. Electrode coating |
|
|
F. Enrobage de l’électrode; Revétement d’électrode |
|
|
Коэффициент, выражаемый отношением массы покрытия к массе покрытой части стержня электрода |
|
|
Коээфициент массы покрытия |
|
|
D. Umhüllungsmassebeiwert |
|
|
E. Coating mass factor |
|
|
F. Facteur de masse du revêtement |
|
|
Материал, используемый при сварке для химической очистки соединяемых поверхностей и улучшении качества шва |
|
|
Флюс |
|
|
D. Schweisspulver; Flussmittel; Pulver |
|
|
E. Welding flux |
|
|
F. Flux de soudage |
|
|
Сварочный флюс, защищающий дугу и сварочную ванну от вредного воздействия окружающей среды и осуществляющий металлургическую обработку ванны |
|
|
D. Pulver für Lichtbogenschweissen |
|
|
E. Arc welding flux |
|
|
F. Flux pour le soudage à l’arc |
|
|
Флюс для дуговой сварки, полученный сплавлением его составляющих и последующей грануляцией расплава |
|
|
Плавленный флюс |
|
|
D. Schmelzpulver |
|
|
E. Fused flux |
|
|
F. Flux fondu en poudre |
|
|
Флюс для дуговой сварки порошкообразных материлов со связующим веществом, грануляцией и последующей термической обработкой |
|
|
Керамический флюс |
|
|
D. Sinterpulver für UP-Schweissen |
|
|
E. Ceramic agglomerated flux |
|
|
F. Flux céramique; Flux agglomere |
|
|
ДЕФЕКТЫ СВАРНЫХ СОЕДИНЕНИЙ |
|
|
Дефект сварного соединения в виде разрыва в сварном шве и (или) прилегающих к нему зонах |
|
|
Трещина |
|
|
D. Riss |
|
|
E. Crack |
|
|
F. Fissure |
|
|
Трещина сварного соединения, ориентированная вдоль оси сварного шва
|
|
|
Продольная трещина |
|
|
D. Längsriss |
|
|
E. Longitudinal crack |
|
|
F. Fissure longitudinale |
|
|
Трещина сварного соединения, ориентированная поперек оси сварного шва
|
|
|
Поперечная трещина |
|
|
D. Qiicrriss |
|
|
E. Transverse crack |
|
|
F. Fissure trunsversale |
|
|
Трещина сварного соединения, имеющая ответвления в различных направлениях
|
|
|
Разветвленная трещина |
|
|
D. Verzweigter Riss |
|
|
E. Branched crack |
|
|
F. Fissure ramifiée |
|
|
Трещина сварного соединения, обнаруженная при пятидесятикратном и более увеличении |
|
|
Микротрещина |
|
|
D. Mikroriss |
|
|
E. Miero-сrack |
|
|
F. Microfissure |
|
|
Дефект в виде полости или впадины, образованный при усадке металла шва в условиях отсутствия питания жидким металлом
|
|
|
Усадочная раковина |
|
|
D. Lunker |
|
|
E. Shrinkage cavity |
|
|
F. Retassure |
|
|
Дефект в виде углубления на поверхности обратной стороны сварного одностороннего шва
|
|
|
D. Konkavität der Nahtwurzel |
|
|
E. Root concavtiy |
|
|
F. Concavité de la racine (de la soudure) |
|
|
Дефект в виде воронкообразного углубления в сварном шве
|
|
|
Свищ |
|
|
D. Porengang |
|
|
Е. Worm-hole |
|
|
F. Soufflure vermiculaire |
|
|
Дефект сварного шва в виде полости округлой формы, заполненной газом |
|
|
Пора |
|
|
Ндп. Газовое включение |
|
|
D. Gaspore; Gaseinschluss |
|
|
Е. Gas pore; Blowhole |
|
|
F. Porosité de la soudure |
|
|
Группа пор в сварном шве, расположенных в линию
|
|
|
Цепочка пор |
|
|
D. Porenzeile |
|
|
E. Linear porosity |
|
|
F. Chaine des pores |
|
|
Дефект в виде несплавления в сварном соединении вследствие неполного расплавления кромок или поверхностей ранее выполненных валиков сварного шва |
|
|
D. Kaltschweisstelle; Einbrandfehler |
|
|
Е. Lack of fusion |
|
|
F. Manque de pénétration |
|
|
Дефект в виде сквозного отверстия в сварном шве, образовавшийся в результате вытекания части металла сварочной ванны |
|
|
Прожог |
|
|
D. Verbrannte Schweissnahat |
|
|
Е. Burn-through |
|
|
F. Soudure brûlée |
|
|
Дефект в виде вкрапления шлака в сварном шве |
|
|
Шлаковое включение |
|
|
D. Schlackeeinschluss |
|
|
Е. Slag inclusion |
|
|
F. Inclusion du laitier |
|
|
Дефект в виде затвердевших капель на поверхности сварного соединения |
|
|
D. Spritzer; Metallspritzer |
|
|
Е. Spatters |
|
|
F. Eclaboussures |
|
|
Дефект в виде окалины или пленки окислов на поверхности сварного соединения |
|
|
Поверхностное окисление |
|
|
D. Oberilache oxydation |
|
|
Е. Surface oxidation |
|
|
F. Oxydation superficielle |
|
|
Дефект в виде углубления по линии сплавления сварного шва с основным металлом |
|
|
Подрез |
|
|
D. Einhrandkerbe |
|
|
E. Undercut |
|
|
F. Morsure; Caniveau |
|
|
Дефект в виде натекания металла шва на поверхность основного металла или ранее выполненного валика без сплавления с ним |
|
|
Наплыв |
|
|
Ндп. Стек |
|
|
D. Wulst |
|
|
Е. Overlap |
|
|
F. Débordenient |
|
|
Неправильное положение сваренных кромок друг относительно друга |
|
|
Смещение кромок |
|
|
D. Kantenversats |
|
|
Е. Edge displacement |
|
|
F. Dénivellation des bords |
|
(Измененная редакция, Изм. № 1, 2).
|
Автомат |
|
|
Автомат для дуговой сварки |
|
|
Агрегат сварочный |
|
|
Аппарат флюсовый |
|
|
Брызги металла |
|
|
Валик |
|
|
Ванна сварочная |
|
|
Включение газовое |
|
|
Включение сварного шва шлаковое |
|
|
Включение шлаковое |
|
|
Вогнутость корня шва |
|
|
Вогнутость шва |
|
|
Вогнутость углового шва |
|
|
Вращатель роликовый |
|
|
Вращатель сварочный |
|
|
Вращатель сварочный роликовый |
|
|
Вращатель сварочный универсальный |
|
|
Выпуклость шва |
|
|
Выпуклость сварного шва |
|
|
Выпрямитель сварочный |
|
|
Высота углового шва расчетная |
|
|
Высота шва расчетная |
|
|
Газ-заменитель |
|
|
Генератор ацетиленовый |
|
|
Генератор сварочный |
|
|
Генератор электролизно-водный |
|
|
Глубина проплавления |
|
|
Головка сварочная |
|
|
Горелка |
|
|
Горелка безынжекторная |
|
|
Горелка высокого давления |
|
|
Горелка для газовой сварки |
|
|
Горелка для дуговой сварки |
|
|
Горелка инжекторная |
|
|
Горелка низкокого давления |
|
|
Грат |
|
|
Грат при сварке |
|
|
Длина свариваемых частей установочная |
|
|
Длина установочная |
|
|
Дуга косвенного действия |
|
|
Дуга прямого действия |
|
|
Дуга сжатая |
|
|
Дутье магнитное |
|
|
Зазор |
|
|
Зона переходная |
|
|
Зона сплавления |
|
|
Зона сплавления при сварке |
|
|
Зона термического влияния |
|
|
Зона термического влияния при сварке |
|
|
Кантователь |
|
|
Кантователь сварочный |
|
|
Катет шва |
|
|
Катет углового шва |
|
|
Кондуктор |
|
|
Кондуктор сварочный |
|
|
Конструкция сварная |
|
|
Корень шва |
|
|
Коэффициент массы покрытия |
|
|
Коэффициент массы покрытия электрода |
|
|
Коэффициент наплавки |
|
|
Коэффициент наплавки при сварке |
|
|
Коэффициент потерь |
|
|
Коэффициент потерь при сварке |
|
|
Коэффициент расплавления |
|
|
Коэффициент формы шва |
|
|
Коэффициент формы сварного шва |
|
|
Кратер |
|
|
Металл наплавленный |
|
|
Металл основной |
|
|
Металл присадочный |
|
|
Металл шва |
|
|
Микротрещина |
|
|
Микротрещина сварного соединения |
|
|
Мундштук сварочной головки |
|
|
Наварка |
|
|
Наплавка |
|
|
Наплыв |
|
|
Наплыв на сварном соединении |
|
|
Направление сварки |
|
|
Неоднородность механическая |
|
|
Неоднородность сварного соединения механическая |
|
|
Непровар |
|
|
Обмазка электрода |
|
|
Оборудование для сварки механическое |
|
|
Окисление поверхностное |
|
|
Окисление сварного соединения поверхностное |
|
|
Осадка |
|
|
Осадка при сварке |
|
|
Ослабление шва |
|
|
Пламя науглероживающее |
|
|
Пламя окислительное |
|
|
Пламя сварочное науглероживающее |
|
|
Пламя сварочное окислительное |
|
|
Поддув защитного газа |
|
|
Подкладка |
|
|
Подкладка флюсо-медная |
|
|
Подрез |
|
|
Подрез зоны сплавления |
|
|
Подушка флюсовая |
|
|
Покрытие |
|
|
Покрытие электрода |
|
|
Полярность обратная |
|
|
Полярность прямая |
|
|
Полуавтомат |
|
|
Полуавтомат для дуговой сварки |
|
|
Пора |
|
|
Пора в сварном шве |
|
|
Пост сварочный |
|
|
Преобразователь сварочный |
|
|
Притупление кромки |
|
|
Прихватка |
|
|
Провар |
|
|
Проволока порошковая |
|
|
Проволока присадочная |
|
|
Проволока самозащитная |
|
|
Проволока сварочная |
|
|
Проволока электродная |
|
|
Прожог |
|
|
Прожог сварного шва |
|
|
Прослойка мягкая |
|
|
Прослойка сварного соединения мягкая |
|
|
Прослойка сварного соединения твердая |
|
|
Прослойка твердая |
|
|
Проход |
|
|
Проход при сварке |
|
|
Разделка кромок |
|
|
Раковина сварного шва усадочная |
|
|
Раковина усадочная |
|
|
Свариваемость |
|
|
Сварка |
|
|
Сварка автоматическая |
|
|
Сварка аргонодуговая |
|
|
Сварка блоками |
|
|
Сварка в защитном газе |
|
|
Сварка в защитном газе дуговая |
|
|
Сварка взрывом |
|
|
Сварка вибродуговая |
|
|
Сварка в контролируемой атмосфере |
|
|
Сварка вразброс |
|
|
Сварка в твердом состоянии |
|
|
Сварка в твердой фазе |
|
|
Сварка в углекислом газе |
|
|
Сварка в углекислом газе дуговая |
|
|
Сварка высокочастотная |
|
|
Сварка газовая |
|
|
Сварка газопрессовая |
|
|
Сварка газоэлектрическая |
|
|
Сварка гравитационная |
|
|
Сварка давлением |
|
|
Сварка двухдуговая |
|
|
Сварка двухэлектродная |
|
|
Сварка диффузионная |
|
|
Сварка дуговая |
|
|
Сварка дуговая автоматическая |
|
|
Сварка дуговая механизированная |
|
|
Сварка дуговая подводная |
|
|
Сварка дуговая полуавтоматическая |
|
|
Сварка дуговая ручная |
|
|
Сварка дуговая точечная |
|
|
Сварка импульсно-дуговая |
|
|
Сварка каскадом |
|
|
Сварка контактная |
|
|
Сварка контактная стыковая |
|
|
Сварка контактная точечная |
|
|
Сварка контактная шовная |
|
|
Сварка кузнечная |
|
|
Сварка лазерная |
|
|
Сварка лежачим электродом |
|
|
Сварка магнитно-импульсная |
|
|
Сварка механизированная |
|
|
Сварка многодуговая |
|
|
Сварка многоэлектродная |
|
|
Сварка на весу |
|
|
Сварка наклонным электродом |
|
|
Сварка на подъем |
|
|
Сварка на проход |
|
|
Сварка на спуск |
|
|
Сварка неплавящимся электродом |
|
|
Сварка неплавящимся электродом дуговая |
|
|
Сварка неповоротных стыков |
|
|
Сварка обратноступенчатая |
|
|
Сварка оплавлением |
|
|
Сварка оплавлением стыковая |
|
|
Сварка печная |
|
|
Сварка плавлением |
|
|
Сварка плавящимся электродом |
|
|
Сварка плавящимся электродом дуговая |
|
|
Сварка плазменная |
|
|
Сварка плазменнодуговая |
|
|
Сварка плазменной дугой |
|
|
Сварка подводная |
|
|
Сварка под водой дуговая |
|
|
Сварка по флюсу |
|
|
Сварка по флюсу дуговая |
|
|
Сварка под флюсом |
|
|
Сварка под флюсом дуговая |
|
|
Сварка прокаткой |
|
|
Сварка расщепленным электродом |
|
|
Сварка рельефная |
|
|
Сварка роликовая |
|
|
Сварка ручная |
|
|
Сварка с применением давления |
|
|
Сварка сверху вниз |
|
|
Сварка сопротивлением |
|
|
Сварка сопротивлением стыковая |
|
|
Сварка стыковая |
|
|
Сварка снизу вверх |
|
|
Сварка термитная |
|
|
Сварка точечная |
|
|
Сварка трением |
|
|
Сварка углом вперед |
|
|
Сварка углом назад |
|
|
Сварка ультразвуковая |
|
|
Сварка холодная |
|
|
Сварка шлаковая |
|
|
Сварка шовная |
|
|
Сварка шовно-стыковая |
|
|
Сварка электронно-лучевая |
|
|
Сварка электрошлаковая |
|
|
Свищ |
|
|
Свищ в сварном шве |
|
|
Скос кромки |
|
|
Слой |
|
|
Слой сварного шва |
|
|
Смещение кромок |
|
|
Смещение сваренных кромок |
|
|
Соединение боковое |
|
|
Соединение впритык |
|
|
Соединение нахлесточное |
|
|
Соединение сварное |
|
|
Соединение стыковое |
|
|
Соединение тавровое |
|
|
Соединение торцовое |
|
|
Соединение угловое |
|
|
Сопло |
|
|
Сопло горелки для дуговой сварки |
|
|
Стек |
|
|
Толщина углового шва |
|
|
Точка сварная |
|
|
Трактор для дуговой сварки |
|
|
Трещина |
|
|
Трещина поперечная |
|
|
Трещина продольная |
|
|
Трещина разветвленная |
|
|
Трещина сварного соединения |
|
|
Трещина сварного соединения поперечная |
|
|
Трещина сварного соединения продольная |
|
|
Трещина сварного соединения разветвленная |
|
|
Угар |
|
|
Угар при сварке |
|
|
Угол разделки |
|
|
Угол разделки кромок |
|
|
Угол скоса |
|
|
Угол скоса кромки |
|
|
Узел сварной |
|
|
Упрочнение контактное |
|
|
Упрочнение мягкой прослойки контактное |
|
|
Усиление шва |
|
|
Установка сварочная |
|
|
Участок разупрочненный |
|
|
Участок сварочного соединения разупрочненный |
|
|
Флюс |
|
|
Флюс для дуговой сварки |
|
|
Флюс керамический |
|
|
Флюс плавленный |
|
|
Флюс сварочный |
|
|
Флюс сварочный керамический |
|
|
Флюс сварочный плавленный |
|
|
Цепочка пор |
|
|
Цепочка пор в сварном шве |
|
|
Ширина шва |
|
|
Ширина сварного шва |
|
|
Шов |
|
|
Шов многослойный |
|
|
Шов монтажный |
|
|
Шов непрерывный |
|
|
Шов подварочный |
|
|
Шов прерывистый |
|
|
Шов прерывистый цепной |
|
|
Шов прерывистый шахматный |
|
|
Шов сварной |
|
|
Шов сплошной |
|
|
Шов стыковой |
|
|
Шов точечный |
|
|
Шов угловой |
|
|
IIIoв цепной |
|
|
Шов шахматный |
|
|
Электрод для дуговой сварки неплавяшийся |
|
|
Электрод для дуговой сварки плавящийся |
|
|
Электрод неплавящийся |
|
|
Электрод плавящийся |
|
|
Электрод покрытый |
|
|
Электродержатель |
|
|
Электродержатель для дуговой сварки |
|
|
Энергия погонная |
|
|
Ядро точки |
(Измененная редакция, Изм. № 1).
|
Abbrand |
133 |
|
Abbrandverlust |
133 |
|
Abrennstumpfschweissen |
38 |
|
Absatzweises Mthralagenschweissen |
96 |
|
Absatzweises Schweissen |
100 |
|
Abschmelzende Elektrode |
178 |
|
Abschmelzfaktor |
136 |
|
Abschmelzkoeffizient |
136 |
|
Abschrägungswiknkel |
113 |
|
Abwärtsschweissen |
101 |
|
Aluminothermisches Schweissen |
33 |
|
Argonarc-Schweissen |
12 |
|
Argon-Lichtbogenschweissen |
12 |
|
Aufkohlende Flamme |
158 |
|
Auftragskoeffizient |
137 |
|
Auftragsschweissen |
6 |
|
Auftragsschweissen mit Druck |
35 |
|
Aufwärtsschweissen |
102 |
|
Automatisches Lichtbogenschweissen |
18 |
|
Automatisches Schweissen |
4 |
|
Azetylenentwickler |
159 |
|
Azetylenenzenger |
159 |
|
Baustellenschweissnaht |
78 |
|
Bergabschweissen |
103 |
|
Bergaufschweissen |
104 |
|
Buckeischweissen |
41 |
|
CO2-Schutgasschweissen |
13 |
|
CO2-Schweissen |
13 |
|
Diffusionsschweissen |
2 |
|
Direktor Lichtbogen |
126 |
|
Doppellichlbogenschweissen |
19 |
|
Dreh- und Schwenkvorrichtung |
164 |
|
Drehvorrichtung |
163 |
|
Druckschweissen |
48 |
|
Durchlaufende Naht |
71 |
|
Düse |
148 |
|
Eckstos |
59 |
|
Eckverbindung |
59 |
|
E-Handschweissen |
16 |
|
EHV-Schweissen |
26 |
|
Einbrand |
122 |
|
Einbrandfehler |
196 |
|
Einbrandkerbe |
201 |
|
Einbrandtiefe |
116 |
|
Eingeschnürter Lichbogen |
125 |
|
Eingetragenes Schweissgut |
120 |
|
Emrichtungschweissen |
99 |
|
Einspannlänge |
134 |
|
Elektrodendraht |
173 |
|
Elektrodenhalter |
149 |
|
Elektrodenmantel |
180 |
|
Elektrodenumhüllung |
180 |
|
Elektrodenstrahlschweissen |
30 |
|
Elektroschlackeschweissen |
29 |
|
Ersatzgas |
161 |
|
ES-Schweissen |
29 |
|
Explosionschweissen |
45 |
|
Fallinahtschweissen |
10 |
|
Feste Badsicherung |
169 |
|
Feuerschweissen |
49 |
|
Flussmittel |
182 |
|
Fugenvorbereilung |
110 |
|
Gaseinschluss |
194 |
|
Gaspore |
194 |
|
Gaspressschweissen |
52 |
|
Gasschmelzschweissen |
32 |
|
Gasschweissen |
32 |
|
Gegennaht |
76 |
|
Grandwerkstoft |
115 |
|
Halbautomat für Lichtbogenschweissen |
143 |
|
Hammerschweissen |
50 |
|
Handlichtbogenschweissen |
16 |
|
Handschweissen |
2 |
|
Harte Zwischenlage |
9 |
|
Heftnaht |
77 |
|
Hochfrequenzschweissen |
44 |
|
Impulslichtbogenschweissen |
5 |
|
Indirekter Lichtbogen |
127 |
|
Infestigle Zone |
92 |
|
Injektorschweissbrenner |
155 |
|
Kaltpressschweissen |
55 |
|
Kaltschweissen |
55 |
|
Kaltschweisstelle |
196 |
|
Kantapparat |
166 |
|
Kantenabschrägung |
111 |
|
Kantenversatz |
203 |
|
Kantenvorbereitung |
110 |
|
Kanter |
166 |
|
Kaskadeuschweissung |
97 |
|
Kehlnaht |
67 |
|
Kehlnahtdicke |
84 |
|
Konkavität der Kehlnaht |
83 |
|
Konkavität der Nahtwurzel |
192 |
|
Kontakt-und Führungsrohr |
145 |
|
Krater |
19 |
|
Kupfer-Schweisspulver-Unterlage |
171 |
|
Lage |
80 |
|
Längsriss |
187 |
|
Laserschweissen |
31 |
|
Laserstrahlschweissen |
31 |
|
Lichtbogenhandschweissen |
16 |
|
Lichtbogenschweissautomat |
142 |
|
Lichtbogenschweissbrenner |
147 |
|
Lichtbogenschweissen |
7 |
|
Lichtbogenschweissen mit abschmelzender Elektrode |
8 |
|
Licbthogenschweissen unter Wasser |
14 |
|
Lichtbogenschweissen mit vibrierender Elektrode |
25 |
|
Lichtbogenschweissen von Hand |
16 |
|
Lichtbogenpunktschweissen |
24 |
|
Lokale Verfestigung |
93 |
|
Lunker |
191 |
|
Magnet-Impuls Schweissen |
46 |
|
Magnetische Blaswirkung |
130 |
|
Manuelles Lichtbogenschweissen |
16 |
|
Manuelles Schweissen |
2 |
|
Maschinelles Schweissen |
3 |
|
Mechanische Inhomogenität |
89 |
|
Mechanische Schweissausrüstungen |
162 |
|
Mechanisiertes Lichtbogenschweissen |
17 |
|
Mehrdrahlschweissen |
3 |
|
Mehrfachlichtbogenschweissen |
22 |
|
Mehriachlichlbogenschweissen |
20 |
|
Mehrlagennaht |
75 |
|
Melallspritzer |
20 |
|
Mikroriss |
190 |
|
Minuspoluing |
128 |
|
Montageschweissung |
78 |
|
Nahtbreite |
88 |
|
Nahtformfaktor |
87 |
|
Nahthöhe |
84 |
|
Nahtschenkel |
86 |
|
Nahtschweissen |
42 |
|
Nahtüberhöhung |
82 |
|
Nahtvorbereitung |
110 |
|
Nahtwurzel |
81 |
|
Nichlabschmelzende Elektrode |
177 |
|
Nichtübertragener Lichtbogen |
127 |
|
Niederdruckschweissbrenner |
155 |
|
Normale Polung |
128 |
|
Oberflache oxydation |
200 |
|
Öffnungswinkel |
114 |
|
Öxydierende Flamme |
157 |
|
Pilgerschrittschweissen |
95 |
|
Plasmaschweissen |
28 |
|
Pluspolung |
129 |
|
Porengang |
193 |
|
Porenzeile |
195 |
|
Pressschweissen |
48 |
|
Presstumpfschweissen |
39 |
|
Pulver |
182 |
|
Pulver für Lichtbogenschweissen |
183 |
|
Pulverdraht |
176 |
|
Pulverkissen |
170 |
|
Pulverzufuhr- und-absaugvorrichtung |
168 |
|
Punktschweissen |
40 |
|
Punktschweissung |
68 |
|
Querriss |
188 |
|
Rechnerische Nahtdicke |
85 |
|
Reibschweissen |
47 |
|
Reines Schweissgut |
120 |
|
Relativer Schweissgutverlust |
138 |
|
Riss |
186 |
|
Röhrchendraht |
176 |
|
Rollen-Drehvorrichtung |
165 |
|
Rollennahtschweissen |
42 |
|
Rollennahtschweissen von Stumpfstössen |
43 |
|
Rollennaht-Widerstandsschweissen |
42 |
|
Saugschwessbrenner |
155 |
|
Schenkekläuge |
86 |
|
Schlackeeinschluss |
198 |
|
Schmeizpulver |
184 |
|
Schmeizschweissen |
5 |
|
Schrägautwärtsschweissen |
104 |
|
Schutzgaslichtbogenschweissen |
11 |
|
Schutzgasschweissen |
11 |
|
Schutzgaszufuhr von Rückseite der Naht |
109 |
|
Schwehrkraftschweissen |
27 |
|
Sschweissagregat |
152 |
|
Schweissanlage |
141 |
|
Schweissbad |
117 |
|
Schweissbarkeit |
135 |
|
Schweissbrenner |
154 |
|
Schweissbrenner оhnе Injektor |
156 |
|
Schweissdraht |
172 |
|
Schweisseinheit |
64 |
|
Schweissen |
1 |
|
Schweissen in konlrolierter Atmosphäre |
56 |
|
Schweissen in Zwangsposition |
108 |
|
Schweissen mit abschmelzender Elektrode |
8 |
|
Schweissen mit Doppelelektrode |
21 |
|
Schweissen mit Druck |
34 |
|
Schweissen mit liegen der Elektrode |
26 |
|
Schweissen mit Mehrfachelektrode |
22 |
|
Schweissen mit nichtabschmelzender Elektrode |
9 |
|
Schweissen Pulverzugabe |
23 |
|
Schweissen mit schleppender Brennerstellung |
106 |
|
Schweissen mit stechender Brennerstellung |
105 |
|
Schweissen mit Zwillingselektrode |
21 |
|
Schweissen ohne Unterlage |
107 |
|
Schweissgang |
98 |
|
Schweissgenerator |
151 |
|
Schweissgleichrichter |
150 |
|
Schweissgrat |
132 |
|
Schweissgut |
121 |
|
Schweisskonstruktion |
63 |
|
Schweisskopf |
144 |
|
Schweisslinse |
70 |
|
Schweissnaht |
65 |
|
Schweissplatz (mit Ausrüstungen) |
140 |
|
Schweisspulver |
182 |
|
Schweisspunkt |
69 |
|
Schweissraupe |
79 |
|
Schweissrichtung |
94 |
|
Schweissteil |
64 |
|
Schweisstraktor |
146 |
|
Schweisstromquellen |
151 |
|
Schweissumformer |
153 |
|
Schweissverbindung |
57 |
|
Schweisszusatzdraht |
174 |
|
Selbstschutzdraht |
175 |
|
Sinterpulver für UP-Schweissen |
185 |
|
Spalt |
114a |
|
Spaltbreite |
114a |
|
Spannvorrichtung |
167 |
|
Speisequelle |
51 |
|
Sprengschweissen |
45 |
|
Spritzer |
199 |
|
Stauchen |
131 |
|
Stauchung |
131 |
|
Stegabstand |
114a |
|
Stegflanke |
112 |
|
Stirnstoss |
62 |
|
Stossnaht |
66 |
|
Streckenenergie |
139 |
|
Stumpfnaht |
66 |
|
Stumptschweissverbindung |
58 |
|
Stumpfstoss |
58 |
|
Symmetrisch unterbrochene Naht |
73 |
|
Thermitschweissen |
33 |
|
T-Stoss |
61 |
|
T-Verbindung |
61 |
|
Überiappstoss |
60 |
|
Überiappstossverbindung |
60 |
|
Ultraschallschweissen |
54 |
|
Umgekehrte Polung |
129 |
|
Umhüllte Eleklrode |
179 |
|
Umhüllungsmassebeiwert |
181 |
|
Unterbrochene Naht |
72 |
|
Unterbrochene versetzte Naht |
74 |
|
Unterpulverlichtbogenschweissen |
10 |
|
Unterpulverschweissen |
10 |
|
Unterschienenschweissen |
26 |
|
Unterwasserschweissen |
14 |
|
UP-Schweissen |
10 |
|
Verbannte Schweissnaht |
197 |
|
Verzweigter Riss |
189 |
|
Vollautomatisches Schweissen |
4 |
|
Walzschweissen |
51 |
|
Wärmeeinflusszone |
124 |
|
Wassser-Elektrolyse Generator |
160 |
|
Weiche Zwischenlage |
90 |
|
Widerstandsschweissen |
36 |
|
Widerstandsstumpfschweissen |
37 |
|
Wulst |
202 |
|
Wurzel |
81 |
|
Zusammcnschmeizzone |
123 |
|
Zusatzmetall |
119 |
|
Znsatzwerkstoff |
119 |
|
Znsatztdralit |
174 |
|
Zweielektrodenschweissen |
21 |
|
Zweilichthogenschweissen |
19 |
(Измененная редакция, Изм. № 1).
|
Acetylene generator |
159 |
|
Air gap |
114а |
|
Arc spot welding |
24 |
|
Arc welding |
7 |
|
Arc welding flux |
183 |
|
Arc welding torch |
147 |
|
Argon-arc welding |
12 |
|
Automatic arc welding |
18 |
|
Automatic arc welding machine |
142 |
|
Automatic welding |
4 |
|
Backing bar |
169 |
|
Back-step sequence |
95 |
|
Back-step welding |
95 |
|
Base metal |
115 |
|
Bead |
79 |
|
Bevel angle |
113 |
|
Block sequence |
96 |
|
Blowhole |
194 |
|
Blowpipe without injector |
156 |
|
Branched crack |
189 |
|
Building-up welding |
6 |
|
Butt joint |
58 |
|
Butt-seam welding |
43 |
|
Butt weld |
66 |
|
Burn-off loss |
133 |
|
Burn-out |
133 |
|
Burn-out loss |
133 |
|
Burn-through |
197 |
|
Carburizing flame |
158 |
|
Cascade welding |
97 |
|
Ceramic agglomerated flux |
185 |
|
Chain intermittent fillet weld |
73 |
|
Chain intermittent weld |
73 |
|
Changing gas |
161 |
|
Coated electrode |
179 |
|
Coating mass factor |
181 |
|
CO2-welding |
13 |
|
Cold pressure welding |
55 |
|
Cold welding |
55 |
|
Combined copper-flux backing |
171 |
|
Complete fusion |
122 |
|
Constricted arc |
125 |
|
Consumable electrode |
178 |
|
Consumable electrode arc welding |
8 |
|
Continuous weld |
71 |
|
Corner joint |
59 |
|
Covered eleclrode |
179 |
|
Crack |
186 |
|
Crater |
118 |
|
Deposited metal |
120 |
|
Depth of penetration |
116 |
|
Design throat thickness |
85 |
|
Diffusion welding |
53 |
|
Direction of welding |
94 |
|
Downhill welding |
101 |
|
Downward welding (in the inclined position) |
103 |
|
Driving roller device |
165 |
|
EHV welding |
26 |
|
Edge bevelling |
111 |
|
Edge displacement |
203 |
|
Edge joint |
62 |
|
Edge preparation |
110 |
|
Electrode coating |
180 |
|
Electrode holder |
149 |
|
Electrode wire |
173 |
|
Electron beam welding |
30 |
|
Eleclroslag welding |
29 |
|
Explosion welding |
45 |
|
Filler metal |
119 |
|
Filler wire |
174 |
|
Fillet weld |
59, 67 |
|
Fillet weld concavity |
83 |
|
Fillet weld leg |
86 |
|
Fillet weld throat thickness |
84 |
|
Firecracker welding |
26 |
|
Fixed molten pool support |
169 |
|
Fixture |
167 |
|
Flange joint |
62 |
|
Flash |
132 |
|
Flash butt welding |
38 |
|
Flux apparatus |
168 |
|
Flux backing |
170 |
|
Flux cored electrode (wire) |
176 |
|
Flux cushion |
170 |
|
Forge welding |
50 |
|
Friction welding |
47 |
|
Fused flux |
184 |
|
Fusion coefficient |
136 |
|
Fusion welding |
5 |
|
Fusion zone |
123 |
|
Gap |
114а |
|
Gas pore |
194 |
|
Gas-shielded arc welding |
11 |
|
Gas torch |
154 |
|
Gas welding |
32 |
|
Gravity welding |
27 |
|
Groove angle |
114 |
|
Hammer welding |
50 |
|
Hand arc welding |
16 |
|
Hand welding |
2 |
|
Hard interlayer |
91 |
|
Heat affected zone |
124 |
|
Heat input |
139 |
|
High frequency welding |
44 |
|
Initial extension |
134 |
|
Injector blowpipe |
155 |
|
Injector torch |
155 |
|
Intermittent weld |
72 |
|
Interrupted weld |
72 |
|
Jig |
167 |
|
Lack of fusion |
196 |
|
Lap joint |
60 |
|
Laser beam welding |
31 |
|
Laser welding |
31 |
|
Layer |
80 |
|
Linear porosity |
195 |
|
Local strengthening |
93 |
|
Longitudinal crack |
197 |
|
Low-pressure torch (blowpipe) |
155 |
|
Magnetic arc blow |
130 |
|
Magnetic-pulse welding |
46 |
|
MAG-welding |
8 |
|
Manipulator |
163 |
|
Manual arc welding |
16 |
|
Manual welding |
2 |
|
Machinery for welding |
162 |
|
Mechanical heterogeneity |
89 |
|
Mechanized arc welding |
17 |
|
Mechanized welding |
3 |
|
Metal deposit factor |
137 |
|
Micro-crack |
190 |
|
MIG-welding |
8 |
|
Multi-arc welding |
20 |
|
Multi-electrode welding |
22 |
|
Multi-pass weld |
75 |
|
Multi-run weld |
75 |
|
Non-consumable electrode |
177 |
|
Non-cunsumable electrode arc welding |
9 |
|
Non transferred arc |
127 |
|
Nozzle |
145 |
|
One direction welding |
99 |
|
Orbital welding |
108 |
|
Overlap |
202 |
|
Overlap joint |
60 |
|
Overlaying |
6 |
|
Oxidizing flame |
157 |
|
Parent metal |
115 |
|
Pass |
98 |
|
Plasma-arc welding |
28 |
|
Point welding |
41 |
|
Position pipe-welding |
108 |
|
Pressure gas welding |
52 |
|
Pressure welding |
48 |
|
Pressure welding torch |
156 |
|
Pressure welding with furnace heating |
49 |
|
Projection welding |
41 |
|
Pulsed arc welding |
15 |
|
Relative loss jf filler metal during deposition |
138 |
|
Resistance welding |
36 |
|
Resistance butt welding |
37, 39 |
|
Resistance-seam welding |
42 |
|
Resistance-spot welding |
40 |
|
Reversed polarity |
129 |
|
Roll welding |
51 |
|
Root concavity |
192 |
|
Root face |
112 |
|
Root opening |
114а |
|
Run |
98 |
|
Sealing bead |
75 |
|
Seam welding |
42 |
|
Self-shielding wire |
175 |
|
Semi-automatic arc welding machine |
143 |
|
Semi-submerged arc welding |
23 |
|
Shrinkage cavity |
191 |
|
Site weld |
78 |
|
Skip welding |
100 |
|
Slag inclusion |
198 |
|
Soft interlayer |
90 |
|
Spatters |
199 |
|
Sport weld |
68 |
|
Sport weld nugget |
70 |
|
Staggered intermittent weld |
74 |
|
Step-back welding |
95 |
|
Straight polarity |
128 |
|
Submerged arc welding |
10 |
|
Surface oxidation |
200 |
|
Surfacing |
6 |
|
Tack weld |
77 |
|
T-joint |
61 |
|
Tee joint |
61 |
|
Thermit welding |
33 |
|
TIG-welding |
9 |
|
Transferred arc |
126 |
|
Transverse crack |
188 |
|
Twin-arc welding |
19 |
|
Two-electrode welding |
21 |
|
Ultrasonic welding |
54 |
|
Undercut |
201 |
|
Underwater arc welding |
14 |
|
Uninterrupted weld |
71 |
|
Uphill welding |
102 |
|
Upset metal |
132 |
|
Upsetting |
131 |
|
Upset welding |
39 |
|
Upward welding (in the inclined position) |
104 |
|
Versatile welding rotator |
164 |
|
Vibrating electrode arc welding |
25 |
|
Water electrolytic generator |
160 |
|
Weakened zone |
92 |
|
Weld |
65 |
|
Weldability |
135 |
|
Weld bead |
79 |
|
Weld convexity |
82 |
|
Welded assembly |
64 |
|
Welded structure |
63 |
|
Welded joint |
57 |
|
Weld geometry factor |
87 |
|
Welling |
1 |
|
Welding bath |
117 |
|
Welding converter |
153 |
|
Welding flux |
182 |
|
Welding generator |
151 |
|
Welding head |
144 |
|
Welding machine |
141 |
|
Welding on with pressure |
35 |
|
Welding pool |
117 |
|
Welding puddle |
117 |
|
Welding rectifier |
150 |
|
Welding set |
152 |
|
Welding station |
140 |
|
Welding tilter |
166 |
|
Welding torch nuzzle |
148 |
|
Welding tractor |
146 |
|
Welding under controlled atmosphere |
56 |
|
Welding wire |
172 |
|
Welding with electrode inclined under acute angle |
105 |
|
Welding with electrode inclined under obtuse angle |
106 |
|
Welding without backing |
107 |
|
Welding with pressure |
34 |
|
Weld metal |
121 |
|
Weld nugget |
70 |
|
Weld point |
69 |
|
Weld reinforcement |
82 |
|
Weld root |
81 |
|
Weld root gas shielding |
109 |
|
Weld shape factor |
87 |
|
Weld spot |
69 |
|
Weld width |
88 |
|
Worm-hole |
193 |
(Измененная редакция, Изм. № 1).
|
Angle d’ouverture |
114 |
|
Angle du chanfrein (de chanfreinage) |
113 |
|
Arc contracté |
125 |
|
Arc étranglé |
125 |
|
Arc non transféré |
127 |
|
Arc transféré |
126 |
|
Assemblage à recouvrement |
60 |
|
Assemblage en bout |
58 |
|
Assemblage en Т |
61 |
|
Assemblage soudé |
57, 64 |
|
Bain de fusion |
117 |
|
Bain de soudage |
117 |
|
Bavure |
132 |
|
Buse |
145 |
|
Buse de chalumeau (de torche) |
148 |
|
Caniveau |
201 |
|
Chaîne des pores |
195 |
|
Chalumeau à basse pression |
155 |
|
Chalumeau à gas |
154 |
|
Chalumeau à haute pression |
156 |
|
Chalumeau à injecteur |
155 |
|
Chalumeau (torche) de soudage à l’arc |
147 |
|
Chalumeau sans injecteur |
156 |
|
Chanfrein |
111 |
|
Chanfreinage |
110 |
|
Coefficient de dépôt (déposition) |
137 |
|
Coefficient de fusion |
136 |
|
Coefficient de perte en métal |
138 |
|
Concavité de la racine (de la soudure) |
192 |
|
Concnvité de la soudure |
83 |
|
Construction soudée |
63 |
|
Convertisseur de soudage |
153 |
|
Cordon |
79 |
|
Cordon à l’envers |
76 |
|
Cordon support |
76 |
|
Côte de la soudure d’angle |
86 |
|
Couche |
80 |
|
Couche intermédiaire douce |
90 |
|
Couche intermédiaire dure |
91 |
|
Cratére |
118 |
|
Culbuteur de soudage |
166 |
|
Débordement |
202 |
|
Dénivellation des bords |
203 |
|
Déposition |
6 |
|
Direction de la soudure |
94 |
|
Dispositif d’amenée de flux |
168 |
|
Diapositif de fixation |
167 |
|
Eclaboussures |
199 |
|
Ecartment des bords |
114a |
|
Electrode consumable |
178 |
|
Electrode eurobée |
179 |
|
Electrode non consumable |
177 |
|
Energie absorbée par unité de longueur |
139 |
|
Enrobage de l’electrode |
190 |
|
Ensemble soudé |
64 |
|
Epaisseur à clin |
84 |
|
Epaisseur d’une soudure en angle |
84 |
|
Epaisseur nominale de la soudure |
85 |
|
Equipement méchanique de soudage |
162 |
|
Facteur de masse du revêtement |
181 |
|
Facteur géométrique de la soudure |
87 |
|
Fil (baguette) à souder |
172 |
|
Fil d’apport (dc soudure) |
174 |
|
Fil-électrode |
173 |
|
Fil-électrode autoprotège |
175 |
|
Fil fourré |
176 |
|
Fil pour soudage |
172 |
|
Fissure |
186 |
|
Fissure longitudinale |
187 |
|
Fissure ramifiée |
189 |
|
Fissure transvcrsale |
188 |
|
Flamme carburante |
158 |
|
Flamme oxydante |
157 |
|
Flux aggloméré |
185 |
|
Flux céramique |
185 |
|
Flux de soudage |
182 |
|
Flux fondu en poudre |
184 |
|
Flux pour le soudage à l’arc |
183 |
|
Fusion compléte |
122 |
|
Gaz de remplacement |
161 |
|
Générateur d’acetylène |
159 |
|
Générateur d’électrolyse aqueuse |
160 |
|
Générateur de soudage |
151 |
|
Groupe électrogène de soudage |
152 |
|
Hétérogénéité mécanique |
89 |
|
Inclusion du laitier |
198 |
|
Joint à bords relevées |
62 |
|
Joint à recouvrement |
60 |
|
Joint d’angle |
59 |
|
Joint des plaques juxtaposées |
62 |
|
Joint en bout |
58 |
|
Joint en Т |
61 |
|
Joint soudé |
57 |
|
Largeur de la soudure |
88 |
|
Latte |
169 |
|
Latte en cuivre et en flux |
171 |
|
Lentille de soudare |
70 |
|
Longueur bors-mors |
134 |
|
Machine à souder |
141 |
|
Machine automatique de soudage à l’arc |
142 |
|
Machine semi-automatique de soudage à l’arc |
143 |
|
Manipulateur à rouleaux |
165 |
|
Manipulateur de soudage |
163 |
|
Manipulateur universel de soudage |
164 |
|
Manque de pénétration |
196 |
|
Méplat |
112 |
|
Métal d’apport |
119 |
|
Métal de base |
115 |
|
Métal de la soudure |
121 |
|
Métal déposé |
120 |
|
Métal refoulé |
132 |
|
Microfissure |
190 |
|
Monture |
167 |
|
Morsure |
201 |
|
Noyau de soudure |
70 |
|
Oxydation superficielle |
200 |
|
Passe |
98 |
|
Perte de soudure |
133 |
|
Point de soudure |
69 |
|
Poirt soudé |
69 |
|
Polarité inverse (négative) |
129 |
|
Polarité normale (directe) |
128 |
|
Porosité de la soudure |
194 |
|
Porte-électrode |
149 |
|
Positionneur |
163 |
|
Poste de soudage |
140 |
|
Preparation des bords |
110 |
|
Procédé argonarc |
12 |
|
Profondeur de pénération |
116 |
|
Protection par gaz de la racine de soudure |
109 |
|
Racine de la soudure |
81 |
|
Raffermissement locale |
93 |
|
Rechargement |
6 |
|
Rechargement aver pression |
35 |
|
Redresseur de soudage |
150 |
|
Réfoulement |
131 |
|
Retassure |
191 |
|
Revétement d’électrode |
180 |
|
Sens de la soudure |
94 |
|
Soudabilité |
135 |
|
Soudage |
1 |
|
Soudage à arcs multiples |
20 |
|
Soudage à courant pulsé |
15 |
|
Soudage à deux arcs |
19 |
|
Soudage à deux électrodes |
21 |
|
Soudage à double arc |
19 |
|
Soudage à froid |
55 |
|
Soudnge à haute frequence |
44 |
|
Soudage à la flamme |
32 |
|
Soudage à la forge |
50 |
|
Soudage à la molette |
42 |
|
Soudage à la molette par écrasement |
43 |
|
Soudage à la l’arc |
7 |
|
Soudage à l’arc avec électrode consumable |
8 |
|
Soudage à l’arc avec électrode non consumable |
9 |
|
Soudage à l’arc avec électrode vibratoire |
25 |
|
Soudnge à l’arc manuel |
16 |
|
Soudage à l’arc sous argon |
12 |
|
Soudage à l’arc sous flux solide |
10 |
|
Soudage a l’arc sous l’eau |
14 |
|
Soudage à l’arc sous protection gazeuse |
11 |
|
Soudage à l’argonarc |
12 |
|
Soudage aluminothermique |
33 |
|
Soudage à pas de pélerin |
95 |
|
Soudage ascendant |
102 |
|
Soudage au galet |
42 |
|
Soudage au galet par écrasiement |
43 |
|
Soudage au laser |
31 |
|
Soudage au plasma |
28 |
|
Soudage au plasma d’arc (à l’arc plasma) |
28 |
|
Soudage autogéne |
32 |
|
Soudage autogéne par pression |
52 |
|
Soudage automatique |
4 |
|
Soudage automatique à l’arc |
18 |
|
Soudage aux galets |
51 |
|
Soudage avec addition de flux |
23 |
|
Soudage avec électrode couchée |
26 |
|
Soudage avec électrode inclinée en arrière |
106 |
|
Soudagie avec électrode inclinee en avant |
105 |
|
Soudage avec électrodes multiples |
22 |
|
Soudage avec pression |
34 |
|
Soudage CO2 |
13 |
|
Soudage dans un sens |
99 |
|
Soudage descendant |
101 |
|
Soudage descendant (en position inclinée) |
103 |
|
Soudage des joints fixes |
108 |
|
Soudage électroslag |
29 |
|
Soudage en atmosphère contrôlée |
56 |
|
Soudage en bout par résistance |
37, 39 |
|
Soudage en cascade |
97 |
|
Soudage fractionné |
100 |
|
Soudage MAG |
8 |
|
Soudage manuel |
2 |
|
Soudage mécanisé |
3 |
|
Soudage mécanisé à l’arc |
17 |
|
Soudage MIG |
8 |
|
Soudage montant |
102 |
|
Soudage montant (en position inclinée) |
104 |
|
Sondage orbital |
108 |
|
Soudage par blocs successifs |
96 |
|
Soudage par bombardement électronique |
30 |
|
Soudage par bossagrs |
41 |
|
Soudage par diffusion |
53 |
|
Soudage par étincelage |
38 |
|
Soudage par faisceau d’électrons |
30 |
|
Soudage par faisceau laser |
31 |
|
Soudage pur forgeage |
50 |
|
Soudage par friction |
47 |
|
Soudage par fusion |
5 |
|
Soudage par gradin inverse |
96 |
|
Soudage par gravité |
27 |
|
Soudage par explosion |
45 |
|
Soudage par impulsions |
15 |
|
Soudage par points |
40 |
|
Soudage par points a l’arc |
24 |
|
Soudane par pression |
48 |
|
Soudane par pression au four |
49 |
|
Soudage par pulsations magnétiques |
46 |
|
Soudage par résistance |
36 |
|
Soudage par résistance à la molette |
42 |
|
Soudage par ultrasons |
54 |
|
Soudage sans support |
107 |
|
Soudage sous laitier électroconducteur |
29 |
|
Soudage TIG |
9 |
|
Soudure |
57, 65 |
|
Soudure à couches multiples |
75 |
|
Soudure à plusicurs couches |
75 |
|
Soudure bout à bout |
66 |
|
Soudure brûlée |
197 |
|
Soudure continue |
71 |
|
Soudure d’angle |
67 |
|
Soudure de montage |
78 |
|
Soudure de pointage |
77 |
|
Soudure discontinue |
72 |
|
Soudure discontinue alterhée |
74 |
|
Soudure discontinue symmétrique |
73 |
|
Soudure en bout |
66 |
|
Soudure en corniche |
59 |
|
Soudure en plusieurs passes |
75 |
|
Soudure intermittente |
72 |
|
Soudure par points |
68 |
|
Soufflage magnetique |
130 |
|
Soufflure vermiculare |
193 |
|
Support |
169 |
|
Support de flux |
170 |
|
Surépaisseur de la soudure |
82 |
|
Talon |
112 |
|
Tête de soudage |
144 |
|
Tracteur de soudage à l’arc |
146 |
|
Zone affaiblie |
92 |
|
Zone de liaison |
123 |
|
Zone influencée thermiquement |
124 |
|
Zone thermiquement aftectée |
124 |
(Измененная редакция, Изм. № 1).
1. РАЗРАБОТАН И ВНЕСЕН Академией наук УССР
РАЗРАБОТЧИКИ
А.А. Казимиров, канд. техн. наук (руководитель темы)
И.И. Фрумин, д-р техн. наук; В.И. Балакин, канд. техн. наук
2. УТВЕРЖДЕН И ВВЕДЕН В ДЕЙСТВИЕ Постановлением Государственного комитета СССР по стандартам от 29.02.84 № 718
3. Срок проверки – 1995 г.;
периодичность проверки – 10 лет
4. ВЗАМЕН ГОСТ 2601-74, ГОСТ 19232-73
5. ССЫЛОЧНЫЕ НОРМАТИВНО-ТЕХНИЧЕСКИЕ ДОКУМЕНТЫ
|
Обозначение НТД, на который дана ссылка |
Номер пункта |
|
ГОСТ 29273-92 |
135 |
6. ПЕРЕИЗДАНИЕ (октябрь 1996 г.) с Изменениями № 1, 2, утвержденными в октябре 1986 г., марте 1992 г., (ИУС 1-87, 6-92)