ТРУБЫ МЕТАЛЛИЧЕСКИЕ
И СОЕДИНИТЕЛЬНЫЕ ЧАСТИ
К НИМ
Часть 4
ТРУБЫ ИЗ ЧЕРНЫХ МЕТАЛЛОВ И СПЛАВОВ
ЛИТЫЕ И СОЕДИНИТЕЛЬНЫЕ ЧАСТИ К НИМ.
ОСНОВНЫЕ РАЗМЕРЫ.
МЕТОДЫ ТЕХНОЛОГИЧЕСКИХ ИСПЫТАНИЙ
ТРУБ
ГОСТ 8958-75*
Москва
ИПК ИЗДАТЕЛЬСТВО СТАНДАРТОВ
1998
ГОСУДАРСТВЕННЫЙ СТАНДАРТ СОЮЗА ССР
|
СОЕДИНИТЕЛЬНЫЕ ЧАСТИ ИЗ КОВКОГО ЧУГУНА Основные размеры Ductile iron fittings with |
ГОСТ Взамен |
Постановлением Государственного комитета стандартов Совета Министров СССР от 14.11.75 № 2901 дата введения установлена
01.01.77
Ограничение срока действия снято по протоколу Межгосударственного Совета по стандартизации, метрологии и сертификации (ИУС 2-93)
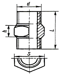
1. Основные размеры ниппелей должны соответствовать указанным на чертеже и в таблице.

Примечание. Чертеж не определяет конструкцию ниппеля.
Размеры в мм
|
Условный проход Dу |
Резьба d |
S |
L |
h |
Масса без покрытия, кг, не более* |
|
8 |
G 1/4 - B |
17 |
36 |
7 |
0,029 |
|
10 |
G 3/8 - B |
19 |
38 |
7 |
0,035 |
|
15 |
G 1/2 - B |
24 |
44 |
7 |
0,065 |
|
20 |
G 3/4 - B |
30 |
47 |
8 |
0,090 |
|
25 |
G 1 - B |
36 |
53 |
8 |
0,140 |
|
32 |
G 11/4 - В |
46 |
57 |
9 |
0,209 |
|
40 |
G 11/2 - B |
50 |
59 |
9 |
0,210 |
|
50 |
G 2 - B |
65 |
68 |
10 |
0,406 |
|
(65) |
G 21/2 - В |
80 |
75 |
11 |
0,529 |
|
(80) |
G 3 - B |
95 |
83 |
12 |
0,846 |
* Для справок.
Примечания:
1. Масса оцинкованных соединительных частей не должна превышать массу неоцинкованных более чем на 5 %.
2. Ниппели с Dy, указанными в таблице в скобках, применять не рекомендуется.
Примеры условных обозначений
Двойного ниппеля без покрытия с D 40 мм:
Ниппель 40 ГОСТ 8958-75
то же, с цинковым покрытием:
Ниппель Ц-40 ГОСТ 8958-75
(Измененная редакция, Изм. № 1).
2. Конструктивные размеры и технические требования - по ГОСТ 8944-75.
3. Отклонения размера S - по ГОСТ 6424-73.