Нормативные документы размещены исключительно с целью ознакомления учащихся ВУЗов, техникумов и училищ.
Объявления:

ГОСТ 5066-91
(ИСО 3013-74)

МЕЖГОСУДАРСТВЕННЫЙ СТАНДАРТ

ТОПЛИВА МОТОРНЫЕ

МЕТОДЫ ОПРЕДЕЛЕНИЯ ТЕМПЕРАТУРЫ ПОМУТНЕНИЯ,
НАЧАЛА КРИСТАЛЛИЗАЦИИ И КРИСТАЛЛИЗАЦИИ

ИПК ИЗДАТЕЛЬСТВО СТАНДАРТОВ

Москва

МЕЖГОСУДАРСТВЕННЫЙ СТАНДАРТ

ТОПЛИВА МОТОРНЫЕ

Методы определения температуры помутнения, начала кристаллизации и кристаллизации

Motor fuels. Methods for determination of cloud, chilling and freezing points

ГОСТ
5066-91

(ИСО 3013-74)

Дата введения 01.01.93

Настоящий стандарт распространяется на авиационные бензины, реактивные и дизельные топлива и устанавливает два метода:

А - определение температуры начала кристаллизации (точка кристаллизации) и кристаллизации (точка замерзания);

Б - определение температуры помутнения и начала кристаллизации.

Сущность методов состоит в охлаждении пробы топлива и определении температуры помутнения, появления первых кристаллов, исчезновения кристаллов углеводородов.

1. МЕТОД ОТБОРА ПРОБ

1.1. Отбор и подготовка проб - по ГОСТ 2517.

2. ОПРЕДЕЛЕНИЕ ТЕМПЕРАТУРЫ НАЧАЛА КРИСТАЛЛИЗАЦИИ И КРИСТАЛЛИЗАЦИИ (МЕТОД А)

2.1. Аппаратура и реактивы

Аппаратура и реактивы, указанные в приложении, разд. 3.

Термометр ТИН-8 по ГОСТ 400 или аналогичный с ценой деления не более 0,5 °С.

Жидкости охлаждающие: спирт этиловый ректификованный технический по ГОСТ 18300 или ацетон технический по ГОСТ 2603 с твердой углекислотой, или жидкий азот по ГОСТ 9293, или жидкий воздух.

Натрий сернокислый по ГОСТ 6053.

2.2. Проведение испытания по приложению, разд. 4.

Сосуд с пробой помещают в охлаждающую жидкость в соответствии с п. 4.2 приложения, в процессе охлаждения пробы температуру охлаждающей смеси следует поддерживать на 20 - 25 °С ниже температуры пробы.

Точность метода - по приложению, разд. 5 - 6.

3. ОПРЕДЕЛЕНИЕ ТЕМПЕРАТУРЫ ПОМУТНЕНИЯ И НАЧАЛА КРИСТАЛЛИЗАЦИИ (МЕТОД Б)

3.1. Аппаратура и реактивы

3.1.1. Пробирки стеклянные с двойными стенками (черт. 1) внутренним диаметром 25 - 33 мм, наружным диаметром 35 - 43 мм, остальные размеры - по черт. 1. На внутренней стенке пробирки должна быть кольцевая метка на высоте 40 мм от дна.

Боковые отростки пробирки могут быть запаяны или открыты. В последнем случае для предупреждения появления росы на стенках пробирки на дно наружной пробирки наливают 0,5 - 1,0 см3 серной кислоты.

3.1.2. Мешалки ручные или механические из нержавеющей стали, алюминия или стекла (см. черт. 1). Каждая мешалка должна иметь выступ, не позволяющий нижней части мешалки подниматься выше уровня топлива.

3.1.3. Сосуд цилиндрический для охлаждающей смеси высотой не менее 200 мм, диаметром не менее 120 мм. Сосуд покрыт слоем тепловой изоляции. Крышка сосуда (деревянная или из пенопласта) снабжена отверстиями для пробирки с двойными стенками, термометра и подачи твердой углекислоты. В качестве сосуда для охладительной смеси рекомендуется применять сосуд-термос соответствующих размеров, который вставляют в фарфоровый стакан с ватой или в специальную деревянную подставку.

3.1.4. Термометры ТН-6 по ТУ 92-887.019 и ТН-8 по ГОСТ 400 или аналогичные с ценой деления не более 1 °С, обеспечивающие измерение заданной температуры.

3.1.5. Термометр жидкостный низкоградусный любого типа с градуировкой шкалы от минус 80 °С (для измерения температуры охладительной смеси).

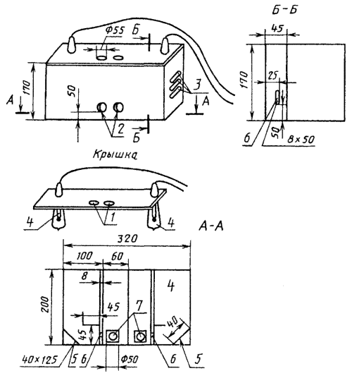
3.1.6. Прибор с зеркальным отражением света (черт. 2) для лучшего наблюдения помутнения и появления кристаллов в топливе. Прибор представляет собой металлический или деревянный с огнестойким покрытием прямоугольный ящик, разделенный глухой перегородкой пополам на два отделения одинакового устройства. Каждое отделение, в свою очередь, разделяется на два отсека по всей высоте перегородкой с отверстием - щелью для прохождения отраженного света и выступом, расположенным перпендикулярно к ней. Ящик снабжен крышкой с двумя вмонтированными электролампами мощностью 100 - 150 Вт, которые при закрывании крышки располагают в крайних отсеках, и с двумя отверстиями для опускания пробирок с испытуемым топливом в средние отсеки ящика. Передняя стенка ящика имеет два отверстия для наблюдения за испытуемым топливом.

Пробирка с двойными стенками и мешалкой

1 - термометр; 2 - мешалка; 3 - корковая пробка; 4 - пробирка; 5 - кольцевая метка

Черт. 1

Общий вид аппарата с зеркальным отражением света

1 - отверстия для пробирок; 2- отверстия для наблюдения; 3 - вентиляционные щели; 4 - электролампы; 5 - зеркала; 6 - щели для прохождения света; 7 - подставки с выемкой для установки пробирок

Черт. 2

Наружная передняя стенка ящика, внутренняя сторона крышки и внутренние части средних и крайних отсеков до выступа (где расположены зеркала) окрашены в черный цвет, а внутренняя часть крайних отсеков после выступа (где расположены лампы) - в белый цвет. Перегородки, разделяющие каждое отделение на отсеки, имеют теплоизоляционную прокладку. Боковые и задняя стенки ящика имеют вентиляционные щели. На дно ящика устанавливают деревянные подставки с выемками для придания устойчивости пробиркам. Отверстия-щели прикрывают матовыми стеклами.

3.1.7. Установка типа ЛТЗ по ТУ 25-05.2104.

3.1.8. Смесь охлаждающая, в качестве которой применяют спирт этиловый ректификованный технический по ГОСТ 18300, или спирт этиловый сырец по ГОСТ 131, или любая другая жидкость, обеспечивающая в смеси с твердой углекислотой, жидким азотом по ГОСТ 9293 или жидким воздухом заданную температуру охлаждения.

При разногласиях в оценке качества моторного топлива, а также при определении температуры кристаллизации топлив для реактивных двигателей в качестве охладительной смеси применяется только этиловый спирт и твердая углекислота.

3.1.9. Натрий сернокислый по ГОСТ 6053.

3.1.10. Кальций хлористый обезвоженный по ТУ 6-09-4711.

3.1.11. Кислота серная по ГОСТ 4204.

3.1.12. Бумага фильтровальная по ГОСТ 12026.

3.1.13. Баня водяная.

Примечание. Разрешается применять полуавтоматические и автоматические приборы, обеспечивающие получение результатов с точностью не ниже установленной в стандарте.

3.2. Подготовка к испытанию

3.2.1. Пробу необезвоженного испытуемого топлива хранят в бутылке, тщательно закупоренной пробкой. Перед испытанием температура топлива должна быть 18 - 20 °С.

Топливо тщательно перемешивают в бутылке встряхиванием. При необходимости топливо перед испытанием профильтровывают через сухой фильтр, а при наличии воды сначала обезвоживают, взбалтывая в течение 10 - 15 мин со свежепрокаленным и измельченным сульфатом натрия или с зерненным хлористым кальцием, дают хорошо отстояться и затем фильтруют через сухой фильтр.

3.2.2. Для испытания подготавливают две чистые сухие пробирки с двойными стенками.

Первая пробирка предназначена для испытания топлива в охлаждающей смеси. Если боковые отростки этой пробирки не запаяны, то на дно наружной части пробирки наливают 0,5 - 1 см3 серной кислоты и плотно закрывают отверстия отростков. Во внутреннюю часть пробирки наливают испытуемое топливо, подготовленное по п. 3.2.1, до высоты метки.

Во внутреннюю часть второй пробирки также наливают испытуемое топливо до высоты метки.

3.2.3. Каждую из пробирок закрывают корковой пробкой с термометром и мешалкой. Термометр вставляют так, чтобы его ртутный резервуар находился в пробирке на расстоянии 15 мм от дна и на равном расстоянии от стенок.

Вторую пробирку (с термометром и мешалкой) вставляют в качестве прозрачного эталона в прибор с зеркальным отражением света или при наличии хорошего проходящего света - в штатив для пробирок.

3.2.4. В сосуд для охлаждающей смеси опускают термометр, наливают спирт и охлаждают его добавлением углекислоты. Первую пробирку с испытуемым образцом вставляют в охлаждающий сосуд через центральное отверстие в его крышке.

Уровень налитой в сосуд охлаждающей смеси должен быть на 30 - 40 мм выше уровня топлива в пробирке.

Температуру охлаждающей смеси понижают, постепенно добавляя к ней углекислоту так, чтобы температура смеси постоянно была на (15 ± 2) °С ниже температуры налитого в пробирку топлива.

3.3. Проведение испытания

3.3.1. Определение температуры помутнения без обезвоживания топлива

3.3.1.1. Топливо во время охлаждения перемешивают ручной или механической мешалкой со скоростью от 60 до 200 движений (одно движение - спуск мешалки до дна и поднятие до уровня топлива) в минуту. При ручном перемешивании непрерывность движений должна составлять не менее 20 с и отдых не более 15 с.

За 5 °С до ожидаемой температуры помутнения пробирку вынимают из бани, быстро опускают в стакан со спиртом, а затем вставляют в прибор с зеркальным отражением света, одновременно включая в нем лампы, и наблюдают сквозь смотровые отверстия в передней стенке ящика состояние топлива по сравнению с прозрачным эталоном. Продолжительность операции наблюдения помутнения испытуемого топлива от начала извлечения пробирки из охладительной смеси до погружения ее обратно в смесь должна быть не более 12 с. После каждого наблюдения выключают лампы.

При наличии хорошего проходящего света пробирку с испытуемым топливом устанавливают вместо прибора с зеркальным отражением света в штатив для пробирок - рядом с прозрачным эталоном.

3.3.1.2. Если топливо по сравнению с прозрачным эталоном не изменилось (легкая опалесценция - слегка матовый оттенок, не увеличивающийся при дальнейшем понижении температуры, во внимание не принимается), пробирку снова опускают в баню и дальнейшее наблюдение проводят через каждый градус. Сравнительные наблюдения с прозрачным эталоном проводят до тех пор, пока топливо не станет отличаться от эталона, т. е. когда в нем появится муть.

Температуру, при которой в испытуемом топливе наблюдается появление мути, принимают за температуру помутнения данного образца топлива.

3.3.1.3. Если требуется только проверить, соответствует ли продукт по температуре помутнения норме, установленной стандартом на него, то проверяют, остается ли топливо прозрачным после его испытания по пп. 3.2.2 - 3.3.1 при температуре на 1 °С выше температуры, установленной стандартом на испытуемое топливо, и при температуре, установленной этим стандартом.

3.3.2. Определение температуры начала кристаллизации без обезвоживания топлива

3.3.2.1. После определения температуры помутнения испытуемое топливо продолжают охлаждать, поддерживая тот же перепад температуры между температурой охлаждающей смеси и температурой топлива в пробирке. Во время охлаждения топливо продолжают перемешивать. За 5 °С до ожидаемой температуры начала кристаллизации пробирку вынимают из бани, быстро опускают в стакан со спиртом, затем устанавливают в прибор с зеркальным отражением света или в штатив для пробирок и наблюдают состояние испытуемого топлива.

Если кристаллов в топливе не появилось, пробирку снова опускают в баню и дальнейшее наблюдение проводят через каждый градус, соблюдая продолжительность единичного наблюдения не более 12 с.

3.3.2.2. За температуру начала кристаллизации принимают максимальную температуру, которую показывает термометр при появлении в топливе первых кристаллов, видимых невооруженным глазом.

3.3.3. При определении температуры помутнения и начала кристаллизации опыт проводят два раза. Для второго опыта из той же бутылки (сохраняющейся в период между первым и вторым определениями в одинаковых температурных условиях) отбирают новый образец испытуемого топлива в предварительно вымытую и высушенную пробирку.

3.3.4. Определение температуры помутнения с обезвоживанием топлива (для дизельных топлив)

3.3.4.1. Пробирку с испытуемым топливом и термометром, подготовленными в соответствии с пп. 3.2.1 - 3.2.3, помещают в водяную баню с температурой 80 - 100 °С и выдерживают до тех пор, пока топливо не примет температуру (50 ± 1) °С.

3.3.4.2. В сосуд для охлаждающей смеси опускают термометр, наливают спирт и охлаждают его добавлением твердой углекислоты так, чтобы температура охлаждающей смеси была на 10 °С ниже намеченной температуры помутнения испытуемого топлива.

Уровень налитой в сосуд охладительной смеси должен быть на 30 - 40 мм выше уровня топлива в пробирке.

3.3.4.3. Пробирку с испытуемым топливом вынимают из водяной бани, охлаждают до температуры 30 - 40 °С, а затем помещают в сосуд с охлаждающей смесью.

Температуру охлаждающей смеси в течение всего времени охлаждения поддерживают с точностью ±2 °С.

За 5 °С до ожидаемой температуры помутнения пробирку вынимают из охлаждающей смеси, быстро протирают ее снаружи спиртом и далее проводят наблюдение помутнения испытуемого топлива так же, как в п. 3.3.1.

3.3.4.4. Проводят два определения. Для второго определения берут новый образец испытуемого топлива и наливают в предварительно вымытую и высушенную пробирку.

3.4. Точность метода

3.4.1. За результат испытания принимают среднее арифметическое результатов двух параллельных определений. Результат округляют до целого числа.

3.4.2. Повторяемость

Два результата определений, полученные одним исполнителем в одной лаборатории, признаются достоверными (при 95 %-ном уровне доверительной вероятности), если расхождение между ними не превышает 1,0 °С.

3.4.3. Воспроизводимость

Два результата испытаний, полученные в двух разных лабораториях, признаются достоверными (при 95 %-ном уровне доверительной вероятности), если расхождение между ними не превышает 3,0 °С.

ПРИЛОЖЕНИЕ

Обязательное

МЕТОД ОПРЕДЕЛЕНИЯ ТОЧКИ ЗАМЕРЗАНИЯ АВИАЦИОННЫХ ТОПЛИВ (ИСО 3013)

1. Назначение и область применения

Настоящий международный стандарт устанавливает метод обнаружения отдельных твердых частиц в авиационных топливах для поршневых и турбинных двигателей при любой температуре во время полета или на земле.

2. Определения

2.1. Точка замерзания - температура, при которой образовавшиеся при охлаждении кристаллы углеводородов исчезают при повышении температуры топлива.

2.2. Точка кристаллизации - температура, при которой при охлаждении топлива появляются первые кристаллы углеводорода.

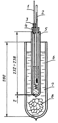
3. Аппаратура (см. черт. 3)

3.1. Сосуд для пробы - сосуд с двойными непосеребренными стенками типа сосуда Дьюара, образующий внутреннюю пробирку (наружный диаметр 22 мм, внутренний диаметр 18 мм) для пробы и наружную стеклянную пробирку (наружный диаметр 30 мм, внутренний диаметр 26 мм), пространство между которыми заполнено сухим азотом или воздухом при атмосферном давлении. Ввод сосуда для пробы закрывают пробкой со вставленным в нее термометром и уплотнением, через которое проходит мешалка.

Прибор для определения точки замерзания авиационных топлив

1 - мешалка; 2 - термометр; 3 - уплотнение; 4 - пробка; 5 - сосуд для пробы; 6 - сосуд Дьюара внутренним диаметром 70 мм, 7 - охлаждающее средство, 8 - твердая углекислота

Черт. 3

Медное уплотнение для мешалки

1 - накатка; 2 - резьба

Черт. 4

3.2. Уплотнение, состоящее из медной трубки, вставленной в пробку (черт. 4); пространство между медной трубкой и мешалкой заполнено абсорбирующей ватой. Уплотнение необходимо для предотвращения конденсации влаги из окружающей среды в пробирке для пробы при низких температурах испытания (см. также п. 3.3).

3.3. Втулки влагонепроницаемые (черт. 5 и 6), используемые вместо уплотнения для предотвращения конденсации влаги (п. 3.2).

Втулка типа А

Черт. 5

Примечание. Втулка из боросиликатного стекла помещена у С в пробку с двумя отверстиями, которая поддерживает термометр. Мешалка проходит через трубку СВ и выступает за пределы А. Это приспособление присоединяют к пробирке для определения точки замерзания. Перед погружением пробирки в баню для охлаждения втулку продувают сухим воздухом или азотом, вводимым в D и проходящим в А. Воздух полностью высушивается, проходя через последовательно соединенные U-образные трубки, одна из которых наполнена обезвоживающим средством, таким как безводный сернокислый кальций или силикагель, а другая - стеклянными шариками, покрытыми фосфорным ангидридом. Воздух проходит через втулку непрерывно в течение всего определения. Предпочтительным является использование азота с низким содержанием влаги.

Втулка типа В

1 - набивка из стекловолокна; 2 - обезвоживающий реагент

Черт. 6

Примечание. Втулку из боросиликатного стекла наполняют не ниже чем на 5 мм от конца В трубки ВС обезвоживающим средством, таким как безводный сернокислый кальций или силикагель, проходящий через сито с размером отверстий 1,7 мм. Затем с установленной мешалкой насадку из стеклянной ваты, заполненную таким же обезвоживающим средством, плотно запрессовывают над соединением до А. Набивку из стеклянной ваты следует заменять после каждых трех или четырех определений.

3.4. Мешалка, изготовленная из медной проволоки диаметром 1,6 мм, изогнутая у основания винтовая трехпетельная спираль.

3.5. Сосуд Дьюара, непосеребренный, с минимальными размерами, указанными на черт. 3. Вместимость сосуда должна быть достаточной для требуемого объема охлаждающей жидкости и необходимой глубины погружения сосуда с пробой.

3.6. Термометр, удовлетворяющий следующим техническим требованиям:

Диапазон шкалы, °С                                                                                        От -80 до +20

Погружение                                                                                                      Полное

Цена деления, °С                                                                                             0,5

Удлиненные линии через каждые, °С                                                           1 или 5

Оцифровка через каждые, °С                                                                          5

Погрешность шкалы, °С, не более                                                                  1

Предел нагревания, допускаемый камерой расширения, °С, не более       45

Общая длина, мм                                                                                             300 ± 10

Диаметр столбика, мм                                                                                     5,5 - 8,0

Длина резервуара, мм                                                                                      8 - 16

Диаметр резервуара, мм, не более                                                                 5,5 - 8,0

Форма резервуара                                                                                            Цилиндрическая

Длина градуированной части, мм                                                                  170 - 210

Расстояние от дна резервуара до деления 0 °С, мм, не более                     220

Верхний конец термометра                                                                            Ровный или

кольцевой

Примечания:

1. В качестве термометрической жидкости применяют толуол или другие соответствующие жидкости, окрашенные в красный цвет с постоянным оттенком. Наполнение жидкостью должно проводиться под давлением газа.

2. Погрешность термометра следует проверять в соответствии с ГОСТ 8.279. В показания термометра следует вводить поправку.

4. Проведение испытания

4.1. В чистый сухой сосуд для пробы помещают 25 см3 топлива. Сосуд плотно закрывают пробкой, поддерживающей мешалку и термометр, и регулируют положение термометра так, чтобы его шарик располагался в центре пробы топлива. Пропускают одну каплю спирта вниз по мешалке для увлажнения уплотнения и сжимают уплотнение как можно сильнее, обеспечивая плавное перемещение мешалки без применения чрезмерного усилия.

4.2. Сосуд с пробой погружают как можно глубже в сосуд Дьюара с охлаждающей жидкостью (см. примечание). В процессе испытания добавляют твердую углекислоту для поддержания уровня охлаждающей жидкости в сосуде Дьюара выше уровня испытываемой пробы.

Примечание. Можно использовать любую жидкость, охлаждаемую твердой углекислотой. Наиболее подходящими являются ацетон и спирт. Для охлаждения можно использовать жидкий азот, а также холодильные установки.

4.3. Топливо энергично и непрерывно перемешивают, за исключением момента наблюдения, так чтобы петли мешалки в течение всего времени оставались ниже поверхности топлива (см. примечание 1). Любое помутнение, появляющееся при температуре минус 10 °С и не увеличивающееся с понижением температуры, не принимают во внимание, так как оно является следствием наличия воды (см. примечание 2). Отмечают точку кристаллизации - температуру, при которой появляются кристаллы углеводорода. Вынимают пробирку с пробой из охлаждающего средства и оставляют пробу для медленного нагревания при непрерывном перемешивании. Отмечают точку замерзания - температуру, при которой кристаллы углеводорода полностью исчезают. Если расхождение между показаниями двух температур превышает 3 °С, повторяют охлаждение и нагревание до тех пор, пока расхождение будет меньше 3 °С.

Примечания:

1. Если известна приблизительная точка замерзания, достаточно производить периодическое перемешивание, пока температура находится в пределах 10 °С от предполагаемой точки замерзания, после чего следует начать энергичное перемешивание. Можно использовать механическое перемешивающее устройство.

2. Если при наличии растворенной воды появилось помутнение, препятствующее наблюдению кристаллов углеводорода, то пробу перед испытанием следует просушить над безводным сульфатом натрия.

5. Точность определения

5.1. Сходимость результатов

Расхождение между результатами параллельных определений, выполненных одним и тем же лаборантом, не должно превышать 0,7 °С (при 95 %-ном доверительном уровне).

5.2. Воспроизводимость результатов

Результаты, полученные разными лабораториями, считают недействительными, если они отличаются более чем на 2,6 °С (при 95 %-ном доверительном уровне).

6. Протокол испытания

В протоколе указывают поправку для применяемого термометра (см. п. 3.6, примечание 2). Записывают скорректированную температуру исчезновения кристаллов с точностью до 0,5 °С как точку замерзания и дают ссылку на настоящий международный стандарт.

ИНФОРМАЦИОННЫЕ ДАННЫЕ

1. РАЗРАБОТАН И ВНЕСЕН Министерством нефтеперерабатывающей и нефтехимической промышленности СССР

2. УТВЕРЖДЕН И ВВЕДЕН В ДЕЙСТВИЕ Постановлением Комитета стандартизации и метрологии СССР от 28.12.91 № 2261

Приложение к настоящему стандарту разработано методом прямого применения международного стандарта ИСО 3013-74 «Топливо авиационное. Метод определения точки замерзания» в части метода А

3. Срок первой проверки - 1998 г., периодичность проверки - 5 лет

4. ВЗАМЕН ГОСТ 5066-56

5. ССЫЛОЧНЫЕ НОРМАТИВНО-ТЕХНИЧЕСКИЕ ДОКУМЕНТЫ

Обозначение НТД, на который дана ссылка

Номер пункта, подпункта

ГОСТ 8.279-78

Приложение, 3.6, примечание 2

ГОСТ 131-67

3.1.8

ГОСТ 400-80

2.1, 3.1.4

ГОСТ 2517-85

1.1

ГОСТ 2603-79

2.1

ГОСТ 4204-77

3.1.11

ГОСТ 6053-77

2.1, 3.1.9

ГОСТ 9293-74

2.1, 3.1.8

ГОСТ 12026-76

3.1.12

ГОСТ 18300-87

2.1, 3.1.8

ТУ 92-887.019-83

3.1.4

ТУ 6-09-4711-81

3.1.10

6. ПЕРЕИЗДАНИЕ. Июль 2001 г.

СОДЕРЖАНИЕ

 

1. МЕТОД ОТБОРА ПРОБ. 1

2. ОПРЕДЕЛЕНИЕ ТЕМПЕРАТУРЫ НАЧАЛА КРИСТАЛЛИЗАЦИИ И КРИСТАЛЛИЗАЦИИ (МЕТОД А) 1

3. ОПРЕДЕЛЕНИЕ ТЕМПЕРАТУРЫ ПОМУТНЕНИЯ И НАЧАЛА КРИСТАЛЛИЗАЦИИ (МЕТОД Б) 1

ПРИЛОЖЕНИЕ.. 4

МЕТОД ОПРЕДЕЛЕНИЯ ТОЧКИ ЗАМЕРЗАНИЯ АВИАЦИОННЫХ ТОПЛИВ (ИСО 3013) 4

 

 

2008-2013. ГОСТы, СНиПы, СанПиНы - Нормативные документы - стандарты.