МЕЖГОСУДАРСТВЕННЫЙ СТАНДАРТ
|
ГАЙКИ ШЕСТИГРАННЫЕ ПРОРЕЗНЫЕ И КОРОНЧАТЫЕ НИЗКИЕ КЛАССА ТОЧНОСТИ В |
ГОСТ |
|
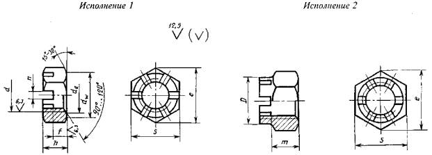
Конструкция и размеры |
|
|
Hexagon thin slotted and castle nuts, accuracy class B. Construction and dimensions |
Дата введения 01.01.74
Настоящий стандарт распространяется на низкие прорезные и корончатые шестигранные гайки класса точности В с диаметром резьбы от 6 до 48 мм.
Стандарт полностью соответствует СТ СЭВ 2663-89.
(Измененная редакция, Изм. № 2).
1. Конструкция и размеры гаек должны соответствовать указанным на чертеже и в таблице.

Таблица 1
мм
|
Номинальный диаметр резьбы d |
6 |
8 |
10 |
12 |
(14) |
16 |
(18) |
20 |
(22) |
24 |
(27) |
30 |
(33) |
36 |
(39) |
42 |
48 |
|
|
Шаг резьбы |
крупный |
1,0 |
1,25 |
1,5 |
1,75 |
2,0 |
2,0 |
2,5 |
2,5 |
2,5 |
3,0 |
3,0 |
3,5 |
3,5 |
4,0 |
4,0 |
4,5 |
5,0 |
|
мелкий |
- |
1,0 |
1,25 |
1,25 |
1,5 |
1,5 |
1,5 |
1,5 |
1,5 |
2,0 |
2,0 |
2,0 |
2,0 |
3,0 |
3,0 |
3,0 |
3,0 |
|
|
Размер «под ключ» S |
10 |
13 |
16 |
18 |
21 |
24 |
27 |
30 |
34 |
36 |
41 |
46 |
50 |
55 |
60 |
65 |
75 |
|
|
Высота h |
6 |
7 |
8 |
10 |
11 |
12 |
13 |
13 |
15 |
15 |
17 |
18 |
20 |
20 |
22 |
23 |
25 |
|
|
Расстояние от опорной поверхности до основания прорези f и коронки т |
3,5 |
4,0 |
5,0 |
6,0 |
7,0 |
7,0 |
8,0 |
8,0 |
9 |
9 |
11 |
11 |
13 |
13 |
13 |
14 |
16 |
|
|
dw, не менее |
9,0 |
11,7 |
14,6 |
16,6 |
19,6 |
22,5 |
25,3 |
27,7 |
31,7 |
33,2 |
38,3 |
42,7 |
46,6 |
51,1 |
55,9 |
59,9 |
69,4 |
|
|
Диаметр описанной окружности e, не менее |
10,9 |
14,2 |
17,6 |
19,9 |
22,8 |
26,2 |
29,6 |
33,0 |
37,3 |
39,6 |
45,2 |
50,9 |
55,4 |
60,8 |
66,5 |
71,3 |
82,6 |
|
|
Диаметр фаски da |
не менее |
6 |
8 |
10 |
12 |
14 |
16 |
18 |
20 |
22 |
24 |
27 |
30 |
33 |
36 |
39 |
42 |
48 |
|
не более |
6,75 |
8,75 |
10,8 |
13,0 |
15,1 |
17,3 |
19,4 |
21,6 |
23,8 |
25,9 |
29,2 |
32,4 |
35,6 |
38,9 |
42,2 |
45,4 |
51,8 |
|
|
Диаметр коронки D |
- |
- |
- |
16 |
19 |
22 |
25 |
28 |
32 |
34 |
38 |
42 |
46 |
50 |
55 |
58 |
65 |
|
|
Число прорезей |
6 |
8 |
||||||||||||||||
|
Ширина прорези n |
2,0 |
2,5 |
2,8 |
3,5 |
4,5 |
5,5 |
7,0 |
9,0 |
||||||||||
|
Размер шплинта (рекомендуемый) по ГОСТ 397 |
Исполнение 1 |
1,6×16 |
2×20 |
2,5×25 |
3,2×32 |
4×36 |
4×40 |
5×45 |
5×50 |
6,3×63 |
6,3×71 |
8×80 |
8×90 |
|||||
|
Исполнение 2 |
- |
- |
- |
3,2×25 |
4×32 |
4×36 |
5×40 |
5×45 |
6,3×50 |
6,3×63 |
8×71 |
8×80 |
||||||
Примечания:
1. Размеры, заключенные в скобки, применять не рекомендуется.
2. Для изделий, спроектированных до 01.01.91, допускается применять гайки с размерами, указанными в приложении 2.
Пример условного обозначения гайки исполнения 1, диаметром резьбы d = 12 мм, с крупным шагом резьбы с полем допуска 6Н, класса прочности 04 без покрытия:
Гайка М12 - 6Н.04 ГОСТ 5919-73
То же, исполнения 2, с мелким шагом резьбы с полем допуска 6Н, с покрытием 01 толщиной 9 мкм:
Гайка 2М12×1,25 - 6Н.04.019 ГОСТ 5919-73
(Измененная редакция, Изм. № 1, 2, 3, 4).
(Измененная редакция, Изм. № 3).
3. Допускается выполнение фаски со стороны прорези или коронки.
3а. Форма дна прорези может быть плоской, скругленной или с фаской.
(Введен дополнительно, Изм. № 2).
4. Технические требования - по ГОСТ 1759.0.
5. Теоретическая масса гаек указана в приложении 1.
Справочное
Масса стальных гаек с крупным шагом резьбы
Таблица 2
|
Номинальный диаметр резьбы d, мм |
Теоретическая масса 1000 шт. гаек, кг |
|
|
Исполнение 1 |
Исполнение 2 |
|
|
6 |
2,473 |
- |
|
8 |
4,789 |
- |
|
10 |
9,055 |
- |
|
12 |
13,129 |
11,096 |
|
14 |
20,186 |
16,940 |
|
16 |
26,078 |
22,490 |
|
18 |
37,303 |
32,850 |
|
20 |
46,315 |
40,960 |
|
22 |
66,578 |
59,630 |
|
24 |
76,349 |
67,810 |
|
27 |
116,110 |
103,260 |
|
30 |
152,560 |
132,570 |
|
33 |
200,715 |
175,525 |
|
36 |
248,870 |
218,480 |
|
39 |
313,540 |
271,320 |
|
42 |
378,210 |
324,160 |
|
48 |
570,480 |
486,140 |
ПРИЛОЖЕНИЕ 1. (Измененная редакция, Изм. № 4).
Справочное
Таблица 3
мм
|
Номинальный диаметр резьбы d |
10 |
12 |
14 |
22 |
|
Размер «под ключ» S |
17 |
19 |
22 |
32 |
|
Диаметр описанной окружности e, не менее |
18,7 |
20,9 |
23,9 |
35,0 |
|
dw, не менее |
15,5 |
17,2 |
20,1 |
29,5 |
ПРИЛОЖЕНИЕ 2. (Введено дополнительно, Изм. № 4).
ИНФОРМАЦИОННЫЕ ДАННЫЕ
1. РАЗРАБОТАН И ВНЕСЕН Государственным комитетом СССР но стандартам
2. УТВЕРЖДЕН И ВВЕДЕН В ДЕЙСТВИЕ Постановлением Государственного комитета стандартов Совета Министров СССР от 23.01.73 № 141
3. Стандарт полностью соответствует СТ СЭВ 2663-89
4. ВЗАМЕН ГОСТ 5919-62
5. ССЫЛОЧНЫЕ НОРМАТИВНО-ТЕХНИЧЕСКИЕ ДОКУМЕНТЫ
|
Обозначение НТД, па который дана ссылка |
Номер пункта |
|
ГОСТ 397-79 |
|
|
ГОСТ 1759.0-87 |
|
|
ГОСТ 24705-2004 |
6. Ограничение срока действия снято по протоколу № 4-93 Межгосударственного совета по стандартизации, метрологии и сертификации (ИУС 4-94)
7. ИЗДАНИЕ 2006 г. с Изменениями № 1, 2, 3, 4, 5, утвержденными в сентябре 1979 г., декабре 1981 г., октябре 1984 г., марте 1989 г., марте 1990 г. (ИУС 10-79, 2-82, 1-85, 6-89, 7-90)