ГОСТ 6563-75
МЕЖГОСУДАРСТВЕННЫЙ СТАНДАРТ
ИЗДЕЛИЯ
ТЕХНИЧЕСКИЕ
ИЗ БЛАГОРОДНЫХ МЕТАЛЛОВ
И СПЛАВОВ
ТЕХНИЧЕСКИЕ УСЛОВИЯ
|
|
Москва Стандартинформ 2009 |
Содержание
МЕЖГОСУДАРСТВЕННЫЙ СТАНДАРТ
|
ИЗДЕЛИЯ ТЕХНИЧЕСКИЕ ИЗ
БЛАГОРОДНЫХ Технические условия Technical articles made of noble metals and their alloys. Specifications |
ГОСТ |
Дата введения 01.01.77
Настоящий стандарт распространяется на технические изделия из благородных металлов и сплавов, в том числе лабораторную посуду и принадлежности, применяемые в различных отраслях промышленности и науки.
(Измененная редакция, Изм. № 3).
1.1. Технические изделия по форме, размерам и предельным отклонениям должны соответствовать указанным на черт. 1 - 93 и в табл. 1 - 52.
Неуказанные предельные отклонения размеров
должны быть ![]()
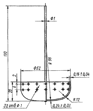
Тигли высокие из платины
Изделие № 100

Черт. 1
Таблица 1
|
Номера изделий |
Вместимость, см3 |
D |
d |
H |
δ0 |
δ |
Масса, г |
|
мм |
|||||||
|
100-1 |
4 |
18 |
12 |
20 |
0,22 ± 0,02 |
0,14 ± 0,03 |
3,4 |
|
100-2 |
6 |
20 |
13 |
25 |
0,24 ± 0,02 |
0,15 ± 0,03 |
5,4 |
|
100-3 |
9 |
24 |
16 |
26 |
0,27 ± 0,02 |
0,17 ± 0,03 |
8,0 |
|
100-4 |
12 |
26 |
18 |
30 |
0,28 ± 0,02 |
0,19 ± 0,04 |
30,5 |
|
100-5 |
15 |
28 |
19 |
33 |
0,30 ± 0,02 |
0,21 ± 0,04 |
13,0 |
|
100-6 |
18 |
30 |
20 |
36 |
0,35 ± 0,03 |
0,24 ± 0,05 |
18,0 |
|
100-7 |
25 |
32 |
21 |
40 |
0,37 ± 0,03 |
0,26 ± 0,05 |
24,0 |
|
100-8 |
32 |
35 |
24 |
42 |
0,40 ± 0,03 |
0,28 ± 0,05 |
26,4 |
|
100-9 |
40 |
38 |
26 |
45 |
0,45 ± 0,03 |
0,31 ± 0,05 |
36,0 |
|
100-10 |
54 |
42 |
28 |
50 |
0,45 ± 0,03 |
0,31 ± 0,05 |
44,0 |
|
100-11 |
90 |
50 |
33 |
60 |
0,60 ± 0,03 |
0,52 ± 0,08 |
95,0 |
|
100-12 |
145 |
60 |
40 |
70 |
0,75 ± 0,03 |
0,63 ± 0,10 |
170,0 |
|
100-13 |
310 |
72 |
50 |
100 |
1,0 ± 0,03 |
0,78 ± 0,10 |
365,0 |
Примечание. По требованию потребителя тигли № 100-1-100-8 могут изготовлять из сплавов марок ПлИ-5 или ПлРд-7, а также из платины с утолщенной стенкой, равной 1,5δ и дном, равным 1,5δ0.
Крышки к тиглям высоким из платины
Изделие № 101

Черт. 2
Таблица 2
|
Номера изделий |
D |
d |
h |
K |
δ (пред. откл. ± 0,02) |
Масса, г |
|
мм |
||||||
|
101-1 |
22 |
17 |
2 |
25 |
0,15 |
1,4 |
|
101-2 |
23 |
19 |
2 |
28 |
0,15 |
1,7 |
|
101-3 |
28 |
23 |
2 |
33 |
0,15 |
2,2 |
|
101-4 |
31 |
25 |
2,5 |
36 |
0,15 |
2,6 |
|
101-5 |
33 |
27 |
2,5 |
39 |
0,15 |
3,2 |
|
101-6 |
35 |
29 |
2,5 |
40 |
0,15 |
3,3 |
|
101-7 |
37 |
31 |
2,5 |
43 |
0,15 |
3,8 |
|
101-8 |
40 |
34 |
2,5 |
46 |
0,15 |
4,4 |
|
101-9 |
42 |
37 |
2,5 |
49 |
0,15 |
5,1 |
|
101-10 |
46 |
41 |
2,5 |
53 |
0,15 |
5,9 |
|
101-11 |
55 |
48 |
4 |
63 |
0,2 |
12,6 |
|
101-12 |
65 |
58 |
4 |
74 |
0,2 |
16,3 |
|
101-13 |
78 |
71 |
5 |
87 |
0,25 |
31,4 |
Тигли высокие из серебра
Изделие № 102

Черт. 3
Таблица 3
|
Номера изделий |
Вместимость, см3 |
D |
d |
H |
δ0 |
δ |
Масса, г |
|
мм |
|||||||
|
102-1 |
4 |
18 |
12 |
20 |
0,44 ± 0,03 |
0,27 ± 0,05 |
3,6 |
|
102-2 |
6 |
20 |
13 |
25 |
0,48 ± 0,03 |
0,34 ± 0,05 |
6,0 |
|
102-3 |
9 |
24 |
16 |
26 |
0,54 ± 0,03 |
0,38 ± 0,05 |
8,6 |
|
102-4 |
12 |
26 |
18 |
30 |
0,56 ± 0,03 |
0,38 ± 0,05 |
11,5 |
|
102-5 |
15 |
28 |
19 |
33 |
0,60 ± 0,04 |
0,41 ± 0,05 |
14,0 |
|
102-6 |
18 |
30 |
20 |
36 |
0,68 ± 0,04 |
0,50 ± 0,06 |
18,0 |
|
102-7 |
25 |
33 |
21 |
40 |
0,74 ± 0,04 |
0,57 ± 0,08 |
26,0 |
|
102-8 |
32 |
36 |
24 |
42 |
0,76 ± 0,04 |
0,58 ± 0,08 |
29,0 |
|
102-9 |
40 |
39 |
26 |
45 |
0,88 ± 0,04 |
0,66 ± 0,10 |
39,0 |
|
102-10 |
54 |
43 |
28 |
50 |
0,96 ± 0,04 |
0,68 ± 0,10 |
49,0 |
Крышки к тиглям высоким из серебра
Изделие № 103

Черт. 4
Таблица 4
|
Номера изделий |
D |
d |
h |
K |
Масса, г |
|
мм |
|||||
|
103-1 |
22 |
17 |
2 |
25 |
1,2 |
|
103-2 |
23 |
19 |
2 |
28 |
1,4 |
|
103-3 |
28 |
23 |
2 |
33 |
1,8 |
|
103-4 |
31 |
25 |
2,5 |
36 |
2,3 |
|
103-5 |
33 |
27 |
2,5 |
39 |
2,7 |
|
103-6 |
35 |
29 |
2,5 |
40 |
2,8 |
|
103-7 |
37 |
31 |
2,5 |
43 |
3,2 |
|
103-8 |
40 |
34 |
2,5 |
46 |
3,6 |
|
103-9 |
42 |
37 |
2,5 |
49 |
4,1 |
|
103-10 |
46 |
41 |
2,5 |
53 |
5,1 |
Тигли высокие из золота
Изделие № 104

Черт. 5
Таблица 5
|
Номера изделий |
Вместимость, см3 |
D |
d |
H |
δ0 |
δ |
Масса, г |
|
мм |
|||||||
|
104-1 |
4 |
18 |
12 |
20 |
0,22 ± 0,02 |
0,14 ± 0,03 |
3,1 |
|
104-2 |
6 |
20 |
13 |
25 |
0,24 ± 0,02 |
0,15 ± 0,03 |
4,9 |
|
104-3 |
9 |
24 |
16 |
26 |
0,27 ± 0,02 |
0,17 ± 0,03 |
7,3 |
|
104-4 |
12 |
26 |
18 |
30 |
0,28 ± 0,02 |
0,19 ± 0,04 |
9,6 |
|
104-5 |
15 |
28 |
19 |
33 |
0,30 ± 0,02 |
0,21 ± 0,04 |
12,0 |
|
104-6 |
18 |
30 |
20 |
36 |
0,34 ± 0,03 |
0,24 ± 0,05 |
15,0 |
|
104-7 |
25 |
32 |
21 |
40 |
0,37 ± 0,03 |
0,26 ± 0,05 |
22,0 |
Крышки к тиглям высоким из золота
Изделие № 105

Черт. 6
Таблица 6
|
Номера изделий |
D |
d |
h |
K |
Масса, г |
|
мм |
|||||
|
105-1 |
22 |
17 |
2 |
25 |
1,2 |
|
105-2 |
23 |
19 |
2 |
28 |
1,5 |
|
105-3 |
28 |
23 |
2 |
33 |
2,0 |
|
105-4 |
31 |
25 |
2,5 |
36 |
2,4 |
|
105-5 |
33 |
27 |
2,5 |
39 |
2,9 |
|
105-6 |
35 |
29 |
2,5 |
40 |
3,1 |
|
105-7 |
37 |
31 |
2,5 |
43 |
3,4 |
Тигли высокие из платины с усиленной кромкой (отбортовкой)
Изделие № 106

Черт. 7
Таблица 7
|
Номера изделий |
Вместимость, см3 |
D |
d |
H |
δ0 |
δ |
Масса, г |
|
мм |
|||||||
|
106-1 |
4 |
18 |
12 |
20 |
0,22 ± 0,03 |
0,14 ± 0,03 |
4,0 |
|
106-2 |
6 |
20 |
13 |
25 |
0,24 ± 0,03 |
0,15 ± 0,04 |
6,0 |
|
106-3 |
9 |
24 |
16 |
26 |
0,27 ± 0,03 |
0,17 ± 0,04 |
9,0 |
|
106-4 |
12 |
26 |
18 |
30 |
0,28 ± 0,03 |
0,19 ± 0,04 |
12,0 |
|
106-5 |
15 |
28 |
19 |
33 |
0,30 ± 0,03 |
0,21 ± 0,04 |
15,0 |
|
106-6 |
18 |
30 |
20 |
36 |
0,34 ± 0,03 |
0,24 ± 0,05 |
19,0 |
|
106-7 |
25 |
32 |
21 |
40 |
0,37 ± 0,03 |
0,26 ± 0,05 |
26,0 |
|
106-8 |
32 |
35 |
24 |
42 |
0,40 ± 0,03 |
0,28 ± 0,05 |
30,0 |
|
106-9 |
40 |
38 |
26 |
45 |
0,45 ± 0,03 |
0,31 ± 0,05 |
40,0 |
|
106-10 |
54 |
42 |
28 |
50 |
0,45 ± 0,03 |
0,31 ± 0,06 |
50,0 |
Примечание. По требованию потребителя тигли № 106-1-106-8 могут изготовлять из сплавов марок ПлИ-5 или ПлР-7, а также из платины с утолщенной стенкой, равной 1,5δ и дном, равным 1,5δ0.
Тигли широкие из платины или серебра
Изделие №107

Черт. 8
Таблица 8
|
Номера изделий |
Вместимость, см3 |
D |
d |
H |
δ0 |
δ |
Масса, г |
|
мм |
|||||||
|
Из платины |
|||||||
|
107-1 |
9 |
28 |
14 |
22 |
0,28 ± 0,02 |
0,23 ± 0,04 |
9,0 |
|
107-2 |
20 |
38 |
19 |
28 |
0,37 ± 0,03 |
0,27 ± 0,05 |
20,0 |
|
107-3 |
27 |
42 |
22 |
30 |
0,40 ± 0,03 |
0,29 ± 0,05 |
26,0 |
|
Из серебра |
|||||||
|
107-4 |
9 |
28 |
14 |
22 |
0,56 ± 0,04 |
0,44 ± 0,06 |
9,0 |
|
107-5 |
20 |
38 |
19 |
28 |
0,74 ± 0,04 |
0,54 ± 0,08 |
20,0 |
|
107-6 |
27 |
42 |
22 |
30 |
0,80 ± 0,05 |
0,65 ± 0,08 |
27,0 |
Примечание. Крышки к широким тиглям подбираются из крышек к высоким тиглям:
тиглю № 107-1 соответствует крышка № 101-5 массой 3,2 г;
» № 107-2 » » № 101-9 » 5,1 г;
» № 107-3 » » № 101-10 » 6,0 г;
» № 107-4 » » № 103-5 » 2,7 г;
» № 107-5 » » № 103-9 » 4,1 г;
» № 107-6 » » № 103-10 » 5,2 г.
Микротигли из платины или золота
Изделие № 108

Черт. 9
Таблица 9
|
Номера изделий |
Вместимость, |
D |
d |
H |
Масса, г |
|
мм |
|||||
|
Из платины |
|||||
|
108-1 |
0,3 |
8 |
5 |
8,5 |
0,5 |
|
108-2 |
0,7 |
10 |
6 |
11 |
1,0 |
|
108-3 |
1,2 |
12 |
8 |
14 |
1,5 |
|
108-4 |
2,3 |
15 |
10 |
17 |
2,1 |
|
Из золота |
|||||
|
108-5 |
0,3 |
8 |
5 |
8,5 |
0,5 |
|
108-6 |
0,7 |
10 |
6 |
11 |
0,9 |
|
108-7 |
1,2 |
12 |
8 |
14 |
1,3 |
|
108-8 |
2,3 |
15 |
10 |
17 |
1,9 |
Крышки к микротиглям из платины или золота
Изделие № 109

Черт. 10
Таблица 10
|
Номера изделий |
D |
d |
h |
K |
Масса, г |
|
|
мм |
||||
|
Из платины |
|||||
|
109-1 |
10 |
7 |
1,5 |
9 |
0,3 |
|
109-2 |
13 |
9 |
1,8 |
10 |
0,5 |
|
109-3 |
15 |
11 |
2,0 |
12 |
0,7 |
|
109-4 |
18 |
14 |
2,0 |
15 |
1,0 |
|
Из золота |
|||||
|
109-5 |
10 |
7 |
1,5 |
9 |
0,3 |
|
109-6 |
13 |
9 |
1,8 |
10 |
0,5 |
|
109-7 |
15 |
11 |
2,0 |
12 |
0,6 |
|
109-8 |
18 |
14 |
2,0 |
15 |
0,9 |
Тигли из платины с поддоном и отверстиями в дне
Изделие № 110

Черт. 11
Таблица 11
|
Номера изделий |
D |
D |
H |
h |
δ0 (пред. откл. ±0,03) |
δ (пред. откл. ±0,05) |
Масса, г |
|
мм |
|||||||
|
110-1 |
26 |
18 |
26 |
6 |
0,4 |
0,3 |
19,0 |
|
110-2 |
32 |
18 |
38 |
7 |
0,4 |
0,3 |
26,0 |
Примечание. Тиглю № 110-1 соответствует крышка № 101-4 массой 2,7 г; тиглю № 110-2 соответствует крышка № 101-7 массой 3,8 г.
(Измененная редакция, Изм. № 1, 2).
|
Тигли конические с крышкой из платины |
Тигли конические с отверстиями в дне из платины |
|
|
Изделие № 111 |
Изделие № 112 |
Изделие № 113 |
|
|
|
|
|
Масса 34 г Черт. 12 |
Масса 40 г Черт. 13 |
Масса 28 г. Черт. 14 |
Чашки со сферическим дном из платины или серебра
Изделия № 115 и № 116

Черт. 15
Таблица 12
|
Номера изделий |
Вместимость, см3 |
D |
H |
δ0 |
δ |
Масса, г |
|
мм |
||||||
|
Из платины |
||||||
|
115-1 |
16 |
37 |
20 |
0,20 ± 0,02 |
0,16 ± 0,03 |
8,5 |
|
115-2 |
32 |
47 |
24 |
0,24 ± 0,02 |
0,17 ± 0,04 |
16,0 |
|
115-3 |
63 |
60 |
29 |
0,28 ± 0,02 |
0,19 ± 0,04 |
28,0 |
|
115-4 |
100 |
70 |
34 |
0,30 ± 0,02 |
0,21 ± 0,04 |
43,0 |
|
115-5 |
160 |
80 |
40 |
0,32 ± 0,03 |
0,22 ± 0,05 |
61,0 |
|
115-6 |
225 |
90 |
45 |
0,33 ± 0,03 |
0,24 ± 0,05 |
80,0 |
|
115-7 |
325 |
100 |
52 |
0,34 ± 0,03 |
0,24 ± 0,05 |
105,0 |
|
115-8 |
450 |
110 |
58 |
0,38 ± 0,03 |
0,27 ± 0,05 |
150,0 |
|
115-9 |
550 |
120 |
60 |
0,40 ± 0,03 |
0,27 ± 0,05 |
180,0 |
|
115-10 |
825 |
142 |
70 |
0,40 ± 0,03 |
0,28 ± 0,05 |
255,0 |
|
115-11 |
1200 |
156 |
78 |
0,45 ± 0,03 |
0,30 ± 0,05 |
335,0 |
|
Из серебра |
||||||
|
116-1 |
16 |
37 |
20 |
0,40 ± 0,03 |
0,30 ± 0,05 |
8,5 |
|
116-2 |
32 |
47 |
24 |
0,48 ± 0,03 |
0,32 ± 0,05 |
16,0 |
|
116-3 |
63 |
60 |
29 |
0,56 ± 0,03 |
0,37 ± 0,05 |
29,0 |
|
116-4 |
100 |
70 |
34 |
0,60 ± 0,04 |
0,39 ± 0,06 |
42,0 |
|
116-5 |
160 |
80 |
40 |
0,64 ± 0,04 |
0,44 ± 0,06 |
60,0 |
|
116-6 |
225 |
90 |
45 |
0,66 ± 0,04 |
0,48 ± 0,06 |
82,0 |
|
116-7 |
325 |
100 |
52 |
0,70 ± 0,04 |
0,48 ± 0,06 |
105,0 |
|
116-8 |
450 |
110 |
58 |
0,80 ± 0,04 |
0,53 ± 0,08 |
150,0 |
|
116-9 |
550 |
120 |
60 |
0,82 ± 0,04 |
0,54 ± 0,08 |
175,0 |
|
116-10 |
825 |
142 |
70 |
0,84 ± 0,05 |
0,62 ± 0,10 |
255,0 |
|
116-11 |
1200 |
156 |
78 |
0,90 ± 0,05 |
0,66 ± 0,10 |
335,0 |
Чашки со сферическим дном из платины с усиленной кромкой (отбортовкой)
Изделие № 117

Черт. 16
Таблица 13
|
Номера изделий |
Вместимость, см3 |
D |
H |
δ0 (пред. откл. ±0,03) |
δ |
Масса, г |
|
мм |
||||||
|
117-1 |
16 |
37 |
20 |
0,20 |
0,16 ± 0,04 |
10 |
|
117-2 |
32 |
47 |
24 |
0,24 |
0,17 ± 0,04 |
18 |
|
117-3 |
63 |
60 |
29 |
0,28 |
0,19 ± 0,04 |
32 |
|
117-4 |
100 |
70 |
34 |
0,30 |
0,21 ± 0,04 |
50 |
|
117-5 |
160 |
80 |
40 |
0,32 |
0,22 ± 0,05 |
68 |
|
117-6 |
225 |
90 |
45 |
0,33 |
0,24 ± 0,05 |
88 |
|
117-7 |
325 |
100 |
52 |
0,34 |
0,24 ± 0,06 |
115 |
|
117-8 |
450 |
110 |
58 |
0,38 |
0,27 ± 0,06 |
162 |
|
117-9 |
550 |
120 |
60 |
0,40 |
0,27 ± 0,06 |
194 |
|
117-10 |
825 |
142 |
70 |
0,42 |
0,28 ± 0,07 |
281 |
|
117-11 |
1200 |
156 |
78 |
0,45 |
0,30 ± 0,08 |
365 |
Примечание. По требованию потребителя чашки № 117-1 - 117-8 могут изготовлять из сплавов марок ПлИ-5 или ПлРд-7, а также из платины с утолщенной стенкой, равной 1,5δ и дном 1,5δ0.
Чашки из платины или серебра
Изделия № 118 и № 119

Черт. 17
Таблица 14
|
Номера изделий |
Вместимость, см3 |
D |
H |
δ0 |
δ |
Масса, г |
|
мм |
||||||
|
Из платины |
||||||
|
118-1 |
18 |
40 |
18 |
0,20 ± 0,02 |
0,16 ± 0,03 |
10,0 |
|
118-2 |
34 |
52 |
20 |
0,24 ± 0,02 |
0,18 ± 0,03 |
19,0 |
|
118-3 |
65 |
63 |
25 |
0,26 ± 0,02 |
0,19 ± 0,03 |
32,0 |
|
118-4 |
115 |
75 |
31 |
0,28 ± 0,02 |
0,21 ± 0,03 |
51,0 |
|
118-5 |
200 |
90 |
35 |
0,30 ± 0,02 |
0,21 ± 0,03 |
72,0 |
|
118-6 |
280 |
100 |
41 |
0,30 ± 0,02 |
0,22 ± 0,04 |
88,0 |
|
118-7 |
400 |
115 |
45 |
0,34 ± 0,02 |
0,24 ± 0,04 |
135,0 |
|
118-8 |
550 |
127 |
51 |
0,36 ± 0,02 |
0,25 ± 0,05 |
165,0 |
|
Из серебра |
||||||
|
119-1 |
18 |
40 |
18 |
0,40 ± 0,03 |
0,30 ± 0,05 |
10,0 |
|
119-2 |
34 |
52 |
20 |
0,48 ± 0,03 |
0,36 ± 0,05 |
19,0 |
|
119-3 |
65 |
63 |
25 |
0,56 ± 0,03 |
0,40 ± 0,05 |
31,0 |
|
119-4 |
115 |
75 |
31 |
0,56 ± 0,03 |
0,41 ± 0,05 |
47,0 |
|
119-5 |
200 |
90 |
35 |
0,62 ± 0,03 |
0,45 ± 0,05 |
72,0 |
|
119-6 |
280 |
100 |
41 |
0,65 ± 0,03 |
0,43 ± 0,07 |
90,0 |
|
119-7 |
400 |
115 |
45 |
0,70 ± 0,03 |
0,48 ± 0,08 |
133,0 |
|
119-8 |
550 |
127 |
51 |
0,72 ± 0,03 |
0,48 ± 0,08 |
162,0 |
Чашки из платины с усиленной кромкой (отбортовкой)
Изделие № 120

Черт. 18
Таблица 15
|
Номера изделий |
Вместимость, см3 |
D |
H |
δ0 (пред. откл. ±0,03) |
δ |
Масса, г |
|
мм |
||||||
|
120-1 |
13 |
40 |
18 |
0,20 |
0,16 ± 0,04 |
11,0 |
|
120-2 |
34 |
52 |
20 |
0,24 |
0,18 ± 0,04 |
21,0 |
|
120-3 |
65 |
63 |
25 |
0,26 |
0,19 ± 0,05 |
33,0 |
|
120-4 |
115 |
75 |
31 |
0,28 |
0,21 ± 0,05 |
52,0 |
|
120-5 |
200 |
90 |
35 |
0,30 |
0,21 ± 0,05 |
78,0 |
|
120-6 |
280 |
100 |
41 |
0,30 |
0,22 ± 0,05 |
95,0 |
|
120-7 |
400 |
115 |
45 |
0,34 |
0,24 ± 0,05 |
144,0 |
|
120-8 |
550 |
127 |
51 |
0,36 |
0,24 ± 0,05 |
179,0 |
Примечание. По требованию потребителя чашки № 120-1 - 120-8 могут изготовлять из сплавов марок ПлИ-5 или ПлРд-7, а также из платины с утолщенной стенкой, равной 1,5δ и дном, равным 1,5δ0.
Изделие № 121

Черт. 19
Таблица 16
|
Номера изделий |
Вместимость, см3 |
D |
H |
Масса, г |
|
мм |
||||
|
121-1 |
10 |
35 |
12 |
10,0 |
|
121-2 |
45 |
50 |
23 |
23,0 |
Чашки конические из платины
Изделие № 122

Черт. 20
Таблица 17
|
Номера изделий |
Вместимость, см3 |
D |
d |
H |
Масса, г |
|
мм |
|||||
|
122-1 |
30 |
50 |
45 |
15 |
18,0 |
|
122-2 |
58 |
60 |
54 |
18 |
26,0 |
|
122-3 |
80 |
70 |
61 |
21 |
32,0 |
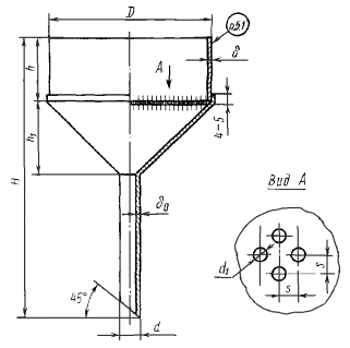
Воронки из платины
Изделие № 123

Черт. 21
Таблица 18
|
Номера изделий |
D |
d |
H |
h |
δ |
δ0 |
Масса, г |
|
мм |
|||||||
|
123-1 |
40 |
4 |
80 |
31 |
0,25 ± 0,04 |
0,35 ± 0,04 |
19,0 |
|
123-2 |
50 |
5 |
100 |
39 |
0,34 ± 0,05 |
0,35 ± 0,04 |
35,0 |
|
123-3 |
60 |
6 |
120 |
47 |
0,39 ± 0,06 |
0,50 ± 0,05 |
58,0 |
|
123-4 |
70 |
7 |
140 |
55 |
0,53 ± 0,06 |
0,50 ± 0,05 |
110,0 |
Воронки с цилиндром из платины
Изделие № 124

Черт. 22
Таблица 19
|
Номера изделий |
D |
H |
h |
δ (пред. откл. ±0,06) |
Масса, г |
|
мм |
|||||
|
124-1 |
60 |
30 |
25 |
0,41 |
113,0 |
|
124-2 |
80 |
40 |
35 |
0,38 |
175,0 |
|
124-3 |
100 |
40 |
45 |
0,36 |
245,0 |
Воронки с цилиндром и решеткой из платины
Изделие № 125

Черт. 23
Таблица 20
|
Номера изделий |
Вместимость, см3 |
D |
h |
h1 |
H |
d |
δ |
δ0 |
s |
d1 |
Масса, г |
|
мм |
|||||||||||
|
125-1 |
55 |
56 |
24 |
25 |
100 |
6 |
0,25 ± 0,04 |
0,35 ± 0,04 |
1,5 |
1,0 |
70,0 |
|
125-2 |
120 |
72 |
30 |
32 |
127 |
8 |
0,29 ± 0,05 |
0,35 ± 0,04 |
1,75 |
1,25 |
125,0 |
|
125-3 |
225 |
92 |
35 |
41 |
156 |
10 |
0,35 ± 0,06 |
0,5 ± 0,05 |
2,0 |
1,5 |
240,0 |
|
125-4 |
450 |
120 |
40 |
54 |
194 |
12 |
0,44 ± 0,08 |
0,5 ± 0,05 |
2,25 |
1,75 |
510,0 |
Стаканы цилиндрические из платины или серебра
Изделие № 126

Черт. 24
Таблица 21
|
Номера изделий |
Вместимость, см3 |
D |
H |
δ0 |
δ |
Масса, г |
|
мм |
||||||
|
Из платины |
||||||
|
126-1 |
100 |
40 |
80 |
0,33 ± 0,03 |
0,28 ± 0,04 |
68,0 |
|
126-2 |
150 |
45 |
96 |
0,40 ± 0,03 |
0,33 ± 0,04 |
110,0 |
|
126-3 |
240 |
55 |
106 |
0,43 ± 0,03 |
0,40 ± 0,04 |
175,0 |
|
126-4 |
480 |
75 |
113 |
0,48 ± 0,03 |
0,44 ± 0,04 |
285,0 |
|
126-5 |
950 |
100 |
125 |
0,60 ± 0,04 |
0,55 ± 0,05 |
560,0 |
|
Из серебра |
||||||
|
126-6 |
100 |
40 |
80 |
0,9 ± 0,03 |
0,77 ± 0,05 |
92,0 |
|
126-7 |
150 |
45 |
96 |
0,9 ± 0,03 |
0,77 ± 0,05 |
125,0 |
|
126-8 |
240 |
55 |
106 |
0,9 ± 0,03 |
0,77 ± 0,05 |
175,0 |
|
126-9 |
480 |
75 |
113 |
1,0 ± 0,04 |
0,83 ± 0,06 |
285,0 |
|
126-10 |
950 |
100 |
125 |
1,0 ± 0,04 |
0,83 ± 0,06 |
425,0 |
Стаканы конические из платины или серебра
Изделие № 127

Черт. 25
Таблица 22
|
Номера изделий |
Вместимость, см3 |
D |
d |
H |
Масса, г |
|
мм |
|||||
|
Из платины |
|||||
|
127-1 |
20 |
32 |
25 |
40 |
135,0 |
|
127-2 |
45 |
40 |
30 |
60 |
235,0 |
|
127-3 |
90 |
48 |
35 |
80 |
365,0 |
|
Из серебра |
|||||
|
127-4 |
20 |
32 |
25 |
40 |
65,0 |
|
127-5 |
45 |
40 |
30 |
60 |
115,0 |
|
127-6 |
90 |
48 |
35 |
80 |
180,0 |
Колбы круглодонные низкогорлые из платины
Изделие № 128

Черт. 26
Таблица 23
|
Номера изделий |
Вместимость, см3 |
D |
d |
d1 |
H |
δ0 (пред. откл. ±0,03) |
δ |
Масса, г |
|
мм |
||||||||
|
128-1 |
30 |
40 |
16 |
19 |
60 |
0,38 |
0,31 ± 0,06 |
43,0 |
|
128-2 |
60 |
50 |
16 |
19 |
75 |
0,40 |
0,32 ± 0,06 |
58,0 |
|
128-3 |
100 |
60 |
18 |
21 |
90 |
0,43 |
0,32 ± 0,06 |
95,0 |
|
128-4 |
200 |
75 |
23 |
26 |
110 |
0,46 |
0,33 ± 0,06 |
155,0 |
|
128-5 |
300 |
86 |
25 |
28 |
128 |
0,55 |
0,37 ± 0,07 |
235,0 |
|
128-6 |
550 |
102 |
28 |
31 |
152 |
0,65 |
0,43 ± 0,1 |
395,0 |
Колбы круглодонные высокогорлые из платины
Изделие № 129

Черт. 27
Таблица 24
|
Номера изделий |
Вместимость, см3 |
D |
d |
d1 |
H |
δ0 (пред. откл. ±0,03) |
δ |
Масса, г |
|
мм |
||||||||
|
129-1 |
30 |
40 |
16 |
19 |
85 |
0,38 |
0,31 ± 0,06 |
52,0 |
|
129-2 |
60 |
50 |
16 |
19 |
110 |
0,40 |
0,32 ± 0,06 |
71,0 |
|
129-3 |
100 |
60 |
18 |
21 |
140 |
0,43 |
0,32 ± 0,06 |
115,0 |
|
129-4 |
200 |
75 |
23 |
26 |
160 |
0,46 |
0,33 ± 0,06 |
180,0 |
|
129-5 |
300 |
86 |
25 |
28 |
190 |
0,55 |
0,37 ± 0,07 |
276,0 |
|
129-6 |
550 |
102 |
28 |
31 |
215 |
0,65 |
0,43 ± 0,1 |
458,0 |
Колбы конические из платины или палладия
Изделие № 130

Черт. 28
Таблица 25
|
Номера изделий |
Вместимость, см3 |
D |
d |
d1 |
d2 |
H |
h |
δ (пред. откл. ±0,05) |
Масса, г |
|
мм |
|||||||||
|
Из платины |
|||||||||
|
130-1 |
45 |
46 |
26 |
21,5 |
19,5 |
70 |
20 |
0,6 |
105,0 |
|
130-2 |
90 |
60 |
26 |
21,5 |
19,5 |
90 |
20 |
0,6 |
165,0 |
|
130-3 |
160 |
70 |
26 |
21,5 |
19,5 |
110 |
20 |
0,6 |
235,0 |
|
130-4 |
280 |
85 |
30 |
25,5 |
22,5 |
134 |
24 |
0,65 |
385,0 |
|
130-5 |
400 |
98 |
30 |
25,5 |
22,5 |
154 |
24 |
0,7 |
515,0 |
|
Из палладия |
|||||||||
|
130-6 |
45 |
46 |
26 |
21,5 |
19,5 |
70 |
20 |
0,6 |
61,0 |
|
130-7 |
90 |
60 |
26 |
21,5 |
19,5 |
90 |
20 |
0,6 |
96,0 |
|
130-8 |
160 |
70 |
26 |
21,5 |
19,5 |
110 |
20 |
0,6 |
136,0 |
|
130-9 |
280 |
85 |
30 |
25,5 |
22,5 |
134 |
24 |
0,65 |
220,0 |
|
130-10 |
400 |
98 |
30 |
25,5 |
22,5 |
154 |
24 |
0,7 |
300,0 |
Пробки к коническим колбам из платины или палладия
Изделие № 130

Черт. 29
Таблица 26
|
Номера изделий |
D |
d |
H |
h |
Масса, г |
|
мм |
|||||
|
Из платины |
|||||
|
130-11 |
25 |
18,2 |
31 |
20 |
33,0 |
|
130-12 |
29 |
21,5 |
35 |
24 |
46,0 |
|
Из палладия |
|||||
|
130-13 |
25 |
18,2 |
31 |
20 |
19,0 |
|
130-14 |
29 |
21,5 |
35 |
24 |
27,0 |
Примечание. Колбам № 130-1, 130-2, 130-3 соответствует пробка № 130-11; колбам № 130-4, 130-5 соответствует пробка № 130-12; колбам № 130-6, 130-7, 130-8 соответствует пробка № 130-13; колбам № 130-9, 130-10 соответствует пробка № 130-14.
Пробирки и чехлы из платины, палладия, золота, серебра и платинородиевого сплава марки ПлРд-7
Изделие № 131

Черт. 30
Таблица 27
|
Номера изделий |
D |
δ |
L |
Масса изделий, г (из платины) |
|
мм |
||||
|
131-1 |
2,0 |
0,1 |
25 |
0,3 |
|
131-2 |
2,0 |
0,1 |
50 |
0,6 |
|
131-3 |
2,0 |
0,2 |
50 |
1,2 |
|
131-4 |
2,6 |
0,2 |
50 |
1,6 |
|
131-5 |
2,6 |
0,3 |
50 |
2,3 |
|
131-6 |
3,0 |
0,3 |
40 |
2,2 |
|
131-7 |
3,0 |
0,2 |
50 |
1,9 |
|
131-8 |
4,0 |
0,3 |
25 |
1,9 |
|
131-9 |
6,0 |
0,5 |
550 |
102,0 |
|
131-10 |
8,0 |
0,5 |
350 |
89,0 |
|
131-11 |
10,0 |
0,5 |
100 |
32,4 |
|
131-12 |
10,0 |
0,5 |
200 |
64,4 |
|
131-13 |
12,0 |
0,5 |
80 |
80,9 |
|
131-14 |
14,0 |
0,5 |
200 |
91,5 |
|
131-15 |
15,0 |
0,5 |
200 |
97,5 |
|
131-16 |
16,0 |
0,5 |
100 |
52,0 |
|
131-17 |
17,0 |
1,0 |
350 |
379,0 |
|
131-18 |
17,0 |
1,0 |
430 |
465,0 |
|
131-19 |
20,0 |
0,5 |
200 |
132,0 |
|
131-20 |
25,0 |
0,5 |
200 |
166,0 |
Примечания:
1. Изделия № 131-1 - 131-8 изготовляют без развальцовки.
2. Маркируются только изделия № 131-11 - 131-20.
Крышки из золота
Изделие № 132

Черт. 31
Таблица 28
|
Номера изделий |
D |
d |
δ0 (пред. откл. ±0,04) |
δ (пред. откл. ±0,04) |
Масса, г |
|
мм |
|||||
|
132-1 |
50 |
38 |
0,3 |
0,23 |
14,0 |
|
132-2 |
50 |
38 |
0,4 |
0,32 |
19,0 |
|
132-3 |
66 |
51 |
0,4 |
0,30 |
30,0 |
Изделие № 133

Масса 52 г
Черт. 32
Лодочки для элементарного анализа из платины
Изделие № 200

Черт. 33
Таблица 29
|
Номера изделий |
L |
B |
Масса, г |
|
мм |
|||
|
200-1 |
40 |
8 |
5,6 |
|
200-2 |
50 |
8 |
6,7 |
|
200-3 |
60 |
8 |
8,4 |
|
200-4 |
70 |
8 |
9,4 |
|
200-5 |
40 |
10 |
6,0 |
|
200-6 |
50 |
10 |
7,2 |
|
200-7 |
60 |
10 |
9,0 |
|
200-8 |
70 |
10 |
10,0 |
Лодочки для сжигания из платины
Изделие № 201

Черт. 34
Таблица 30
|
Номера изделий |
L, мм |
Масса, г |
|
201-1 |
40 |
6,5 |
|
201-2 |
50 |
7,5 |
|
201-3 |
60 |
9,2 |
|
201-4 |
70 |
10,5 |
Микролодочки из платины
Изделие № 202

Черт. 35
Таблица 31
|
Номера изделий |
B |
H |
L |
R |
Масса, г |
|
мм |
|||||
|
202-1 |
5 |
4 |
15 |
1,5 |
1,0 |
|
202-2 |
5 |
4 |
18 |
2,0 |
1,2 |
|
202-3 |
5 |
4 |
20 |
2,0 |
1,4 |
|
202-4 |
5 |
4 |
25 |
2,5 |
1,6 |
|
202-5 |
6 |
5 |
30 |
2,5 |
2,4 |
Ящики для сжигания из платины
Изделие № 203

Черт. 36
Таблица 32
|
Номера изделий |
А |
B |
Масса, г |
|
мм |
|||
|
203-1 |
50 |
30 |
16,0 |
|
203-2 |
55 |
35 |
20,0 |
|
203-3 |
60 |
40 |
23,0 |
Треугольники с раздвижными концами из платины или палладия
Изделие № 205

Черт. 37
Таблица 33
|
Номера изделий |
l |
d |
Масса, г |
|
|
мм |
из платины |
из палладия |
||
|
205-1 |
60 |
1,2 |
4,8 |
2,8 |
|
205-2 |
88 |
1,2 |
6,8 |
3,9 |
|
205-3 |
95 |
1,2 |
7,5 |
4,3 |
|
205-4 |
115 |
1,5 |
13,5 |
7,8 |
|
205-5 |
120 |
1,5 |
14,2 |
8,2 |
|
205-6 |
148 |
1,5 |
17,5 |
10,0 |
Треугольники с оплавленными концами из платины или палладия
Изделие № 206

Черт. 38
Таблица 34
|
Номера изделий |
а |
b |
d |
Масса, г |
|
|
мм |
из платины |
из палладия |
|||
|
206-1 |
35 |
20 |
1,2 |
5,6 |
3,2 |
|
206-2 |
40 |
20 |
1,2 |
5,9 |
3,4 |
|
206-3 |
50 |
20 |
1,2 |
6,6 |
3,8 |
|
206-4 |
60 |
22 |
1,5 |
12,0 |
6,9 |
|
206-5 |
70 |
22 |
1,5 |
13,0 |
7,5 |
|
206-6 |
80 |
22 |
1,5 |
14,2 |
8,2 |
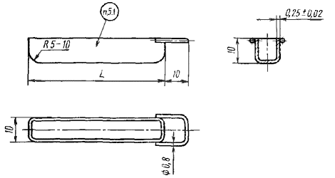
Ложки из платины
Изделие № 207

Черт. 39
Таблица 35
|
Номера изделий |
D |
H |
L |
l |
Масса, г |
|
мм |
|||||
|
207-1 |
10 |
5 |
40 |
25 |
3,0 |
|
207-2 |
12 |
6 |
40 |
25 |
3,8 |
|
207-3 |
16 |
7,5 |
50 |
35 |
5,8 |
|
207-4 |
20 |
10 |
50 |
35 |
8,5 |
Примечание. Пайка ручки к полусфере производится припоем марки Зл Пд Пл 60-30-10 по ГОСТ 6835.
Масса припоя для изделий № 207-1 и 207-2 не более - 0,5 г, в том числе золота - 0,3 г, палладия - 0,2 г, для изделий № 207-3 и 207-4 не более - 0,7 г, в том числе золота - 0,4 г, палладия - 0,2 г.
(Измененная редакция, Изм. № 1, 3).
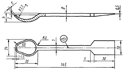
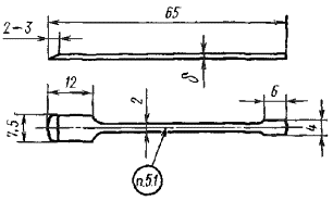
Ложка-шпатель из платины
Изделие № 208

Черт. 40
Таблица 36
|
Номера изделий |
δ |
h |
с |
Масса, г |
|
мм |
||||
|
208-1 |
1,5 |
8 |
1,5 |
67,0 |
|
208-2 |
3,0 |
12 |
2,0 |
120,0 |
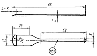
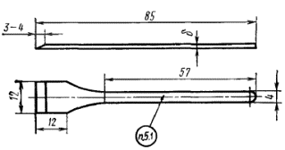
Шпатели лабораторные
Изделия № 209-1, 210-1

Черт. 41
|
Изделия № 209-2, 210-2 |
Изделия № 209-3, 210-3 |
|
|
|
|
Черт. 42 |
Черт. 43 |
|
Изделия № 209-4, 210-4 |
Изделия № 209-5, 210-5 |
|
|
|
|
Черт. 44 |
Черт. 45 |
|
Изделия № 209-6, 210-6 |
Изделия № 209-7, 210-7 |
|
|
|
|
Черт. 46 |
Черт. 47 |
|
Изделия № 209-8, 210-8 |
Изделия № 209-9, 210-9 |
|
|
|
|
Черт. 48 |
Черт. 49 |
|
Изделия № 209-10, 210-10 |
Изделия № 209-11, 210-11 |
|
|
|
|
Черт. 50 |
Черт. 51 |
|
Изделия № 209-12, 210-12 |
Изделия № 209-13, 210-13 |
|
|
|
|
Черт. 52 |
Черт. 53 |
Изделия № 209-14, 210-14

Черт. 54
Таблица 37
|
Номера изделий |
δ, мм |
Масса, г |
Номера изделий |
δ, мм |
Масса, г |
|
Из платины |
Из серебра |
||||
|
209-1 |
0,8 ± 0,04 |
8,5 |
210-1 |
1,2 ± 0,05 |
6,1 |
|
209-2 |
1,0 ± 0,05 |
8,3 |
210-2 |
1,5 ± 0,05 |
6,1 |
|
209-3 |
0,8 ± 0,05 |
8,8 |
210-3 |
1,2 ± 0,05 |
6,4 |
|
209-4 |
0,65 ± 0,04 |
7,2 |
210-4 |
1,0 ± 0,05 |
5,3 |
|
209-5 |
1,0 ± 0,05 |
17,7 |
210-5 |
1,5 ± 0,06 |
13,0 |
|
209-6 |
1,0 ± 0,05 |
9,9 |
210-6 |
1,5 ± 0,06 |
7,3 |
|
209-7 |
1,0 ± 0,05 |
10,5 |
210-7 |
1,5 ± 0,06 |
7,8 |
|
209-8 |
1,0 ± 0,05 |
9,8 |
210-8 |
1,5 ± 0,06 |
7,3 |
|
209-9 |
1,0 ± 0,05 |
7,6 |
210-9 |
1,5 ± 0,06 |
5,6 |
|
209-10 |
1,0 ± 0,05 |
4,4 |
210-10 |
1,5 ± 0,06 |
3,2 |
|
209-11 |
1,0 ± 0,05 |
4,5 |
210-11 |
1,5 ± 0,06 |
3,3 |
|
209-12 |
1,0 ± 0,05 |
4,7 |
210-12 |
1,5 ± 0,06 |
3,5 |
|
209-13 |
1,0 ± 0,05 |
4,3 |
210-13 |
1,5 ± 0,06 |
3,2 |
|
209-14 |
2,5 ± 0,08 |
55,0 |
210-14 |
3,0 ± 0,10 |
32,2 |
Капилляры из платины
Изделие № 211

Черт. 55
Таблица 38
|
Номера изделий |
D |
d (пред. откл. ±0,03) |
L |
Масса, г |
|
мм |
||||
|
211-1 |
1,95 |
0,80 |
300 |
16,0 |
|
211-2 |
2,25 |
0,85 |
120 |
9,0 |
|
211-3 |
6,94 |
6,7 |
26 |
1,2 |
|
211-4 |
8,40 |
8,2 |
26 |
1,4 |
Изделие № 212

Масса 16 г
Черт. 56
Изделие № 213

Черт. 57
Таблица 39
|
Номера изделий |
d |
d1 |
Масса, г |
|
мм |
|||
|
213-1 |
2,0 |
0,5 |
32,0 |
|
213-2 |
2,4 |
0,9 |
32,2 |
|
213-3 |
2,5 |
1,0 |
32,3 |
|
213-4 |
2,6 |
1,1 |
32,4 |
Наконечники пера из сплава марки ПлИ-10
Изделие № 214

Черт. 58
|
Номера изделий |
D (пред. откл. -0,05) |
d (пред. откл. ±0,03) |
Масса, 100 шт., г |
|
мм |
|||
|
214-1 |
0,6 |
0,2 |
2,3 |
|
214-2 |
0,7 |
0,30 |
3,1 |
|
Изделие № 215
|
Конус фильтровальный из платины Изделие № 216 |
|
|
|
|
Масса 100 шт. 3,5 г Черт. 59 |
Масса 2,4 г Черт. 60 |
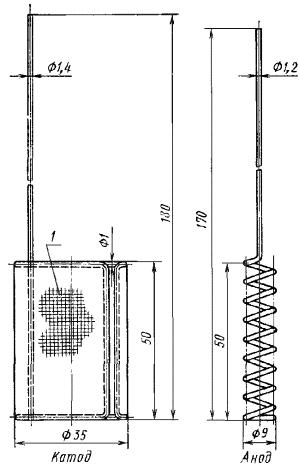
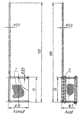
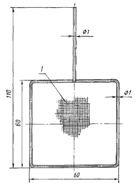
Электроды сетчатые цилиндрические из платины
Изделие № 300

1 - сетка из проволоки диаметром 0,10-0,01 мм, 1024 отверстия на 1 см2; 2 - стеклянные изоляторы по окружности (3 шт.) на платиновых стержнях диаметром 0,8 мм.
Черт. 61
Примечание. Допускается прогиб сетки по образующей цилиндра.
Таблица 41
|
Номера изделий |
d |
d1 |
d2 |
Масса, г |
|
|
мм |
катода |
анода |
|||
|
300-1 |
1,0 |
1,4 |
- |
17,0 |
- |
|
300-2 |
1,2 |
1,8 |
- |
23,0 |
- |
|
300-3 |
1,0 |
- |
1,2 |
- |
13,0 |
|
300-4 |
1,2 |
- |
1,5 |
- |
16,0 |
Примечание. Катоду № 300-1 соответствует анод № 300-3; катоду № 300-2 соответствует анод № 300-4.
Электроды сетчатые со спиралью из платины
Изделие № 301

Изделие № 301-1. Масса 18,2 г Изделие № 301-2. Масса 8,3 г
Масса 26,5 г
1 - сетка из проволоки диаметром 0,10-0,01 мм, 1024 отверстия на 1 см2.
Черт. 62
Примечание. Допускается перегиб сетки по образующей цилиндра.
|
Микроэлектроды из платины Изделие № 302 |
Электроды к электродиализаторам из платины Изделие № 303 |
|
|
|
|
Изделие № 302-1. Масса 1,3 г Изделие № 302-2. Масса 1,0 г Масса 2,3 г 1 - сетка из проволоки диаметром 0,10-0,01 мм, 1024 отверстия на 1 см2; 2 - стеклянные изоляторы диаметром 1,5 мм (3 шт.). Прикрепляются платиновой проволокой диаметром 0,3 мм Черт. 63 |
Масса 9,5 г 1 - сетка из проволоки диаметром 0,10-0,01 мм, 1024 отверстия на 1 см2 Черт. 64
|
|
Примечание. Допускается прогиб сетки по образующей цилиндра. |
|
|
Электроды сетчатые плоские из платины Изделие № 304 |
Электроды из фольги со спиральным анодом из платины Изделие № 305 |
|
|
|
|
Масса 8,0 г 1 - сетка из проволоки диаметром 0,10-0,01 мм, 1024 отверстия на 1 см2 Черт. 65 |
Изделие № 305-1. Масса 8,5 г Изделие № 305-2. Масса 6,5 г Масса 15 г 1 - фольга толщиной 0,05 мм Черт. 66 |
|
Электроды тигельные из платины Изделие № 306 |
Электроды чашевидные из платины Изделие № 307 |
|
|
|
|
Масса 30 г Черт. 67 |
Масса 26 г Черт. 68 |
Изделие № 308

Масса 18 г
Черт. 69
Электроды конические со спиралью из платины
Изделие № 309

Изделие № 309-1. Масса 19,0 г Изделие № 309-2. Масса 13,0 г
Масса 32 г
Черт. 70
Примечание. Пайка к конусу производится припоем марки ЗлПдПл 60-30-10 по ГОСТ 6835.
Масса припоя не более - 1,0 г, в том числе золота - 0,6 г, палладия - 0,3 г.
|
Электроды проволочные со спиралью из платины |
Электроды дисковые из платины |
Электроды тарельчатые из платины |
|
Изделие № 310 |
Изделие № 311 |
Изделие № 312 |
|
|
|
|
|
Масса 15 г Черт. 71 |
Масса 12 г Черт. 72 |
Масса 13,5 г Черт. 73 |
Электроды дисковые из платины
Изделие № 316

Черт. 74
Таблица 42
|
Номера изделий |
D |
δ |
d |
l |
Масса, г |
|
мм |
|||||
|
316-1 |
4 |
1 |
1 |
80 |
1,6 |
|
316-2 |
5 |
0,2 |
0,3 |
30 |
0,2 |
|
316-3 |
5 |
1 |
1 |
80 |
1,8 |
|
316-4 |
6 |
1 |
1 |
250 |
4,8 |
|
316-5 |
10 |
0,3 |
0,3 |
30 |
0,6 |
|
316-6 |
10 |
1 |
1 |
35 |
2,3 |
|
316-7 |
20 |
2 |
2 |
80 |
18,7 |
Электроды пластинчатые из платины
Изделие № 317

Черт. 75
Таблица 43
|
Номера изделий |
B |
H |
δ |
d |
L |
Масса, г |
|
мм |
||||||
|
317-1 |
5 |
5 |
0,2 |
1,0 |
25 |
0,4 |
|
317-2 |
5 |
10 |
0,3 |
0,3 |
40 |
0,4 |
|
317-3 |
5 |
10 |
0,6 |
1,0 |
30 |
1,0 |
|
317-4 |
10 |
10 |
0,3 |
0,3 |
40 |
0,7 |
|
317-5 |
10 |
10 |
0,6 |
0,8 |
22 |
1,4 |
|
317-6 |
10 |
10 |
1,0 |
1,0 |
85 |
3,4 |
|
317-7 |
10 |
10 |
1,5 |
2,0 |
210 |
17,0 |
|
317-8 |
15 |
25 |
1,0 |
2,0 |
100 |
13,8 |
|
317-9 |
20 |
15 |
2,0 |
3,5 |
162 |
43,8 |
|
317-10 |
25 |
20 |
1,5 |
3,0 |
135 |
34,0 |
|
317-11 |
30 |
50 |
1,0 |
2,0 |
200 |
42,4 |
|
Изделие № 318 |
Изделие № 319 |
|
|
|
|
Масса 4,2 г Черт. 76 |
Черт. 77 |
Таблица 44
|
Номера изделий |
А |
Б |
H |
d |
l |
Масса, г |
|
мм |
||||||
|
319-1 |
10 |
10 |
0,3 |
0,3 |
30 |
0,7 |
|
319-2 |
10 |
10 |
0,6 |
0,6 |
15 |
1,4 |
|
319-3 |
10 |
10 |
1,5 |
2 |
350 |
26,8 |
Ампула с пробкой
Изделия № 400 - 402

Черт. 78
Примечание. Соединение деталей серебряных ампул пайкой припоем марки ПСр-70 по ГОСТ 19738-74. Масса припоя не более - 1,5 г, в том числе серебра - 1,1 г.
Таблица 45
|
Номера изделий |
Вместимость, см3 |
Металл |
Масса, г |
|
400 |
|
Платина |
20,0 |
|
401 |
8 |
Палладий |
12,0 |
|
402 |
|
Серебро |
10,0 |
Перегонные аппараты из платины или палладия
Изделия № 403, 404

Черт. 79
Примечание. Пробку притереть по горловине колбы.
Таблица 46
|
Номера изделий |
Вместимость, см3 |
Металл |
D |
H |
l |
Масса, г |
|
мм |
||||||
|
403-1 |
90 |
Платина |
60 |
90 |
100 |
203,0 |
|
403-2 |
150 |
Платина |
70 |
110 |
250 |
340,0 |
|
404-1 |
90 |
Палладий |
60 |
90 |
100 |
133,0 |
|
404-2 |
150 |
Палладий |
70 |
110 |
250 |
185,0 |
Перегонные аппараты из платины или палладия
Изделия № 407, 408

Черт. 80
Примечание. Пробку притереть по горловине колбы.
Таблица 47
|
Номера изделий |
Вместимость, |
Металл |
D |
H |
l |
Масса, г |
|
мм |
||||||
|
407-1 |
280 |
Платина |
85 |
134 |
400 |
575,0 |
|
407-2 |
400 |
Платина |
98 |
154 |
500 |
750,0 |
|
408-1 |
280 |
Палладий |
85 |
134 |
400 |
325,0 |
|
408-2 |
400 |
Палладий |
98 |
154 |
500 |
420,0 |
Перегонные аппараты с холодильником для плавиковой кислоты из платины или палладия
Изделия № 411, 412

Черт. 81
Примечание. Пробку притереть по горловине колбы.
Таблица 48
|
Номера изделий |
Вместимость, см3 |
Металл |
δ (пред. откл. ±0,05) |
δ0 (пред. откл. ±0,15) |
Масса, г |
|
мм |
|||||
|
411 |
550 |
Платина |
0,65 |
0,5 |
530,0 |
|
412 |
550 |
Палладий |
0,90 |
0,6 |
380,0 |
|
Калориметрическая чашка (Зубова) из платины Изделие № 413 |
Чашка из платины Изделие № 414 |
|
|
|
|
Масса 14 г. Черт. 82 |
Масса 18 г Черт. 83 |
|
Примечание. Крышку пригнать по месту плотно. |
|
Пипетка из платины для взятия проб жидкостей
Изделие № 415

Масса 18 г
Черт. 84
Примечание. Пайка пипетки производится припоем марки ЗлПдПл 60-30-10 по ГОСТ 6835. Масса припоя не более 1,0 г, в том числе золота - 0,6 г, палладия - 0,3 г.
Тигли для вискозиметра из платины и сплавов марок ПлИ-10, ПлРд-7, ПлРд-10
Изделие № 416

Черт. 85
Таблица 49
|
Номера изделий |
Вместимость, см3 |
D |
H |
δ0 |
δ |
a |
b |
h |
Масса из платины, г |
|
мм |
|||||||||
|
416-1 |
15 |
25 |
38 |
1,0 ± 0,10 |
0,7 ± 0,05 |
2 |
2 |
6 |
54,5 |
|
416-2 |
40 |
35 |
50 |
1,0 ± 0,10 |
0,8 ± 0,08 |
2 |
3 |
4 |
112,5 |
|
416-3 |
40 |
35 |
50 |
1,1 ± 0,10 |
1,0 ± 0,10 |
2 |
2 |
6 |
136,3 |
|
416-4 |
50 |
39 |
47 |
0,5 ± 0,05 |
0,5 ± 0,05 |
1 |
1 |
13 |
74,0 |
|
416-5 |
65 |
40 |
60 |
1,1 ± 0,10 |
1,0 ± 0,10 |
2 |
2 |
10 |
187,0 |
|
416-6 |
75 |
41 |
61 |
0,6 ± 0,05 |
0,6 ± 0,05 |
2 |
2 |
10 |
118,2 |
|
416-7 |
60 |
41,5 |
50 |
0,8 ± 0,08 |
0,8 ± 0,08 |
2,5 |
3,5 |
5 |
134,0 |
|
416-8 |
75 |
42 |
61 |
1,0 ± 0,10 |
1,0 ± 0,10 |
2 |
3 |
10 |
199,4 |
|
416-9 |
70 |
42 |
61 |
1,5 ± 0,15 |
1,5 ± 0,15 |
2 |
3 |
10 |
292,0 |
|
416-10 |
100 |
42 |
85 |
2,0 ± 0,15 |
1,0 ± 0,10 |
2 |
3 |
10 |
292,6 |
|
416-11 |
100 |
45 |
70 |
1,1 ± 0,10 |
1,0 ± 0,10 |
2 |
3 |
10 |
245,7 |
|
416-12 |
100 |
45 |
71,2 |
1,0 ± 0,10 |
0,8 ± 0,08 |
2 |
3 |
10 |
206,2 |
|
416-13 |
110 |
45 |
80 |
1,2 ± 0,10 |
1,1 ± 0,10 |
2 |
3 |
10 |
301,2 |
|
416-14 |
95 |
47 |
61 |
1,0 ± 0,10 |
1,0 ± 0,10 |
2 |
3 |
10 |
227,1 |
|
416-15 |
195 |
50 |
110 |
1,2 ± 0,10 |
1,1 ± 0,10 |
3 |
3 |
10 |
450,7 |
|
416-16 |
185 |
55 |
90 |
1,5 ± 0,15 |
1,5 ± 0,15 |
2 |
3 |
10 |
558,9 |
|
416-17 |
180 |
60 |
70 |
1,5 ± 0,15 |
1,0 ± 0,10 |
4,5 |
5 |
10 |
377,8 |
|
416-18 |
1070 |
100 |
150 |
2,0 ± 0,15 |
2,0 ± 0,15 |
4 |
5 |
15 |
2311,0 |
Шарики со стержнем для вискозиметра из платины
и сплавов марок ПлИ-10 и ПлРд-10
Изделие № 418

Черт. 86
Таблица 50
|
Номера изделий |
D |
d |
l |
Масса из платины, г |
|
мм |
||||
|
418-1 |
10 |
3 |
100 |
27,0 |
|
418-2 |
12 |
3 |
100 |
35,0 |
|
418-3 |
15 |
3,5 |
100 |
59,0 |
|
418-4 |
16 |
3,5 |
100 |
67,0 |
|
418-5 |
17 |
3,5 |
100 |
76,0 |
|
418-6 |
20 |
4 |
100 |
117,0 |
|
418-7 |
22 |
4 |
100 |
147,0 |
|
418-8 |
25 |
4 |
100 |
204,0 |
|
418-9 |
25 |
4 |
200 |
229,0 |
Приборы из платины для определения закиси железа
|
Изделие № 419 |
Изделие № 420 |
|
|
|
|
Вместимость 90 см3, масса 215 г Черт. 87 |
Вместимость 280 см3, масса 460 г. Черт. 88 |
|
Примечание. Пробку притереть по горловине колбы. |
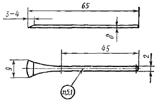
|
Наконечники для пинцетов из платины
Изделие № 505

Масса одной пары 2,4 г
Черт. 89
Наконечники для щипцов из платины
Изделие № 506

Черт. 90
Таблица 51
|
Номера изделий |
L |
H |
C |
r |
Масса, г, |
|
мм |
|||||
|
506-1 |
15 |
6 |
5 |
2,5 |
5,9 |
|
506-2 |
18 |
4,5 |
4,5 |
2,2 |
5,5 |
|
506-3 |
30 |
7 |
7 |
3,5 |
14,8 |
|
506-4 |
40 |
7 |
7 |
3,5 |
20,0 |
|
506-5 |
60 |
10 |
10 |
5,0 |
44,0 |
Мешалка с винтовыми лопастями из платины и сплава марки ПлРд-7
Изделие № 507

Черт. 91
Таблица 51а
|
Номера изделий |
l, мм |
Масса из платины, г |
|
507-1 |
140 |
64,1 |
|
507-2 |
250 |
93,7 |
Тигли с крышками для дериватографа из платины или сплава марки ПлРд-7
Изделие № 508
|
Крышка |
Тигель |
|
|
|
|
Черт. 92 |
|
|
Номера изделий |
D |
H |
d |
d1 |
d2 |
h |
Масса изделий из платины, г |
|
|
мм |
тигля |
крышки |
||||||
|
508-1 |
10,0 |
12,5 |
7,5 |
- |
- |
- |
4,9 |
- |
|
508-2 |
11,0 |
14,0 |
10,0 |
- |
- |
- |
6,0 |
- |
|
508-3 |
14,0 |
17,5 |
10,5 |
- |
- |
- |
8,4 |
- |
|
508-4 |
17,5 |
22,5 |
13,0 |
- |
- |
- |
12,5 |
- |
|
508-5 |
20,0 |
22,5 |
15,5 |
- |
- |
- |
16,3 |
- |
|
508-6 |
- |
- |
- |
11,0 |
8,5 |
1,5 |
- |
0,8 |
|
508-7 |
- |
- |
- |
12,0 |
9,5 |
1,5 |
- |
1,2 |
|
508-8 |
- |
- |
- |
15,5 |
12,5 |
2,0 |
- |
1,6 |
|
508-9 |
- |
- |
- |
19,5 |
16,0 |
2,5 |
- |
2,4 |
|
508-10 |
- |
- |
- |
21,0 |
18,5 |
2,5 |
- |
3,4 |
Примечание. Тиглю № 508-1 соответствует крышка № 508-6, тиглю № 508-2 соответствует крышка № 508-7, тиглю № 508-3 соответствует крышка № 508-8, тиглю № 508-4 соответствует крышка № 508-9, тиглю № 508-5 соответствует крышка № 508-10.
Тигли для термографии из платины
Изделие № 509
Масса 8,3 г
Черт. 93
(Измененная редакция, Изм. № 2).
1.2. Масса изделий рассчитана по номинальным размерам и является справочной. Отклонения по массе не должны превышать ±5 %.
1.3. Для определения массы изделий, изготовляемых из платино-иридиевых сплавов марок. ПлИ-5, ПлИ-10 или платино-родиевых сплавов марок ПлРд-7, ПлРд-10, значения массы, указанные в табл. 1 , 7 , 13 , 15 , 49 , 50 , 51а , 52 должны быть умножены на:
1,002 - для сплава марки ПлИ-5;
1,004 - для сплава марки ПлИ-10;
0,952 - для сплава марки ПлРд-7;
0,932 - для сплава марки ПлРд-10.
Примеры условных обозначений
Тигель высокий из платины, изделие № 100-1:
Тигель Пл 99,8 100-1 ГОСТ 6563-75
Чашка из серебра, изделие № 119-1:
Чашка Ср 999 119-1 ГОСТ 6563-75
Анод сетчатого электрода со спиралью из платины, изделие № 301:
Анод Пл 99,8 301 ГОСТ 6563-75
Тигель для дериватографа из сплава марки ПлРд-7, изделие № 508-1:
Тигель ПлРд-7 508-1 ГОСТ 6563-75
Крышка к тиглю для дериватографа из платины, изделие № 508-7:
Крышка Пл 99,8 508-7 ГОСТ 6563-75
(Измененная редакция, Изм. № 1, 2).
2.1. Изделия должны быть изготовлены из благородных металлов и сплавов с химическим составом по ГОСТ 13498, ГОСТ 13462, ГОСТ 6835 и ГОСТ 6836 в соответствии с требованиями настоящего стандарта по технологическому регламенту, утвержденному в установленном порядке.
(Измененная редакция, Изм. № 1).
2.2. Поверхность изделий должна быть чистой, без плен, трещин, раковин, расслоений, заусенцев, вмятин, рисок и посторонних включений. Матовость, следы зачистки, риски, если они при контрольной зачистке не выводят изделия за предельные отклонения, допускаются.
2.3. Рекомендуемые области применения лабораторной посуды из платины и ее сплавов и химико-аналитические операции, для которых допускается использование платиновой посуды и изделий, приведены в приложении 1.
(Измененная редакция, Изм. № 1, 3).
2.4 Основные требования к условиям эксплуатации изделий из благородных металлов должны соответствовать приложению 2
(Введен дополнительно, Изм. № 3)
3.1. Изделия принимают партиями. Партия должна состоять из изделий одного типа и размера, одного химического состава и быть оформлена одним документом о качестве, содержащим:
товарный знак или наименование и товарный знак предприятия-изготовителя;
условное обозначение изделия;
номер партии;
химический состав;
массу партии в граммах;
дату выпуска;
штамп технического контроля.
Масса партии не ограничивается.
(Измененная редакция, Изм. № 1).
3.2. Проверке внешнего вида и размеров подвергают каждое изделие.
3.3. Химический состав материала изделий устанавливается на основе анализа пробы, отбираемой от каждой плавки.
3.4. При получении неудовлетворительных результатов по внешнему виду, размерам или химическому составу изделия, не удовлетворяющие требованиям настоящего стандарта, бракуются.
4.1. Проверка поверхности изделий осуществляется внешним осмотром без применения увеличительных приборов.
4.2. Проверка размеров изделий производится измерительным инструментом, обеспечивающим требуемую точность.
4.3. Химический состав определяют по ГОСТ 12225, ГОСТ 12226 *, ГОСТ 12556.1, ГОСТ 12556.2, ГОСТ 12559.1, ГОСТ 12559.2, ГОСТ 22864, ГОСТ 27973.0, ГОСТ 27973.1, ГОСТ 27973.2, ГОСТ 27973.3, ГОСТ 28353.0, ГОСТ 28353.1, ГОСТ 28353.2, ГОСТ 28353.3.
(Измененная редакция, Изм. № 2).
* На территории Российской Федерации рекомендуется использовать ГОСТ Р 52518-2006 – ГОСТ Р 52521-2006.
5.1. На каждом изделии должно быть нанесено клеймо с указанием марки металла и последней цифры номера изделия.
Изделия № 106-1, 106-2, 106-3, 117-1, 117-2, 117-3, 117-4, 120-1, 120-2, 120-3, 120-4 маркируют ниже отбортовки.
(Измененная редакция, Изм. № 1).
5.2. Изделия должны быть обернуты папиросной бумагой по ГОСТ 3479, уложены в картонные или пластмассовые коробки и упакованы в сплошные деревянные ящики.
Допускается применять другой способ и материал упаковки, обеспечивающий сохранность при транспортировании и хранении.
(Измененная редакция, Изм. № 2).
5.3. Транспортная маркировка - по ГОСТ 14192.
(Измененная редакция, Изм. № 1).
5.4. Хранение, транспортирование и учет изделий технических из благородных металлов и сплавов должны проводиться в соответствии с порядком хранения, транспортирования и учета драгоценных металлов. Условия хранения в части воздействия климатических факторов - по ГОСТ 15150, группа 3 (Ж).
(Измененная редакция, Изм. № 1).
5.5, 5.6. (Исключены, Изм. № 1).
6.1 Изготовитель гарантирует соответствие технических изделий требованиям настоящего стандарта при соблюдении условий транспортирования, хранения и эксплуатации, установленных настоящим стандартом.
Раздел 6 (Введен дополнительно, Изм. № 3)
Рекомендуемое
1. Рекомендуемые области применения приведены в таблице
|
Тип изделия |
Область применения |
|
Тигли из платины высокие Тигли высокие с усиленной кромкой Тигли широкие Микротигли Крышки к тиглям |
Вскрытие проб сплавлением, спеканием, кислотным разложением. Выпаривание, высушивание, озоление и прокаливание проб |
|
Чашки из платины со сферическим дном Чашки из платины со сферическим дном с усиленной кромкой Чашки из платины плоскодонные Чашки из платины плоскодонные с усиленной кромкой Ящики для сжигания из платины |
То же и перекристаллизация из расплавов и растворов |
|
Тигли конические с крышкой |
Вскрытие проб спеканием смесью хлорида аммония и карбоната кальция |
|
Тигли из платины с поддоном и отверстиями в дне Конус фильтровальный из платины Воронки с цилиндром и решеткой |
Фильтрование осадков, фильтрование с отсасыванием |
|
Колбы круглодонные Колбы конические Пробки к коническим колбам |
Кислотное разложение проб |
|
Лодочки для сжигания Лодочки для элементного анализа Микролодочки |
Сожжение проб органических веществ в элементном анализе |
|
Шпатели лабораторные Ложки - шпатели из платины |
Перемешивание проб в операциях кислотного разложения, сплавления, спекания |
|
Капилляры из платины |
Неорганический микроанализ, анализ горючих газов сожжением |
|
Электроды сетчатые цилиндрические Электроды сетчатые со спиралью Микроэлектроды |
Весовой электроанализ, кулонометрия с постоянным потенциалом |
|
Электроды сетчатые Электроды пластинчатые |
Электродиализ |
|
Электроды проволочные |
Вольтамперометрия, амперометрические титрование, электрофорез |
|
Электроды дисковые |
Кондуктометрия, вольтамперометрия |
|
Аппараты перегонные из платины различной конструкции, в том числе с холодильником |
Очистка дистилляцией реактивов используемых в анализе главным образом фтористоводородной кислоты |
|
Пипетка из платины для взятия проб жидкостей |
Дозирование проб фтористоводородной кислоты |
|
Приборы из платины для определения закиси железа |
Разложение проб смесью фтористоводородной и серной кислот |
|
Наконечники для пинцетов и щипцов из платины |
Все операции, связанные с нагревом платиновой посуды |
Примечания:
1. Форму и размер посуды или изделия выбирают в соответствии с характером аналитического процесса и массой пробы.
2. В аналитических операциях используют также платиновую проволоку по ГОСТ 18389, фольгу по ГОСТ 24353, листы и полосы по ГОСТ 24718, диски, сетки, трубки капиллярные по нормативно-технической документации.
2. Химико-аналитические операции, для которых допускается использование платиновой посуды и изделий
2.1. Платиновую посуду и изделия применяют при химико-аналитических операциях во фторидных системах.
2.1.1. При разложении фтористоводородной кислотой (смесью фтористоводородной и хлорной кислот) природных и промышленных силикатных материалов: пород, минералов, стекол, керамических материалов, цемента и др.; руд, минералов и концентратов бериллия, ниобия, тантала, титана, циркония, редкоземельных элементов, урана, хрома, а также технологических продуктов на основе оксидов перечисленных элементов; сухих остатков природных и сточных вод, зол растительных и животных тканей, аэрозолей, минеральной части почв и т.д. применяют платиновые тигли, чашки, колбы, шпатели.
Потери платины в процессе разложения с фтористоводородной кислотой возможны в пределах до нескольких десятков микрограмм за одну операцию.
2.1.2. При кислотном разложении природных и промышленных материалов во фторидных системах с использованием платиновой посуды и изделий допускается применение следующих бинарных смесей кислот: фтористоводородная - хлористоводородная кислота; фтористоводородная - хлорная кислота; фтористоводородная - серная кислота; фтористоводородная - азотная кислота, свободная от примесей хлоридов, а также тройных смесей кислот фтористоводородная - азотная - серная кислота и фтористоводородная - азотная - хлорная кислота.
Категорически запрещается использование систем с хлористоводородной кислотой в присутствии окислителей, в том числе нитратов, пиролюзита и других окислителей, вызывающих выделение хлора, разрушающего платину.
Непременное условие применения систем с хлорной кислотой - отсутствие в анализируемых пробах восстановителей: органических веществ, гипофосфитов, соединений сурьмы (III) и других восстановителей, вызывающих разложение хлорной кислоты со взрывом.
Потери платины при кислотном разложении в бинарных и тройных смесях кислот не должны превышать 1 - 3 мг за одну операцию.
2.1.3. В операциях сплавления с солями и комплексными соединениями фтористоводородной кислоты: фторидами и бифторидами калия и аммония, фторосиликатом натрия, фтороборатом натрия, смесью фторида калия или фторида натрия с пиросульфатом калия или натрия, а также при обработке проб смесью борной кислоты с фторидами натрия или лития при температуре до 950°С - 1000°С используют платиновые тигли и чашки.
2.1.4. При вскрытии фторосодержащих неорганических материалов методом пирогидролиза используют платиновые лодочки и трубки.
2.2. В сульфатных системах посуду из платины применяют для разложения оксидов, фторидов, карбонатов, фосфатов, боридов, некоторых силикатов и ряда других соединений нагреванием с серной кислотой; вскрытия многочисленных минералов титана, ниобия, тантала, ванадия, вольфрама, циркония, алюминия, хрома и др., в том числе рутила, титаномагнетита, ильменита, колумбита, танталита, некоторых шпинелей; разложения прокаленных оксидов титана, ниобия, тантала, циркония, железа, алюминия, бериллия и др. сплавлением с бисульфатами и пиросульфатами аммония, натрия и калия.
Потери платины при сплавлении с бисульфатами и пиросульфатами щелочных металлов составляют 1 - 3 мг на одну операцию.
2.3. При вскрытии проб спеканием и сплавлением с карбонатами щелочных металлов: карбонатом натрия, карбонатом натрия-калия, гидрокарбонатом натрия, карбонатом калия и гидрокарбонатом калия применяют тигли из платины. При температуре ниже 1300°С потери в весе платины не превышают 1 - 2 мг за одно сплавление.
2.4. При вскрытии проб силикатных пород и минералов, минералов и руд титана, ниобия, тантала, циркония, марганца, хрома и др. природных и многих промышленных материалов сплавлением с бурой, борным ангидридом, метаборатом лития, а также при вскрытии проб сплавлением со смесью буры и соды используют тигли из платины и сплава платины с золотом (ПлЗл-5) по нормативно-технической документации, утвержденной в установленном порядке.
Потери платины при сплавлении с боратными плавнями около 2 мг за одну операцию, а при сплавлении со смесью буры и соды 2 - 5 мг за одну операцию.
2.5. Платиновую посуду применяют при выпаривании и концентрировании проб природных вод, технологических растворов, органических растворителей, минеральных кислот, а также перекристаллизации реактивов.
2.6. Платиновые тигли и чашки при необходимости используют для определения зольности органических и биологических материалов, почв и др., а также при озолении этих материалов в целях последующего определения химического состава золы.
ПРИЛОЖЕНИЕ 1 (Измененная редакция, Изм. № 1, 3)
Обязательное
1. В термических операциях с платиновой посудой следует соблюдать меры предосторожности.
1.1. Нагрев платиновой посуды можно проводить в электрических печах в окислительной (воздушной) среде или в среде водорода, а также открытым пламенем при помощи горелок.
1.2. Посуду из платины можно прокаливать только на несветящемся пламени газовой горелки. Нельзя прокаливать платину на светящемся или коптящем пламени, а также в зоне внутреннего конуса пламени.
1.3. Процесс озоления и последующего прокаливания органических веществ, в том числе бумажных фильтров, следует проводить при условии постепенного нагревания при достаточном доступе воздуха.
1.4. Не допускается нагрев изделий из платины в печах с карборундовыми нагревательными элементами, а также на ацетиленовых горелках и в среде, содержащей углерод.
1.5. Новые платиновые изделия необходимо ставить в печь так, чтобы они не соприкасались, так как при температуре свыше 1000°С может произойти их слипание.
1.6. Во всех случаях, когда проводят нагрев платиновой посуды, применяют щипцы и пинцеты с платиновыми наконечниками.
1.7. Серебряную посуду нельзя прокаливать и нагревать в электрических печах при температуре свыше 700°С.
2. Во избежание повреждения тиглей, чашек и других изделий
2.1. Не допускается прокаливать в платиновой посуде:
1) соединения металлов, образующих с платиной легкоплавкие сплавы: ртуть, свинец, олово, золото, благородные металлы, медь, цинк, кадмий, алюминий, висмут, железо, а также соединения этих элементов, которые в присутствии восстановителей (материал фильтра, окись углерода, водород пламени) легко восстанавливаются до металлов;
2) неметаллы, образующие с платиной соединения, повреждающие посуду: серу, селен, теллур, фосфор, углерод, мышьяк, сурьму, бор;
3) кремниевую кислоту при температуре свыше 1200°С.
2.2. Не допускается применять:
1) в качестве плавней - пероксид натрия, гидроксиды щелочных металлов, смесь карбонатов щелочных металлов с серой и серноватистокислым натрием при температуре свыше 500°С;
2) для кислотного разложения - фосфорную кислоту, хлористоводородную кислоту в присутствии азотной кислоты, пироллюзита и других окислителей, вызывающих выделение хлора.
Не допускается использование платиновой посуды в операциях с царской водкой, хлорной и бромной водой, в операциях хлорирования и других, связанных с выделением свободных галоидов;
3) при пользовании посудой из серебра в качестве плавней углекислый натрий, тиосульфат натрия, пиросульфат калия, нитрат калия. Можно использовать в качестве плавней пероксид натрия, едкий натр, а также смесь пероксида натрия и углекислого натрия в соотношении 5:1.
3. Очистка посуды и изделий из благородных металлов
3.1. Очистку платиновой посуды следует производить:
кипячением с дистиллированной водой и хлористоводородной кислотой (1:1);
сплавлением с гидросульфатом или пиросульфатом калия;
сплавлением с содой и кипячением с разбавленным раствором хлористоводородной кислоты после выщелачивания сплава;
сплавлением с фтороборатом калия;
сплавлением с двойной солью хлорида магния и аммония при температуре 1100 - 1200°С.
3.2. Электроды по окончании электролиза интенсивно промывают дистиллированной водой, затем спиртом.
3.3. Платиновые электроды с осадком цинка, окиси свинца очищают азотной кислотой.
3.4. Для правки тиглей и чашек из благородных металлов используют деревянные матрицы соответствующей формы. Для полировки платиновых изделий используют тальк, тонкодисперсную кремнекислоту и песок; предпочтительная фракция 0,043 мм.
ПРИЛОЖЕНИЕ 2 (Введено дополнительно, Изм. № 1, 3).
ИНФОРМАЦИОННЫЕ ДАННЫЕ
1. РАЗРАБОТАН И ВНЕСЕН Министерством цветной металлургии СССР
2. УТВЕРЖДЕН И ВВЕДЕН В ДЕЙСТВИЕ Постановлением Государственного комитета СССР по стандартам от 31.12.75 № 4123
Изменение № 3 принято Межгосударственным советом по стандартизации, метрологии и сертификации (протокол № 27 от 22.06.2005)
За принятие изменения проголосовали национальные органы по стандартизации следующих государств: AM, BY, GE, KZ, KG, MD, RU, TJ, TM, UZ, UA [коды альфа-2 по МК (ИСО 3166) 004]
3. ВЗАМЕН ГОСТ 6563-58
4. ССЫЛОЧНЫЕ НОРМАТИВНО-ТЕХНИЧЕСКИЕ ДОКУМЕНТЫ
|
Обозначение НТД, на который дана ссылка |
Номер пункта |
|
ГОСТ 3479-85 |
|
|
ГОСТ 6835-2002 |
|
|
ГОСТ 6836-2002 |
|
|
ГОСТ 12225-80 |
|
|
ГОСТ 12226-80 |
|
|
ГОСТ 12556.1-82 |
|
|
ГОСТ 12556.2-82 |
|
|
ГОСТ 12559.1-82 |
|
|
ГОСТ 12559.2-82 |
|
|
ГОСТ 13462-79 |
|
|
ГОСТ 13498-79 |
|
|
ГОСТ 18389-73 |
|
|
ГОСТ 19738-74 |
|
|
ГОСТ 22864-83 |
|
|
ГОСТ 24718-81 |
|
|
ГОСТ 27973.0-88 |
|
|
ГОСТ 27973.1-88 |
|
|
ГОСТ 27973.2-88 |
|
|
ГОСТ 27973.3-88 |
|
|
ГОСТ 28353.0-89 |
|
|
ГОСТ 28353.1-89 |
|
|
ГОСТ 28353.2-89 |
|
|
ГОСТ 28353.3-89 |
5. Ограничение срока действия стандарта снято Постановлением Госстандарта СССР от 24.06.91 № 959
6. ИЗДАНИЕ (декабрь 2008 г.) с Изменениями № 1, 2, 3, утвержденными в июле 1986 г., июне 1991 г., ноябре 2005 г. (ИУС 10-86, 9-91, 2-2006)