
ГОСУДАРСТВЕННЫЙ СТАНДАРТ СОЮЗА ССР
ДРОБИЛКИ
ТЕРМИНЫ И ОПРЕДЕЛЕНИЯ
ГОСТ 14916-82
ГОСУДАРСТВЕННЫЙ КОМИТЕТ СССР ПО СТАНДАРТАМ
Москва
ГОСУДАРСТВЕННЫЙ СТАНДАРТ СОЮЗА ССР
|
ДРОБИЛКИ Термины и определения Crushers. Terms and definitions |
ГОСТ Взамен |
Постановлением Государственного комитета СССР по стандартам от 16 ноября 1982 г. № 4305 срок введения установлен
с 01.01.84
Настоящий стандарт устанавливает применяемые в науке, технике и производстве термины и определения понятий в области видов и основных исполнений дробилок.
Термины, установленные настоящим стандартом, обязательны для применения в документации всех видов, научно-технической, учебной и справочной литературе.
Для каждого понятия установлен один стандартизованный термин. Применение терминов-синонимов стандартизованного термина запрещается. Недопустимые к применению термины-синонимы приведены в качестве справочных и обозначены «Ндп».
Для отдельных стандартизованных терминов в стандарте приведены в качестве справочных их краткие формы, которые разрешается применять, когда исключена возможность их различного толкования. Установленные определения можно, при необходимости, изменять по форме изложения, не допуская нарушения границ понятий.
Когда необходимые и достаточные признаки понятия содержатся в буквальном значении термина, определение не приведено, и, соответственно, в графе «Определение» поставлен прочерк.
В стандарте в качестве справочных приведены иностранные эквиваленты ряда стандартизованных терминов на немецком (D), английском (Е) и французском (F) языках. В стандарте приведены алфавитные указатели содержащихся в нем терминов на русском языке и их иностранных эквивалентов.
В стандарте имеется справочное приложение, в котором приведена классификация дробилок. Стандартизованные термины набраны полужирным шрифтом, их краткая форма - светлым, а недопустимые синонимы - курсивом.
АЛФАВИТНЫЙ УКАЗАТЕЛЬ ТЕРМИНОВ НА РУССКОМ ЯЗЫКЕ
|
Дробилка |
|
|
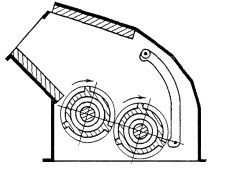
Дробилка валковая |
|
|
Дробилка комбинированная |
|
|
Дробилка конусная |
|
|
Дробилка многоступенчатая |
|
|
Дробилка молотковая |
|
|
Дробилка молотковая вертикальная |
|
|
Дробилка молотковая реверсивная |
|
|
Дробилка одноступенчатая |
|
|
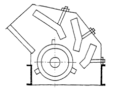
Дробилка роторная |
|
|
Дробилка роторная реверсивная |
|
|
Дробилка шоковая |
|
|
Дробилка щековая со сложным движением щеки |
|
|
Дробилка щековая с простым движением щеки |
|
|
Дробление |
|
|
Камера дробления |
|
|
Корпус |
|
|
Корпус дробилки |
|
|
Рама |
|
|
Станина |
|
|
Станина дробилки |
|
|
Устройство дробилки предохранительное |
|
|
Устройство предохранительное |
АЛФАВИТНЫЙ УКАЗАТЕЛЬ ТЕРМИНОВ НА НЕМЕЦКОМ ЯЗЫКЕ
|
Backenbrecher |
|
|
Brecher |
|
|
Brecherbett |
|
|
Brechergehuse |
|
|
Brechraum |
|
|
Brechschutzvorrichtung |
|
|
Einstufenbrecher |
|
|
Hammerbrecher |
|
|
Kegelbrecher |
|
|
Prallbrecher |
|
|
Reversieverhammerbrecher |
|
|
Reversieverprallbrecher |
|
|
Vertikalhammerbrecher |
|
|
Walzenbrecher |
|
|
Zerkleinerung |
АЛФАВИТНЫЙ УКАЗАТЕЛЬ ТЕРМИНОВ НА АНГЛИЙСКОМ ЯЗЫКЕ
|
Crusher |
|
|
Crusher frame |
|
|
Crusher housing |
|
|
Crusher safety release |
|
|
Crushing |
|
|
Crushing chamber |
|
|
Gyratory crusher |
|
|
Hammermill |
|
|
Impactor |
|
|
Jaw crusher |
|
|
Reversible impactor |
|
|
Reversible hammermill |
|
|
Roll crusher |
|
|
Single-slage crusher |
|
|
Vertical hammermill |
АЛФАВИТНЫЙ УКАЗАТЕЛЬ ТЕРМИНОВ НА ФРАНЦУЗСКОМ ЯЗЫКЕ
|
Bati de concasseur |
|
|
Chambre de concassage |
|
|
Concassage |
|
|
Concasseur |
|
|
Concasseur a cone |
|
|
Concasseur a cylindres |
|
|
Concasseur a machoires |
|
|
Concasseur a niarteaux articules |
|
|
Concasseur a marteaux articules a fonctionnement reversible |
|
|
Concasseur a marteaux articules au rotor verticale |
|
|
Concasseur a percussion |
|
|
Concasseur a percussion a fonctionnement reversible |
|
|
Concasseur a stade unique |
|
|
Corps de concasseur |
|
|
Dispositif de securite de concasseur |
Справочное
