
ГОСУДАРСТВЕННЫЙ СТАНДАРТ СОЮЗА ССР
МАШИНЫ ЗЕМЛЕРОЙНЫЕ
ПОГРУЗЧИКИ
ТЕРМИНЫ, ОПРЕДЕЛЕНИЯ И
ТЕХНИЧЕСКАЯ
ХАРАКТЕРИСТИКА ДЛЯ КОММЕРЧЕСКОЙ
ДОКУМЕНТАЦИИ
ГОСТ 27721-88
(ИСО 7131-84)
ГОСУДАРСТВЕННЫЙ КОМИТЕТ СССР ПО СТАНДАРТАМ
Москва
ГОСУДАРСТВЕННЫЙ СТАНДАРТ СОЮЗА ССР
|
Машины землеройные ПОГРУЗЧИКИ Термины, определения и
техническая характеристика Earth-moving machinery. Loaders. |
ГОСТ
(ИСО 7131-84) |
Дата введения 01.01.89
Настоящий стандарт устанавливает термины, определения и содержание технической характеристики для коммерческой документации по самоходным гусеничным и колесным погрузчикам и их рабочему оборудованию.
Настоящий стандарт распространяется на погрузчики по ИСО 6165.
Ссылочные документы приведены в обязательном приложении.
4.1. Погрузчик - самоходная гусеничная или колесная машина с рычажной системой и фронтально расположенным ковшом, заполняемым при поступательном движении машины, которая поднимает, транспортирует и выгружает материал (см. ИСО 6165).
4.2. Базовая машина - погрузчик, соответствующий технической документации изготовителя. Машина должна быть снабжена необходимыми местами крепления и дополнительными устройствами для крепления рабочего оборудования по п. 6.
4.3. Рабочее оборудование - комплект составных частей, монтируемых на базовую машину для обеспечения выполнения ее основной функции в соответствии с назначением.
4.4. Дополнительное оборудование - поставляемая по выбору заказчика сборочная единица из составных частей, которая может быть смонтирована на базовой машине для специального применения.
4.5. Составная часть - деталь или сборочная единица из деталей базовой машины, рабочего оборудования или дополнительного оборудования.
5.1. Типы погрузчиков
5.1.1.1. Гусеничный погрузчик (см. черт. 1)
5.1.1.2. Колесный погрузчик (см. черт. 2)
5.1.2. По расположению двигателя
5.1.2.1. С передним расположением двигателя (см. черт. 3)
5.1.2.2. С задним расположением двигателя (см. черт. 4)
5.1.3. По системе управления поворотом
5.1.3.1. С передними управляемыми колесами (см. черт. 5)
5.1.3.2. С задними управляемыми колесами (см. черт. 6)
5.1.3.3. Со всеми управляемыми колесами (см. черт. 7)
5.1.3.4. С шарнирно-сочлененной рамой (см. черт. 8)
5.1.3.5. С бортовым поворотом (колесный погрузчик) (см. черт. 9а)
5.1.3.6. С независимым вращением движителей каждого борта (колесный погрузчик) (см. черт. 9б)
5.1.3.7. С бортовым поворотом (гусеничный погрузчик) (см. черт. 10)
5.1.3.8. С независимым вращением движителей каждого борта (гусеничный погрузчик) (см. черт. 11)
5.1.4. По системе привода хода
5.1.4.1. С передними ведущими колесами (см. черт. 12)
5.1.4.2. С задними ведущими колесами (см. черт. 13)
5.1.4.3. Со всеми ведущими колесами (см. черт. 14)
Типы по ходовой части (см. п. 5.1.1.)
Черт. 1. Гусеничный погрузчик Черт. 2 Колесный погрузчик
Типы по расположению двигателя (см. п. 5.1.2)
Черт 3. С передним расположением двигателя
Черт. 4. С задним расположением двигателя
Типы по системе управления поворотом (см. п. 5.1.3)
1 - управляемые колеса
Черт. 5. С передними управляемыми колесами
1 - управляемые колеса
Черт. 6. С задними управляемыми колесами
1 - все колеса управляемые
Черт. 7. Со всеми управляемыми колесами
1 - ось поворота полурам
Черт. 8. С шарнирно-сочлененной рамой
1 - центр поворота
Черт. 9а. С бортовым поворотом, v2 = 0 (колесный погрузчик)
1 - центр поворота
Черт. 9б. С независимым вращением движителей каждого борта, v1 ¹ v2 (колесный погрузчик)
1 - управляемая гусеница
Черт. 10. С бортовым поворотом (гусеничный погрузчик)
1 - управляемая гусеница
Черт. 11. С независимым вращением движителей каждого борта, v1 ¹ v2 (гусеничный погрузчик)
Типы по системе привода хода (см. п. 5.1.4)
1 - ведущие колеса
Черт. 12. С передними ведущими колесами
1 - ведущие колеса
Черт. 13. С задними ведущими колесами
1 - ведущие колеса
Черт. 14. Со всеми ведущими колесами
5.2. Размерные характеристики - по черт. 15 и 16.
Определения размерных характеристик - по ИСО 6746/1. Определения размерных характеристик, относящихся только к погрузчикам, приведены в приложении А.
5.3. Масса
5.3.1. Эксплуатационная масса - масса базовой машины с рабочим оборудованием, полностью заправленными топливным баком, гидросистемой, системами смазывания и охлаждения, с порожним ковшом указанного типа и размера и с учетом массы оператора (75 кг).
5.3.2. Отгрузочная масса - масса машины без оператора, с полностью заправленными гидросистемой, системами смазывания и охлаждения, 10%-ной заправкой топливного бака и либо с рабочим оборудованием, кабиной, навесом, устройствами ROPS* или FOPS**, либо без них по указанию изготовителя.
* ROPS - устройство защиты при опрокидывании.
**FOPS - устройство защиты от падающих предметов.
5.3.3. Масса кабины, навеса, устройства ROPS или FOPS - масса кабины, навеса, устройств ROPS или FOPS со всеми их составными частями и элементами крепления к базовой машине.
Черт. 15. Размеры базовой машины (гусеничный погрузчик)
Черт. 16. Размеры базовой машины (колесного погрузчика)
5.4. Наименования составных частей (см. номера позиций на схеме).

1 - ковш; 2 - режущая кромка; 3 - козырек; 4 -
стрела; 5 - стреловой цилиндр;
6 - ковшовый цилиндр; 7 - тяга поворотного механизма; 8 -
реактивная тяга; 9 - рычаг; 10 - коромысло;
11 - зуб ковша; 12 - угловой нож; 13 - боковая
режущая кромка; 14 - обвязочная рама (в случае, когда она выполнена
отдельно от главной рамы машины); 24 - палец шарнира ковша, 25 -
палец шарнира стрелы
Примечание. В соответствующих случаях наименования позиции 7, 8, 9 и 10 могут дополняться определениями «передний» или «задний».
6.1. Определения
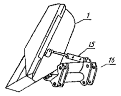
6.1.1. Обратная лопата - механизм, навешиваемый на заднюю часть погрузчика, который обычно копает материал ниже уровня стоянки, поднимает, перемещает с поворотом и выгружает материал, действуя стрелой, рукоятью и ковшом. Копание осуществляется движением ковша в направлении к машине. Обратная лопата поворачивается в плане на угол менее 360° (см. черт. 17).
6.1.2. Рыхлитель - механизм с зубьями для внедрения и рыхления на малую глубину грунта, асфальтовых, гравийных и других дорожных покрытий. Рыхлитель обычно навешивают сзади погрузчика, но он может быть установлен и на задней стороне ковша (см. черт. 18).
6.1.3. Ковш с боковой разгрузкой - ковш, который заполняется при движении машины вперед и может выгружать материал через какую-либо боковую сторону ковша. Он может также выгружать материал вперед (см. черт. 19).
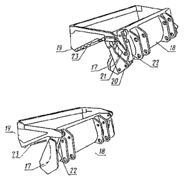
6.1.4. Двухчелюстной ковш - ковш, задняя челюсть которого выполнена в виде бульдозерного отвала с шарнирами в верхней части для крепления передней челюсти, которую можно устанавливать в разные положения, позволяющие использовать оборудование в качестве бульдозера, скрепера, грейфера или погрузочного ковша (см. черт. 20).
6.1.5. Грузовые вилы - конструкция с вилками для подъема, транспортирования и разгрузки складских поддонов (см. черт. 21).
6.1.6. Челюстной захват - механизм с вилками и верхним прижимом для подъема, транспортирования и разгрузки бревен (см. черт. 22).
6.1.7. Лебедка - механизм с барабаном, смонтированный на задней части рамы машины (см. черт. 23).
6.1.8. Основной ковш - ковш для работы с материалами с объемной массой 1,6-1,8 т/м3.
(Введен дополнительно, Изм. № 1).
6.1.9. Увеличенный (уменьшенный) ковш - ковш для работы с легкими (тяжелыми) материалами.
(Введен дополнительно, Изм. № 1).
6.1.10. Скелетный ковш - ковш для выборочного захвата крупнокусковых материалов.
(Введен дополнительно, Изм. № 1).
6.1.11. Ковш с принудительной разгрузкой - ковш, опорожнение которого осуществляется подвижной частью с силовым приводом.
(Введен дополнительно, Изм. № 1).
6.1.12. Крановая безблочная стрела - рабочий орган для подъема и транспортирования штучных грузов на крюковой подвеске.
(Введен дополнительно, Изм. № 1).
6.1.13. Позиционер ковша - устройство для автоматической остановки ковша погрузчика в предварительно заданное положение.
(Введен дополнительно, Изм. № 1).
6.1.14. Конечный останов ковша - устройство для автоматической остановки ковша на предварительно заданной высоте.
(Введен дополнительно, Изм. № 1).
Черт. 17. Размеры обратной лопаты
6.2. Размерные характеристики
6.2.1. Определения размерных характеристик - по ИСО 6746/2.
6.2.2. Определения размерных характеристик, относящихся только к рабочему и дополнительному оборудованию погрузчиков, приведены в приложении В.
Черт. 18. Размеры рыхлителя
Черт. 19. Размеры ковша с боковой разгрузкой
Черт. 20. Размеры двухчелюстного ковша
Черт. 21. Размеры грузовых вил
Черт. 22. Размеры челюстного захвата
Черт. 23. Размеры лебедки
6.3. Наименования составных частей (см. номера позиций на схеме)
6.3.1. Ковш с боковой разгрузкой

1 - ковш; 15 - гидроцилиндр боковой разгрузкой; 16 - рама ковша с люлькой
6.3.2. Двухчелюстной ковш

17 - режущая кромка бульдозерной (нижней) челюсти; 18 - бульдозерная (нижняя) челюсть; 19 - верхняя (подвижная) челюсть; 20 - коромысло; 21 - тяга верхней челюсти; 22 - гидроцилиндр открывания челюсти; 23 - режущая кромка верхней челюсти
7.1. Мощность - нетто двигателя по ИСО 1585
7.2. Опрокидывающая нагрузка - по ИСО 8313.
(Новая редакция, Изм. № 1).
7.3. Номинальная грузоподъемность - по ИСО 5998.
(Новая редакция, Изм. № 1).
7.4. Номинальная вместимость (геометрический объем и объем «шапки») ковша погрузчика - по ИСО 7546.
(Новая редакция, Изм. № 1).
7.5. Вырывное усилие - по ИСО 8313.
(Новая редакция, Изм. № 1).
7.6. Время подъема ковша - время, необходимое для подъема на максимальную высоту ковша с указанным номинальным грузом, лежащего на опорной плоскости отсчета в полностью запрокинутом положении.
7.7. Время опускания ковша - время, необходимое для опускания порожнего ковша с максимальной высоты в положение, при котором днище ковша ляжет на опорную плоскость отсчета.
7.8. Время разгрузки ковша - время, необходимое для поворота ковша из полностью запрокинутого положения в полностью опрокинутое положение при выгрузке номинального груза.
7.9. Максимальная скорость движения - максимальная скорость, которую можно получить на твердой горизонтальной поверхности при движении погрузчика с порожним ковшом на каждой из передач переднего и заднего хода (см. ИСО 6014).
7.10. Тормозная эффективность (колесного погрузчика) по ИСО 3450.
7.11. Диаметр поворота по ГОСТ 27257-87.
8.1. Двигатель (привести характеристики):
Изготовитель и модель
С воспламенением от сжатия или с искровым зажиганием
Тактность (двух- или четырехтактный)
С естественным всасыванием, механическим наддувом или газотурбонаддувом
Число цилиндров
Диаметр цилиндра
Ход поршня
Рабочий объем цилиндров
Система охлаждения (воздушное или водяное)
Вид топлива
Мощность - нетто на маховике ... при ... об/мин
Максимальный крутящий момент ... при ... об/мин
(в соответствующих случаях)
Тип стартера
Напряжение в системе электрооборудования ... В
8.2. Трансмиссия (указать тип)
Примеры:
С ручным переключением, со сцеплением на маховике
С сервопереключением передач, с гидротрансформатором
Объемная гидропередача
Электрическая трансмиссия
Число скоростей переднего и заднего хода
Скорости движения передним и задним ходом
8.3. Гидросистема
Гидроцилиндры (число, тип и размеры): стрелы, ковша
Подача насоса ... при давлении ... при номинальной частоте вращения коленчатого вала двигателя ... об/мин
Давление открывания главного предохранительного клапана
8.4. Фильтры (тип):
Двигателя
Коробки передач
Гидросистемы управления поворотом и торможением
Гидросистемы рабочего оборудования
8.5. Гусеничный погрузчик
8.5.1. Управление поворотом и торможением
Примеры:
Тип тормозов (барабанные, дисковые, мокрые или сухие)
Система привода (гидравлическая, механическая)
8.5.2. Конечные передачи:
Тип (одноступенчатый или двухступенчатый редуктор, планетарная передача)
Передаточное отношение
Смазывание
8.5.3. Гусеничный ход:
Размеры
Площадь опорной поверхности
Число башмаков (с каждой стороны)
Число опорных катков (с каждой стороны)
8.6. Колесный погрузчик
8.6.1. Ведущий мост (указать тип)
Примеры:
Жестко закрепленный или балансирный
Коническая главная передача
Дифференциал
Двухскоростной
Гидрообъемный
Планетарная конечная передача
8.6.2. Рулевое управление (указать тип) - по ГОСТ 27254-87.
Примеры:
С шарнирно-сочлененной рамой
С передними управляемыми колесами
С усилителем, ручное, с объемным гидроприводом
Аварийное
8.6.2.1. Эффективность
Радиус поворота, влево, и вправо ... .
Угол складывания шарнирно-сочлененной рамы ... .
Габаритный диаметр поворота машины ... .
8.6.3. Тормоза
8.6.3.1. Рабочие тормоза
Примеры:
Тип (барабанные, дисковые, мокрые или сухие)
Система привода (пневматические, гидравлические, пневмо-гидравлические, механические и т.д.)
8.6.3.2. Стояночный тормоз:
Тип
Система привода
8.6.3.3. Резервные тормоза:
Тип
Система привода
8.6.3.4. Эффективность торможения (указать) - по ИСО 3450
8.6.4. Шины:
Тип и размер
Протектор
Норма слойности
Размер обода
8.7. Заправочные емкости:
Топливный бак
Картер двигателя
Система охлаждения
Трансмиссия
Картер раздаточной коробки
Гидросистема
Мосты
Конечные передачи
8.8. Характеристики, на которые может повлиять выбор ковша (машина оборудована нестандартными шинами):
Вместимость ковша (номинальная с «шапкой»)
Габаритная рабочая высота
Габаритная длина
Угол разгрузки ковша
Высота разгрузки ковша
Вылет при максимальной высоте подъема
Угол запрокидывания ковша (указать высоту)
Максимальный угол запрокидывания ковша на уровне стоянки
Транспортное положение
Максимальный угол запрокидывания ковша в транспортном положении
Глубина копания
Ширина ковша
Максимальный угол копания
Эксплуатационная масса*
Грузоподъемность
Опрокидывающая нагрузка*
Опрокидывающая нагрузка при определенной высоте*
Вырывное усилие*
Габаритный радиус поворота машины**
* На это значение могут повлиять также выбор шин, балластировка шин, противовес, дополнительное оборудование.
** На это значение может повлиять также выбор шин.
|
Условное обозначение |
Термин |
Определение |
Схема |
||
|
116 |
Глубина копания |
Расстояние по координате Z от опорной плоскости отсчета (GRP) до нижней поверхности режущей кромки ковша, находящегося в самом нижнем положении с горизонтально расположенной режущей кромкой |
|
||
|
Н7 |
Высота подъема в транспортном положении |
Расстояние по координате Z от GRP до оси пальца шарнира максимально запрокинутого ковша при угле въезда 15° (отмеряется от линии, проходящей через нижнюю точку ковша или стрелы, в зависимости от того, что ниже) |
|
||
|
Н8 |
Высота разгрузки |
Расстояние по координате Z от GRP до нижней точки режущей кромки при максимальной высоте шарнира ковша и угле разгрузки 45°. Если угол разгрузки меньше 45°, его следует указать |
|
||
|
Н9 |
Высота шарнира |
Расстояние по координате Z от GRP до оси пальца шарнира максимально поднятого ковша |
|
||
|
Н10 |
Габаритная рабочая высота с максимально поднятым ковшом |
Расстояние по координате Z от GRP до верхней точки, достигаемой максимально поднятым ковшом |
|
||
|
W5 |
Ширина ковша |
Расстояние по координате Y между двумя плоскостями Y, проходящими через наиболее удаленные точки боковых поверхностей ковша |
|
||
|
L6 |
Вылет кромки ковша при разгрузке |
Расстояние по координате Х между двумя плоскостями, одна из которых проходит через наиболее выступающую вперед точку машины (включая шины, гусеницы или раму погрузчика), другая - через наиболее выступающую вперед точку режущей кромки, при максимальной высоте шарнира ковша и угле разгрузки 45. Если угол разгрузки меньше 45°, его следует указать |
|
||
|
L7 |
Габаритная длина с ковшом |
Расстояние по координате X между двумя плоскостями, одна из которых проходит через самую заднюю точку машины, другая - через наиболее выступающую вперед точку режущей кромки горизонтально лежащего днищем на земле ковша |
|
||
|
R3 |
Максимальный радиус поворота с ковшом в транспортном положении |
Расстояние по координате Z от центра поворота до наиболее удаленной точки боковой поверхности ковша при выполнении машиной самого крутого практически возможного поворота |
|
||
|
А2 |
Угол разгрузки |
Максимальный угол, образуемый самым длинным плоским участком внутренней поверхности днища максимально поднятого ковша при вращении ниже горизонтали |
|
||
|
А3 |
Максимальный угол запрокидывания полностью поднятого ковша |
Угол между горизонтальным и полностью запрокинутым положением режущей кромки ковша при максимально поднятой стреле |
|
||
|
А4 |
Максимальный угол запрокидывания ковша на уровне стоянки |
Максимальный угол запрокидывания ковша без перемещения стрелы, начиная с положения, при котором нижняя поверхность режущей кромки находится на GRP |
|
||
|
А5 |
Максимальный угол запрокидывания ковша в транспортном положении |
Угол между горизонтальным и полностью запрокинутым положением режущей кромки ковша при транспортном положении стрелы (см. Н7) |
|
||
|
А6 |
Максимальный угол копания |
Максимальный угол, на который поворачивается ниже горизонтали режущая кромка ковша, находящаяся на GRP |
|
||
|
условное обозначение |
Термин |
Определение |
Схема |
|
|
НН9 |
Транспортная высота обратной лопаты |
Расстояние по координате Z от GRP до верхней точки обратной лопаты, установленной в транспортное положение |
|
|
|
НН10 |
Погрузочная высота обратной лопаты |
Расстояние по координате Z от GRP до нижней точки груженого ковша обратной лопаты |
|
|
|
НН11 |
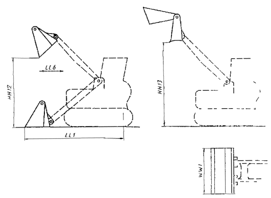
Глубина копания обратной лопаты |
Расстояние по координате Z от GRP до плоскости Z, расположенной на плоском дне траншеи на участке длиной 0,6 м, образованном режущей кромкой или зубьями ковша обратной лопаты |
|
|
|
НН12 |
Максимальная высота разгрузки закрытого двухчелюстного ковша |
Расстояние по координате Z от GRP до нижней точки режущей кромки закрытого двухчелюстного ковша при максимальной высоте шарнира ковша и максимальном угле разгрузки ковша |
|
|
|
HH13 |
Максимальная высота разгрузки раскрытого двухчелюстного ковша |
Расстояние по координате Z от GRP до нижней точки режущей кромки бульдозерной челюсти раскрытого двухчелюстного ковша при максимальной высоте шарнира ковша и горизонтальном положении нижней поверхности бульдозерной челюсти |
|
|
|
HH14 |
Максимальная высота боковой разгрузки |
Расстояние по координате Z от GRP до нижней точки боковой разгрузочной кромки ковша при максимальной высоте шарнира ковша и максимальном угле боковой разгрузки |
|
|
|
НН15 |
Максимальная высота подъема горизонтальных вилок грузовых вил |
Расстояние по координате Z от GRP до верхней поверхности горизонтально установленных вилок при максимальной высоте шарнира грузовых вил |
|
|
|
НН16 |
Высота горизонтальных вилок полностью поднятого челюстного захвата |
Расстояние по координате 2 от GRP до нижней горизонтально установленной поверхности вилок при максимальной высоте шарнира челюстного захвата |
|
|
|
НН17 |
Высота концов вилок при разгрузке полностью поднятого челюстного захвата |
Расстояние по координате Z от GRP до концов вилок при максимальной высоте шарнира челюстного захвата в положении разгрузки |
|
|
|
WW6 |
Ширина по вилкам грузовых вил |
Расстояние по координате Y между двумя плоскостями Y, проходящими через внешние поверхности расставленных вилок |
|
|
|
LL5 |
Вылет режущей кромки ковша от оси вращения поворотной колонки |
Расстояние по координате Х между двумя плоскостями X, одна из которых проходит через ось вращения поворотной колонки, другая - через наиболее выступающую вперед точку режущей кромки ковша обратной лопаты при установке стрелы в положение максимального вылета |
|
|
|
LL6 |
Вылет кромки двухчелюстного ковша при разгрузке |
Расстояние по координате Х между двумя плоскостями X, одна из которых проходит через наиболее выступающую вперед точку машины (включая шины, гусеницы и раму погрузчика), другая - через наиболее выступающую точку режущей кромки двухчелюстного ковша при максимальной высоте шарнира ковша и максимальном угле разгрузки |
|
|
|
AA4 |
Угол поворота ковша обратной лопаты |
Максимальный угол поворота ковша обратной лопаты в плоскости Y при его вращении вокруг пальца шарнира ковша |
|
|
|
АА5 |
Угол вращения поворотной колонки |
Максимальный угол в плоскости Z, описываемый стрелой обратной лопаты при ее вращении вокруг оси поворотной колонки |
|
|
ИНФОРМАЦИОННЫЕ ДАННЫЕ
1. ВНЕСЕН Министерством строительного, дорожного и коммунального машиностроения СССР
2. Постановлением Государственного комитета СССР по стандартам от 25.05.88 № 1459 введен в действие государственный стандарт СССР ГОСТ 27721-88, в качестве которого непосредственно применен международный стандарт ИСО 7131-84, с 01.01.89
3. Введен впервые
СОДЕРЖАНИЕ