МЕЖГОСУДАРСТВЕННЫЙ СТАНДАРТ
ПИЛОМАТЕРИАЛЫ ХВОЙНЫХ ПОРОД
Атмосферная сушка и хранение
ГОСТ 3808.1-80
МЕЖГОСУДАРСТВЕННЫЙ СТАНДАРТ
|
ПИЛОМАТЕРИАЛЫ ХВОЙНЫХ ПОРОД Атмосферная сушка и хранение Coniferous sawn timber. |
ГОСТ Взамен |
Постановлением Государственного комитета СССР по стандартам от 12 марта 1980 г. № 1136 срок введения установлен
с 01.01.81
Ограничение срока действия снято по протоколу № 5-94 Межгосударственного Совета по стандартизации, метрологии и сертификации (ИУС 11-12-94)
Настоящий стандарт распространяется на пиломатериалы хвойных пород и устанавливает правила их атмосферной сушки и хранения.
Стандарт не распространяется на атмосферную сушку авиационных и резонансных пиломатериалов хвойных пород и брусья.
1.1. Пиломатериалы должны укладываться для атмосферной сушки на специально оборудованном складе.
1.2. Склад должен располагаться на проветриваемом, выровненном и сухом участке.
1.3. Пиломатериалы на складе должны быть уложены в пакетные или рядовые штабеля отдельными группами, кварталами и участками с учетом применяемого подъемно-транспортного оборудования, а также в соответствии с требованиями противопожарных норм проектирования складов лесных материалов.
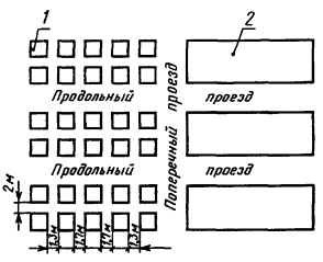
1.4. Штабеля в группе необходимо отделять друг от друга межштабельными разрывами. Разрывы в продольном направлении должны увеличиваться от крайних штабелей к средним. Допускаются одинаковые разрывы в продольном направлении шириной не менее 1,5 м. Планировка групп штабелей пиломатериалов дана на черт. 1-3 приложения 1.
(Измененная редакция, Изм. № 1).
1.5. Группы штабелей отделяются между собой продольными проездами шириной не менее 10 м и поперечными разрывами или проездами шириной не менее 5 м, одинаковыми по ширине на всем протяжении.
Продольные проезды должны совпадать с направлением господствующего ветра в активный период сушки (апрель-октябрь), а в районах, где господствующий ветер выражен слабо, - в направлении север - юг.
1.6. Штабеля на складе по отношению к господствующим ветрам располагают в зависимости от толщин пиломатериалов: до 25 мм - с наветренной стороны, свыше 50 мм - в середине, от 25 до 50 мм - с подветренной стороны склада.
Пиломатериалы должны быть уложены кромками параллельно или перпендикулярно продольному проезду.
(Измененная редакция, Изм. № 1).
1.7. Территория склада должна очищаться от отходов и мусора. Пиломатериалы, не отвечающие требованиям нормативно-технической документации, должны быть убраны после разборки штабелей.
1.8. На сторонах штабелей, обращенных к продольным проездам, на кромках досок или табличках указывают породу пиломатериалов, сорт (при сортировке до сушки), размеры, количество пиломатериалов в м3 и в штуках и дату окончания укладки штабеля (после покрытия штабеля крышей).
(Измененная редакция, Изм. № 1).
1.9. Каждый штабель пиломатериалов должен быть уложен на фундамент, который выполняется из стационарных или переносных элементов - железобетонных или бетонных опор и железобетонных или деревянных прогонов. Допускается применять деревянные опоры.
Схемы фундаментов для укладки пакетных штабелей автопогрузчиком и кранами приведены на черт. 4, а размеры переносных железобетонных опор и прогонов на черт. 5.
Размеры фундаментов и размещение опор должны соответствовать нагрузке от веса штабеля, размерам и конструкции сушильных пакетов и штабелей, виду механизации, используемой для штабелевочных работ.
Фундаменты штабелей, формируемых автопогрузчиком, оборудуются настилом.
Каждый фундамент, квартал, проезд должны иметь постоянные порядковые номера.
1.10. Деревянные опоры фундаментов штабелей должны быть пропитаны трудновымываемыми водорастворимыми защитными средствами в соответствии с требованиями ГОСТ 20022.6-93.
(Измененная редакция, Изм. № 1).
1.11. Высота фундамента должна быть не менее 500 мм. В местностях с максимальной высотой снежного покрова более 500 мм фундамент должен иметь высоту 750 мм.
На складах при наличии водоотводов и асфальтобетонных покрытий подштабельных мест при высоте снежного покрова менее 250 мм высота фундамента может быть снижена до 300 мм.
1.12. Верхние пласты прогонов фундаментов должны быть расположены горизонтально. Отклонение от горизонтали в направлении, перпендикулярном прогонам, не должно превышать ±20 мм.
1.13. Пиломатериалы, поступающие для атмосферной сушки, должны быть антисептированы в соответствии с требованиями ГОСТ 10950-78 и уложены в штабеля в течение 2 сут.
Пиломатериалы, антисептирование которых не предусмотрено в связи с их назначением, после выпиловки должны быть уложены в штабеля в течение суток при температуре воздуха +5 °С и выше и в течение трех суток при температуре воздуха ниже +5 °С.
1.14. Атмосферная сушка пиломатериалов должна производиться до влажности не более 22 %. Рекомендуемые сроки сушки для различных климатических зон СССР (приложение 2) указаны в приложении 3.
(Измененная редакция, Изм. № 1).
1.15. Влажность пиломатериалов определяют по ГОСТ 16588-91.
1.16. Технологические процессы сушки, транспортирования и хранения, погрузка, разгрузка пиломатериалов на складе должны соответствовать правилам безопасности труда по ГОСТ 12.3.042-88.
2.1. Пиломатериалы для атмосферной сушки должны укладываться в пакет или штабель раздельно по сечениям (необрезные - по толщине), породам, сортам (при сортировке до сушки) и степени обработки.
2.2. Пакетный штабель для сушки пиломатериалов состоит из сушильных пакетов, одинаковых по размерам поперечного сечения и уложенных на фундамент горизонтальными и вертикальными рядами (черт. 6). Размеры пакета определяются технической характеристикой применяемых подъемно-транспортных механизмов и оборудования. Длина пакета должна быть не более 7 м. Ширина штабеля определяется длиной укладываемых пакетов или суммой длин стыкуемых пакетов, длина - технической характеристикой применяемых механизмов. Высота штабеля при крановой укладке, включая высоту фундамента и крыши, должна быть не более 12 м, а при укладке автопогрузчиком - не более 7 м.
2.3. Пакеты и штабеля должны быть прямоугольного сечения, а их поверхности, образуемые кромками и торцами пиломатериалов, - вертикальными.
На одной из торцовых поверхностей пакетов или штабелей допускается выход концов пиломатериалов за выровненную поверхность не более чем на 300 мм. Количество выступающих концов не должно превышать 5 % общего числа пиломатериалов, выходящих торцами на эту поверхность.
На одной из боковых поверхностей пакетов допускается выход концов досок, используемых в качестве межрядовых прокладок, за выровненную поверхность не более чем на 300 мм.
2.4. Пиломатериалы различной длины укладывают в пакеты вразбежку, при этом стопы в торцах пакета должны быть выровнены (черт. 7 а).
При ручном формировании пакета короткие пиломатериалы укладывают со стыковкой по длине. Каждый стыкуемый пиломатериал располагают не менее чем на двух прокладках (черт. 76). Торцы пакета должны быть выровнены. Не допускается стыковка коротких пиломатериалов в нижних рядах и крайних стопах пакета.
Необрезные пиломатериалы укладывают в пакет более широкими торцами в разные стороны. Узкие пиломатериалы укладывают в середину, а широкие - по краям пакета.
2.2-2.4. (Измененная редакция, Изм. № 1).
2.5. Между отдельными пакетами в каждом горизонтальном ряду должны быть устроены разрывы шириной не менее 250 мм. Для повышения равномерности просыхания применяют дифференцированные разрывы, увеличивающиеся к центру штабеля. Межпакетные разрывы должны образовывать вертикальные каналы.
2.6. В рядовые штабеля должны укладываться пиломатериалы шириной не более 150 мм. Для пиломатериалов ниже 3-го сорта по ГОСТ 8486-86 и экспортных ниже 4-го сорта ширина не ограничивается.
Длина и ширина штабеля должна быть не более 8 м, а высота - не более 4 м. Допускается укладывать на одном фундаменте два рядовых штабеля.
(Измененная редакция, Изм. № 1).
2.7. Пиломатериалы в рядовые штабеля укладывают так, чтобы торцы досок располагались на второй прокладке, устанавливаемой рядом с крайней прокладкой (глубокий потай), или на половине ширины крайней прокладки (впотай) черт. 8.
Допускается укладывать пиломатериалы в рядовые штабеля с выступающими за прокладку концами, если они предназначены к отгрузке в текущий сушильный сезон.
2.8. Для равномерного просыхания пиломатериалов и лучшей вентиляции посередине рядового штабеля на всю его высоту должен быть устроен вертикальный канал шириной не менее 400 мм.
Кроме вертикального канала в рядовых штабелях должны быть устроены горизонтальные каналы шириной не менее 150 мм на высоте 1,00±0,10 и 2,15±0,20 м от нижнего ряда пиломатериалов (черт. 9).
2.9. Пиломатериалы укладывают в пакет или штабель с прокладками. Прокладки бывают межрядовые - для укладки на них рядов пиломатериалов и межпакетные - для укладки пакетов.
2.10. Межпакетные и рядовые прокладки следует изготовлять из пиломатериалов не ниже 2-го сорта по ГОСТ 8486-86, с влажностью не более 22 %, без гнили и синевы.
Прокладки для хранения должны быть уложены в местах, защищенных от атмосферных осадков.
2.11. Межрядовые прокладки для пакетов изготовляют толщиной 22 и 25 мм и шириной 40-50 мм. Длина прокладок должна быть равна ширине пакета.
В пределах одного склада толщина прокладок должна быть одинакова.
Для пакетов из пиломатериалов шириной не более 150 мм прокладками могут служить те же пиломатериалы.
Крайние прокладки в пакете должны располагаться от торцов пакета на расстоянии не более 500 мм.
В зависимости от конструкции пакетоформирующих машин допускается для толстых пиломатериалов располагать крайние прокладки на расстоянии не более 700 мм.
Количество прокладок по длине пакета и расстояние между прокладками в пакете должно соответствовать количеству прогонов в фундаменте и расстоянию между ними.
Под концы досок, обращенных внутрь пакета (при величине свисания более 500 мм), укладывают дополнительно обычные или укороченные прокладки.
2.12. Межпакетные прокладки изготовляют квадратного сечения не менее 100´100 мм. Количество межпакетных прокладок в ряду пакетного штабеля должно соответствовать количеству прогонов в фундаменте.
В одном штабеле должны применяться межпакетные прокладки одного сечения.
2.13. Межпакетные и межрядовые прокладки в пакетах и рядовых штабелях должны образовывать вертикальные ряды. Прокладки должны располагаться в пределах ширины прогонов фундамента. Концы прокладок не должны выступать за боковые поверхности штабеля или пакета.
При формировании штабеля портальным краном допускается выход межпакетных прокладок за боковые поверхности пакета не более чем на 300 мм.
(Измененная редакция, Изм. № 1).
2.14. В рядовые штабеля пиломатериалы укладывают на прокладки из тех же досок и брусков.
2.15. В пакетах и рядовых штабелях между пиломатериалами в каждом горизонтальном ряду должны быть оставлены промежутки - шпации.
2.16. В пакетах ширина шпаций между отдельными досками и брусками должна быть не менее 50 мм для сосновых, лиственничных и кедровых пиломатериалов и не менее 35 мм для еловых и пихтовых.
При укладке пиломатериалов толщиной от 50 мм и более в весенне-летний период в 3 и 4-й климатических зонах ширина шпаций не должна превышать размера, равного 0,4 ширины доски.
Для антисептированных пиломатериалов ширину шпаций допускается уменьшать до 25 мм.
Для антисептированных еловых и сосновых пиломатериалов толщиной от 38 до 75 мм и шириной от 100 до 125 мм допускается укладка в пакеты шириной до 1350 мм без шпаций. Шпации по высоте пакета, сформированного из обрезных пиломатериалов, должны образовывать вертикальные каналы.
2.17. В рядовых штабелях, пакетах шириной от 3 м и выше ширина шпаций между смежными досками в каждом ряду устанавливается в зависимости от климатических зон согласно таблице.
мм
|
Ширина пиломатериалов |
Ширина шпаций |
|
|
для 1-2 климатических зон |
для 3-4 климатических зон |
|
|
До 150 включ. |
100-125 |
75-100 |
|
От 160 до 280 |
150-175 |
125-150 |
2.16, 2.17. (Измененная редакция, Изм. № 1).
2.18. Каждый сформированный штабель должен быть покрыт крышей. В качестве кровельного материала используются доски толщиной до 25 мм (без гнили, отверстий от выпавших сучков, сквозных трещин) или другой кровельный материал.
2.19. При формировании пакетных штабелей пиломатериалов каждый законченный вертикальный ряд пакетов (или несколько рядов) покрывают односкатной или двухскатной секционной съемной крышей. Щели между отдельными крышами должны быть перекрыты. Уклон крыш должен быть не менее 60 мм на 1 м ее длины. Нижний конец должен иметь свесы не менее 500 мм для штабелей высотой до 10 м и не менее 700 мм - для штабелей высотой более 10 м. В промежутках между смежными вертикальными рядами пакетов величина свесов должна быть не менее 100 мм. Схема съемной крыши при формировании штабеля краном приведена на черт. 1, а при формировании краном или автопогрузчиком - на черт. 2 приложения 4.
Допускается штабеля при формировании автопогрузчиком покрывать разборными крышами.
2.20. Рядовые штабеля должны быть покрыты разборной крышей из панелей или отдельных досок в течение 2 сут. Панели могут быть изготовлены как из досок, так и другого кровельного материала. Необходимый минимальный уклон составляет для крыш из отдельных досок - 120 мм на 1 м, для крыш из панелей - 60 мм на 1 м. Уклон крыши должен быть обращен в проезды.
Крыша должна иметь свесы в сторону промежутков между штабелями не менее 500 мм, в сторону проездов - не менее 750 мм.
Уклон крыши создается разной высотой подголовников, на устройство которых используется тот же пиломатериал, который уложен в штабель или отрезки досок. Подголовники должны быть расположены над рядами фундаментных опор.
Настил досок на крышу необходимо производить в два ряда с перекрытием стыка кромок первого ряда досками второго ряда и с напусками концов досок верхнего ряда на концы досок нижнего ряда.
Укладка панелей также должна производиться с напуском, а щели между панелями необходимо перекрывать.
2.21. Для устойчивости крыши на штабеле ее крепят к прокладкам крепежным материалом, обеспечивающим прочность и надежность крепления.
2.19-2.21. (Измененная редакция, Изм. № 1).
3.1. Пиломатериалы, высушенные до влажности не более 22 %, для длительного хранения должны укладываться в штабеля, состоящие из плотных пакетов.
Формирование и хранение пакетов - по ГОСТ 16369-96 и ГОСТ 19041-85.
Рекомендуемое
1 - штабель; 2 - группа штабелей
Черт. 1
Планировка групп штабелей при пакетной укладке автопогрузчиком

1 - пакет; 2 - штабель, 3 - группа штабелей
Черт. 2
Планировка групп штабелей при укладке кранами

а - козловым
б - башенным
1 - пакет; 2 - штабель; 3 - группа штабелей
Черт. 3
Схема подштабельных фундаментов для укладки пакетных штабелей

а - автопогрузчиком
б - кранами
1 - опора; 2 - прогон; 3 - переносные рамки; 4 - пониженные опоры
Черт. 4
Опоры фундамента
1 - опора; 2 - прогон; 3 - прокладка из толя
Черт. 5
Пакетный штабель
Черт. 6
Способы укладки пиломатериалов разных длин в сушильные пакеты
а - вразбежку; б - со стыковкой коротких пиломатериалов по длине
Черт. 7
Черт. 6, 7 (Измененная редакция, Изм. № 1).
Способы укладки пиломатериалов в рядовые штабеля
а - в глубокий потай

б - впотай
Черт. 8
Горизонтальные каналы в рядовом штабеле
Черт. 9
Справочное
В зависимости от климатических условий отдельных районов территория Союза ССР в отношении просыхания пиломатериалов условно подразделена на четыре зоны:
1 - Архангельская, Мурманская, Вологодская, Кировская, Пермская, Свердловская, Сахалинская, Камчатская и Магаданская области, северная часть Хабаровского края и восточная часть Приморского края;
северная часть Западной и Восточной Сибири и Коми АССР;
2 - Карельская АССР, Ленинградская, Новгородская, Псковская области, южная часть Хабаровского края и западная часть Приморского края;
3 - Латвийская ССР, Литовская ССР, Эстонская ССР, Белорусская ССР, Смоленская, Калининградская, Московская, Калининская, Орловская, Тульская, Рязанская, Ивановская, Ярославская, Горьковская, Брянская, Челябинская, Владимирская, Калужская, Костромская, Амурская области, южная часть Западной и Восточной Сибири, Чувашская АССР, Марийская АССР, Мордовская АССР, Татарская АССР, Башкирская АССР, Удмуртская АССР;
4 - Украинская ССР, Молдавская ССР, Курская, Астраханская, Куйбышевская, Саратовская, Волгоградская, Оренбургская, Воронежская, Тамбовская, Пензенская, Ростовская, Ульяновская области, Северный Кавказ и Закавказье, Казахская ССР, Таджикская ССР, Узбекская ССР и Киргизская ССР.
Рекомендуемое
|
Месяц укладки пиломатериалов для сушки |
Номер климатической зоны |
Сроки сушки в днях при толщине пиломатериалов, мм |
||
|
15-25 |
35-50 |
55-75 |
||
|
Март |
4 |
12-23 |
25-32 |
35-45 |
|
Апрель-май |
1 |
34-38 |
43-51 |
55-64 |
|
2 |
30-34 |
38-47 |
51-60 |
|
|
3 |
26-30 |
34-36 |
43-51 |
|
|
4 |
13-15 |
17-22 |
22-30 |
|
|
Июнь-июль |
1 |
13-17 |
22-43 |
43-55 |
|
2 |
10-13 |
17-34 |
34-51 |
|
|
3 |
9-10 |
15-22 |
26-34 |
|
|
4 |
8-9 |
13-15 |
17-25 |
|
|
Август-сентябрь |
1 |
30-34 |
43-51 |
55-60 |
|
2 |
26-34 |
36-43 |
47-55 |
|
|
3 |
22-30 |
30-38 |
43-47 |
|
|
4 |
11-17 |
20-26 |
30-34 |
|
|
Октябрь |
4 |
12-23 |
25-32 |
35-45 |
Примечания:
1. В таблице указаны сроки сушки пиломатериалов (сосна, ель, кедр, пихта) в днях со средней положительной температурой для пакетных штабелей. Для рядовых штабелей сроки сушки увеличиваются на 10 %, для лиственничных пиломатериалов - на 60 %.
2. Сроки сушки пиломатериалов, по толщине отличающихся от указанных в таблице, определяют методом интерполирования.
(Измененная редакция, Изм. № 1).
Рекомендуемое
Черт. 1
Съемная крыша, применяемая при формировании штабелей автопогрузчиком или краном
Черт. 2
Черт. 2. (Введен дополнительно, Изм. № 1).
СОДЕРЖАНИЕ
|
3. Хранение сухих пиломатериалов. 5 Приложение 1 Планировка групп рядовых штабелей. 5 Приложение 2 Климатические зоны ссср. 9 Приложение 4 Съемная крыша при формировании штабеля краном.. 9 |