
ГОСУДАРСТВЕННЫЕ СТАНДАРТЫ СОЮЗА ССР
ДРЕВЕСИНА
ОТБОР ОБРАЗЦОВ И МЕТОДЫ ИСПЫТАНИЙ
ГОСТ
16483.10-73*
(СТ СЭВ 816-77)
ГОСУДАРСТВЕННЫЙ КОМИТЕТ СССР ПО СТАНДАРТАМ
Москва
ГОСУДАРСТВЕННЫЙ СТАНДАРТ СОЮЗА ССР
|
ДРЕВЕСИНА Методы определения предела прочности при сжатии вдоль волокон. Wood. Methods for determination
|
ГОСТ (СТ СЭВ 816-77) Взамен ГОСТ 16483.10-72 |
Постановлением Государственного комитета стандартов Совета Министров СССР от 23 октября 1973 г. № 2364 срок введения установлен
с 01.07.74
Постановлением Госстандарта от 23.11.83 № 5486 срок действия продлен
до 01.07.89
Настоящий стандарт распространяется на древесину и устанавливает методы определения предела прочности при сжатии вдоль волокон.
Стандарт соответствует CT СЭВ 816-77 и МС ИCO 3787-76 в части определения предела прочности при сжатии вдоль волокон кондиционированных образцов.
Методы не распространяются на авиационные пиломатериалы и заготовки.
(Измененная редакция, Изм. № 2).
Метод предназначен для определения предела прочности древесины при кондиционировании образцов по ГОСТ 16483.0-78.
машина испытательная по ГОСТ 7855-84 с погрешностью измерения нагрузки не более 1%;
штангенциркуль по ГОСТ 166-80 с погрешностью измерения не более 0,1 мм;
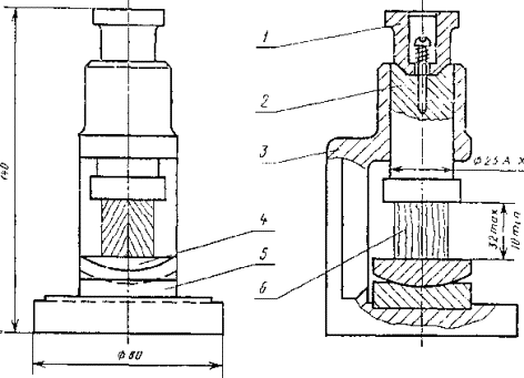
приспособление к испытательной машине (см. чертеж);
аппаратура для определения влажности - по ГОСТ 16483.7-71.
(Измененная редакция, Изм. № 1, 3).
1.2. Подготовка к испытанию
1.2.2. Точность изготовления, влажность и количество образцов должны соответствовать требованиям ГОСТ 16483.0-78.
1 - колпачок; 2 - пуансон; 3 - корпус; 4 - шаровая опора; 5 - плита; 6 - образец.
1.3. Проведение испытания
1.3.1. Размеры а и b поперечного сечения образца измеряют на середине длины с погрешностью не более 0,1 мм.
1.3.2. Образец помещают в приспособление для испытания на сжатие. Нагрузку на образец передают через пуансон 2. Образец нагружают равномерно с постоянной скоростью нагружения или постоянной скоростью перемещения нагружающей головки машины. Скорость должна быть такой, чтобы образец разрушился через (1,0±0,5) мин после начала нагружения. При использовании машины с электромеханическим приводом допускается проводить нагружение образца равномерно со скоростью (25000±5000) Н/мин или проводить испытание при скорости перемещения нагружающей головки испытательной машины 4 мм/мин при условии достижения предела прочности при сжатии вдоль волокон в указанный интервал времени. Максимальную нагрузку Р измеряют с погрешностью не более 1 %.
(Измененная редакция, Изм. № 1,3).
1.3.3. После испытаний определяют влажность образцов в соответствии с требованиями ГОСТ 16483.7-71. Пробой для определения влажности является весь образец.
Минимальное количество испытываемых на влажность образцов должно соответствовать ГОСТ 16483.0-78.
(Измененная редакция, Изм. № 1).
1.4. Обработка результатов
1.4.1. Предел прочности древесины при кондиционировании образцов (sW) в МПа вычисляют по формуле
![]()
где Рmах - максимальная нагрузка, Н;
a и b - размеры поперечного сечения образца, мм.
Вычисление производят с округлением до 0,5 МПа.
1.4.2. Предел прочности (sW) в МПа пересчитывают на влажность 12 % по формулам:
для образцов с влажностью меньше предела гигроскопичности
![]()
где a - поправочный коэффициент, равный 0,04;
sW - предел прочности образца с влажностью W в момент испытания, МПа;
W - влажность образца в момент испытания, %;
для образцов с влажностью, равной или больше предела гигроскопичности
![]()
где sW - предел прочности образца с влажностью W в момент испытания, МПа;
- коэффициент пересчета при влажности 30 %, равный;
0,475 - для клена; 0,535 - для вяза шершавого эллиптического и ясеня; 0,550 - для акации, вяза гладкого, листоватого и среднего, дуба, липы и ольхи; 0,450 - для бука, сосны кедровой и обыкновенной; 0,445 - для граба, груши, ели, ивы, ореха, осины, пихты и тополя; 0,400 - для березы и лиственницы.
Вычисление производят с округлением до 0,5 МПа.
1.4.3. Статистическую обработку опытных данных выполняют по ГОСТ 16483.0-78.
1.4.1-1.4.3. (Измененная редакция, Изм. № 1).
1.4.4. Результаты испытаний и расчетов записывают в протокол испытании, форма которого приведена в приложении 1.
2.1. Аппаратура по п. 1.1.
2.2. Подготовка к испытанию
2.2.1. Образцы изготовляют по п. 1.2.1.
2.2.2. Точность изготовления и количество образцов должны соответствовать требованиям ГОСТ 16483.0-78.
2.2.3. Образцы должны находиться до испытания в условиях, исключающих изменение их начальниц влажности. При определении предела прочности без определения влажности допускается увлажнять образцы до влажности более 30% в воде при температуре 15-25°С в течение:
не менее 4 ч - образцы из древесины, ели, сосны кедровой, заболони сосны обыкновенной, березы и других рассеяннососудистых пород;
не менее 20 ч - образцы из древесины лиственницы, ядра сосны, дуба и других кольцесосудистых пород.
2.3. Проведение испытания по пп. 1.3.1 - 1.3.3. После испытания определяют влажность каждого образца с погрешностью не более 1% по ГОСТ 16483.7-71. Пробой для определения влажности является весь образец.
Влажность увлажненных образцов и из свежесрубленной древесины не определяют.
2.4. Обработка результатов
2.4.1. Предел прочности образца с влажностью в момент испытания (sW) в МПа вычисляют по формуле
![]()
где Рmax - максимальная нагрузка, Н;
а и b - размеры поперечного сечения образца, мм.
Вычисление производят с округлением до 0,5 МПа.
2.4.2. Предел прочности пересчитывают на влажность 12% (s12) в МПа по формуле
![]()
где
- коэффициент пересчета, определяемый по
таблице при известной плотности древесины.
Если определение плотности не производилось, допускается принимать коэффициент пересчета равным средней величине для исследуемой породы по таблице приложения 2.
Вычисление производят с округлением до 0,5 МПа.
Пример. Коэффициент пересчета
для породы с
плотностью 650 кг/м3 равен 0,502. Коэффициент
для породы с
плотностью 700 кг/м3 равен 0,525. Коэффициент
для породы с
плотностью 670 кг/м3 определяют по формуле
![]()
(Измененная редакция, Изм. № 1).
2.4.3. Статистическую обработку опытных данных выполняют по ГОСТ 16483.0-78.
2.4.4. Результаты испытаний и расчетов заносят в протокол, форма которого приведена в приложении 3.
|
Влажность, % |
Коэффициент пересчета |
||||||||||
|
400 |
450 |
500 |
550 |
600 |
650 |
700 |
750 |
800 |
850 |
900 |
|
|
5 |
1,485 |
1,480 |
1,475 |
1,463 |
1,450 |
1,430 |
1,403 |
1,380 |
1,348 |
1,310 |
1,270 |
|
6 |
1,393 |
1,386 |
1,380 |
1,375 |
1,363 |
1,345 |
1,330 |
1,308 |
1,280 |
1,250 |
1,220 |
|
7 |
1,321 |
1,315 |
1,308 |
1,300 |
1,290 |
1,275 |
1,262 |
1,245 |
1,221 |
1,200 |
1,176 |
|
8 |
1,240 |
1,235 |
1,230 |
1,228 |
1,221 |
1,210 |
1,200 |
1,188 |
1,170 |
1,150 |
1,135 |
|
9 |
1,172 |
1,170 |
1,168 |
1,163 |
1,160 |
1,151 |
1,142 |
1,132 |
1,120 |
1,110 |
1,098 |
|
10 |
1,108 |
1,105 |
1,103 |
1,102 |
1,100 |
1,095 |
1,090 |
1,083 |
1,078 |
1,070 |
1,061 |
|
11 |
1,048 |
1,046 |
1,045 |
1,044 |
1,042 |
1,041 |
1,040 |
1,038 |
1,032 |
1,030 |
1,028 |
|
12 |
1,000 |
1,000 |
1,000 |
1,000 |
1,000 |
1,000 |
1,000 |
1,000 |
1,000 |
1,000 |
1,000 |
|
13 |
0,945 |
0,947 |
0 948 |
0,949 |
0,950 |
0,951 |
0,955 |
0,960 |
0,963 |
0,068 |
0,970 |
|
14 |
0,898 |
0,899 |
0,900 |
0,901 |
0,903 |
0,910 |
0,915 |
0,920 |
0,925 |
0,935 |
0,941 |
|
15 |
0,849 |
0,850 |
0,852 |
0,855 |
0,860 |
0,868 |
0,873 |
0,882 |
0,892 |
0,902 |
0,915 |
|
16 |
0,803 |
0,808 |
0,810 |
0,815 |
0,820 |
0,833 |
0,850 |
0,855 |
0,865 |
0,880 |
0,890 |
|
17 |
0,768 |
0,770 |
0,775 |
0,780 |
0,783 |
0,798 |
0,806 |
0,818 |
0,848 |
0,855 |
0,870 |
|
18 |
0,725 |
0,730 |
0,735 |
0,741 |
0,751 |
0,764 |
0,780 |
0,790 |
0,808 |
0,830 |
0,850 |
|
19 |
0,690 |
0,695 |
0,700 |
0,708 |
0,720 |
0,730 |
0,740 |
0,760 |
0,785 |
0,810 |
0,830 |
|
20 |
0,655 |
0,660 |
0,670 |
0,680 |
0,685 |
0,700 |
0,720 |
0,740 |
0,760 |
0,788 |
0,810 |
|
21 |
0,625 |
0,630 |
0,638 |
0,645 |
0,655 |
0,672 |
0,693 |
0,710 |
0,738 |
0,765 |
0,795 |
|
22 |
0,600 |
0,605 |
0,611 |
0,620 |
0,631 |
0,650 |
0,670 |
0,690 |
0,716 |
0,746 |
0,780 |
|
23 |
0,570 |
0,580 |
0,582 |
0,595 |
0,608 |
0,625 |
0,647 |
0,668 |
0,695 |
0,730 |
0,765 |
|
24 |
0,550 |
0,556 |
0,561 |
0,570 |
0,585 |
0,608 |
0,628 |
0,650 |
0,676 |
0,714 |
0,750 |
|
25 |
0,525 |
0,533 |
0,540 |
0,550 |
0,560 |
0,585 |
0,610 |
0,630 |
0,660 |
0,700 |
0,736 |
|
26 |
0,503 |
0,512 |
0,520 |
0,530 |
0,542 |
0,567 |
0,590 |
0,612 |
0,645 |
0,686 |
0,723 |
|
27 |
0,480 |
0,490 |
0,500 |
0,510 |
0,525 |
0,548 |
0,570 |
0,600 |
0,632 |
0,672 |
0,710 |
|
28 |
0,460 |
0,470 |
0,480 |
0,490 |
0,508 |
0,530 |
0,552 |
0,580 |
0,620 |
0,660 |
0,698 |
|
29 |
0,444 |
0,452 |
0,464 |
0,475 |
0.492 |
0,515 |
0,536 |
0,570 |
0,607 |
0,650 |
0,688 |
|
30 |
0,428 |
0,432 |
0,446 |
0,460 |
0,476 |
0,502 |
0,525 |
0,555 |
0,596 |
0,640 |
0,680 |
Примечание. Коэффициенты пересчета
для промежуточных
значений плотности определяют линейным интерполированием коэффициентов
для смежных значений плотности.
Рекомендуемое
|
Порода_______________________ Температура воздуха Q, °С___________________ Скорость нагружения, Н/мин__________________ Степень насыщенности воздуха j, % ____________________________________ |
|||||||
|
Маркировка образца |
Размеры поперечного сечения образца, мм |
Максимальная нагрузка Рmax, H |
Влажность W, % |
Предел прочности МПа |
Примечание |
||
|
а |
b |
sW |
s12 |
||||
|
|
|
|
|
|
|
|
|
|
*___*___________19___г. Подпись_______________ |
|||||||
Справочное
|
Влажность, % |
Средние коэффициенты пересчета |
|||||
|
вяз эллиптический, ясень |
акация, вяз гладкий, листоватый и средний дуб, липа, ольха |
клен |
бук, сосна кедровая и обыкновенная |
граб, груша, ель, ива, орех, осина, пихта, тополь |
береза, лиственница |
|
|
5 |
1,480 |
1,355 |
1,335 |
1,480 |
1,335 |
1,520 |
|
6 |
1,395 |
1,305 |
1,275 |
1,401 |
1,275 |
1,440 |
|
7 |
1,320 |
1,240 |
1,220 |
1,325 |
1,220 |
1,350 |
|
8 |
1,250 |
1,190 |
1,175 |
1,250 |
1,175 |
1,279 |
|
9 |
1,180 |
1,145 |
1,130 |
1,190 |
1,130 |
1,190 |
|
10 |
1,120 |
1,095 |
1,085 |
1,125 |
1,085 |
1,120 |
|
11 |
1,055 |
1,050 |
1,040 |
1,060 |
1,040 |
1,055 |
|
12 |
1,000 |
1,000 |
1,000 |
1,000 |
1,000 |
1,000 |
|
13 |
0,940 |
0,955 |
0,955 |
0,950 |
0,955 |
0,945 |
|
14 |
0,895 |
0,915 |
0,915 |
0,900 |
0,915 |
0,895 |
|
15 |
0,845 |
0,880 |
0,880 |
0,855 |
0,880 |
0,850 |
|
16 |
0,800 |
0,840 |
0,840 |
0,805 |
0,835 |
0,800 |
|
17 |
0,760 |
0,810 |
0,805 |
0,760 |
0,800 |
0,755 |
|
18 |
0,720 |
0,780 |
0,765 |
0,725 |
0,765 |
0,715 |
|
19 |
0,685 |
0,750 |
0,735 |
0,685 |
0,735 |
0,675 |
|
20 |
0,655 |
0,720 |
0,705 |
0,650 |
0,705 |
0,640 |
|
21 |
0,620 |
0,690 |
0,680 |
0,615 |
0,670 |
0,605 |
|
22 |
0,600 |
0,665 |
0,650 |
0,585 |
0,640 |
0,570 |
|
23 |
0,580 |
0,640 |
0,625 |
0,560 |
0,610 |
0,540 |
|
21 |
0,565 |
0,620 |
0,600 |
0,535 |
0,585 |
0,515 |
|
25 |
0,550 |
0,605 |
0,580 |
0,515 |
0,560 |
0,490 |
|
26 |
0,545 |
0,585 |
0,555 |
0,495 |
0,535 |
0,470 |
|
27 |
0,540 |
0,575 |
0,535 |
0,480 |
0,510 |
0,450 |
|
28 |
0,535 |
0,565 |
0,515 |
0,470 |
0,490 |
0,430 |
|
29 |
0,535 |
0,555 |
0,495 |
0,455 |
0,465 |
0,415 |
|
³30 |
0,535 |
0,550 |
0,475 |
0,450 |
0,445 |
0,400 |
Изменение № 3 ГОСТ 16183.10-73 Древесина. Методы определения предела прочности при сжатии вдоль волокон
Утверждено и введено в действие Постановлением Государственного комитета СССР по стандартам от 11.10.88 № 3430
Дата введения 01.01.89
СОДЕРЖАНИЕ