
ГОСУДАРСТВЕННЫЙ СТАНДАРТ СОЮЗА ССР
ПИЛОМАТЕРИАЛЫ И ЗАГОТОВКИ
МЕТОД ОПРЕДЕЛЕНИЯ ПРЕДЕЛА ПРОЧНОСТИ ПРИ ПРОДОЛЬНОМ РАСТЯЖЕНИИ
ГОСТ 21554.5-78
ГОСУДАРСТВЕННЫЙ КОМИТЕТ СССР ПО СТАНДАРТАМ
Москва
РАЗРАБОТАН Министерством лесной и деревообрабатывающей промышленности СССР
ИСПОЛНИТЕЛИ
А.М. Боровиков, канд. техн. наук; С.А. Кабаков; Н.Н. Дулевский
ВНЕСЕН Министерством лесной и деревообрабатывающей промышленности СССР
Зам. министра В.Ф. Зарецкий
УТВЕРЖДЕН И ВВЕДЕН В ДЕЙСТВИЕ Постановлением Государственного комитета стандартов Совета Министров СССР от 14 июля 1978 г. № 1899
ГОСУДАРСТВЕННЫЙ СТАНДАРТ СОЮЗА ССР
|
ПИЛОМАТЕРИАЛЫ И ЗАГОТОВКИ Метод определения предела прочности при продольном растяжении Sawn timber and semi-manufactures. Method for determining the ultimate strength in tension parallel to grain |
ГОСТ (СТ СЭВ 2024-79) |
Постановлением Государственного комитета стандартов Совета Министров СССР от 14 июля 1978 г. № 1899 срок введения установлен
с 01.01. 1980 г.
до 01.01. 1985 г.
Несоблюдение стандарта преследуется по закону
Настоящий стандарт распространяется на обрезные конструкционные пиломатериалы и заготовки хвойных и лиственных пород и устанавливает метод определения предела прочности при продольном растяжении.
Сущность метода заключается в измерении нагрузки, разрушающей образец при продольном растяжении, и вычислении напряжения при этой нагрузке.
Стандарт не распространяется на авиационные пиломатериалы и заготовки а также на испытания малых чистых образцов.
Стандарт полностью соответствует СТ СЭВ 2024-79
Измененная редакция, Изм. № 1.
1.1. Образцы отличаются от пиломатериалов и заготовок длиной. Общая длина образца должна быть такой, чтобы длина его рабочей части, свободной от захватов, превышала ширину не менее чем в 8 раз.
1.2. Для определения минимальной прочности образец выпиливают так, чтобы он включал наиболее слабое из-за наличия сортоопределяющих пороков сечение пиломатериала или заготовки. Это сечение должно быть расположено в пределах зоны, распространяющейся на 1,5 ширины по обе стороны от центра образца.
1.3. Влажность образцов должна соответствовать требованиям нормативно-технической документации на пиломатериалы и заготовки.
1.4. Количество образцов зависит от целей испытания. План контроля при приемочных испытаниях устанавливают в нормативно-технической документации на пиломатериалы и заготовки.
Для исследовательских целей выборку формируют по ГОСТ 18231-73 в количестве не менее 140 образцов.
1.4. Измененная редакция, Изм. № 1.
Машина испытательная по ГОСТ 7855-74, обеспечивающая измерение нагрузки с погрешностью не более 1%, приспособленная для испытания образцов длиной согласно п. 1.1.
Приспособление (см. справочное приложение 1), состоящее из двух агрегатов, соединенных с нагружающим механизмом машины и передающих усилие на образец с помощью натяга, создаваемого клиновидными губками. Сопрягающиеся с образцом поверхности губок должны иметь рифление и скос, постепенно уменьшающий давление на образец от максимальной величины до нуля (см. справочное приложение 2). Предельное значение шкалы силоизмерителя испытательной машины не должно превышать нагрузку Fраз более чем в 3 раза.
Измененная редакция, Изм. № 1, 2.
Штангенциркуль по ГОСТ 166-73 с погрешностью измерения не более 0,1 мм.
Аппаратура и материалы для определения влажности пиломатериалов и заготовок по ГОСТ 16588-79.
3.1. У каждого образца на середине длины измеряют толщину S и ширину b с округлением до 0,1 мм.
3.1. Измененная редакция, Изм. № 1.
3.2. Образец зажимают в захватах приспособления тка, чтобы продольные оси образца и захватов совпадали.
Нагрузку на образец прикладывают непрерывно при постоянной скорости роста напряжений или постоянной скорости перемещения захвата. Скорость должна быть такой, чтобы продолжительность нагружения до разрушения образца составляла не менее 2 и не более 5 мин. Допускается испытание со скоростью роста напряжений (0,15±0,05) МПа/с.
3.2. Измененная редакция, Изм. № 1.
3.3. Влажность образцов определяют по ГОСТ 16588-79.
3.3. Измененная редакция, Изм. № 1.
4.1. Предел прочности каждого образца при продольном растяжении (s) в мегапаскалях вычисляют с округлением до 0,1 МПа по формуле
,
где Fразр - разрушающая нагрузка, Н;
b - ширина образца, мм;
t - толщина образца, мм.
Образцы, разрушившиеся в захватах, при расчетах не учитывают.
4.1. Измененная редакция, Изм. № 1.
4.2. За результат испытаний принимают среднюю арифметическую величину предела прочности отобранных образцов.
При испытаниях с исследовательскими целями статистический анализ опытных данных выполняют по ГОСТ 16483.0-78
4.3. Результаты измерений и расчетов заносят в протокол испытаний, приведенный в рекомендуемом приложении. В графе "примечание" протокол указывают характер разрушения образца.
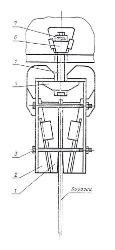
Справочное
Приспособление для передачи растягивающего усилия на образец

1 - губка; 2 - скоба; 3 - болт; 4 - основание; 5 - тяга; 6 - сухарь; 7 - гайка
Справочное
Клиновидная губка, используемая в захватах для испытания на растяжение пиломатериалов и заготовок

1, 4 - плиты; 2 - направляющая; 3 - ребро; 5 - связь
Рекомендуемое
ПРОТОКОЛ
определения предела прочности пиломатериалов и заготовок при продольном
растяжении
|
Сечение _________________________ Порода __________________________ Район произрастания ______________ _________________________________ |
Температура воздуха, °С _____________ Степень насыщенности воздуха, % ___________________________________ Длина образцов, мм _________________ Скорость роста напряжений, МПа/с ___________________________________ |
|||||||||||||||||||||
|
Тип захватов _________________________
|
||||||||||||||||||||||
|
||||||||||||||||||||||
|
"___" ______________ 19 __ г. Подпись __________________ |
||||||||||||||||||||||
СОДЕРЖАНИЕ
|
Приложение 1 Приспособление для передачи растягивающего усилия на образец Приложение 2 Клиновидная губка, используемая в захватах для испытания на растяжение пиломатериалов и заготовок Приложение 3 Протокол определения предела прочности пиломатериалов и заготовок при продольном растяжении |