МЕЖГОСУДАРСТВЕННЫЙ СТАНДАРТ
ЕДИНАЯ СИСТЕМА КОНСТРУКТОРСКОЙ ДОКУМЕНТАЦИИ
ЛИНИИ
ГОСТ 2.303-68
ИПК ИЗДАТЕЛЬСТВО СТАНДАРТОВ
Москва
МЕЖГОСУДАРСТВЕННЫЙ СТАНДАРТ
|
Единая система конструкторской документации ЛИНИИ Unified system for design documentation.
|
ГОСТ
Взамен
|
Утвержден Комитетом стандартов, мер и измерительных приборов при Совете Министров СССР в декабре 1967 г. Срок введения установлен
с 01.01.71
1. Настоящий стандарт устанавливает начертания и основные назначения линий на чертежах всех отраслей промышленности и строительства, выполняемых в бумажной и (или) электронной форме.
Специальные назначения линий (изображение резьбы, шлицев, границы зон с различной шероховатостью и т.д.) определены в соответствующих стандартах Единой системы конструкторской документации.
(Измененная редакция, Изм. № 1, 2, 3).
2. Наименование, начертание, толщина линий по отношению к толщине основной линии и основные назначения линий должны соответствовать указанным в табл. 1. Примеры применения линий показаны на черт. 1-9.
(Измененная редакция, Изм. № 1).
3. Для разрезов и сечений допускается концы разомкнутой линии соединить штрихпунктирной тонкой линией.
![]()
Измененная редакция, Изм. № 3).
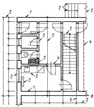
4. В строительных чертежах в разрезах видимые линии контуров, не попадающие в плоскость сечения, допускается выполнять сплошной тонкой линией (черт. 9).
5. Толщина сплошной основной линии s должна быть в пределах от 0,5 до 1,4 мм в зависимости от величины и сложности изображения, а также от формата чертежа.
Толщина линий одного и того же типа должна быть одинакова для всех изображений на данном чертеже, вычерчиваемых в одинаковом масштабе.
Таблица 1
|
Начертание |
Толщина линии по отношению к толщине основной линии |
Основное назначение |
|
|
1. Сплошная толстая основная |
|
s |
Линии видимого контура Линии перехода видимые Линии контура сечения (вынесенного и входящего в состав разреза) |
|
2. Сплошная тонкая |
|
От |
Линии контура наложенного сечения Линии размерные и выносные Линии штриховки Линии-выноски Полки линий-выносок и подчеркивание надписей Линии для изображения пограничных деталей («обстановка») Линии ограничения выносных элементов на видах, разрезах и сечениях Линии перехода воображаемые Следы плоскостей, линии построения характерных точек при специальных построениях |
|
3. Сплошная волнистая |
|
|
Линии обрыва Линии разграничения вида и разреза |
|
4. Штриховая |
|
|
Линии невидимого контура Линии перехода невидимые |
|
5. Штрихпунктирная тонкая |
|
От |
Линии осевые и центровые Линии сечений, являющиеся осями симметрии для наложенных или вынесенных сечений |
|
6. Штрихпунктирная утолщенная |
|
От |
Линии, обозначающие поверхности, подлежащие термообработке или покрытию Линии для изображения элементов, расположенных перед секущей плоскостью («наложенная проекция») |
|
7. Разомкнутая |
|
От s до
|
Линии сечений |
|
8. Сплошная тонкая с изломами |
|
От |
Длинные линии обрыва |
|
9. Штрихпунктирная с двумя точками тонкая |
|
От |
Линии сгиба на развертках. Линии для изображения частей изделий в крайних или промежуточных положениях Линии для изображения развертки, совмещенной с видом |
Черт. 1

Черт. 2

Черт. 3

Черт. 4

Черт. 5

Черт. 6

Черт. 7

Черт. 8
Черт. 9
Примечание. Номера позиций на черт. 1-9 соответствуют номерам пунктов табл. 1.
(Измененная редакция, Изм. № 1).
6. Наименьшая толщина линий и наименьшее расстояние между линиями в зависимости от формата чертежа должна соответствовать указанным в табл. 2.
Таблица 2
|
Наименьшая толщина линий в мм, выполненных |
Наименьшее расстояние между линиями в мм, выполненными |
||||
|
в туши |
в карандаше |
в туши |
в карандаше |
||
|
С размером большей стороны 841 мм и более |
0,3 |
0,8 |
1,0 |
||
|
С размером большей стороны менее 841 мм |
0,2 |
0,3 |
0,8 |
||
7. Длину штрихов в штриховых и штрихпунктирных линиях следует выбирать в зависимости от величины изображения.
8. Штрихи в линии должны быть приблизительно одинаковой длины.
9. Промежутки между штрихами в линии должны быть приблизительно одинаковой длины.
10. Штрихпунктирные линии должны пересекаться и заканчиваться штрихами.
11. Штрихпунктирные линии, применяемые в качестве центровых, следует заменять сплошными тонкими линиями, если диаметр окружности или размеры других геометрических фигур в изображении менее 12 мм (черт. 10).
Черт. 10