ГОСТ 2.311-68
МЕЖГОСУДАРСТВЕННЫЙ СТАНДАРТ
ЕДИНАЯ СИСТЕМА КОНСТРУКТОРСКОЙ ДОКУМЕНТАЦИИ
ИЗОБРАЖЕНИЕ РЕЗЬБЫ
ИПК ИЗДАТЕЛЬСТВО СТАНДАРТОВ
Москва
МЕЖГОСУДАРСТВЕННЫЙ СТАНДАРТ
|
Единая система конструкторской документации ИЗОБРАЖЕНИЕ РЕЗЬБЫ Unified system for design
documentation. |
ГОСТ |
Дата введения 01.01.71
1. Настоящий стандарт устанавливает правила изображения и нанесения обозначения резьбы на чертежах всех отраслей промышленности и строительства.
Стандарт соответствует СТ СЭВ 284-76.
2. Резьбу изображают:
а) на стержне - сплошными основными линиями по наружному диаметру резьбы и сплошными тонкими линиями - по внутреннему диаметру.
На изображениях, полученных проецированием на плоскость, параллельную оси стержня, сплошную тонкую линию по внутреннему диаметру резьбы проводят на всю длину резьбы без сбега, а на видах, полученных проецированием на плоскость, перпендикулярную к оси стержня, по внутреннему диаметру резьбы проводят дугу, приблизительно равную 3/4 окружности, разомкнутую в любом месте (черт. 1, 2);
Черт. 1
Черт. 2
б) в отверстии - сплошными основными линиями по внутреннему диаметру резьбы и сплошными тонкими линиями - по наружному диаметру.
На разрезах, параллельных оси отверстия, сплошную тонкую линию по наружному диаметру резьбы проводят на всю длину резьбы без сбега, а на изображениях, полученных проецированием на плоскость, перпендикулярную к оси отверстия, по наружному диаметру резьбы проводят дугу, приблизительно равную 3/4 окружности, разомкнутую в любом месте (черт. 3, 4).
Черт. 3
Черт. 4
Сплошную тонкую линию при изображении резьбы наносят на расстоянии не менее 0,8 мм от основной линии и не более величины шага резьбы.
3. Резьбу, показываемую как невидимую, изображают штриховыми линиями одной толщины по наружному и по внутреннему диаметру (черт. 5).
Черт. 5
4. Линию, определяющую границу резьбы, наносят на стержне и в отверстии с резьбой в конце полного профиля резьбы (до начала сбега). Границу резьбы проводят до линии наружного диаметра резьбы и изображают сплошной основной или штриховой линией, если резьба изображена как невидимая (черт. 6-8).
Черт. 6
Черт. 7
Черт. 8
5. Штриховку в разрезах и сечениях проводят до линии наружного диаметра резьбы на стержнях и до линии внутреннего диаметра в отверстии, т.е. в обоих случаях до сплошной основной линии (см. черт. 3, 4, 7, 8).
6. Размер длины резьбы с полным профилем (без сбега) на стержне и в отверстии указывают, как показано на черт. 9а и черт. 10а.
Размер длины резьбы (со сбегом) указывают, как показано на черт. 9б и черт. 10б.
При необходимости указания величины сбега на стержне размеры наносят, как показано на черт. 9в.
Сбег резьбы изображают сплошной тонкой прямой линией, как показано на черт. 9б, в и черт. 10б.
Черт. 9
Черт. 10
Недорез резьбы, выполненной до упора, изображают, как показано на черт. 11а и в.
Допускается изображать недорез резьбы, как показано на черт. 11б и г.
Черт. 11
(Измененная редакция, Изм. № 1).
7. Основную плоскость конической резьбы на стержне, при необходимости, указывают тонкой сплошной линией, как показано на черт. 12.
Черт. 12
8. На чертежах, по которым резьбу не выполняют, конец глухого резьбового отверстия допускается изображать, как показано на черт. 13 и 14, даже при наличии разности между глубиной отверстия под резьбу и длиной резьбы.
Черт. 13
Черт. 14
9. Фаски на стержне с резьбой и в отверстии с резьбой, не имеющие специального конструктивного назначения, в проекции на плоскость, перпендикулярную к оси стержня или отверстия, не изображают (черт. 15-17). Сплошная тонкая линия изображения резьбы на стержне должна пересекать линию границы фаски (см. черт. 15).
Черт. 15

Черт. 16
Черт. 17
10. Резьбу с нестандартным профилем показывают одним из способов, изображенных на черт. 18, со всеми необходимыми размерами и предельными отклонениями. Кроме размеров и предельных отклонений резьбы, на чертеже указывают дополнительные данные о числе заходов, о левом направлении резьбы и т.п. с добавлением слова «Резьба».
Черт. 18
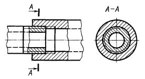
11. На разрезах резьбового соединения в изображении на плоскости, параллельной к его оси, в отверстии показывают только часть резьбы, которая не закрыта резьбой стержня (черт. 19, 20).
Черт. 19
Черт. 20
12. Обозначения резьб указывают по соответствующим стандартам на размеры и предельные отклонения резьб и относят их для всех резьб, кроме конических и трубной цилиндрической, к наружному диаметру, как показано на черт. 21, 22.
Черт. 21
Черт. 22
Обозначения конических резьб и трубной цилиндрической резьбы наносят, как показано на черт. 23.
Черт. 23
Примечание. Знаком «*» отмечены места нанесения обозначения резьбы.
13. Специальную резьбу со стандартным профилем обозначают сокращенно Сп и условным обозначением резьбы.
(Измененная редакция, Изм. № 1).
ИНФОРМАЦИОННЫЕ ДАННЫЕ
1. РАЗРАБОТАН И ВНЕСЕН Комитетом стандартов, мер и измерительных приборов при Совете Министров СССР
РАЗРАБОТЧИКИ
В.Р. Верченко, Я.Г. Старожилец, Ю.И. Степанов, В.И. Дозорцев, Б.Я. Кабаков, Т.Н. Каневская
2. УТВЕРЖДЕН И ВВЕДЕН В ДЕЙСТВИЕ Постановлением Комитета стандартов, мер и измерительных приборов при Совете Министров СССР в декабре 1967 г.
3. Стандарт соответствует СТ СЭВ 284-76
4. ВЗАМЕН ГОСТ 3459-59
5. ИЗДАНИЕ (апрель 2000 г.) с Изменением № 1, утвержденным в апреле 1987 г. (ИУС 7-87)