Система нормативных документов в строительстве
СВОД ПРАВИЛ
ПО ПРОЕКТИРОВАНИЮ И СТРОИТЕЛЬСТВУ
ПРОЕКТИРОВАНИЕ ЗВУКОИЗОЛЯЦИИ
ОГРАЖДАЮЩИХ КОНСТРУКЦИЙ
ЖИЛЫХ И ОБЩЕСТВЕННЫХ ЗДАНИЙ
СП 23-103-2003
ГОСУДАРСТВЕННЫЙ КОМИТЕТ РОССИЙСКОЙ ФЕДЕРАЦИИ
ПО СТРОИТЕЛЬСТВУ И ЖИЛИЩНО-КОММУНАЛЬНОМУ КОМПЛЕКСУ
(ГОССТРОЙ РОССИИ)
Москва
2004
ПРЕДИСЛОВИЕ
1 РАЗРАБОТАН Научно-исследовательским институтом строительной физики (НИИСФ РААСН) (кандидаты техн. наук Климухин А.А., Анджелов В.Л., Шубин И.Л.), Московским научно-исследовательским и проектным институтом типологии, экспериментального проектирования (инж. Лалаев Э.М., Федоров Н.Н.) при участии Центрального научно-исследовательского и проектного института типового и экспериментального проектирования жилища (ЦНИИЭП жилища) (канд. техн. наук Крейтан В.Г.) и Московского государственного строительного университета (МГСУ) (канд. техн. наук Герасимов А.И.)
ВНЕСЕН Управлением технического нормирования, стандартизации и сертификации в строительстве и ЖКХ Госстроя России
2 ОДОБРЕН И РЕКОМЕНДОВАН к применению в качестве нормативного документа Системы нормативных документов в строительстве постановлением Госстроя России от 25.12.2003 № 217
3 ВЗАМЕН Руководства по расчету и проектированию звукоизоляции ограждающих конструкций зданий
СОДЕРЖАНИЕ
Настоящий Свод правил является дальнейшим развитием инструктивно-нормативной документации по вопросам расчета и проектирования звукоизоляции ограждений зданий. Он дополняет и уточняет ряд положений, содержащихся в СНиП 23-03-2003 «Защита от шума», а также приводит ряд конкретных примеров по расчету и проектированию звукоизоляции ограждающих конструкций зданий.
Особое внимание следует обратить на то, что в связи с введением в СНиП 23-03-2003 «Защита от шума» новой системы оценки звукоизоляции, соответствующей стандарту 717 Международной организации по стандартизации (ИСО), произошло изменение в численных значениях индексов изоляции воздушного шума и индексов приведенных уровней ударного шума, определенных по СНиП II-12-77, а соответственно все расчеты скорректированы на новые значения индексов.
Для возможности сопоставления с новой системой оценки звукоизоляции данных, приводимых в технической литературе в ранее применявшихся характеристиках звукоизоляции, следует использовать следующие соотношения:
Rw = Iв + 2 дБ;
Lnw =Iу - 7 дБ,
где Rw и Lnw - значения индексов по новому СНиПу;
Iв и Iу - значения индексов по СНиП II-12-77.
СП 23-103-2003
СВОД ПРАВИЛ ПО ПРОЕКТИРОВАНИЮ И СТРОИТЕЛЬСТВУ
ПРОЕКТИРОВАНИЕ ЗВУКОИЗОЛЯЦИИ
ОГРАЖДАЮЩИХ
КОНСТРУКЦИЙ ЖИЛЫХ И ОБЩЕСТВЕННЫХ ЗДАНИЙ
PROJECTION OF SOUND
INSULATION OF SEPARATING CONSTRUCTIONS
IN DOMESTIC AND PUBLIC BUILDINGS
1.1 Нормируемыми параметрами звукоизоляции внутренних ограждающих конструкций жилых и общественных зданий, а также вспомогательных зданий производственных предприятий являются индексы изоляции воздушного шума ограждающими конструкциями Rw, дБ, и индексы приведенного уровня ударного шума Lnw, дБ (для перекрытий).
Нормируемым параметром звукоизоляции наружных ограждающих конструкций (в том числе окон, остеклений) является звукоизоляция RA тран, дБА, представляющая собой изоляцию внешнего шума, производимого потоком городского транспорта.
1.2 Нормативные значения индексов изоляции воздушного шума внутренними ограждающими конструкциями Rw и индексов приведенного уровня ударного шума Lnw для жилых, общественных зданий, а также для вспомогательных зданий производственных предприятий приведены в таблице 1 для категорий зданий А, Б и В:
- категория А - высококомфортные условия;
- категория Б - комфортные условия;
- категория В - предельно допустимые условия.
Категория здания определяется техническим заданием на проектирование.
Таблица 1
|
Наименование и расположение ограждающей конструкции |
Rw, дБ |
Lnw, дБ |
|
|
|
Жилые здания |
|
|
|
1 |
Перекрытия между помещениями квартир и отделяющие помещения квартир от холлов, лестничных клеток и используемых чердачных помещений: |
|
|
|
в домах категории А |
54 |
551 |
|
|
в домах категории Б |
52 |
581 |
|
|
в домах категории В |
50 |
601 |
|
|
2 |
Перекрытия между помещениями квартир и расположенными под ними магазинами: |
|
|
|
в домах категории А |
59 |
55 |
|
|
452 |
|||
|
в домах категорий Б и В |
57 |
581 |
|
|
482 |
|||
|
3 |
Перекрытия между комнатами в квартире в двух уровнях: |
|
|
|
в домах категории А |
47 |
63 |
|
|
в домах категории Б |
45 |
66 |
|
|
в домах категории В |
43 |
68 |
|
|
4 |
Перекрытия между жилыми помещениями общежитий |
50 |
60 |
|
5 |
Перекрытия, отделяющие помещения культурно-бытового обслуживания общежитий друг от друга и от помещений общего пользования (холлы, вестибюли и пр.) |
47 |
651 |
|
6 |
Перекрытия между помещениями квартиры и расположенными под ними ресторанами, кафе, спортивными залами: |
|
|
|
в домах категории А |
62 |
55 |
|
|
452 |
|||
|
в домах категорий Б и В |
60 |
58 |
|
|
482 |
|||
|
7 |
Перекрытия между помещениями квартиры и расположенными под ними административными помещениями, офисами: |
|
|
|
в домах категории А |
52 |
582 |
|
|
в домах категорий Б и В |
50 |
602 |
|
|
8 |
Стены и перегородки между квартирами, между помещениями квартир и лестничными клетками, холлами, коридорами, вестибюлями: |
|
|
|
в домах категории А |
54 |
- |
|
|
в домах категории Б |
52 |
- |
|
|
в домах категории В |
50 |
- |
|
|
9 |
Стены между помещениями квартир и магазинами: |
|
|
|
в домах категории А |
59 |
- |
|
|
в домах категорий Б и В |
57 |
- |
|
|
10 |
Перегородки между комнатами, между кухней и комнатой в одной квартире: |
|
|
|
в домах категории А |
43 |
- |
|
|
в домах категорий Б и В |
41 |
- |
|
|
11 |
Перегородки между санузлом и комнатой одной квартиры |
47 |
- |
|
12 |
Стены и перегородки между комнатами общежитий |
50 |
- |
|
13 |
Стены и перегородки, отделяющие помещения культурно-бытового обслуживания общежитий друг от друга и от помещений общего пользования (холлы, вестибюли, лестничные клетки) |
47 |
- |
|
14 |
Входные двери квартир: |
|
|
|
в домах категории А |
34 |
- |
|
|
в домах категории Б |
32 |
- |
|
|
в домах категории В |
30 |
- |
|
|
|
Гостиницы |
|
|
|
15 |
Перекрытия между номерами: |
|
|
|
категории А |
52 |
57 |
|
|
категории Б |
50 |
60 |
|
|
категории В |
48 |
62 |
|
|
16 |
Перекрытия, отделяющие номера от помещений общего пользования (вестибюли, холлы, буфеты): |
|
|
|
категории А |
54 |
55 |
|
|
502 |
|||
|
категорий Б и В |
52 |
58 |
|
|
532 |
|||
|
17 |
Перекрытия, отделяющие номера от помещений ресторанов, кафе: |
|
|
|
категории А |
62 |
57 |
|
|
452 |
|||
|
категорий Б и В |
59 |
60 |
|
|
482 |
|||
|
18 |
Стены и перегородки между номерами: |
|
|
|
категории А |
52 |
- |
|
|
категории Б |
50 |
- |
|
|
категории В |
48 |
- |
|
|
19 |
Стены и перегородки, отделяющие номера от помещений общего пользования (лестничные клетки, вестибюли, холлы, буфеты): |
|
|
|
категории А |
54 |
- |
|
|
категорий Б и В |
52 |
- |
|
|
20 |
Стены и перегородки, отделяющие номера от ресторанов, кафе: |
|
|
|
категории А |
62 |
- |
|
|
категорий Б и В |
59 |
- |
|
|
|
Административные здания, офисы |
|
|
|
21 |
Перекрытия между рабочими комнатами, кабинетами, секретариатами и отделяющие эти помещения от помещений общего пользования (вестибюли, холлы): |
|
|
|
категории А |
52 |
632 |
|
|
категорий Б и В |
50 |
662 |
|
|
22 |
Перекрытия, отделяющие рабочие комнаты, кабинеты от помещений с источниками шума (машбюро, телетайпные и т.п.): |
|
|
|
категории А |
54 |
602 |
|
|
категорий Б и В |
52 |
632 |
|
|
23 |
Стены и перегородки между кабинетами и отделяющие кабинеты от рабочих комнат: |
|
|
|
категории А |
51 |
- |
|
|
категорий Б и В |
49 |
- |
|
|
24 |
Стены и перегородки, отделяющие рабочие комнаты от помещений общего пользования (вестибюли, холлы, буфеты) и от помещений с источниками шума (машбюро, телетайпные и т.п.): |
|
|
|
категории А |
50 |
- |
|
|
категорий Б и В |
48 |
- |
|
|
25 |
Стены и перегородки, отделяющие кабинеты от помещений общего пользования и шумных помещений: |
|
|
|
категории А |
54 |
- |
|
|
категорий Б и В |
52 |
- |
|
|
|
Больницы и санатории |
|
|
|
26 |
Перекрытия между палатами, кабинетами врачей |
47 |
60 |
|
27 |
Перекрытия между операционными и отделяющие операционные от палат и кабинетов |
57 |
60 |
|
28 |
Перекрытия, отделяющие палаты, кабинеты врачей от помещений общего пользования (вестибюли, холлы) |
52 |
63 |
|
29 |
Перекрытия, отделяющие палаты, кабинеты врачей от столовых, кухонь |
57 |
502 |
|
30 |
Стены и перегородки между палатами, кабинетами врачей |
47 |
- |
|
31 |
Стены и перегородки между операционными и отделяющие операционные от других помещений. Стены и перегородки, отделяющие палаты и кабинеты от столовых и кухонь |
57 |
- |
|
32 |
Стены и перегородки, отделяющие палаты и кабинеты от помещений общего пользования |
52 |
- |
|
|
Учебные заведения |
|
|
|
33 |
Перекрытия между классами, кабинетами, аудиториями и отделяющие эти помещения от помещений общего пользования (коридоры, вестибюли, холлы) |
47 |
63 |
|
34 |
Перекрытия между музыкальными классами средних учебных заведений |
57 |
58 |
|
35 |
Перекрытия между музыкальными классами высших учебных заведений |
60 |
53 |
|
36 |
Стены и перегородки между классами, кабинетами и аудиториями и отделяющие эти помещения от помещений общего пользования |
47 |
- |
|
37 |
Стены и перегородки между музыкальными классами средних учебных заведений и отделяющие эти помещения от помещений общего пользования |
57 |
- |
|
38 |
Стены и перегородки между музыкальными классами высших учебных заведений |
60 |
- |
|
|
Детские дошкольные учреждения |
|
|
|
39 |
Перекрытия между групповыми комнатами, спальнями |
47 |
63 |
|
40 |
Перекрытия, отделяющие групповые комнаты, спальни от кухонь |
51 |
632 |
|
41 |
Стены и перегородки между групповыми комнатами, спальнями и между другими детскими комнатами |
47 |
- |
|
42 |
Стены и перегородки, отделяющие групповые комнаты, спальни от кухонь |
51 |
- |
|
1 Требования предъявляются также к передаче ударного шума в жилые помещения квартир при ударном воздействии на пол помещения смежной квартиры (в том числе и находящейся на том же этаже или по диагонали). 2 Требования предъявляются к передаче ударного шума в защищаемое от шума помещение при ударном воздействии на пол помещения, являющегося источником шума. |
|||
Нормативные значения RA тран для жилых комнат, номеров гостиниц, общежитий, кабинетов и рабочих комнат административных зданий, палат больниц, кабинетов врачей площадью до 25 м2 приведены в таблице 2 в зависимости от расчетного уровня транспортного шума у фасада здания. Для промежуточных значений расчетных уровней требуемую величину RA тран следует определять интерполяцией.
Таблица 2 - Нормативные требования к звукоизоляции окон
|
Назначение помещений |
Требуемые значения RA тран, дБА, при эквивалентных уровнях звука у фасада здания, дБА, при наиболее интенсивном движении транспорта (в дневное время, час «пик») |
|||||
|
60 |
65 |
70 |
75 |
80 |
||
|
1 |
Палаты больниц, санаториев, кабинеты медицинских учреждений |
15 |
20 |
25 |
30 |
35 |
|
2 |
Жилые комнаты квартир в домах: |
|
|
|
|
|
|
категории А |
15 |
20 |
25 |
30 |
35 |
|
|
категорий Б и В |
- |
15 |
20 |
25 |
30 |
|
|
3 |
Жилые комнаты общежитий |
- |
- |
15 |
20 |
25 |
|
4 |
Номера гостиниц: |
|
|
|
|
|
|
категории А |
15 |
20 |
25 |
30 |
35 |
|
|
категории Б |
- |
15 |
20 |
25 |
30 |
|
|
категории В |
- |
- |
15 |
20 |
25 |
|
|
5 |
Жилые помещения домов отдыха, домов-интернатов для инвалидов |
15 |
20 |
25 |
30 |
35 |
|
6 |
Рабочие комнаты, кабинеты в административных зданиях и офисах: |
|
|
|
|
|
|
категории А |
- |
- |
15 |
20 |
25 |
|
|
категорий Б и В |
- |
- |
- |
15 |
20 |
|
1.3 Требуемую звукоизоляцию ограждающих конструкций, отделяющих защищаемые от шума помещения от помещений с источниками шума, нехарактерными для помещений, перечисленных в таблице 1 (трансформаторные, венткамеры, ИТП), следует определять в виде изоляции воздушного шума Rтр, дБ, в октавных полосах частот нормируемого диапазона.
1.4 Требуемую изоляцию воздушного шума Rтр, дБ, в октавных полосах частот ограждающей конструкции, через которую проникает шум, следует определять при распространении шума в помещение, защищаемое от шума, из смежного помещения с источниками шума, а также с прилегающей территории по формуле
Rтр = Lш - 10 lgВи + 10 lgS - 10 lgk - Lдоп, (1)
где Lш - октавный уровень звукового давления в помещении с источником шума на расстоянии 2 м от разделяющего помещения ограждения, дБ;
Ви - акустическая постоянная изолируемого помещения, м2;
S - площадь разделяющего ограждения, м2;
Lдоп - допустимый октавный уровень звукового давления, дБ;
k - коэффициент, учитывающий нарушение диффузности звукового поля, принимается по таблице 3 в зависимости от среднего коэффициента звукопоглощения aср в изолируемом помещении.
Таблица 3
|
aср |
k |
10 lgk, дБ |
|
0,2 |
1,25 |
1,0 |
|
0,4 |
1,6 |
2,0 |
|
0,5 |
2,0 |
3,0 |
|
0,6 |
2,5 |
4,0 |
В случаях когда ограждающая конструкция состоит из нескольких частей с различной звукоизоляцией (стена с окном и дверью), определенные по формуле (1) величины относятся к общей величине звукоизоляции Rобщ.тр данной составной ограждающей конструкции. Требуемую звукоизоляцию отдельных составляющих частей данного ограждения Ri тр следует определять по формуле
Ri тр = Rобщ.тр + 10 lgn, дБ, (2)
где п - общее количество элементов ограждающей конструкции с различной звукоизоляцией.
Если ограждающая конструкция состоит из двух частей с сильно различающейся звукоизоляцией (R1 >> R2), то требуемую звукоизоляцию допускается определять только для слабой части ограждающей конструкции по формуле (1), подставляя Rтр.2 вместо Rтр и S2 вместо S.
1.5 Требуемую звукоизоляцию
наружных ограждающих конструкций (в том числе окон, остекленных витражей)
помещений площадью
более 25 м2, а также помещений, не указанных в таблице 2, в
зданиях, расположенных вблизи транспортных магистралей, следует определять по
формуле
= LA 2м - LA доп + 10 lgSo -
10 lgBи - 10 lgk, дБА, (3)
LA 2м - эквивалентный (максимальный) уровень звука снаружи в 2 м от ограждения, дБА;
LA доп - допустимый эквивалентный (максимальный) уровень звука в помещении, дБА;
Sо - площадь окна (всех окон, обращенных в сторону источника шума), м2;
Ви, k - то же, что и в формуле (1).
Требуемую звукоизоляцию RA тран следует определять из расчета обеспечения
допустимых значений проникающего шума как по эквивалентному, так и по
максимальному уровню, т.е. из двух величин
принимается большая.
1.6 Расчет звукоизоляции ограждающих конструкций должен проводиться при разработке новых конструктивных решений ограждений, применении новых строительных материалов и изделий. Окончательная оценка звукоизоляции таких конструкций должна проводиться на основании натурных испытаний по ГОСТ 27296-87.
2.1 Индекс изоляции воздушного шума Rw, дБ, ограждающей конструкцией с известной (рассчитанной или измеренной) частотной характеристикой изоляции воздушного шума определяется путем сопоставления этой частотной характеристики с оценочной кривой, приведенной в таблице 4, п. 1.
Для определения индекса изоляции воздушного шума Rw необходимо определить сумму неблагоприятных отклонений данной частотной характеристики от оценочной кривой. Неблагоприятными считаются отклонения вниз от оценочной кривой.
Если сумма неблагоприятных отклонений максимально приближается к 32 дБ, но не превышает эту величину, величина индекса Rw составляет 52 дБ.
Если сумма неблагоприятных отклонений превышает 32 дБ, оценочная кривая смещается вниз на целое число децибел так, чтобы сумма неблагоприятных отклонений не превышала указанную величину.
Если сумма неблагоприятных отклонений значительно меньше 32 дБ или неблагоприятные отклонения отсутствуют, оценочная кривая смещается вверх (на целое число децибел) так, чтобы сумма неблагоприятных отклонений от смещенной оценочной кривой максимально приближалась к 32 дБ, но не превышала эту величину.
За величину индекса Rw принимается ордината смещенной (вверх или вниз) оценочной кривой в третьоктавной полосе со среднегеометрической частотой 500 Гц.
2.2 Индекс приведенного уровня ударного шума Lnw для перекрытия с известной частотной характеристикой приведенного уровня ударного шума определяется путем сопоставления этой частотной характеристики с оценочной кривой, приведенной в таблице 4, п. 2.
Для вычисления индекса Lnw необходимо определить сумму неблагоприятных отклонений данной частотной характеристики от оценочной кривой. Неблагоприятными считаются отклонения вверх от оценочной кривой.
Если сумма неблагоприятных отклонений максимально приближается к 32 дБ, но не превышает эту величину, величина индекса Lnw составляет 60 дБ.
Если сумма неблагоприятных отклонений превышает 32 дБ, оценочная кривая смещается вверх (на целое число децибел) так, чтобы сумма неблагоприятных отклонений от смещенной кривой не превышала указанную величину.
Если сумма неблагоприятных отклонений значительно меньше 32 дБ или неблагоприятные отклонения отсутствуют, оценочная кривая смещается вниз (на целое число децибел) так, чтобы сумма неблагоприятных отклонений от смешенной кривой максимально приближалась к 32 дБ, но не превышала эту величину.
За величину индекса Lnw принимается ордината смещенной (вверх или вниз) оценочной кривой в третьоктавной полосе со среднегеометрической частотой 500 Гц.
Таблица 4
|
Параметры |
Среднегеометрические частоты третьоктавных полос, Гц |
||||||||||||||||
|
100 |
125 |
160 |
200 |
250 |
315 |
400 |
500 |
630 |
800 |
1000 |
1250 |
1600 |
2000 |
2500 |
3150 |
||
|
1 |
Изоляция воздушного шума Ri, дБ |
33 |
36 |
39 |
42 |
45 |
48 |
51 |
52 |
53 |
54 |
55 |
56 |
56 |
56 |
56 |
56 |
|
2 |
Приведенный уровень ударного шума Lnw, дБ |
62 |
62 |
62 |
62 |
62 |
62 |
61 |
60 |
59 |
58 |
57 |
54 |
51 |
48 |
45 |
42 |
|
3 |
Скорректированный уровень звукового давления эталонного спектра li, дБ |
55 |
55 |
57 |
59 |
60 |
61 |
62 |
63 |
64 |
66 |
67 |
66 |
65 |
64 |
62 |
60 |
Таблица 5
|
Параметры |
Среднегеометрическая частота 1/3-октавной полосы, Гц |
||||||||||||||||
|
100 |
125 |
160 |
200 |
250 |
315 |
400 |
500 |
630 |
800 |
1000 |
1250 |
1600 |
2000 |
2500 |
3150 |
||
|
1 |
Расчетная частотная характеристика R, дБ |
36 |
36 |
36 |
36 |
36 |
36 |
38 |
40 |
42 |
44 |
46 |
48 |
50 |
52 |
54 |
56 |
|
2 |
Оценочная кривая, дБ |
33 |
36 |
39 |
42 |
45 |
48 |
51 |
52 |
53 |
54 |
55 |
56 |
56 |
56 |
56 |
56 |
|
3 |
Неблагоприятные отклонения, дБ |
- |
- |
3 |
6 |
9 |
12 |
13 |
12 |
11 |
10 |
9 |
8 |
6 |
4 |
2 |
- |
|
4 |
Оценочная кривая, смещенная вниз на 7 дБ |
26 |
29 |
32 |
35 |
38 |
41 |
44 |
45 |
46 |
47 |
48 |
49 |
49 |
49 |
49 |
49 |
|
5 |
Неблагоприятные отклонения от смещенной оценочной кривой, дБ |
- |
- |
- |
- |
2 |
5 |
6 |
5 |
4 |
3 |
2 |
1 |
- |
- |
- |
- |
|
6 |
Индекс изоляции воздушного шума Rw, дБ |
|
45 |
|
|||||||||||||
2.3 Величина звукоизоляции окна RA тран, дБА, определяется на основании частотной характеристики изоляции воздушного шума окном с помощью эталонного спектра шума потока городского транспорта. Уровни эталонного спектра, скорректированные по кривой частотной коррекции «А» для шума с уровнем 75 дБА, приведены в таблице 4, п. 3.
Для определения величины звукоизоляции окна RA тран (по известной частотной характеристике изоляции воздушного шума) необходимо в каждой третьоктавной полосе частот из уровня эталонного спектра Li вычесть величину изоляции воздушного шума Ri данной конструкцией окна. Полученные величины уровней следует сложить энергетически и результат сложения вычесть из уровня эталонного шума, равного 75 дБА.
Величина звукоизоляции окна RA тран определяется по формуле
, дБА, (4)
где Li - скорректированные по кривой частотной коррекции «А» уровни звукового давления эталонного спектра в i-й третьоктавной полосе частот, дБ, по таблице 4, п. 3;
Ri - изоляция воздушного шума данной конструкцией окна в i-й третьоктавной полосе частот, дБ.
Результат вычисления округляется до целого значения, дБА.
Пример 1. Определить индекс изоляции воздушного шума Rw перегородкой из тяжелого бетона g = 2500 кг/м3 толщиной 100 мм, расчетная частотная характеристика которой приведена в таблице 5 (п. 1).
Расчет проводится по форме
таблицы 5.
Вносим в таблицу значения R оценочной кривой и находим
неблагоприятные отклонения расчетной частотной характеристики от оценочной
кривой (п. 3). Сумма неблагоприятных отклонений составила 105 дБ, что
значительно больше 32 дБ. Смещаем оценочную кривую вниз на 7 дБ и находим сумму
неблагоприятных отклонений уже от смещенной оценочной кривой. На этот раз она
составляет 28 дБ, что менее 32 дБ. За величину индекса изоляции воздушного шума
принимаем значение смещенной оценочной кривой в
-октавной полосе 500 Гц, т.е. Rw = 45 дБ.
Пример 2. Определить индекс приведенного уровня ударного шума Lnw для перекрытий, частотная характеристика которого приведена в таблице 6 (п. 1).
Расчет проводится по форме
таблицы 6.
Вносим в таблицу значения Ln оценочной кривой и находим
неблагоприятные отклонения частотной характеристики приведенного уровня
ударного шума от оценочной кривой (п. 3). Сумма неблагоприятных отклонений
составила 7 дБ, что значительно меньше 32 дБ. Смешаем оценочную кривую вниз на
4 дБ и находим неблагоприятные отклонения от смешенной оценочной кривой. Сумма
неблагоприятных отклонений в этом случае составила 31 дБ, что меньше 32 дБ. За
величину индекса приведенного уровня ударного шума принимаем значение смещенной
кривой в
-октавной полосе 500 Гц, т.е. Lnw = 56 дБ.
Пример 3. Определить звукоизоляцию окна RA тран (изоляцию воздушного шума, создаваемого потоком городского транспорта). Частотная характеристика изоляции воздушного шума данной конструкцией окна (окно из ПВХ профиля с распашными створками, остеклено двухкамерным стеклопакетом 4 - 12 - 4 - 12 - 4 мм, в притворе два контура уплотняющих прокладок) по представленным фирмой-изготовителем результатам лабораторных испытаний приведена в таблице 7 (п. 2).
Расчет проводится по форме таблицы 7. Находим разность между уровнями звукового давления эталонного спектра Li (п. 1) и значениями изоляции воздушного шума данной конструкцией Ri (п. 2), получаем величины уровней звукового давления условно «прошедшего» через окно шума (п. 3).
Для некоторого упрощения энергетического суммирования группируем уровни (п. 3) по одинаковым значениям. Получаем три уровня по 25 дБ, по два уровня со значениями 32, 35, 33 и 30 дБ, по одному уровню 38, 31, 29, 28 и 26 дБ. Определяем уровень звука, дБА, условно «прошедшего» через окно шума, суммируя значения п. 3 по энергии:
= 10 lg(3×102,5 + 2×103,2
+ 2×103,5 + 2×103,3
+ 2×103 + 103,8 + 103,1 + 102,9
+ 102,8 + 102,6) = 10 lg(3×316 + 2×1584 + 2×3162 + 2×1995 + 2×1000 + 6309 + 1258 + 794 + 630 + 398) = 10 lg25819 = 44,1 дБА.
Звукоизоляция данного окна (применительно к шуму потока городского транспорта)
RA тран = 75 - 44,1 = 30,9 » 31 дБА.
Таблица 6
|
Параметры |
Среднегеометрическая частота 1/3-октавной полосы, Гц |
||||||||||||||||
|
100 |
125 |
160 |
200 |
250 |
315 |
400 |
500 |
630 |
800 |
1000 |
1250 |
1600 |
2000 |
2500 |
3150 |
||
|
1 |
Приведенный уровень ударного шума Ln, дБ |
59 |
60 |
65 |
65 |
63 |
62 |
60 |
58 |
54 |
50 |
46 |
43 |
43 |
41 |
37 |
33 |
|
2 |
Оценочная кривая, дБ |
62 |
62 |
62 |
62 |
62 |
62 |
61 |
60 |
59 |
58 |
57 |
54 |
51 |
48 |
45 |
42 |
|
3 |
Неблагоприятные отклонения, дБ |
- |
- |
3 |
3 |
1 |
- |
- |
- |
- |
- |
- |
- |
- |
- |
- |
- |
|
4 |
Оценочная кривая, смещенная вниз на 4 дБ |
58 |
58 |
58 |
58 |
58 |
58 |
57 |
56 |
55 |
54 |
53 |
50 |
47 |
44 |
41 |
38 |
|
5 |
Неблагоприятные отклонения от смешенной оценочной кривой, дБ |
1 |
2 |
7 |
7 |
5 |
4 |
3 |
2 |
- |
- |
- |
- |
- |
- |
- |
- |
|
6 |
Индекс приведенного уровня ударного шума Lnw, дБ |
|
56 |
|
|||||||||||||
Таблица 7
|
Параметры |
Среднегеометрическая частота 1/3-октавной полосы, Гц |
||||||||||||||||
|
100 |
125 |
160 |
200 |
250 |
315 |
400 |
500 |
630 |
800 |
1000 |
1250 |
1600 |
2000 |
2500 |
3150 |
||
|
1 |
Уровни звукового давления эталонного спектра (скорректированные по «A») Li, дБ |
55 |
55 |
57 |
59 |
60 |
61 |
62 |
63 |
64 |
66 |
67 |
66 |
65 |
64 |
62 |
60 |
|
2 |
Изоляция воздушного шума окном Ri, дБ |
23 |
24 |
22 |
21 |
25 |
28 |
29 |
31 |
34 |
36 |
38 |
38 |
39 |
39 |
37 |
35 |
|
3 |
Разность Li - Ri дБ |
32 |
31 |
35 |
38 |
35 |
33 |
33 |
32 |
30 |
30 |
29 |
28 |
26 |
25 |
25 |
25 |
3.1 Индекс изоляции воздушного шума однослойными ограждающими конструкциями, а также двухслойными глухими остеклениями и перегородками, выполненными в виде двух облицовок по каркасу с воздушным промежутком, следует определять на основании рассчитанной частотной характеристики изоляции воздушного шума. Индекс изоляции воздушного шума перекрытиями с полом по упругому основанию и индекс приведенного уровня ударного шума под перекрытиями определяются непосредственно (без построения расчетных частотных характеристик). Допускается при ориентировочных расчетах определять индекс изоляции воздушного шума однослойными массивными ограждающими конструкциями (с поверхностной плотностью от 100 до 800 кг/м2) непосредственно без построения расчетной частотной характеристики изоляции воздушного шума.
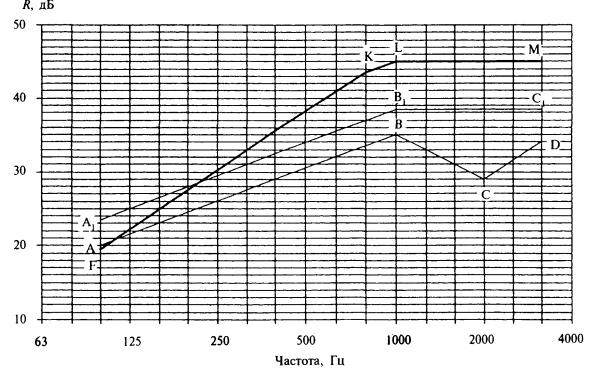
3.2 Частотную характеристику изоляции воздушного шума однослойной плоской ограждающей конструкцией сплошного сечения с поверхностной плотностью от 100 до 800 кг/м2 из бетона, железобетона, кирпича и тому подобных материалов следует определять, изображая ее в виде ломаной линии, аналогичной линии ABCD на рисунке 1.
Абсциссу точки В - fв следует определять по таблице 8 в зависимости от толщины и плотности материала конструкции. Значение fв следует округлять до среднегеометрической частоты, в пределах которой находится fв. Границы третьоктавных полос приведены в таблице 9.
Ординату точки В - Rв следует определять в зависимости от эквивалентной поверхностной плотности тэ по формуле
Rв = 20 lgтэ - 12, дБ. (5)
Таблица 8
|
Плотность бетона g, кг/м3 |
fв, Гц |
|
³ 1800 |
29000/h |
|
1600 |
31000/h |
|
1400 |
33000/h |
|
1200 |
35000/h |
|
1000 |
37000/h |
|
800 |
39000/h |
|
600 |
40000/h |
|
Примечания 1 h - толщина ограждения, мм. 2 Для промежуточных значений g частота fв определяется интерполяцией. |
|
Рисунок 1 - Частотная характеристика изоляции воздушного шума однослойным плоским ограждением
Таблица 9
|
Границы 1/3-октавной полосы |
|
|
50 |
45 - 56 |
|
63 |
57 - 70 |
|
80 |
71 - 88 |
|
100 |
89 - 111 |
|
125 |
112 - 140 |
|
160 |
141 - 176 |
|
200 |
177 - 222 |
|
250 |
223 - 280 |
|
315 |
281 - 353 |
|
400 |
354 - 445 |
|
500 |
446 - 561 |
|
630 |
562 - 707 |
|
800 |
708 - 890 |
|
1000 |
891 - 1122 |
|
1250 |
1123 - 1414 |
|
1600 |
1415 - 1782 |
|
2000 |
1783 - 2244 |
|
2500 |
2245 - 2828 |
|
3150 |
2829 - 3563 |
|
4000 |
3564 - 4489 |
|
5000 |
4490 - 5657 |
Эквивалентная поверхностная плотность тэ определяется по формуле
тэ = К т, кг/м2, (6)
где т - поверхностная плотность, кг/м2 (для ребристых конструкций принимается без учета ребер);
К - коэффициент, учитывающий относительное увеличение изгибной жесткости ограждения из бетонов на легких заполнителях, поризованных бетонов и т.п. по отношению к конструкциям из тяжелого бетона с той же поверхностной плотностью.
Для сплошных ограждающих конструкций плотностью g = 1800 кг/м3 и более К = 1.
Для сплошных ограждающих конструкций из бетонов на легких заполнителях, поризованных бетонов; кладки из кирпича и пустотелых керамических блоков коэффициент К определяется по таблице 10.
Таблица 10
|
Класс |
Плотность, кг/м3 |
К |
|
|
1 |
2 |
3 |
4 |
|
Керамзитобетон |
В 7,5 |
1500 - 1550 |
1,1 |
|
1300 - 1450 |
1,2 |
||
|
1200 |
1,3 |
||
|
1100 |
1,4 |
||
|
В 12,5 - В 15 |
1700 - 1750 |
1,1 |
|
|
1500 - 1650 |
1,2 |
||
|
1350 - 1450 |
1,3 |
||
|
1250 |
1,4 |
||
|
Перлитобетон |
В 7,5 |
1400 - 1450 |
1,2 |
|
1300 - 1350 |
1,3 |
||
|
1100 - 1200 |
1,4 |
||
|
950 - 1000 |
1,5 |
||
|
Аглопоритобетон |
В 7,5 |
1300 |
1,1 |
|
1100 - 1200 |
1,2 |
||
|
950 - 1000 |
1,3 |
||
|
В 12,5 |
1500 - 1800 |
1,2 |
|
|
Шлакопемзобетон |
В 7,5 |
1600 - 1700 |
1,2 |
|
В 12,5 |
1700 - 1800 |
1,2 |
|
|
Газобетон, пенобетон, газосиликат |
В 5,0 |
1000 |
1,5 |
|
800 |
1,6 |
||
|
600 |
1,7 |
||
|
Кладка из кирпича, пустотелых керамических блоков |
|
1500 - 1600 |
1,1 |
|
1200 - 1400 |
1,2 |
||
|
Гипсобетон, гипс (в том числе поризованный или с легкими заполнителями) |
В 7,5 |
1300 |
1,3 |
|
1200 |
1,4 |
||
|
1000 |
1,5 |
||
|
800 |
1,6 |
Для ограждений из бетона плотностью 1800 кг/м3 и более с круглыми пустотами коэффициент К определяется по формуле
где j - момент инерции сечения, м4;
b - ширина сечения, м;
hпр - приведенная толщина сечения, м.
Для ограждающих конструкций из легких бетонов с круглыми пустотами коэффициент К принимается как произведение коэффициентов, определенных отдельно для сплошных конструкций из легких бетонов и конструкций с круглыми пустотами.
Значение RВ следует округлять до 0,5 дБ.
Построение частотной характеристики производится в следующей последовательности: из точки В влево проводится горизонтальный отрезок ВА, а вправо от точки В проводится отрезок ВС с наклоном 6 дБ на октаву до точки С с ординатой RС = 65 дБ, из точки С вправо проводится горизонтальный отрезок CD. Если точка С лежит за пределами нормируемого диапазона частот (fС > 3150 Гц), отрезок CD отсутствует.
Пример 4. Построить частотную характеристику изоляции воздушного шума перегородкой из тяжелого бетона плотностью 2300 кг/м3 и толщиной 100 мм.
Построение частотной характеристики производим в соответствии с рисунком 1. Находим частоту, соответствующую точке В, по таблице 8:
Гц.
Округляем до
среднегеометрической частоты
-октавной полосы, в пределах которой находится fВ.
Определяем поверхностную плотность ограждения т = gh, в данном случае т = 2300×0,1 = 230 кг/м2.
Определяем ординату точки В по формуле (5), учитывая, что в нашем случае К = 1:
RB = 20 lgmэ - 12 = 20 lg230 - 12 = 35,2 » 35 дБ.
Из точки В влево проводим горизонтальный отрезок ВА, вправо от точки В - отрезок ВС с наклоном 6 дБ на октаву до точки С с ординатой 65 дБ. Точка С соответствует частоте 10 000 Гц, т.е. находится за пределами нормируемого диапазона частот.
Рассчитанная частотная характеристика изоляции воздушного шума рассмотренной перегородкой приведена на рисунке 2.
Рисунок 2 - Расчетная частотная характеристика к примеру 4
В нормируемом диапазоне частот изоляция воздушного шума составляет:
|
f, Гц |
100 |
125 |
160 |
200 |
250 |
315 |
400 |
500 |
|
R, дБ |
35 |
35 |
35 |
35 |
35 |
35 |
37 |
39 |
Продолжение
|
f, Гц |
630 |
800 |
1000 |
1250 |
1600 |
2000 |
2500 |
3150 |
|
Л, дБ |
41 |
43 |
45 |
47 |
49 |
51 |
53 |
55 |
Пример 5. Построить частотную характеристику изоляции воздушного шума перегородкой из керамзитобетона класса В 7,5, плотностью 1400 кг/м3 и толщиной 120 мм.
Находим частоту, соответствующую точке В, по таблице 8, при g = 1400 кг/м3 она составит:
Гц.
Округляем до
среднегеометрической частоты
-октавной полосы, в пределах которой находится fВ.
Определяем поверхностную плотность ограждения т = gh = 1400×0,12 = 168 кг/м2.
Определяем ординату точки В. По таблице 10 находим коэффициент К = 1,2, следовательно эквивалентная поверхностная плотность составляет тэ = 168×1,2 = 201,6 кг/м2, а величина RВ = 20 lg201,6 - 12 = 34 дБ.
Из точки В влево проводим горизонтальный отрезок ВА, а вправо от точки В - отрезок ВС с наклоном 6 дБ на октаву до точки С с ординатой 65 дБ. Точка С в нашем случае находится за пределами нормируемого диапазона частот (рисунок 3).
В нормируемом диапазоне частот изоляция воздушного шума перегородкой составляет:
|
f, Гц |
100 |
125 |
160 |
200 |
250 |
315 |
400 |
500 |
|
R, дБ |
34 |
34 |
34 |
34 |
34 |
36 |
38 |
40 |
Продолжение
|
f, Гц |
630 |
800 |
1000 |
1250 |
1600 |
2000 |
2500 |
3150 |
|
R, дБ |
42 |
44 |
46 |
48 |
50 |
52 |
54 |
56 |
Пример 6. Построить частотную характеристику изоляции воздушного шума несущей частью перекрытия из многопустотных плит толщиной 220 мм и приведенной толщиной 120 мм, выполненных из тяжелого бетона плотностью g = 2500 кг/м3.
Для определения коэффициента К необходимо вычислить момент инерции сечения j.
Рисунок 3 - Расчетная частотная характеристика к примеру 5
Многопустотная плита шириной 1,2 м имеет 6 круглых
пустот диаметром 0,16 м, расположенных посредине сечения. Момент инерции
находим как разность моментов инерции прямоугольного сечения (j =
) и шести круглых пустот (j =
):
м4.
Определяем коэффициент К по формуле (7)
.
Средняя плотность плиты (с учетом пустотности) составляет 1364 кг/м3. По таблице 8 определяем частоту, соответствующую точке В:
Гц.
Округляем до среднегеометрической частоты третьоктавной полосы, в пределах которой находится fВ.
Определяем эквивалентную поверхностную плотность конструкции
тэ = 1,2×2500×0,12 = 360 кг/м2.
Находим по формуле (5) ординату точки В
RВ = 20 lgтэ, - 12 = 20 lg360 - 12 = 39,1 » 39 дБ.
Округляем до 0,5 дБ.
Из точки В влево проводим горизонтальный отрезок ВА, вправо - отрезок ВС с наклоном 6 дБ на октаву. Точка С попадает на последнюю третьоктавную полосу нормируемого частотного диапазона 3150 Гц (рисунок 4).
В нормируемом диапазоне частот изоляция воздушного шума составляет:
|
f, Гц |
100 |
125 |
160 |
200 |
250 |
315 |
400 |
500 |
|
R, дБ |
39 |
39 |
39 |
41 |
43 |
45 |
47 |
49 |
Продолжение
|
f, Гц |
630 |
800 |
1000 |
1250 |
1600 |
2000 |
2500 |
3150 |
|
R, дБ |
51 |
53 |
55 |
57 |
59 |
61 |
63 |
65 |
Рисунок 4 - Расчетная частотная характеристика к примеру 6
3.3 При ориентировочных расчетах индекс изоляции воздушного шума ограждающими конструкциями сплошного сечения из материалов, указанных в 3.2, допускается определять по формуле
Rw = 37 lgm + 55 lgK - 43, дБ. (8)
Пример 7. Рассчитать индекс изоляции воздушного шума многопустотной плиты перекрытия из тяжелого бетона плотностью 2500 кг/м3, толщиной 220 мм и приведенной толщиной 120 мм.
Коэффициент К был вычислен в примере 6, К = 1,2.
Определяем поверхностную плотность плиты т = 2500×0,12 = 300 кг/м2. Индекс изоляции воздушного шума составит:
Rw = 37 lg300 + 55 lg1,2 - 43 = 91,65 + 4,35 - 43 = 53 дБ.
3.4 Расчеты, изложенные в 3.2 и 3.3, дают достоверные результаты при отношении толщины разделяющего ограждения (подлежащего расчету) к средней толщине примыкающих к нему ограждений в пределах
0,5 < h/hприм < 1,5.
При других отношениях толщин необходимо учитывать изменение звукоизоляции DR за счет увеличения или уменьшения косвенной передачи звука через примыкающие конструкции.
Для крупнопанельных зданий, в которых ограждающие конструкции выполнены из бетона, железобетона, бетона на легких заполнителях, поправка DR имеет следующие значения:
при 0,3 < h/hприм < 0,5 DR = +1 дБ;
при 1,5 < h/hприм < 2 DR = -1 дБ;
при 2 < h/hприм < 3 DR = -2 дБ.
Для зданий из монолитного бетона величина DR должна быть уменьшена на 1 дБ.
В каркасно-панельных зданиях, где элементы каркаса (колонны и ригели) выполняют роль виброзадерживающих масс в стыках панелей, вводится дополнительно поправка к результатам расчета DR = +2 дБ.
3.5 Частотную характеристику изоляции воздушного шума однослойной плоской тонкой ограждающей конструкцией из металла, стекла, асбоцементного листа, гипсокартонных листов (сухой гипсовой штукатурки) и тому подобных материалов следует определять графическим способом, изображая ее в виде ломаной линии, аналогичной линии ABCD на рисунке 5.
Координаты точек В и С
следует определять по таблице 11, при этом значения fB
и fC округляются до ближайшей
среднегеометрической частоты
-октавной полосы. Наклон участка АВ (рисунок 5)
следует принимать 4,5 дБ на октаву, участка CD - 7,5 дБ на октаву.
Рисунок 5 - Частотная характеристика изоляции воздушного шума однослойным плоским тонким ограждением
Таблица 11
|
Плотность, кг/м3 |
fB, Гц |
fC, Гц |
RB, дБ |
RC, дБ |
|
|
1 |
2 |
3 |
4 |
5 |
6 |
|
1. Сталь |
7800 |
6000/h |
12000/h |
40 |
32 |
|
2. Алюминиевые сплавы |
2500 - 2700 |
6000/h |
12000/h |
32 |
22 |
|
3. Стекло силикатное |
2500 |
6000/h |
12000/h |
35 |
29 |
|
4. Стекло органическое |
1200 |
17000/h |
34000/h |
37 |
30 |
|
5. Асбоцементные листы |
2100 |
9000/h |
18000/h |
35 |
29 |
|
1800 |
9000/h |
18000/h |
34 |
28 |
|
|
1600 |
10000/h |
20000/h |
34 |
28 |
|
|
6. Гипсокартонные листы (сухая гипсовая штукатурка) |
1100 |
19000/h |
380000/h |
36 |
30 |
|
850 |
19000/h |
38000/h |
34 |
28 |
|
|
7. Древесно-стружечная плита (ДСП) |
850 |
13000/h |
26000/h |
32 |
27 |
|
650 |
13500/h |
27000/h |
30,5 |
26 |
|
|
8. Твердая древесно-волокнистая плита (ДВП) |
1100 |
19000/h |
38000/h |
35 |
29 |
|
Примечание - h - толщина, мм. |
|||||
Пример 8. Требуется определить изоляцию воздушного шума глухим металлическим витражом, остекленным одним силикатным стеклом толщиной 6 мм.
Находим по таблице 11 координаты точек В и С, fB = 6000/6 = 1000 Гц, fC = 12000/6 = 2000 Гц, RB = 35 дБ, RC = 29 дБ. Строим частотную характеристику в соответствии со схемой на рисунке 5. Из точки В проводим влево отрезок ВА с наклоном 4,5 дБ на октаву, из точки С вправо - отрезок CD с наклоном 7,5 дБ на октаву (рисунок 6).
Рисунок 6 - Расчетная частотная характеристика к примеру 8
В нормируемом диапазоне частот изоляция воздушного шума витражом составляет:
|
f, Гц |
100 |
125 |
160 |
200 |
250 |
315 |
400 |
500 |
|
R, дБ |
20 |
21,5 |
23 |
24,5 |
26 |
27,5 |
29 |
30,5 |
Продолжение
|
f, Гц |
630 |
800 |
1000 |
1250 |
1600 |
2000 |
2500 |
3150 |
|
R, дБ |
32 |
33,5 |
35 |
33 |
31 |
29 |
31,5 |
34 |
3.6 Частотная характеристика изоляции воздушного шума ограждающей конструкцией, состоящей из двух тонких листов с воздушным промежутком между ними (двойные глухие остекления, перегородки в виде двух обшивок из одинарных листов сухой гипсовой штукатурки, металла и т.п. по каркасу из тонкостенного металлического или асбоцементного профиля, деревянных брусков), при одинаковой толщине листов строится в следующей последовательности:
а) строится частотная характеристика изоляции воздушного шума одной обшивкой по 3.5 - вспомогательная линия ABCD на рисунке 7. Затем строится вспомогательная линия A1B1C1D1 путем прибавления к ординатам линии ABCD поправки DR1 на увеличение поверхностной плотности по таблице 12 (в данном случае 4,5 дБ). Каркас при этом не учитывается;
Таблица 12
|
mобщ/m1 |
DR1, дБ |
mобщ/m1 |
DR1, дБ |
|
1,4 |
2,0 |
2,7 |
6,5 |
|
1,5 |
2,5 |
2,9 |
7,0 |
|
1,6 |
3,0 |
3,1 |
7,5 |
|
1,7 |
3,5 |
3,4 |
8,0 |
|
1,8 |
4,0 |
3,7 |
8,5 |
|
2,0 |
4,5 |
4,0 |
9,0 |
|
2,2 |
5,0 |
4,3 |
9,5 |
|
2,3 |
5,5 |
4,6 |
10,0 |
|
2,5 |
6,0 |
5,0 |
10,5 |
б) определяется частота резонанса конструкции по формуле
где
и
- поверхностные
плотности обшивок, кг/м2 (в данном случае
=
);
, Гц, (10)
d - толщина воздушного промежутка, м.
Рисунок 7 - Частотная характеристика изоляции воздушного шума конструкцией, состоящей из двух листов с воздушным промежутком при одинаковой толщине листов
Значение частоты fp округляется до ближайшей
среднегеометрической частоты
-октавной полосы. До частоты 0,8fp включительно частотная характеристика звукоизоляции
конструкции совпадает со вспомогательной линией A1B1C1D1 (точка Е рисунка 7). На
частоте fp звукоизоляция принимается на
4 дБ ниже линии A1B1C1D1 (точка F,
рисунок 7);
в) на частоте 8fp (три октавы выше частоты резонанса) находится точка К с ординатой RK = RF + H, которая соединяется с точкой F. Величина H определяется по таблице 13 в зависимости от толщины воздушного промежутка. От точки К проводится отрезок KL с наклоном 4,5 дБ на октаву до частоты fB (параллельно вспомогательной линии A1B1C1D1).
Таблица 13
|
Величина Н, дБ |
|
|
15 - 25 |
22 |
|
50 |
24 |
|
100 |
26 |
|
150 |
27 |
|
200 |
28 |
Превышение отрезка KL над вспомогательной кривой A1B1C1D1 представляет собой поправку на влияние воздушного промежутка DR2 (в диапазоне выше 8fp). В том случае когда fB = 8fp, точки К и L сливаются в одну. Если fB < 8fp, отрезок FK проводится только до точки L, соответствующей частоте fB. Точка К в этом случае лежит вне расчетной частотной характеристики и является вспомогательной;
г) от точки L до
частоты 1,25fB (до следующей
-октавной полосы) проводится горизонтальный отрезок LM.
На частоте fС находится точка N путем
прибавления к значению вспомогательной линии A1B1C1D1 поправки DR2 (т.е. RN = RСl
+ DR2) и соединяется с точкой М.
Далее проводится отрезок NP с наклоном 7,5 дБ на октаву.
Ломаная линия A1EFKLMNP представляет собой частотную характеристику изоляции воздушного шума рассматриваемой конструкции.
Пример 9. Требуется построить частотную характеристику изоляции воздушного шума перегородкой, выполненной из двух гипсокартонных листов (сухой гипсовой штукатурки) толщиной 14 мм, g = 850 кг/м3 по деревянному каркасу. Воздушный промежуток имеет толщину 100 мм.
Строим частотную характеристику звукоизоляции для одного гипсокартонного листа в соответствии с 3.5. Координаты точек В и С определяем по таблице 11:
Гц; RB = 34 дБ;
Гц; RС = 28 дБ;
Строим вспомогательную линию ABCD; с учетом поправки DR1 по таблице 12, равной 4,5 дБ, строим вспомогательную линию A1B1C1D1 на 4,5 дБ выше линии ABCD (рисунок 8).
Рисунок 8 - Расчетная частотная характеристика к примеру 9
Определяем частоту резонанса по формуле (9). Поверхностная плотность листа СГШ т = gh = 850×0,014 = 11,9 кг/м2.
Гц.
На частоте 80 Гц находим точку F на 4 дБ ниже соответствующей ординаты линии A1B1C1D1, RF = 16,5 дБ.
На частоте 8fp (630 Гц) находим точку К с ординатой RK = RF + H = 16,5+26 = 42,5 дБ (Н = 26 дБ по таблице 13). От точки К проводим отрезок KL до частоты fB = 1250 Гц с наклоном 4,5 дБ на октаву, RL = 47 дБ. Превышение отрезка KL над вспомогательной линией A1B1C1D1 дает нам величину поправки DR2 = 8,5 дБ.
От точки L проводим
вправо горизонтальный отрезок LM на одну
-октавную полосу. На частоте fC
= 2500 Гц строим точку N - RN = RC1
+ DR2 = 32,5 + 8,5 = 41 дБ. От
точки N проводим отрезок NP с наклоном 7,5 дБ на октаву.
Линия FKLMNP представляет собой частотную характеристику изоляции воздушного шума данной перегородкой. В нормируемом диапазоне частот звукоизоляция составляет:
|
f, Гц |
100 |
125 |
160 |
200 |
250 |
315 |
400 |
500 |
|
R, дБ |
19,5 |
22,5 |
25 |
28 |
31 |
34 |
36,5 |
39,5 |
Продолжение
|
f, Гц |
630 |
800 |
1000 |
1250 |
1600 |
2000 |
2500 |
3150 |
|
R, дБ |
42,5 |
44 |
45,5 |
47 |
47 |
44 |
41 |
43,5 |
3.7 В тех случаях когда перегородка имеет конструкцию, описанную в 3.6, но одна или обе ее обшивки состоят из двух не склеенных между собой листов, ее частотная характеристика изоляции воздушного шума строится в соответствии с 3.6, но с учетом увеличения поверхностных плотностей m1, т2 и тобщ. При этом звукоизоляция на частоте fС увеличивается на DR3 = 2 дБ, если одна из обшивок состоит из двух слоев (другая - из одного слоя), и DR3 = 3 дБ, если обе обшивки состоят из двух слоев листового материала. При построении частотной характеристики на графике следует отметить точку S на частоте fС с ординатой RS = RN + DR3 = RC + DR1 + DR2 + DR3, из которой проводится вправо отрезок ST c наклоном 7,5 дБ на октаву.
3.8 Частотная характеристика изоляции воздушного шума каркасно-обшивной перегородкой, выполненной из одного из указанных в 3.5 материалов, при различной толщине листов обшивки (соотношение толщин не более 2,5), а также двойного глухого остекления при различной толщине стекол строится в следующей последовательности.
Строится частотная характеристика изоляции воздушного шума одним листом (большей толщины) по 3.5 - линия ABCD (рисунок 9). Определяется частота fC2 для листа обшивки меньшей толщины. Строится вспомогательная линия A1B1 до частоты fB путем прибавления к значениям звукоизоляции первого (более толстого) листа поправки DR1 на увеличение поверхностной плотности ограждения по таблице 12 - DR1. Между частотами fBl и fC2 проводятся горизонтальный отрезок В1С1 и далее отрезок C1D1 с наклоном 7,5 дБ на октаву.
Рисунок 9 - Частотная характеристика изоляции воздушного шума конструкцией, состоящей из двух листов с воздушным промежутком между ними при различной толщине листов
Определяется частота резонанса конструкции fр по формуле (9). До частоты 0,8fр включительно частотная характеристика изоляции воздушного шума конструкцией совпадает со вспомогательной линией A1B1. На частоте fр звукоизоляция принимается на 4 дБ ниже вспомогательной линии А1В1 (точка F, рисунок 9).
На частоте 8fр находится точка К с ординатой Rл = RF + H, где Н - величина, определяемая по таблице 13 в зависимости от толщины воздушного промежутка.
От точки К частотная характеристика строится параллельно вспомогательной линии A1B1C1D1, т.е. проводятся отрезок KL с наклоном 4,5 дБ на октаву до частоты fВ1, а затем горизонтальный отрезок LM до частоты fC2 и далее отрезок MN с наклоном 7,5 дБ на октаву.
Если частота fВ < 8fp, отрезок FK проводится только до точки L, соответствующей частоте fВ. Точка К в этом случае лежит вне частотной характеристики и является вспомогательной.
Ломаная линия A1EFKLMN представляет собой частотную характеристику изоляции воздушного шума рассматриваемой конструкцией.
Пример 10. Требуется построить частотную характеристику изоляции воздушного шума двойным глухим металлическим витражом, остекленным стеклами 6 и 4 мм, расстояние между стеклами 60 мм.
Строим частотную характеристику изоляции для стекла 6 мм (линия ABCD, рисунок 10). Координаты точек В и С определяем по таблице 11; fВ = 6000/6 = 1000 Гц; RB = 35 дБ; fC = 12000/6 = 2000 Гц; RC = 29 дБ.
Для тонкого стекла fС2 = 12000/4 = 3000 » 3150 (округляем до ближайшей
среднегеометрической частоты
-октавной полосы).
Определяем поправку DR, по таблице 12 mобщ/m1 = 25/15 = 1,66; DR1 = 3,5 дБ.
Строим вспомогательную линию A1B1C1. Отрезок A1B1 проводим на 3,5 дБ выше отрезка АВ, далее - горизонтальный отрезок B1C1 до частоты fС2 = 3150 Гц (точка D1 лежит вне нормируемого диапазона частот).
Определяем частоту резонанса конструкции по формуле (9)
Гц.
Поскольку частота резонанса лежит на границе нормируемого частотного диапазона, точки А1 и Е в данном случае не входят в частотную характеристику, которую требуется построить. На частоте 100 Гц находим точку F c ординатой RF = 20 + 3,5 - 4 = 19,5 дБ.
На частоте 8fр = 800 Гц отмечаем точку К
с ординатой RK = RF + H = 19,5 + 24 = 43,5 дБ и
соединяем ее с точкой F. Далее проводим отрезок KL до
следующей
-октавной полосы (fB
= 1000 Гц)
и горизонтальный отрезок LM до частоты fС2 = 3150 Гц. Точка N в
данном случае лежит за пределами нормируемого диапазона частот.
Рисунок 10 - Расчетная частотная характеристика к примеру 10
Линия FKLM представляет собой частотную характеристику изоляции воздушного шума данной конструкцией, в нормируемом диапазоне частот звукоизоляция составляет:
|
f, Гц |
100 |
125 |
160 |
200 |
250 |
315 |
400 |
500 |
|
R, дБ |
19,5 |
22 |
25 |
27,5 |
30 |
33 |
35,5 |
38 |
Продолжение
|
f, Гц |
630 |
800 |
1000 |
1250 |
1600 |
2000 |
2500 |
3150 |
|
R, дБ |
41 |
43,5 |
45 |
45 |
45 |
45 |
45 |
45 |
3.9 Частотная характеристика изоляции воздушного шума каркасно-обшивной перегородкой из одного из указанных в 3.5 материалов при заполнении воздушного промежутка пористым или пористо-волокнистым материалом строится в следующей последовательности.
Строится частотная характеристика звукоизоляции с незаполненным воздушным промежутком в соответствии с 3.6, 3.7 или 3.8. При этом в общую поверхностную плотность конструкции то6щ при определении поправки DR1 включается поверхностная плотность заполнения воздушного промежутка.
Частота резонанса конструкции fp при заполнении воздушного промежутка полностью или частично минераловатными и стекловолокнистыми плитами определяется по формуле (9).
При заполнении промежутка пористым материалом с жестким скелетом (пенопласт, пенополистирол, фибролит и т.п.) частоту резонанса следует определять по формуле
где т1 и т2 - поверхностные плотности обшивок, кг/м2;
d - толщина воздушного промежутка, м;
Ед - динамический модуль упругости материала заполнения, Па.
Если обшивки не приклеиваются к материалу заполнения, значения Ед принимаются с коэффициентом 0,75.
До частоты резонанса включительно (f £ fp) частотная характеристика звукоизоляции конструкции полностью совпадает с частотной характеристикой, построенной для перегородки с незаполненным воздушным промежутком.
На частотах f ³ 1,6fp звукоизоляция увеличивается дополнительно на величину DR4 (таблица 14).
Таблица 14
|
Заполнение промежутка |
DR4 |
|
|
Пористо-волокнистый (минеральная вата, стекловолокно) |
20 % |
2 |
|
30 % |
3 |
|
|
40 % |
4 |
|
|
50 - 100 % |
5 |
|
|
Пористый с жестким скелетом (пенопласт, фибролит) |
100 % |
3 |
При построении частотной характеристики звукоизоляции конструкции на частоте f = 1,6fp (2 третьоктавные полосы выше частоты резонанса) отмечается точка Q с ординатой на величину DR4 выше точки, лежащей на отрезке FK, и соединяется с точкой F. Далее частотная характеристика строится параллельно частотной характеристике звукоизоляции конструкции с незаполненным воздушным промежутком - линия A1EFQK1L1M1N1P1 (рисунок 11).
Пример 11. Требуется построить частотную характеристику изоляции воздушного шума перегородкой, выполненной из двух листов сухой гипсовой штукатурки толщиной 10 мм, g = 1100 кг/м3 по деревянному каркасу, воздушный промежуток d = 50 мм заполнен минераловатными плитами ПП-80, g = 80 кг/м3.
Строим частотную характеристику звукоизоляции для одного гипсокартонного листа. Координаты точек В и С определяем по таблице 11:
Гц; RB = 36 дБ;
Гц; RС = 30 дБ.
Общая поверхностная плотность ограждения включает в себя две обшивки с т1 = т2 = gh = 1100×0,01 = 11 кг/м2 и заполнение 80´0,05 = 4 кг/м2, то6щ = 26 кг/м2.
mобщ/т1 = 26/11 = 2,36; по таблице 12 находим DR1 = 5,5 дБ.
Строим вспомогательную линию A1B1C1 на 5,5 дБ выше линии AВС (рисунок 12). Точка С лежит уже вне нормируемого диапазона частот.
Рисунок 11 - Частотная характеристика изоляции воздушного шума каркасно-обшивной перегородкой с заполнением воздушного промежутка
Рисунок 12 - Расчетная частотная характеристика к примеру 11
Определяем частоту резонанса конструкции по формуле (9)
Гц.
На частоте 0,8fp = 100 Гц отмечаем точку Е с ординатой RЕ = 16,5 + 5,5 = 22 дБ, на частоте fp = 125 Гц - точку F c ординатой RF = 18 + 5,5 - 4 = 19,5 дБ.
На частоте 8fp = 1000 Гц отмечаем точку К
с ординатой RK = RF + H = 19,5 + 24 = 43,5 дБ и
соединяем ее с точкой F. Далее до частоты fB = 2000 Гц проводим отрезок KL с
наклоном 4,5 дБ на октаву, RL
= 48 дБ, до следующей
-октавной полосы 2500 Гц горизонтальный отрезок LM.
На частоте fC = 4000 Гц отмечаем точку N
с ординатой
RN = RC1 + DR2 = RC + DR1 + DR2 = 30 + 5,5 + 6,5 = 42 дБ.
Линия EFKLMN является частотной характеристикой изоляции воздушного шума перегородкой с незаполненным воздушным промежутком.
На частоте 1,6fp = 200 Гц отмечаем точку Q с ординатой rq = 25 + 5 = 30 дБ (по таблице 14 поправка DR4 = 5 дБ) и соединяем ее с точкой F. Далее строим частотную характеристику параллельно линии FKLMN, прибавляя к ее значениям поправку DR4 = 5 дБ.
В нормируемом диапазоне частот изоляция воздушного шума данной перегородкой составляет:
|
f, Гц |
100 |
125 |
160 |
200 |
250 |
315 |
400 |
500 |
|
R, дБ |
22 |
19,5 |
24,5 |
30 |
32,5 |
35 |
38 |
40,5 |
Продолжение
|
f, Гц |
630 |
800 |
1000 |
1250 |
1600 |
2000 |
2500 |
3150 |
|
R, дБ |
43 |
46 |
48,5 |
50 |
51,5 |
53 |
53 |
50 |
3.10 Индекс изоляции воздушного шума Rw, дБ, междуэтажным перекрытием со звукоизоляционным слоем следует определять по таблице 15 в зависимости от величины индекса изоляции воздушного шума несущей плитой перекрытия Rw0, определенного в соответствии с 3.2 или 3.3 настоящего Свода правил и частоты резонанса конструкции fp, Гц, определяемой по формуле (11). В формуле Eд - динамический модуль упругости материала звукоизоляционного слоя, Па, принимаемый по таблице 16; m1 - поверхностная плотность несущей плиты перекрытия, кг/м2; m2 - поверхностная плотность конструкции пола выше звукоизоляционного слоя (без звукоизоляционного слоя), кг/м2; d - толщина звукоизоляционного слоя в обжатом состоянии, м, определяемая по формуле
d = d0(1 - e), (12)
где d0 - толщина звукоизоляционного слоя в необжатом состоянии, м;
e - относительное сжатие материала звукоизоляционного слоя под нагрузкой, принимаемое по таблице 16.
Таблица 15
|
fp, Гц |
Индекс изоляции воздушного шума перекрытием Rw, дБ, при индексе изоляции несущей плитой перекрытия Rw0, дБ |
||||||
|
43 |
46 |
49 |
52 |
55 |
57 |
||
|
1. Деревянные полы по лагам, уложенным на звукоизоляционный слой в виде ленточных прокладок с Eд = 5×105 - 12×105 Па при расстоянии между полом и несущей плитой 60 - 70 мм |
160 |
53 |
54 |
55 |
56 |
57 |
58 |
|
200 |
50 |
52 |
53 |
54 |
56 |
58 |
|
|
250 |
49 |
51 |
52 |
53 |
55 |
57 |
|
|
320 |
48 |
49 |
51 |
53 |
55 |
- |
|
|
400 |
47 |
48 |
50 |
52 |
- |
- |
|
|
500 |
46 |
48 |
- |
- |
- |
- |
|
|
2. Покрытие пола на монолитной стяжке или сборных плитах с т = 60 - 120 кг/м2 по звукоизоляционному слою с Eд = 3×105 - 10×105 Па |
63 |
- |
55 |
56 |
57 |
58 |
59 |
|
80 |
53 |
54 |
55 |
56 |
57 |
58 |
|
|
100 |
52 |
53 |
54 |
55 |
56 |
58 |
|
|
125 |
51 |
52 |
53 |
54 |
55 |
57 |
|
|
160 |
50 |
51 |
53 |
54 |
55 |
57 |
|
|
200 |
47 |
49 |
51 |
53 |
- |
- |
|
|
3. Покрытие пола на монолитной стяжке или сборных плитах с т = 60 - 120 кг/м2 по звукоизоляционному слою из песка с Eд = 12×106 Па |
200 |
- |
53 |
54 |
55 |
56 |
58 |
|
250 |
50 |
52 |
53 |
54 |
55 |
57 |
|
|
320 |
49 |
51 |
52 |
54 |
55 |
57 |
|
|
400 |
48 |
50 |
51 |
53 |
55 |
57 |
|
|
500 |
47 |
49 |
51 |
53 |
55 |
57 |
|
Таблица 16
|
Плотность, кг/м3 |
Динамический модуль упругости Eд, Па, и относительное сжатие e материала звукоизоляционного слоя при нагрузке на звукоизоляционный слой, Па |
||||||
|
2000 |
5000 |
10000 |
|||||
|
Eд |
e |
Eд |
e |
Eд |
e |
||
|
1 |
2 |
3 |
4 |
5 |
6 |
7 |
8 |
|
1. Плиты минераловатные на синтетическом связующем: |
|
|
|
|
|
|
|
|
полужесткие |
70 - 90 |
3,6×105 |
0,5 |
4,5×105 |
0,55 |
- |
- |
|
95 - 100 |
4,0×105 |
0,5 |
5,0×105 |
0,55 |
- |
- |
|
|
жесткие |
110 - 125 |
4,5×105 |
0,5 |
5,5×105 |
0,5 |
7,0×105 |
0,6 |
|
130 - 150 |
5,0×105 |
0,4 |
6,0×105 |
0,45 |
8,0×105 |
0,55 |
|
|
2. Плиты из изовербазальтового волокна на синтетическом связующем |
70 - 90 |
1,9×105 |
0,1 |
2,0×105 |
0,15 |
2,6×105 |
0,2 |
|
100 - 120 |
2,7×105 |
0,08 |
3,0×105 |
0,1 |
4,0×105 |
0,15 |
|
|
125 - 150 |
3,6×105 |
0,07 |
5,0×105 |
0,08 |
6,5×105 |
0,1 |
|
|
3. Маты минераловатные прошивные по ТУ 21-24-51-73 |
75 - 125 |
4,0×105 |
0,65 |
5,0×105 |
0,7 |
- |
- |
|
126 - 175 |
5,0×105 |
0,5 |
6,5×105 |
0,55 |
- |
- |
|
|
4. Плиты древесно-волокнистые мягкие по ГОСТ 4598-86 |
250 |
10×105 |
0,1 |
11×105 |
0,1 |
12×105 |
0,15 |
|
5. Прессованная пробка |
200 |
11×105 |
0,1 |
12×105 |
0,2 |
12,5×105 |
0,25 |
|
6. Песок прокаленный |
1300 - 1500 |
120×105 |
0,03 |
130×105 |
0,04 |
140×105 |
0,06 |
|
7. Материалы из пенополиэтилена и пенополипропилена: |
|
|
|
|
|
|
|
|
Велимат |
|
1,4×105 |
0,19 |
1,6×105 |
0,37 |
2,0×105 |
0,5 |
|
Пенополиэкс |
|
1,8×105 |
0,02 |
2,5×105 |
0,1 |
3,2×105 |
0,2 |
|
Изолон (ППЭ-Л) |
|
2×105 |
0,05 |
3,4×105 |
0,1 |
4,2×105 |
0,2 |
|
Энергофлекс, Пенофол, Вилатерм |
|
2,7×105 |
0,04 |
3,8×105 |
0,1 |
- |
- |
|
Парколаг |
|
2,6×105 |
0,1 |
3,7×105 |
0,15 |
4,5×105 |
0,2 |
|
Термофлекс |
|
4×105 |
0,03 |
4,8×105 |
0,1 |
- |
- |
|
Порилекс (НПЭ) |
|
4,7×105 |
0,15 |
5,8×105 |
0,2 |
- |
- |
|
Этафом (ППЭ-Р) |
|
6,4×105 |
0,02 |
8,5×105 |
0,1 |
9,2×105 |
0,2 |
|
Пенотерм (НПП-ЛЭ) |
|
6,6×105 |
0,1 |
8,5×105 |
0,2 |
9,2×105 |
0,25 |
|
Примечания 1 Для нагрузок на звукоизоляционный слой, не указанных в этой таблице, величины Eд и e следует принимать по линейной интерполяции в зависимости от фактической нагрузки. 2 В таблице даны ориентировочные величины Eд и e, более точные данные следует брать из сертификатов на материалы, в которых эти величины должны быть приведены. |
|||||||
Пример 12. Требуется рассчитать индекс изоляции воздушного шума междуэтажным перекрытием. Перекрытие состоит из железобетонной несущей плиты g = 2500 кг/м3 толщиной 10 см, звукоизоляционных полосовых прокладок из жестких минераловатных плит плотностью 140 кг/м3 толщиной 4 см в необжатом состоянии и дощатого пола толщиной 35 мм на лагах сечением 100´50 мм с шагом 50 см. Полезная нагрузка 2000 Па.
Определяем поверхностные плотности элементов перекрытия:
т1 = 2500×0,1 = 250 кг/м2;
т2 = 600 0,035 (доски) + 600×0,05×0,1×2 (лаги) = 27 кг/м2.
Нагрузка на прокладку (с учетом того, что на 1 м2 пола приходятся 2 лаги)
Па.
В соответствии с 3.3 находим величину Rw0 для несущей плиты перекрытия:
Rw0 = 37 lgт - 43 = 37 lg250 - 43 = 88,7 - 43 = 45,7 » 46 дБ.
Находим частоту резонанса конструкции по формуле (11) при Eд = 8,0×105 Па, e = 0,55 (таблица 16), d = 0,04(1 - 0,55) = 0,018 м.
Гц.
По таблице 15 находим индекс изоляции воздушного шума данным междуэтажным перекрытием Rw = 52 дБ.
Пример 13. Требуется рассчитать индекс изоляции воздушного шума междуэтажным перекрытием. Перекрытие состоит из железобетонной несущей плиты g = 2500 кг/м3 толщиной 10 см, упругой прокладки из пенополиэтиленового материала Изолон толщиной 8 мм, цементно-песчаной стяжки g = 1800 кг/м3 толщиной 40 мм и паркета на битумной мастике по твердой ДВП толщиной 4 мм, g = 1100 кг/м3.
Определяем поверхностные плотности элементов перекрытия:
m1 = 2500×0,1 = 250 кг/м2;
m2 = 1800×0,04 (стяжка) + 1100×0,004 (ДВП) + 10,6 (паркет) = 72 + 4,4 + 10,6 = 87 кг/м2.
Индекс изоляции воздушного шума несущей плитой перекрытия определен в примере 12 - Rw0 = 46 дБ.
По таблице 16 принимаем характеристики материала упругой прокладки: Eд = 2×105 Па, e = 0,05 и определяем толщину прокладки в обжатом состоянии: d = 0,008(1 - 0,05) = 0,0076 м. Находим частоту резонанса конструкции по формуле (11)
Гц.
По таблице 15 находим индекс изоляции воздушного шума данным междуэтажным перекрытием Rw = 53 дБ.
3.11 Индекс приведенного уровня ударного шума Lnw под междуэтажным перекрытием с полом на звукоизоляционном слое следует определять по таблице 17 в зависимости от величины индекса приведенного уровня ударного шума для несущей плиты перекрытия (сплошного сечения или с круглыми пустотами) Lnw0, определенной по таблице 18, и частоты собственных колебаний пола, лежащего на звукоизоляционном слое, f0, определяемой по формуле
где Eд - динамический модуль упругости звукоизоляционного слоя, Па, принимаемый по таблице 16;
d - толщина звукоизоляционного слоя в обжатом состоянии, м;
т2 - поверхностная плотность пола (без звукоизоляционного слоя), кг/м2.
Таблица 17
|
f0, Гц |
Индексы приведенного уровня ударного шума под перекрытием Lnw при индексе для несущей плиты перекрытия Lnw0 |
|||||||
|
86 |
84 |
82 |
80 |
78 |
76 |
74 |
||
|
1. Деревянные полы по лагам, уложенным на звукоизоляционный слой в виде ленточных прокладок с Eд = 5×105 - 12×105 Па при расстоянии между полом и несущей плитой 60 - 70 мм |
160 |
59 |
58 |
56 |
55 |
54 |
54 |
53 |
|
200 |
61 |
60 |
58 |
57 |
55 |
54 |
54 |
|
|
250 |
62 |
61 |
59 |
58 |
56 |
55 |
55 |
|
|
315 |
64 |
62 |
60 |
59 |
57 |
56 |
56 |
|
|
2. Покрытие пола на сборных плитах с т = 30 кг/м2 по звукоизоляционному слою с Ед = 3×105 - 10×105 |
100 |
60 |
58 |
56 |
54 |
52 |
51 |
50 |
|
125 |
64 |
62 |
60 |
58 |
56 |
55 |
54 |
|
|
160 |
68 |
66 |
64 |
62 |
60 |
59 |
58 |
|
|
200 |
70 |
68 |
66 |
64 |
62 |
61 |
60 |
|
|
250 |
72 |
70 |
68 |
66 |
64 |
63 |
62 |
|
|
3. Покрытие пола на монолитной стяжке или сборных плитах с т = = 60 кг/м2 по звукоизоляционному слою с Ед = 3×105 - 10×105 Па |
60 |
61 |
58 |
56 |
54 |
51 |
49 |
48 |
|
80 |
62 |
59 |
57 |
56 |
53 |
52 |
51 |
|
|
100 |
64 |
61 |
59 |
57 |
56 |
55 |
54 |
|
|
125 |
66 |
63 |
61 |
59 |
58 |
57 |
56 |
|
|
160 |
68 |
65 |
63 |
61 |
60 |
58 |
57 |
|
|
200 |
70 |
68 |
66 |
64 |
62 |
60 |
59 |
|
|
4. То же, по звукоизоляционному слою из песка с Ед = 12×106 Па |
160 |
62 |
60 |
58 |
57 |
55 |
54 |
53 |
|
200 |
65 |
63 |
61 |
59 |
58 |
57 |
56 |
|
|
250 |
67 |
65 |
63 |
61 |
60 |
59 |
58 |
|
|
315 |
71 |
69 |
67 |
66 |
64 |
63 |
62 |
|
|
5. Покрытие пола на монолитной стяжке или сборных плитах с т = = 120 кг/м2 по звукоизоляционному слою с Ед= 3×105 - 10×105 Па |
60 |
59 |
56 |
54 |
52 |
50 |
48 |
47 |
|
80 |
61 |
58 |
56 |
54 |
52 |
50 |
49 |
|
|
100 |
63 |
60 |
58 |
57 |
55 |
53 |
52 |
|
|
125 |
65 |
62 |
60 |
58 |
56 |
54 |
53 |
|
|
160 |
67 |
64 |
62 |
60 |
58 |
56 |
55 |
|
|
200 |
68 |
65 |
64 |
62 |
60 |
58 |
57 |
|
|
6. То же, по звукоизоляционному слою из песка с Ед = 12×106 Па |
160 |
61 |
58 |
56 |
55 |
53 |
52 |
51 |
|
200 |
63 |
60 |
58 |
57 |
55 |
54 |
53 |
|
|
250 |
65 |
63 |
61 |
59 |
58 |
57 |
56 |
|
|
315 |
69 |
67 |
65 |
64 |
62 |
61 |
60 |
|
|
Примечание - При промежуточных значениях поверхностной плотности стяжки (сборных плит) индексы следует определять по интерполяции, округляя до целого числа дБ. |
||||||||
Таблица 18
|
Значения Lnw0, дБ |
|
|
150 |
86 |
|
200 |
84 |
|
250 |
82 |
|
300 |
80 |
|
350 |
78 |
|
400 |
77 |
|
450 |
76 |
|
500 |
75 |
|
550 |
74 |
|
600 |
73 |
|
Примечания 1 При подвесном потолке из листовых материалов (ГКЛ, ГВЛ и т.п.) из значений Lnw0 вычитается 1 дБ. 2 При заполнении пространства над подвесным потолком звукопоглощающим материалом из значений Lnw0 вычитается 2 дБ. |
|
Пример 14. Требуется рассчитать индекс приведенного уровня ударного шума под междуэтажным перекрытием. Перекрытие состоит из железобетонной несущей плиты толщиной 14 см, g = 2500 кг/м3, звукоизоляционного слоя из материала Пенотерм (НПП-ЛЭ) толщиной 10 мм в необжатом состоянии, гипсобетонной панели плотностью 1300 кг/м3 толщиной 5 см и линолеума средней плотностью 1100 кг/м3 толщиной 3 мм. Полезная нагрузка 2000 Па.
Определяем поверхностные плотности элементов перекрытия:
m1 = 2500×0,14 = 350 кг/м2;
m2 = 1300×0,05 + 1100×0,003 = 68,3 кг/м2.
Нагрузка на звукоизоляционный слой 2000 + 683 = 2683 Па.
По таблице 18 находим Lnw0 = 78 дБ.
Вычисляем частоту колебаний пола по формуле (13) при Ед = 6,6×105 Па, e = 0,1 (таблица 16) и d = 0,01(1 - 0,1) = 0,009 м:
Гц » 160 Гц.
По таблице 17 находим индекс изоляции приведенного уровня шума под данным междуэтажным перекрытием
Lnw = 60 дБ.
Пример 15. Требуется рассчитать индекс приведенного уровня ударного шума под междуэтажным перекрытием. Перекрытие состоит из железобетонной несущей плиты g = 2500 кг/м3 толщиной 18 см, звукоизоляционного слоя из пенополиэтиленового материала Термофлекс толщиной 12 мм, двух гипсоволокнистых листов g = 1100 кг/м3 общей толщиной 20 мм и паркета на битумной мастике толщиной 15 мм. Полезная нагрузка 2000 Па.
Определяем поверхностные плотности элементов перекрытия:
m1 = 2500×0,18 = 450 кг/м2;
т2 = 1100×0,02 + 700×0,015 = 22 + 10,5 = 32,5 кг/м2.
По таблице 18 находим Lnw0 = 76 дБ.
Вычисляем частоту колебаний пола по формуле (13) при Eд = 4×105 Па, e = 0,03, толщине прокладки в обжатом состоянии d = 0,012(1 - 0,03) = 0,0116 м:
Гц » 160 Гц.
По таблице 17 находим индекс приведенного уровня ударного шума Lnw = 59 дБ.
3.12 При предварительном выборе материала упругой прокладки (звукоизоляционного слоя) индекс приведенного уровня ударного шума под перекрытием ориентировочно можно определять по формуле
, дБ
где
- индекс приведенного
уровня ударного шума для несущей плиты перекрытия, дБ, принимаемый по таблице 18;
- индекс снижения приведенного уровня
ударного шума, дБ, за счет пола на звукоизоляционном слое, принимаемый по
рисунку 13
в зависимости от веса пола т2 и отношения
динамического модуля упругости материала прокладки Eд, Па, к ее толщине в обжатом
состоянии d, м.
3.13 Индекс изоляции воздушного шума Rw, дБ, междуэтажным перекрытием без звукоизоляционного слоя с полом из рулонных материалов следует определять в соответствии с 3.2 или 3.3 настоящего Свода правил, принимая при этом величину т равной поверхностной плотности плиты перекрытия (без рулонного пола).
Если в качестве покрытия чистого пола принят поливинилхлоридный линолеум на волокнистой теплозвукоизоляционной подоснове (ГОСТ 18108-80), то рассчитанную величину индекса изоляции воздушного шума междуэтажным перекрытием следует уменьшать на 1 дБ.
Рисунок 13
Индекс приведенного уровня ударного шума Lnw, дБ, под перекрытием без звукоизоляционного слоя с полом из рулонных материалов следует определять по формуле (14), где DLnw - индекс снижения приведенного уровня ударного шума, дБ, принимаемый в соответствии с паспортными данными на рулонный материал.
Величины DLnw для рулонных материалов покрытий полов принимаются по данным сертификационных испытаний образцов этих материалов.
3.14 Если ограждающая конструкция состоит из нескольких частей с различной звукоизоляцией (например, стена с окном и дверью), ее изоляцию воздушного шума следует определять по формуле
, дБ, (15)
где
- общая
площадь данной конструкции, м2;
Si - площадь i-й части, м2;
Ri - изоляция воздушного шума i-й части, дБ.
Если ограждающая конструкция состоит из двух частей с различной звукоизоляцией (R1 > R2), то
, дБ. (16)
Если ограждающая конструкция имеет открытый проем (открытая форточка или створка окна, вентиляционное отверстие без глушителя шума и т.п.), ее изоляция воздушного шума определяется по формуле
, дБ, (17)
где So - площадь открытого проема, м2.
Возможно определять среднюю изоляцию воздушного шума такого ограждения по рисунку 14 в зависимости от величины звукоизоляции ограждения (глухой его части) R1 и отношения площади открытого проема к общей площади ограждения.
Рисунок 14 - Звукоизоляция ограждающей конструкции с открытым проемом (отверстием)
4.1 Элементы ограждений рекомендуется проектировать из материалов с плотной структурой, не имеющей сквозных пор. Ограждения, выполненные из материалов со сквозной пористостью, должны иметь наружные слои из плотного материала, бетона или раствора.
4.2 Внутренние стены и перегородки из кирпича, керамических и шлакобетонных блоков рекомендуется проектировать с заполнением швов на всю толщину (без пустошовки) и оштукатуренными с двух сторон безусадочным раствором.
4.3 В целях облегчения ограждающих конструкций рекомендуется применение слоистых конструкций вместо акустически однородных. При этом следует по возможности исключать жесткие связи между слоями и заполнять воздушные промежутки звукопоглощающими материалами (например, стекловолокнистыми или минераловатными матами, плитами). Следует иметь в виду, что при применении минераловатных плит плотностью более 60 кг/м3 специальных мер по креплению плит в воздушном промежутке не требуется.
4.4 Ограждающие конструкции необходимо проектировать так, чтобы в процессе строительства и эксплуатации в них не было и не возникало даже минимальных сквозных щелей и трещин.
4.5 Звукоизоляционную прокладку под конструкцией пола проектируют в виде сплошного слоя или полосовых прокладок. Полосовые прокладки используют с целью уменьшения расхода звукоизоляционного материала, если это позволяют вышерасположенные слои пола. Их принимают шириной 10 - 20 см и располагают по контуру и по полю основания пола (несущей части) параллельно одной из его сторон с шагом 30 - 70 см в зависимости от конструктивных особенностей несущей части и пола. При наличии ребер или лаг полосовые прокладки располагаются вдоль их осей. Суммарная площадь, через которую передается нагрузка на полосовые прокладки, должна быть не менее 20 % площади пола. Другое соотношение или применение отдельных (штучных) прокладок должно быть обосновано расчетами.
4.6 Пол на звукоизоляционном слое (прокладках) не должен иметь жестких связей (звуковых мостиков) с несущей частью перекрытия, стенами и другими конструкциями здания, т.е. должен быть «плавающим». Деревянный пол или плавающее бетонное основание пола (стяжка) должны быть отделены по контуру от стен и других конструкций здания зазорами шириной 1 - 2 см, заполняемыми звукоизоляционным материалом или изделиями из пористого полиэтилена и т.п. Плинтусы или галтели следует крепить только к полу или только к стене. Примыкание конструкции пола на звукоизоляционной прослойке к стене или перегородке показано на рисунке 15.
4.7 При проектировании пола с основанием в виде монолитной плавающей стяжки необходимо предусматривать по звукоизоляционной прокладке из мягкой ДВП, минераловатных и стекловолокнистых листов или плит гидроизоляционный слой (например, пергамин, гидроизол, рубероид и т.п.) с перехлестыванием в стыках не менее 20 см. В стыках звукоизоляционных плит (матов) не должно быть щелей и зазоров. Следует иметь в виду, что применение прокладок из пенополиэтилена или пенополипропилена (изолона и подобных ему) позволяет исключить применения гидроизоляционного слоя.
При проектировании перекрытий в виде комплексных панелей, включающих несущую часть, звукоизоляционный слой и плавающее бетонное основание пола и изготовляемых в одном производственном цикле, необходимо защищать звукоизоляционный слой от увлажнения и проникания раствора пергамином или другим гидроизоляционным материалом сверху, снизу и с боков. При этом необходимо обеспечить отсутствие звуковых мостиков между плавающим основанием пола и несущей частью перекрытия.
4.8 Для увеличения звукоизоляции перекрытия с полом на звукоизоляционном слое при заданной конструкции несущей части возможно принятие следующих мер или всего комплекса перечисленных мероприятий:
- уменьшение динамической жесткости звукоизоляционного слоя путем его утолщения или применения материала с меньшим динамическим модулем упругости;
- увеличение поверхностной плотности пола;
- применение под звукоизоляционным слоем (или между полосовыми прокладками) засыпок из песка, шлака и т.п. в дополнение к основному звукоизоляционному слою;
- применение сплошных звукоизоляционных прокладок вместо полосовых;
- увеличение средней толщины промежутка между несущей частью и полом.
1 - несущая часть междуэтажного перекрытая; 2 - стена; 3 - бетонное основание пола; 4 - покрытие пола; 5 - дощатый пол на лагах; 6 - прокладка (слой) из звукоизоляционного материала; 7 - гибкий пластмассовый плинтус; 8 - деревянная галтель
Рисунок 15 - Схема конструктивного решения узла примыкания пола на звукоизоляционном слое к стене (перегородке)
4.9 В несущих элементах перекрытий с пустотами, заполненными сыпучими материалами, следует предусматривать пустоты круглого сечения. Для заполнения пустот используют сухой прокаленный песок, искусственные и естественные пористые заполнители для бетонов с предельной крупностью 10 - 20 мм (керамзит, шлаки и др.). Площадь поперечного сечения пустот, заполненных этими материалами, должна составлять не менее 25 % сечения плиты.
4.10 В конструкциях перекрытий, не имеющих запаса звукоизоляции, не рекомендуется применение покрытий полов из линолеумов на войлочной (волокнистой) подоснове, снижающих изоляцию воздушного шума на 1 дБ по индексу Rw. Вместо них возможно применение линолеумов со вспененной подосновой, которые не влияют на изоляцию воздушного шума и могут обеспечивать необходимую изоляцию ударного шума при соответствующих параметрах вспененных слоев.
4.11 Для существенного повышения изоляции ударного шума рекомендуется применение ворсовых, ковровых и т.п. покрытий полов, а также линолеумов со вспененными слоями, прошедших соответствующие акустические испытания и показавших достаточную эффективность.
4.12 Междуэтажные перекрытия с повышенными требованиями к изоляции воздушного шума (Rw = 57 - 62 дБ), разделяющие жилые и встроенные шумные помещения, следует проектировать, как правило, с использованием плит из монолитного железобетона достаточной толщины (например, каркасно-монолитная или монолитная конструкция первого этажа). Достаточность звукоизоляции такой конструкции определяется расчетом.
Другим возможным конструктивным вариантом при размещении шумных помещений в первых нежилых этажах является устройство промежуточного (технического) 2-го этажа. При этом также необходимо выполнить расчеты, подтверждающие достаточную звукоизоляцию жилых помещений. Во всех случаях размещения в первых нежилых этажах помещений с источниками шума рекомендуется устройство в них звукопоглощающих конструкций потолков, значительно снижающих шумность этих помещений.
4.13 Для предотвращения передачи структурного шума из нижнего шумного помещения в расположенное выше жилое следует в шумных помещениях выполнять плавающие полы, а в качестве чистого покрытия применять ворсовые или ковровые покрытия.
4.14 Двойные стены или перегородки обычно проектируют с жесткой связью между элементами по контуру или в отдельных точках. Величина промежутка между элементами конструкций должна быть не менее 40 мм.
Для увеличения звукоизоляции двойных стен и перегородок рекомендуются следующие конструктивные меры:
- увеличение толщины промежутка между элементами двойной конструкции;
- устранение жесткой связи между элементами двойной конструкции, а также с конструкциями, примыкающими к стенам и перегородкам.
4.15 Для увеличения изоляции воздушного шума стеной или перегородкой, выполненной из железобетона, бетона, кирпича и т.п., в ряде случаев целесообразно использовать дополнительную обшивку на относе.
В качестве материала обшивки
могут использоваться: гипсокартонные и гипсоволокнистые листы, твердые
древесно-волокнистые плиты и подобные листовые материалы, прикрепленные к стене
по деревянным рейкам, по линейным или точечным маякам из гипсового или
цементно-песчаного раствора, по металлическому каркасу. Воздушный промежуток
между стеной и обшивкой целесообразно выполнять толщиной 40 - 60 мм и заполнять
мягким звукопоглощающим материалом (минераловатными или стекловолокнистыми
плитами и т.п.). Оптимальная толщина звукопоглотителя составляет
толщины воздушного
промежутка.
4.16 Внутренние стены, разделяющие жилые и встроенные шумные помещения, к которым предъявляются повышенные требования по изоляции воздушного шума (требуемый индекс Rw = 54 - 59 дБ), следует проектировать двойными с полным разобщением их элементов между собой и от примыкающих конструкций, исключающим косвенную передачу звука в изолируемое помещение по примыкающим стенам и перекрытиям. В случае применения в качестве таких стен акустически однородных конструкций также должны быть предусмотрены меры по снижению интенсивности косвенной передачи звука по примыкающим конструкциям.
4.17 Стыки между внутренними ограждающими конструкциями, а также между ними и другими примыкающими конструкциями должны быть запроектированы таким образом, чтобы в них после строительства отсутствовали и в процессе эксплуатации здания не возникали сквозные трещины, щели и неплотности, которые резко снижают звукоизоляцию ограждений.
Стыки, в которых в процессе эксплуатации, несмотря на принятые конструктивные меры, возможны взаимное перемещение стыкуемых элементов под воздействием нагрузки, температурные и усадочные деформации, следует конструировать с применением долговечных герметизирующих упругих материалов и изделий, приклеиваемых к стыкуемым поверхностям.
4.18 Несущие элементы перекрытий следует опирать на внутренние и наружные стены или заводить в них. Свободное примыкание несущих элементов перекрытий к стенам не рекомендуется.
В узлах примыканий без заводки стыкуемого элемента рекомендуется устройство фигурного стыка, препятствующего взаимному смещению элементов и дополняемого применением герметизирующего материала. Такую же конструкцию примыкания следует принимать в местах пропуска через отверстия в перекрытиях вертикальных самонесущих элементов, например вентиляционных блоков.
Стыки между несущими элементами стен и опирающимися на них перекрытиями проектируют с заполнением раствором или бетоном. Если в результате нагрузок или других воздействий возможно раскрытие швов, при проектировании должны быть предусмотрены меры, не допускающие образования в стыках сквозных трещин.
4.19 Стыки между несущими элементами внутренних стен проектируют, как правило, с заполнением раствором или бетоном. Сопрягаемые поверхности стыкуемых элементов должны образовывать полость (колодец), поперечные размеры которого обеспечивают возможность плотного заполнения ее монтажным бетоном или раствором на всю высоту элемента. Необходимо предусмотреть меры, ограничивающие взаимное перемещение стыкуемых элементов (устройство шпонок, сварка закладных деталей и т.д.). Соединительные детали, выпуски арматуры и т.п. не должны препятствовать заполнению полости стыка бетоном или раствором. Заполнение стыков рекомендуется производить безусадочным (расширяющимся) бетоном или раствором.
4.20 Акустически однородные и двойные перегородки, опирающиеся на несущие конструкции перекрытия, должны устанавливаться на уплотнительно-выравнивающие материалы (цементно-песчаный раствор, цементные пасты и др.). В местах их примыканий к потолку должно быть предусмотрено применение герметизирующего материала на всю глубину стыка (рисунок 16). Примыкание перегородок к наружным и внутренним стенам должно решаться аналогично примыканию к потолку.
4.21 Сопряжение несущих элементов внутренних стен с наружными стенами должно осуществляться с заведением внутренней стены в паз или в стык между элементами наружной стены и устройством замоноличенного стыка, исключающего образование сквозных трещин.
4.22 При проектировании стыка между сборными элементами междуэтажного перекрытия в пределах помещения следует устраивать стык замоноличенным, исключающим образование сквозных трещин и располагать в стыке уплотняющие прокладки из герметизирующих материалов (рисунок 17).
1 - несущая часть перекрытия; 2 - элемент перегородки; 3 - герметик (уплотняющая прокладка или шнур); 4 - раствор
Рисунок 16 - Схема конструктивного решения узла примыкания двойной перегородки к перекрытию
1 - сборный элемент перекрытия; 2 - герметик; 3 - монтажный бетон; 4 - раствор
Рисунок 17 - Схема конструктивного решения расположенного в пределах помещения стыка элементов перекрытия с применением герметизирующего материала
4.23 Конструкция стыка в двойных стенах, расположенного в пределах помещения, не должна создавать жесткой связи между слоями стены. В месте стыка в промежутке между слоями двойной стены следует располагать уплотняющий брусок со звукоизоляционными прокладками.
4.24 При проектировании сборных элементов конструкций необходимо принимать такие конфигурацию и размеры стыкуемых участков, которые обеспечивают размещение, наклейку, фиксацию и требуемое обжатие герметизирующих материалов и изделий, когда их применение предусмотрено настоящим Сводом правил.
При назначении размеров зазоров и полостей (колодцев) в стыках следует учитывать допуски при изготовлении и монтаже сборных элементов с тем, чтобы при возможных неблагоприятных условиях была обеспечена надежная заделка стыка, предусмотренная проектом.
4.25 Пропуск труб водяного отопления, водоснабжения и т.п. через межквартирные стены и перегородки не допускается. Трубы водяного отопления, водоснабжения и т.п. должны пропускаться через междуэтажные перекрытия и межкомнатные стены (перегородки) в эластичных гильзах (из пористого полиэтилена и других упругих материалов), допускающих температурные перемещения и деформации труб без образования сквозных щелей. Допускается установка труб с компенсаторами температурных и других деформаций, исключающими нарушение монолитной заделки труб в несущих элементах перекрытий и в стенах. Монолитная заделка должна выполняться безусадочным (расширяющимся) раствором.
В вертикальных шахтах, в которых проходят трубы стояков водоснабжения и канализации, должны быть предусмотрены горизонтальные монолитные диафрагмы в уровне и на толщину междуэтажных перекрытий, препятствующие распространению воздушного шума по шахтам. Пропуск через диафрагмы стояков горячего и холодного водоснабжения должен осуществляться в эластичных гильзах во избежание распространения корпусного шума от работы водоразборной арматуры по перекрытиям в жилые помещения.
Полости в панелях внутренних стен, предназначенные для соединения труб замоноличенных стояков отопления, должны быть заделаны безусадочным бетоном или раствором.
4.26 Скрытая электропроводка в межквартирных стенах и перегородках должна располагаться в отдельных для каждой квартиры каналах или штрабах. Полости для установки распаячных коробок и штепсельных розеток должны быть несквозными. Если образование сквозных отверстий обусловлено технологией производства элементов стены, указанные приборы должны устанавливаться в них только с одной стороны. Свободную часть полости заполняют звукопоглощающим материалом (например, минеральной ватой) и заделывают гипсовым или другим безусадочным раствором слоем толщиной не менее 40 мм.
4.27 При размещении скрытой электропроводки в каналах несущей плиты междуэтажного перекрытия полости для перехода провода из перекрытия в стену должны быть замкнутыми, чтобы не создавались сквозные пути прохождения звука в вертикальном (через перекрытие) и горизонтальном (через стену) направлениях. Если образование сквозной полости в плите перекрытия или стене обусловлено технологией изготовления, необходимо предусмотреть ее наружную заделку.

1 - панель перекрытия; 2 - электроканал; 3 - крюк, приваренный к круглой стальной пластине; 4 - раствор (заделка нижней части отверстия условно не показана)
Рисунок 18 - Схема конструктивного решения выпуска провода из перекрытия к потолочному светильнику (перекрытие со сквозным отверстием)
Вывод провода из перекрытия к потолочному светильнику следует предусматривать в несквозной полости. Если образование сквозного отверстия обусловлено технологией изготовления плиты перекрытия, то отверстие должно состоять из 2 частей. Верхняя часть большего диаметра должна быть заделана безусадочным раствором, нижняя - заполнена звукопоглощающим материалом (например, супертонким стекловолокном) и прикрыта со стороны потолка слоем раствора или плотной декоративной крышкой (рисунок 18).
4.28 При проектировании сборных элементов ограждений, через которые необходимо пропустить трубы, следует предусматривать отверстия, размеры и формы которых обеспечивают их надежную заделку, или специальные закладные детали.
4.29 Конструкция вентиляционных блоков должна обеспечивать целостность стенок, разделяющих каналы (отсутствие в них сквозных каверн, трещин). Горизонтальный стык вентиляционных блоков должен исключать возможность проникновения шума по неплотностям из одного канала в другой.
Вентиляционные отверстия расположенных по вертикали квартир должны сообщаться между собой через сборные и попутные каналы не ближе чем через этаж.
Ключевые слова: расчет и проектирование звукоизоляции, индекс изоляции, частотная характеристика изоляции воздушного шума, звукоизоляционный слой