Федеральный горный и промышленный надзор России
(Госгортехнадзор России)
Серия 09
Нормативные
документы по безопасности,
надзорной и разрешительной деятельности
в химической, нефтехимической и
нефтеперерабатывающей промышленности
Выпуск 4
МЕТОДИКА
РАСЧЕТА ЗОН ЗАТОПЛЕНИЯ ПРИ
ГИДРОДИНАМИЧЕСКИХ АВАРИЯХ
НА ХРАНИЛИЩАХ ПРОИЗВОДСТВЕННЫХ
ОТХОДОВ ХИМИЧЕСКИХ ПРЕДПРИЯТИЙ
РД 09-391-00
Москва
Государственное
унитарное предприятие
«Научно-технический центр по безопасности в промышленности
Госгортехнадзора России»
2002
Методика предназначена для расчета зон затопления и количественной оценки уровня безопасности при гидродинамической аварии на эксплуатируемых и проектируемых хранилищах шламов, жидких производственных отходов, стоков и технических вод.
СОДЕРЖАНИЕ
Утверждена
постановлением Госгортехнадзора
России от 04.11.00 № 65
Введена в действие 04.11.00
МЕТОДИКА РАСЧЕТА ЗОН ЗАТОПЛЕНИЯ ПРИ ГИДРОДИНАМИЧЕСКИХ АВАРИЯХ НА ХРАНИЛИЩАХ ПРОИЗВОДСТВЕННЫХ ОТХОДОВ ХИМИЧЕСКИХ ПРЕДПРИЯТИЙ
РД 09-391-00
Методика предназначена для расчета зон затопления и количественной оценки уровня безопасности при гидродинамической аварии на эксплуатируемых и проектируемых хранилищах шламов, жидких производственных отходов, стоков и технических вод (далее - хранилища).
При разработке Методики расчета зон затопления при гидродинамических авариях на хранилищах производственных отходов химических предприятий (далее - Методика) учтены требования следующих документов:
Федерального закона Российской Федерации от 21.07.97 № 117 «О безопасности гидротехнических сооружений*»;
* Далее - ГТС.
Постановления Правительства Российской Федерации от 06.11.98 № 1303 «Об утверждении положения о декларировании безопасности гидротехнических сооружений».
В Методике учтены особенности хранилищ отходов химического промышленного комплекса, в том числе:
наличие в хранилищах высокотоксичных и токсичных веществ, веществ, представляющих опасность для окружающей природной среды (далее - вредные вещества);
размещение хранилищ на местности с относительно плавными формами рельефа недалеко от поверхностных водоемов, на промплощадках предприятий, в непосредственной близости от населенных пунктов и сельскохозяйственных угодий;
устройство ограждающих дамб из песчаных, супесчаных и суглинистых грунтов.
Методика может быть использована для расчета зон затопления и количественной оценки уровня безопасности при авариях на хранилищах предприятий других отраслей промышленности.
1.1. При аварии на хранилищах отходов и стоков происходит разрушение ограждающих дамб и разлив содержимого хранилищ, вызывающий:
затопление окружающих территорий, в том числе мест временного или постоянного присутствия человека, зданий и сооружений;
распространение волной прорыва вредных веществ, которое приводит к загрязнению почв и земель, грунтовых вод, поверхностных водоемов, источников питьевого водоснабжения.
1.2. Опасность аварий определяется последствиями возникающих чрезвычайных ситуаций (ЧС).
1.3. При разработке Методики использованы традиционные положения теории русловых процессов, безнапорного гидротранспорта грунтов, а также Рекомендации по расчету охранных зон хвостохранилищ, выпущенные ВНИИПИ механической обработки полезных ископаемых (МЕХАНОБР) в 1984 году [1 - 7].
1.4. Методика позволяет определить показатели, характеризующие аварию и ее последствия:
границы зоны затопления;
время образования прорана (время от начала до полного истечения жидкости из хранилища);
размеры прорана;
расходы и объемы жидких отходов, выливающихся по мере развития прорана;
высота, скорость и гидродинамическое давление волны прорыва по пути движения;
параметры загрязнения вредными веществами почвы, грунтовых и поверхностных вод;
показатели последствий аварий по воздействию волны прорыва на человека, здания и сооружения;
показатели последствий аварий по воздействию на окружающую природную среду.
1.5. Методика предназначена для использования:
предприятиями и организациями, эксплуатирующими хранилища;
проектными и экспертными организациями;
другими организациями, по роду своей деятельности связанными с обеспечением безопасности хранилищ;
при декларировании безопасности ГТС;
при определении возможности дальнейшей эксплуатации хранилищ и других работах, в которых требуется количественная оценка уровня безопасности.
1.6. Полученные показатели последствий аварии могут быть использованы при оценке ущерба окружающей природной среде, материальных потерь, границ зон поражающих факторов и классификации ЧС.
1.7. Основные термины и определения, используемые в методике.
Затопление - повышение уровня воды водотока, водоема или подземных вод, приводящее к образованию свободной поверхности воды на участке территории [8, 9].
Катастрофическое затопление - территория, на которой затопление имеет глубину 1,5 м и более и может повлечь за собой разрушения зданий и сооружений, гибель людей, вывод из строя оборудования предприятий [10].
Зона затопления - зона, в пределах которой происходит движение потока, образующегося при разрушении дамбы (плотины) [8, 11].
Почва - природное образование, слагающее поверхностный слой земной коры и обладающее плодородием [12, 13].
Плотность сухого грунта - отношение массы сухого грунта (исключая массу воды в его порах) к его первоначальному объему [14].
Плотность частиц грунта - масса единицы объема грунта без учета пор или масса единицы объема твердых частиц грунта [14].
Вода грунтовая - гравитационная вода первого от поверхности земли постоянно действующего водоносного горизонта, расположенного на первом водоупорном слое [13].
Коэффициент фильтрации - скорость фильтрации воды при градиенте напора, равном единице, и линейном законе фильтрации [14].
Градиент напора - отношение разности напора воды к длине пути фильтрации [14].
Инфильтрация - проникновение атмосферной или поверхностной воды в породы и почвы [14].
Авария - опасное техногенное происшествие, создающее угрозу жизни и здоровью людей, приводящее к разрушению зданий, сооружений, оборудования и транспортных средств, нарушению производственного и транспортного процесса, нанесению ущерба окружающей природной среде [8, 15, 16].
Гидродинамическая авария - авария на ГТС, связанная с распространением с большой скоростью воды и создающая угрозу возникновения чрезвычайной техногенной ситуации [8, 15, 16].
Чрезвычайная ситуация - обстановка на определенной территории, сложившаяся в результате аварии на ГТС, которая может повлечь или повлекла за собой человеческие жертвы, ущерб здоровью людей или окружающей природной среде, значительные материальные потери и нарушение жизнедеятельности людей [8, 16].
Предельно допустимая концентрация - максимальная концентрация, при которой вещество не оказывает прямого или опосредованного влияния на состояние здоровья населения (при воздействии на организм в течение всей жизни) и не ухудшает гигиенические условия водопользования [8].
Опасные отходы - отходы, которые в силу их реакционной способности или токсичности представляют непосредственную или потенциальную опасность для здоровья человека или состояния окружающей среды самостоятельно или при вступлении в контакт с другими отходами и окружающей средой [8].
Загрязняющие вещества - химические соединения, повышенное содержание которых в биосфере и ее компонентах вызывает негативную токсико-экологическую ситуацию [8].
Прудок-отстойник - водоем, в котором происходит осветление в процессе намыва [8].
* Отходы - жидкие производственные отходы, стоки и технические воды.
2.1.1. Процесс разрушения хранилища, образования прорана и движения образующегося при этом потока отходов является сложным. Неравномерный и неустановившийся характер движения потока по всей трассе растекания обусловливают переменные значения его гидродинамических параметров [1 - 7], поэтому для упрощения расчетов рассматриваемый процесс разделяется в расчетном отношении на два этапа:
1) расчет образования прорана и расчет параметров потока в сечении у подошвы откоса дамбы;
2) расчет максимальных параметров потока по трассе растекания.
2.1.2. В Методике приняты следующие допущения:
расчет производится для глубины слоя жидкости и неконсолидированных отходов не менее 25 см;
отходы в хранилище могут представлять собой однородный или неоднородный состав;
поперечное сечение прорана принимается прямоугольным и постоянным по всей длине прорана;
после образования прорана жидкость растекается по местности, имеющей естественный уклон;
гидравлический прыжок, возникающий на переходе потока с участка с уклоном дна больше критического на участок, где уклон меньше критического, - не рассматривается [17, 18].
2.2.1. В расчетах приняты следующие основные обозначения:
Нmax - максимальная глубина вытекающего из прудка слоя жидкости и несконсолидированных отходов, м;
F - площадь хранилища по максимальной отметке гребня дамбы, м2;
Vmax - полный объем отходов в хранилище, м3;
l0 - ширина гребня дамбы, м;
mотк - заложение внутреннего откоса дамбы*, м/м;
* Отношение длины горизонтальной проекции откоса к высоте откоса.
nотк - заложение внешнего откоса дамбы, м/м;
ρs - плотность частиц грунта, т/м3;
- плотность жидкости
в поверхностном слое, т/м3;
- плотность жидкости в слое, расположенном на глубине, равной
½ толщины слоя жидкости и несконсолидированных отходов, т/м3;
- плотность жидкости
в придонном слое, т/м3;
ρd - средняя плотность сухого грунта тела дамбы, т/м3 [7];
vв - кинематический коэффициент вязкости жидкости в поверхностном слое, см2/с;
vc - кинематический коэффициент вязкости жидкости в слое, расположенном на глубине, равной ½ толщины слоя жидкости и несконсолидированных отходов, см2/с;
vн - кинематический коэффициент вязкости жидкости в придонном слое, см2/с (для воды кинематический коэффициент вязкости равен 0,0101 см2/с);
d - средневзвешенный размер частиц грунта, мм.
2.2.2. Подготовка исходных данных для расчета на первом этапе
2.2.2.1. Исходными данными для расчета являются:
максимальная глубина вытекающего из прудка слоя жидкости и несконсолидированных отходов;
площадь хранилища по максимальной отметке гребня дамбы;
ширина гребня дамбы;
заложение внутреннего откоса дамбы;
заложение внешнего откоса дамбы;
плотность частиц грунта;
средневзвешенный размер частиц грунта.
2.2.2.2. Вычисление средневзвешенного размера частиц грунта. Для этого производятся замеры размера частиц грунта:
для наливных хранилищ - на дамбе;
для комбинированных (наливных + намывных) и намывных - на первичной насыпной и на намывной дамбах.
Определяются среднее значение диаметра частиц грунта dсp и стандартное отклонение измерений σd:
(1)
где di - диаметр i-й выделенной фракции частиц грунта, определяемый по гранулометрическому анализу, мм;
п - количество измерений.
Из формул (1) и (2) получаем выражение для определения средневзвешенного размера частиц грунта
(3)
где tst - квантиль распределения Стьюдента с доверительной вероятностью 0,95 [19].
2.2.2.3. Плотность жидкости ρжj в j-м слое для отходов с неоднородным составом определяется по следующей формуле:
(4)
где хj - расстояние от поверхности жидких отходов до рассматриваемого j-го слоя, м;
(5)
H - высота слоя жидкости и несконсолидированных отходов, м.
Для отходов с однородным составом j = 1.
2.2.2.4. Кинематический коэффициент вязкости жидкости vj в j-м слое для отходов с неоднородным составом определяется по следующей формуле:
(6)
где
(7)
Для отходов с однородным составом j = 1.
Вывод формул (4) - (7) приведен в приложении 1.
За начальные условия расчета размыва элементарного прорана принимается равенство
y0 = b0 = h0 = 0,1Hmax, (8)
где у0 - начальная глубина прорана;
b0 - начальная ширина прорана;
h0 - начальная глубина потока.
На рис. 1 представлена схема расчета размыва гребня и пляжной зоны хвостохранилища.
Рис. 1. Схема расчета размыва прорана
Задавая приращение глубины прорана на каждом расчетном шаге постоянным и равным Dу £ у0, определяется приращение ширины прорана
(9)
2.2.3. Задавая приращения размеров прорана (Dy и Db), определяем уменьшение глубины вытекающего из прудка слоя DH. Расчет ведется методом итераций.
Определение параметров размыва прорана и потока производится в расчетный i-й промежуток времени:
глубина прорана yi = уi-1 + Dy; (10)
ширина прорана bi = bi-1 + Db; (11)
длина прорана, м, li = (mотк + потк)уi + l0. (12)
При достижении уi = Hmax принимается, что увеличение прорана осуществляется только за счет его расширения:
bi = bi-1 + Db', (13)
где
(14)
Глубина потока
в проране, м,
(15)
где Hi определяется по формуле (37).
Расход потока
в проране, м3/с [4]:
, (16)
где т - коэффициент водослива, принимаемый равным 0,31.
Удельный
расход потока в проране, м2/с,
. (17)
Скорость
потока в проране, м/с,
. (18)
Неразмывающая скорость и0, м/с, определяется для заданного значения dср и гидравлических параметров потока производится по зависимостям В.С. Кнороза [20]:
для 0,1 мм < d £ 0,25 мм
; (19)
для 0,25 мм
< d < 1,5 мм
; (20)
для d ³ 1,5 мм
, (21)
где k = 0,785d0,75;
g - ускорение силы тяжести (g = 981 см/с2);
Ri - гидравлический радиус потока для прямоугольного сечения прорана, определяемый по формуле:
(22)
ρ'j - относительная плотность жидких отходов j-го слоя, которая определяется как
(23)
Для частиц грунтов с d < 0,1 мм при определении значения неразмывающей скорости необходимо учитывать силы сцепления между частицами грунта. Значение и0 рекомендуется определять по нормативно-справочной литературе [17].
Величина гидравлической крупности W0, м/с, для размываемых грунтов в проране определяется в зависимости от диаметра частиц грунта по формулам [20]:
при d £ 0,1 мм
(24)
при 0,1 мм < d < 0,6 мм
(25)
при 0,6 мм < d < 2,0 мм
(26)
при d ³ 2,0 мм
(27)
где g - ускорение силы тяжести (g = 981 см/с2).
Время размыва элементарного объема прорана, с:
(28)
где µi - транспортирующая (размывающая) способность потока;
DWi - увеличение объема размытого прорана, м3:
DWi = Wi - Wi-1 = 0,5(biyili - bi-1yi-1li-1). (29)
В зависимости от гидравлических параметров потока и диаметра частиц размываемого грунта они могут переноситься потоком либо во взвешенном, либо в донном состоянии.
Если скорость потока иi ³ 2,7и0i и все частицы d £ 0,15 мм (переносятся во взвешенном состоянии), то величина µi может быть определена как [1]:
(30)
где икр - критическая скорость потока, м/с, определяется:
при yi < Hmax икрi = 2,63hi0,5; (31)
при yi = Hmax икрi = 3,77hi0,2; (32)
Если иi < 2,7и0i и все частицы d > 0,15 мм (движутся в донном режиме), то величина µi определяется по формуле [1]:
(33)
где g - ускорение силы тяжести (g = 9,81 м/с2).
Объем жидкости, вытекающей из прудка за время Dti:
(34)
Общий объем, вытекший за время Т = ΣDti:
(35)
Понижение уровня в прудке
![]()
(36)
Глубина слоя, вытекающего из прудка:
Hi = Hi-1 + Dy - DHi-1. (37)
При i = 1 принимаем, что H0 = у0 и DH0 = 0.
Расчет ведется до того момента, когда V достигает значения Vmах или величина транспортирующей способности µi установится меньше 0,003.
Для удобства все результаты расчетов представляются в табличной форме.
Для определения значений скорости U и глубины h потока по внешнему откосу дамбы из результатов расчетов, полученных в п. 2.2.3, выбираются:
максимальное значение полного расхода Qmax и соответствующие ему значения ширины b11 и глубины h11 (вариант 1);
максимальное значение удельного расхода qmax и соответствующие ему значения ширины b12 и глубины h12 (вариант 2);
максимальное значение ширины прорана bmax.
Расчет по выбранным параметрам производится одновременно для Qmax и qmax.
2.3.1. Для определения формы свободной поверхности потока [4] необходимо сравнить величину нормальной глубины h0 с критической глубиной hкp и значение уклона внешнего откоса дамбы iво со значением критического уклона iкр.
Определение критической глубины потока, м,
(38)
* Здесь и далее по тексту формулы в левой колонке относятся к первому варианту расчета, в правой - ко второму.
где α - коэффициент кинетической энергии, принимается равным 1,1;
g - ускорение силы тяжести (g = 9,81 м/с2).
Нормальная глубина h0 потока вычисляется в процессе итерационной процедуры (подбором) по значению модуля расхода К0:
вычисляется модуль расхода [4]:
(39)
где ![]()
Задавая различные значения h1 (h2)*, определяем характеристики потока:
* Здесь и далее по тексту значения параметров, указанных в скобках, относятся ко второму варианту расчета.
площадь сечения, м2,
ω1 = b11h1, ω2 = b12h2; (40)
смоченный периметр потока
x1 = b11 + 2h1, x2 = b12 + 2h2; (41)
гидравлический радиус
(42)
коэффициент Шези
(43)
где n - коэффициент шероховатости, принимаемый равным 0,025 [4];
значение расчетного модуля расхода Кr:
(44)
Подставляя значения параметров, определяемых по уравнениям (40) - (43), в выражения (44), получим
(45)
Результаты расчетов и значения h1 (h2) заносятся в таблицу. Значение h1 (h2), при котором расчетный модуль расхода Кr1 ≈ К01 (Кr2 ≈ К02), и будет значением нормальной глубины потока h01 (h02).
Величина критического уклона определяется по формуле [4]:
Подставляя значения параметров, определяемых по уравнениям (40) - (43) при условии h = hкр, в выражения (46), получим
(47)
где bкр1 = b11, bкр2 = b12.
В зависимости от глубины потока в начале откоса h11 (h12) и соотношения iво ‹› iкр2 (iво ‹› iкр2) и h01 ‹› hкр2 (h02 ‹› hкр2) определяется форма свободной поверхности потока [4, 17, 18].
2.3.2. Определение глубины потока в сечении у подошвы откоса
Из полученных значений h11, h01, hкр1 (h12, h02, hкр2) выбирается наибольшее и наименьшее значение глубины потока [hmax1, hmin1 (hmax2, hmin2)] и вычисляется среднее значение:
(48)
Определяем длину откоса L, на которой устанавливается нормальная глубина h01 (h02) [6]:
(50)
где bcр1 = b11, bcр2 = b12;
ηij - относительная глубина (для каждого из вариантов) определяется:
(51a)
(51б)
По величинам гидравлических показателей русла Х1 (Х2) и относительным глубинам находятся функции относительной глубины φ(η11), φ(η12) и φ(η21), φ(η22) (см. приложение 2). Гидравлический показатель русла определяется по формулам [6]:
(52)
Полученные в уравнении (49) величины L1 и L2 сравниваются с длиной внешнего откоса дамбы L0. Если полученное значение L1 < L0 (L2 < L0), то считается, что глубина потока у подошвы откоса равна нормальной глубине h01 = h11 и h02 = h12. Если же значение L1 > L0 (L2 > L0), тогда, задавая L1 = L0 (L2 = L0), из уравнения (49) определяем глубину потока у подошвы откоса:
(53)
2.3.3. Определение скорости потока в сечении у подошвы откоса дамбы
Скорость и определяется по известному расходу и глубине потока в сечении у подошвы откоса:
(54)
Из полученных расчетов из двух случаев выбираем максимальные значения параметров потока в сечении у подошвы откоса: глубины hmax и скорости иmax. Ширина потока в этом сечении принимается равной максимальной ширине прорана bmax. Эти величины являются исходными для расчета движения потока по прилегающей к хранилищу местности.
В зависимости от характера рельефа вытекающий из хранилища поток может быть ограничен боковыми склонами долины, либо растекание может происходить нестесненным образом, если хранилище расположено на плоской местности или в широкой долине.
Учитывая, что хранилища предприятий химической, нефтехимической и нефтеперерабатывающей промышленности в основном относятся к овражным, овражно-пойменным и (или) равнинным типам и имеют емкость до нескольких млн. м3, принимаем, что вытекающий поток ограничен постоянным значением боковых склонов ложбин, лога или слабонаклоненных поверхностей поймы или равнины.
В расчете принято допущение о том, что лог по всей длине трассы растекания имеет треугольное сечение.
Для определения параметров потока по трассе растекания русло потока разбивается на участки с постоянными уклонами дна и формой поперечного сечения. На границах участков принимается условие равенства расходов. За расчетное принимается максимальное значение расхода потока Qп = Qmax, полученное в результате расчета на первом этапе.
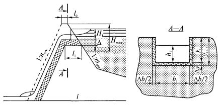
Для расчета площади сечения лога на концах выбранных участков задаются характерные абсолютные отметки бортов Аб и дна Aд лога (см. рис. 2).
Для определения формул расчета скорости иi, глубины hi и ширины bi потока [4] вычисляются уклоны i-х участков лога Iлi
Iлi = Lлi / (Aдi - Aдi-1),
где Lлi - длина выбранного i-го участка лога.
Рис. 2. Поперечное сечение лога
Для уклонов Lлi < 0,01 параметры потока определяются:
скорость потока
(55)
глубина потока
(56)
ширина потока
(57)
где
- относительное
расстояние; (58)
bi = hi(m'лi + m'пi),
здесь m'лi = ctg αл и m'пi = ctg αп (см. рис. 2).
При i = 0: b0 = bmax, l0 = 0,

где m'л0 и m'п0 - заложения левого и правого откосов лога у подошвы откоса дамбы соответственно.
Гидродинамическое давление Pi на сооружения, расположенные на пути потока на расстоянии l от подошвы дамбы, вычисляется по формуле
(59)
где ρ0 - средняя плотность потока.
Для защиты объектов, попадающих в зону затопления, можно отвести поток через какое-либо пропускное сооружение (водоотводной канал), находящееся на расстоянии l от подошвы дамбы, расчет которого ведется по условию пропуска максимального расхода потока Qп. Поперечное сечение Sk, обеспечивающее отвод потока, рассчитывается по значению скорости и в этом месте и по максимальному расходу:
(60)
Приведенные выше формулы позволяют рассчитать параметры потока по длине выбранной расчетной трассы движения на прилегающей к хранилищу местности, нанести их на соответствующий план или карту и определить границы зоны затопления.
Ввиду сложности расчетов и большого числа итераций в ЗАО «Экоцентр-Агрохимбезопасность» разработан комплекс компьютерных программ «PRORAN».
2.5.1. Для проведения расчетов приняты следующие допущения:
инфильтрация жидкой фазы на площади затопления через почву и грунт - свободная, т.е. фильтрация происходит без подпора со стороны грунтовых вод;
не учитывается вода, остающаяся в почвенно-растительном слое и в естественных впадинах и понижениях по трассе потока;
не учитывается дифференциация загрязнения по мощности и площади почв, грунтового потока, акватории водоемов.
2.5.1.1. При определении степени загрязнения почвы принимается, что вся масса вредных веществ из профильтровавшейся с поверхности жидкости остается в почвенном слое и распределяется равномерно по глубине слоя и площади затопления.
При расчете не учитывается, что часть вредных веществ из профильтровавшихся стоков, не задерживаясь в почвенном слое, попадает в грунтовые воды.
2.5.1.2. При определении степени загрязнения грунтовых вод принимается, что вся масса вредных веществ из профильтровавшейся с поверхности жидкости попадает в грунтовые воды и распределяется равномерно по мощности грунтового потока и площади затопления.
При расчете не учитывается, что часть вредных веществ из профильтровавшихся стоков останется в почве.
2.5.1.3. При определении параметров загрязнения поверхностных водоемов принимается, что вся масса вредных веществ, содержащихся в вытекшей из хранилища жидкости, распределяется равномерно:
для замкнутых поверхностных водоемов - по всему объему водоема;
для проточных поверхностных водоемов - по сечению водоема.
При расчете не учитывается, что часть вредных веществ из профильтровавшихся в грунтовые воды стоков останется в почве и водоносных грунтах.
2.5.2. Расчет параметров загрязнения почвы [21 - 27]
Объем профильтровавшейся с поверхности почвы жидкости Vф, м3, определяется по формуле
Vф = KфJFфТф, (61)
где Кф - коэффициент фильтрации почвенного слоя, м/сут, определяется по данным изысканий;
J - градиент инфильтрационного потока;
Fф - площадь фильтрации, м2, Fф = Fз, здесь Fз - площадь затопления при максимальных значениях параметров волны от хранилища до водной преграды (реки, озера, водоотводящего канала);
Тф - время фильтрации жидкости, сут, которое определяется:
(62)
здесь k' - коэффициент, характеризующий время, при котором расход потока в проране больше 0,7Qmax, и определяемый по зависимости Q = f / (Т), полученной по результатам расчетов в п. 2.2.3 (для расчетов рекомендуется принимать k' = 0,3);
Т - время образования прорана, сут (см. п. 2.2.3);
U′ср и U″ср - средние рассчитанные значения скоростей потока в проране (см. п. 2.2.3) и по трассе растекания (см п. 2.4).
Значение Vф не должно превышать общего объема V, вытекшего из хранилища жидкости [см. формулу (35)].
Для каждого i-го вредного вещества, содержащегося в жидких отходах, вычисляется концентрация вредного вещества в почве Сiп, мг/кг, на площади Fф:
(63)
где Сi - концентрация i-го вредного вещества в жидких отходах, мг/л;
Мп - мощность почвенного слоя, м;
- плотность сухого
почвенно-грунтового слоя, т/м3;
- фоновая
концентрация i-го вещества в почве, мг/кг. Параметры Мп и
определяются по
данным изысканий.
Полученная концентрация сравнивается с ПДК данного вещества в почве (см. приложение 3).
При отсутствии конкретных исходных данных для ориентировочных оценок рекомендуется пользоваться следующими значениями параметров:
Мп = 0,5 - 1,0, м;
= 1,4 - 1,6, г/см3;
= 0.
2.5.3. Расчет параметров загрязнения грунтовых вод [21 - 27]
Объем профильтровавшейся с поверхности жидкости
определяется по формуле (61). Для каждого i-го вредного
вещества, содержащегося в жидких отходах, вычисляется концентрация вещества в
грунтовых водах
, мг/л, в зоне затопления:
(64)
где
- концентрация вещества в грунтовых водах до гидродинамической
аварии (фоновая концентрация), мг/л;
mгв - мощность грунтового потока, м;
пг - пористость водоносных грунтов.
Параметры
, mгв и пг
определяются по данным изысканий. Полученная концентрация сравнивается с ПДК
данного вещества в воде (см. приложение 4).
2.5.4. Расчет степени загрязнения поверхностных водоемов. Следует различать два случая:
1. Непроточная водная преграда (замкнутый водоем).
2. Проточная водная преграда.
Объем жидких отходов Vв, попадающих в замкнутый водоем, принимаем равным объему жидкости, вылившейся из хранилища [см. п. 2.2.3, формула (35)]:
Vв = V.
Для каждого из вредных веществ, содержащихся в
жидких отходах, вычисляется концентрация в воде замкнутого водоема
, мг/л:
(65)
где Vз - объем замкнутого водоема, м3.
Полученная концентрация сравнивается с ПДК данного вещества в воде (см. приложение 4).
Для проточного водоема удельное содержание вредного
вещества в воде проточного водоема
, мг/л, составит:
(66)
где Qп - расход проточного водоема, м3/сут;
Qmax - максимальный расход изливающегося из хранилища потока, м3/сут (см. п. 2.3.1).
Полученная концентрация сравнивается с ПДК данного вещества в воде.
2.5.5. При наличии соответствующих
исходных данных возможно районирование площади фильтрации стоков по значениям Кф, J, Тф, Мп,
,
, пг. В этих случаях при определении
параметров загрязнения почвы и грунтовых вод для каждого выделенного района (r) рассчитывают величины Vф(r),
(r).
2.5.6. Учет сорбции, ионного обмена, окислительно-восстановительных, других физико-химических и биохимических процессов, которые происходят с вредными веществами при фильтрации стоков через почвенный слой и грунты, может привести к снижению параметров загрязнения.
2.6.1. Показатели последствий гидродинамической аварии характеризуются следующими видами опасных явлений: гибелью людей, нанесением ущерба здоровью и нарушением условий жизнедеятельности людей, разрушением и повреждением зданий и сооружений, загрязнением окружающей природной среды.
Величина показателя последствий является количественной оценкой уровня безопасности.
Исследования показали устойчивость результатов расчета показателей последствий аварии к вариации параметров, принимаемых в соответствии с допущениями, принятыми в пп. 2.2.2.2 - 2.2.2.4.
Определяемые в методике величины показателей последствий являются количественной оценкой уровня безопасности гидродинамической аварии и могут использоваться при оценке количества пострадавших людей, материальных потерь, ущерба окружающей среде, определении класса чрезвычайных ситуаций.
2.6.2. Показатели последствий силового воздействия волны прорыва на человека, здания и сооружения (гибель, нанесение ущерба здоровью и нарушение условий жизнедеятельности людей, разрушение и повреждение зданий и сооружений) определяются для территории в пределах зоны затопления, в границах которой воздействие волны опасно для жизни или здоровья человека, может вызвать разрушение и повреждение зданий и сооружений.
2.6.2.1. Показатель последствий силового воздействия волны прорыва на человека (ZN) определяется количеством людей, постоянно (N1) или временно (N2) находящихся в зоне воздействия волны прорыва, значения параметров которой равны или превышают критические значения для жизни и здоровья человека:
ZN = N1 + N2Pчв, чел, (67)
где Pчв - вероятность пребывания человека в зоне силового воздействия волны прорыва в течение суток.
Например, если в зоне затопления люди присутствуют круглосуточно, Pчв = 1; если в зоне затопления люди присутствуют неполные сутки, например одну смену (8 ч), - Pчв = 0,33.
В качестве критического значения параметра волны прорыва может быть принята, например, глубина потока в зоне растекания hmax ³ 1,5 м или параметры потока, приводящие к разрушению зданий и сооружений, в которых находятся люди.
2.6.2.2. Показатель силового воздействия волны прорыва Zc на здания и сооружения определяется прочностными характеристиками зданий и сооружений, а также параметрами волны прорыва (гидродинамическое давление, скорость и глубина потока):
(68)
Если φc(i) ³ φlim(i), то
. Если φc(i) < φlim(i), то
,
где φc(i) - значение параметра гидродинамической волны прорыва;
φlim(i) - предельное значение параметра волны прорыва для данного вида i-го здания или сооружения (см. приложение 5);
п - количество зданий и сооружений, оказавшихся в зоне затопления.
Показатель Zc численно равен количеству зданий и сооружений, подвергшихся повреждению или разрушению.
2.6.2.3. Показатель последствий
гидродинамической аварии по воздействию на окружающую среду определяется
соотношением концентраций загрязняющих веществ в почве (
), грунтовых водах (
), в водоемах (
) и соответствующих предельно допустимых концентраций (СПДК).
Рассчитав показатель для отдельных вредных веществ как Zi = Ci / СПДК(i), выбирают несколько веществ, имеющих наибольшее значение Zi, и определяют суммарный показатель последствий (Zп).
Показатели определяются по каждому элементу окружающей среды - почва, грунтовые воды [24]:
(69a)
(69б)
(69в)
где k - количество суммируемых вредных веществ.
1. Леви И.И. Динамика русловых процессов. Л.: Госэнергоиздат, 1957.
2. Гончаров В.Н. Динамика русловых потоков. Л.: Гидрометеоиздат, 1962.
3. Кнороз В.С. Безнапорный гидротранспорт и его расчет // Известия ВНИИГ. 1951. Т. 44.
4. Чугаев Р.Р. Гидравлика. Л.: Энергоиздат, 1982. С. 573, табл. П-4.
5. Исследование и расчет волны прорыва из хвостохранилища Михайловского ГОКа. М.: ВНИИВОДГЕО, 1978.
6. Временные методические рекомендации по расчету зон при внезапном прорыве ограждающих дамб хвостохранилищ. Белгород: ВИОГЕМ, 1981.
7. Рекомендации по расчету охранных зон хвостохранилищ. Л.: Механобр, 1984.
8. РД 09-255-99. Методические рекомендации по оценке технического состояния и безопасности хранилищ производственных отходов и стоков предприятий химического комплекса.
9. ГОСТ 19185-73. Гидротехника. Основные понятия. Термины и определения.
10. СНиП II-89-80. Генеральные планы промышленных предприятий. М., 1990.
11. ПБ 06-123-96. Правила безопасности при эксплуатации хвостовых, шламовых и гидроотвальных хозяйств.
12. ГОСТ 25100-82. Грунты. Классификация.
13. ГОСТ 25584-90. Грунты. Методы лабораторного определения коэффициента фильтрации.
14. Геологический словарь. М.: Недра, 1978. Т. 1.
15. ГОСТ Р 22.0.05-94. Термины и определения.
16. РД 03-268-99. Порядок разработки и дополнительные требования к содержанию декларации безопасности гидротехнических сооружений на подконтрольных Госгортехнадзору России предприятиях (организациях).
17. Гидротехнические сооружения: Справочник проектировщика / Под ред. В.П. Недриги. М.: Стройиздат, 1983. 543 с.
18. Пособие по гидравлическим расчетам малых водопропускных сооружений. М.: Транспорт, 1992. 408 с.
19. Закс Л. Статистические оценивания. М.: Статистика, 1976. С. 130 - 131.
20. Кнороз В.С. Неразмывающие скорости для несвязных грунтов и факторы, их определяющие // Известия ВНИИГ. 1958. Т. 59.
21. Перечень ПДК и ОДК химических веществ в почве. М., 1993.
22. ГН 2.1.5.689-98. ПДК химических веществ водных объектов хозяйственно-питьевого и культурно-бытового водопользования.
23. Перечень ПДК вредных веществ для воды рыбохозяйственных водоемов. М., 1995.
24. СНиП 2.06.15-85. Инженерная защита территорий от затопления и подтопления. М., 1990.
25. СНиП 1.02.07-87. Инженерные изыскания для строительства. М., 1988.
26. СНиП 2.02.02-85. Основания гидротехнических сооружений. М., 1988.
27. ГОСТ 5180-84. Грунты. Метода лабораторного определения физических характеристик.
28. Мальцев В.А. Методики оценки обстановки на промышленном предприятии при чрезвычайных ситуациях. М.: ИПК Госслужбы, 1993.
Для оценки изменения плотности по глубине слоя жидкости и неконсолидированных отходов делаются допущения о нелинейной закономерности, описывающей это явление.
Предполагается, что закономерность, описывающая изменение плотности отходов по глубине слоя, имеет вид
где ρжj - плотность j-го слоя;
- глубина до j-го слоя;
а, b и k - параметры используемой закономерности.
Для определения параметров необходимы измерения
плотности отходов на трех уровнях: верхнем
, среднем
и нижнем
. В качестве параметра b используется величина плотности жидких отходов в верхнем слое, т.е.
(п.
1.2)
Подставляя значение в уравнение (п. 1.1) и логарифмируя, получим
Для нижнего слоя формула (п. 1.3) будет иметь вид
Для среднего слоя формула (п. 1.3) будет иметь вид
Решая совместно уравнения (п. 1.4) и (п. 1.5), получим
Преобразуя уравнение (п. 1.6), окончательно получаем
(п.
1.7)
Для определения а подставляем в выражение для k формулу (п. 1.4). После преобразования окончательно имеем
(п.
1.8)
Подставляя значения k и а в уравнение (п. 1.1), получим
Для оценки изменения вязкости по глубине слоя жидкости и неконсолидированных отходов делаются допущения о нелинейной закономерности, описывающей это явление.
Предполагается, что закономерность, описывающая изменение вязкости отходов по глубине слоя, имеет вид
(п.
1.10)
где vj - вязкость j-го слоя;
- глубина до j-го слоя;
а, b и k - параметры используемой закономерности.
Для определения параметров необходимы измерения вязкости отходов на трех уровнях: верхнем vв, среднем vс и нижнем vн.
В качестве параметра b используется величина вязкости жидких отходов в верхнем слое, т.е.
b = vв. (п. 1.11)
Вывод формулы
(п.
1.12)
где
(п.
1.13)
ведется аналогично выводу формулы (п. 1.9) для плотности.
|
|
2,00* |
2,50 |
3,00 |
3,25 |
3,50 |
3,75 |
4,00 |
4,50 |
5,00 |
5,50 |
|
1 |
2 |
3 |
4 |
5 |
6 |
7 |
8 |
9 |
10 |
11 |
|
0,00** |
0,000 |
0,000 |
0,000 |
0,000 |
0,000 |
0,000 |
0,000 |
0,000 |
0,000 |
0,000 |
|
0,05 |
0,050 |
0,050 |
0,050 |
0,050 |
0,050 |
0,050 |
0,050 |
0,050 |
0,050 |
0,050 |
|
0,10 |
0,100 |
0,100 |
0,100 |
0,100 |
0,100 |
0,100 |
0,100 |
0,100 |
0,100 |
0,100 |
|
0,15 |
0,151 |
0,150 |
0,150 |
0,150 |
0,150 |
0,150 |
0,150 |
0,150 |
0,150 |
0,150 |
|
0,20 |
0,202 |
0,201 |
0,200 |
0,200 |
0,200 |
0,200 |
0,200 |
0,200 |
0,200 |
0,200 |
|
0,25 |
0,255 |
0,252 |
0,251 |
0,250 |
0,250 |
0,250 |
0,250 |
0,250 |
0,250 |
0,250 |
|
0,30 |
0,309 |
0,304 |
0,302 |
0,301 |
0,300 |
0,300 |
0,300 |
0,300 |
0,300 |
0,300 |
|
0,35 |
0,365 |
0,357 |
0,354 |
0,352 |
0,351 |
0,351 |
0,351 |
0,350 |
0,350 |
0,350 |
|
0,40 |
0,423 |
0,411 |
0,407 |
0,404 |
0,403 |
0,403 |
0,402 |
0,401 |
0,400 |
0,400 |
|
0,45 |
0,484 |
0,468 |
0,461 |
0,458 |
0,456 |
0,455 |
0,454 |
0,452 |
0,451 |
0,450 |
|
0,50 |
0,549 |
0,527 |
0,517 |
0,513 |
0,510 |
0,508 |
0,507 |
0,504 |
0,502 |
0,501 |
|
0,55 |
0,619 |
0,590 |
0,575 |
0,570 |
0,566 |
0,564 |
0,561 |
0,556 |
0,554 |
0,552 |
|
0,60 |
0,693 |
0,657 |
0,637 |
0,630 |
0,624 |
0,621 |
0,617 |
0,610 |
0,607 |
0,605 |
|
0,61 |
0,709 |
0,671 |
0,650 |
0,642 |
0,636 |
0,632 |
0,628 |
0,621 |
0,618 |
0,615 |
|
0,62 |
0,725 |
0,685 |
0,663 |
0,654 |
0,648 |
0,644 |
0,640 |
0,632 |
0,629 |
0,626 |
|
0,63 |
0,741 |
0,699 |
0,676 |
0,667 |
0,660 |
0,662 |
0,652 |
0,644 |
0,640 |
0,637 |
|
0,64 |
0,758 |
0,714 |
0,689 |
0,680 |
0,673 |
0,668 |
0,664 |
0,656 |
0,651 |
0,648 |
|
0,65 |
0,775 |
0,729 |
0,703 |
0,693 |
0,686 |
0,681 |
0,676 |
0,668 |
0,662 |
0,659 |
|
0,66 |
0,792 |
0,744 |
0,717 |
0,706 |
0,699 |
0,694 |
0,688 |
0,680 |
0,674 |
0,670 |
|
0,67 |
0,810 |
0,760 |
0,731 |
0,720 |
0,712 |
0,707 |
0,700 |
0,692 |
0,686 |
0,681 |
|
0,68 |
0,829 |
0,776 |
0,746 |
0,734 |
0,725 |
0,720 |
0,713 |
0,704 |
0,698 |
0,692 |
|
0,69 |
0,848 |
0,792 |
0,761 |
0,748 |
0,739 |
0,733 |
0,726 |
0,716 |
0,710 |
0,704 |
|
0,70 |
0,867 |
0,809 |
0,776 |
0,763 |
0,753 |
0,746 |
0,739 |
0,728 |
0,722 |
0,716 |
|
0,71 |
0,887 |
0,826 |
0,791 |
0,778 |
0,767 |
0,760 |
0,752 |
0,741 |
0,734 |
0,728 |
|
0,72 |
0,907 |
0,843 |
0,807 |
0,793 |
0,781 |
0,774 |
0,766 |
0,754 |
0,747 |
0,740 |
|
0,73 |
0,928 |
0,861 |
0,823 |
0,808 |
0,796 |
0,788 |
0,780 |
0,767 |
0,760 |
0,752 |
|
0,74 |
0,950 |
0,880 |
0,840 |
0,823 |
0,811 |
0,802 |
0,794 |
0,780 |
0,773 |
0,764 |
|
0,75 |
0,972 |
0,899 |
0,857 |
0,839 |
0,827 |
0,816 |
0,808 |
0,794 |
0,786 |
0,776 |
|
0,76 |
0,996 |
0,919 |
0,874 |
0,855 |
0,843 |
0,832 |
0,823 |
0,808 |
0,799 |
0,788 |
|
0,77 |
1,020 |
0,939 |
0,892 |
0,872 |
0,860 |
0,848 |
0,838 |
0,822 |
0,812 |
0,801 |
|
0,78 |
1,045 |
0,960 |
0,911 |
0,890 |
0,877 |
0,865 |
0,854 |
0,837 |
0,826 |
0,814 |
|
0,79 |
1,071 |
0,982 |
0,930 |
0,908 |
0,895 |
0,882 |
0,870 |
0,852 |
0,840 |
0,828 |
|
0,80 |
1,098 |
1,006 |
0,950 |
0,929 |
0,913 |
0,900 |
0,887 |
0,867 |
0,854 |
0,842 |
|
0,81 |
1,127 |
1,031 |
0,971 |
0,947 |
0,932 |
0,918 |
0,904 |
0,882 |
0,869 |
0,857 |
|
0,82 |
1,156 |
1,056 |
0,993 |
0,968 |
0,951 |
0,937 |
0,922 |
0,898 |
0,884 |
0,872 |
|
0,83 |
1,188 |
1,082 |
1,016 |
0,990 |
0,971 |
0,956 |
0,940 |
0,915 |
0,900 |
0,888 |
|
0,84 |
1,221 |
1,110 |
1,040 |
1,013 |
0,992 |
0,976 |
0,960 |
0,933 |
0,917 |
0,904 |
|
0,85 |
1,256 |
1,139 |
1,065 |
1,037 |
1,015 |
0,997 |
0,980 |
0,952 |
0,935 |
0,921 |
|
0,86 |
1,293 |
1,170 |
1,092 |
1,062 |
1,039 |
1,019 |
1,002 |
0,972 |
0,953 |
0,938 |
|
0,87 |
1,333 |
1,203 |
1,120 |
1,088 |
1,065 |
1,043 |
1,025 |
0,993 |
0,972 |
0,956 |
|
0,88 |
1,375 |
1,238 |
1,151 |
1,116 |
1,092 |
1,069 |
1,049 |
1,015 |
0,992 |
0,975 |
|
0,89 |
1,421 |
1,276 |
1,183 |
1,146 |
1,121 |
1,097 |
1,075 |
1,039 |
1,014 |
0,995 |
|
0,90 |
1,472 |
1,316 |
1,218 |
1,179 |
1,152 |
1,127 |
1,103 |
1,065 |
1,038 |
1,017 |
|
0,905 |
1,499 |
1,338 |
1,237 |
1,197 |
1,169 |
1,143 |
1,117 |
1,079 |
1,050 |
1,028 |
|
0,910 |
1,527 |
1,361 |
1,257 |
1,216 |
1,186 |
1,159 |
1,132 |
1,093 |
1,063 |
1,040 |
|
0,915 |
1,557 |
1,385 |
1,278 |
1,236 |
1,204 |
1,176 |
1,148 |
1,108 |
1,077 |
1,053 |
|
0,920 |
1,589 |
1,411 |
1,300 |
1,257 |
1,223 |
1,194 |
1,165 |
1,124 |
1,091 |
1,066 |
|
0,925 |
1,622 |
1,439 |
1,323 |
1,279 |
1,243 |
1,214 |
1,184 |
1,141 |
1,106 |
1,080 |
|
0,930 |
1,658 |
1,469 |
1,348 |
1,302 |
1,265 |
1,265 |
1,204 |
1,159 |
1,122 |
1,095 |
|
0,935 |
1,696 |
1,501 |
1,374 |
1,326 |
1,288 |
1,257 |
1,225 |
1,178 |
1,139 |
1,111 |
|
0,940 |
1,738 |
1,535 |
1,403 |
1,352 |
1,312 |
1,280 |
1,247 |
1,198 |
1,157 |
1,128 |
|
0,945 |
1,782 |
1,571 |
1,434 |
1,380 |
1,338 |
1,305 |
1,271 |
1,219 |
1,176 |
1,146 |
|
0,950 |
1,831 |
1,610 |
1,467 |
1,411 |
1,367 |
1,332 |
1,297 |
1,241 |
1,197 |
1,165 |
|
0,955 |
1,885 |
1,653 |
1,504 |
1,445 |
1,399 |
1,362 |
1,325 |
1,265 |
1,220 |
1,186 |
|
0,960 |
1,945 |
1,701 |
1,545 |
1,483 |
1,435 |
1,395 |
1,356 |
1,292 |
1,246 |
1,209 |
|
0,965 |
2,013 |
1,756 |
1,591 |
1,526 |
1,475 |
1,432 |
1,391 |
1,324 |
1,275 |
1,235 |
|
0,970 |
2,092 |
1,820 |
1,644 |
1,575 |
1,521 |
1,475 |
1,431 |
1,362 |
1,308 |
1,265 |
|
0,975 |
2,184 |
1,895 |
1,707 |
1,632 |
1,575 |
1,525 |
1,479 |
1,407 |
1,347 |
1,300 |
|
0,980 |
2,297 |
1,985 |
1,783 |
1,703 |
1,640 |
1,587 |
1,537 |
1,460 |
1,394 |
1,344 |
|
0,985 |
2,442 |
2,100 |
1,881 |
1,795 |
1,727 |
1,666 |
1,611 |
1,525 |
1,455 |
1,400 |
|
0,990 |
2,646 |
2,264 |
2,018 |
1,921 |
1,844 |
1,777 |
1,714 |
1,614 |
1,538 |
1,474 |
|
0,995 |
3,000 |
2,544 |
2,250 |
2,137 |
2,043 |
1,965 |
1,889 |
1,770 |
1,680 |
1,605 |
|
1,005 |
2,997 |
2,139 |
1,647 |
1,477 |
1,329 |
1,218 |
1,107 |
0,954 |
0,826 |
0,730 |
|
1,010 |
2,652 |
1,863 |
1,419 |
1,265 |
1,138 |
1,031 |
0,936 |
0,790 |
0,680 |
0,598 |
|
1,015 |
2,450 |
1,704 |
1,291 |
1,140 |
1,022 |
0,922 |
0,836 |
0,702 |
0,603 |
0,525 |
|
1,020 |
2,307 |
1,591 |
1,193 |
1,053 |
0,940 |
0,847 |
0,766 |
0,641 |
0,546 |
0,474 |
|
1,025 |
2,197 |
1,504 |
1,119 |
0,986 |
0,879 |
0,789 |
0,712 |
0,594 |
0,503 |
0,435 |
|
1,030 |
2,107 |
1,432 |
1,061 |
0,931 |
0,827 |
0,742 |
0,668 |
0,555 |
0,468 |
0,402 |
|
1,035 |
2,031 |
1,372 |
1,010 |
0,885 |
0,784 |
0,702 |
0,632 |
0,522 |
0,439 |
0,375 |
|
1,040 |
1,966 |
1,320 |
0,967 |
0,845 |
0,747 |
0,668 |
0,600 |
0,494 |
0,416 |
0,353 |
|
1,045 |
1,908 |
1,274 |
0,929 |
0,810 |
0,716 |
0,638 |
0,572 |
0,469 |
0,394 |
0,334 |
|
1,05 |
1,857 |
1,234 |
0,896 |
0,779 |
0,687 |
0,612 |
0,548 |
0,447 |
0,375 |
0,317 |
|
1,06 |
1,768 |
1,164 |
0,838 |
0,726 |
0,640 |
0,566 |
0,506 |
0,411 |
0,343 |
0,290 |
|
1,07 |
1,693 |
1,105 |
0,790 |
0,682 |
0,600 |
0,529 |
0,471 |
0,381 |
0,316 |
0,266 |
|
1,08 |
1,629 |
1,053 |
0,749 |
0,645 |
0,565 |
0,497 |
0,441 |
0,355 |
0,292 |
0,245 |
|
1,09 |
1,573 |
1,009 |
0,713 |
0,612 |
0,534 |
0,469 |
0,415 |
0,332 |
0,271 |
0,226 |
|
1,10 |
1,522 |
0,969 |
0,680 |
0,583 |
0,506 |
0,444 |
0,392 |
0,312 |
0,253 |
0,210 |
|
1,11 |
1,477 |
0,933 |
0,652 |
0,557 |
0,482 |
0,422 |
0,372 |
0,293 |
0,237 |
0,196 |
|
1,12 |
1,436 |
0,901 |
0,626 |
0,533 |
0,461 |
0,402 |
0,354 |
0,277 |
0,223 |
0,183 |
|
1,13 |
1,398 |
0,872 |
0,602 |
0,512 |
0,442 |
0,384 |
0,337 |
0,263 |
0,211 |
0,172 |
|
1,14 |
1,363 |
0,846 |
0,581 |
0,493 |
0,424 |
0,368 |
0,322 |
0,250 |
0,200 |
0,162 |
|
1,15 |
1,331 |
0,821 |
0,561 |
0,475 |
0,407 |
0,353 |
0,308 |
0,238 |
0,190 |
0,153 |
|
1,16 |
1,301 |
0,797 |
0,542 |
0,458 |
0,391 |
0,339 |
0,295 |
0,227 |
0,181 |
0,145 |
|
1,17 |
1,273 |
0,775 |
0,525 |
0,442 |
0,377 |
0,326 |
0,283 |
0,217 |
0,173 |
0,137 |
|
1,18 |
1,247 |
0,755 |
0,510 |
0,427 |
0,364 |
0,314 |
0,272 |
0,208 |
0,165 |
0,130 |
|
1,19 |
1,222 |
0,736 |
0,495 |
0,415 |
0,352 |
0,302 |
0,262 |
0,200 |
0,158 |
0,124 |
|
1,20 |
1,199 |
0,718 |
0,480 |
0,400 |
0,341 |
0,292 |
0,252 |
0,192 |
0,151 |
0,118 |
|
1,21 |
1,177 |
0,701 |
0,467 |
0,388 |
0,330 |
0,282 |
0,243 |
0,184 |
0,144 |
0,113 |
|
1,22 |
1,156 |
0,685 |
0,454 |
0,377 |
0,320 |
0,272 |
0,235 |
0,177 |
0,138 |
0,108 |
|
1,23 |
1,136 |
0,670 |
0,442 |
0,366 |
0,310 |
0,263 |
0,227 |
0,170 |
0,132 |
0,103 |
|
1,24 |
1,117 |
0,656 |
0,431 |
0,356 |
0,301 |
0,255 |
0,219 |
0,164 |
0,126 |
0,098 |
|
1,25 |
1,098 |
0,643 |
0,420 |
0,346 |
0,292 |
0,247 |
0,212 |
0,158 |
0,121 |
0,094 |
|
1,26 |
1,081 |
0,630 |
0,410 |
0,337 |
0,284 |
0,240 |
0,205 |
0,152 |
0,116 |
0,090 |
|
1,27 |
1,065 |
0,618 |
0,400 |
0,328 |
0,276 |
0,233 |
0,199 |
0,147 |
0,111 |
0,086 |
|
1,28 |
1,049 |
0,606 |
0,391 |
0,320 |
0,268 |
0,226 |
0,193 |
0,142 |
0,107 |
0,082 |
|
1,29 |
1,033 |
0,594 |
0,382 |
0,312 |
0,261 |
0,220 |
0,187 |
0,137 |
0,103 |
0,079 |
|
1,30 |
1,018 |
0,582 |
0,373 |
0,304 |
0,254 |
0,214 |
0,181 |
0,133 |
0,099 |
0,076 |
|
1,31 |
1,004 |
0,571 |
0,365 |
0,297 |
0,247 |
0,208 |
0,176 |
0,129 |
0,095 |
0,073 |
|
1,32 |
0,990 |
0,561 |
0,357 |
0,290 |
0,241 |
0,202 |
0,171 |
0,125 |
0,092 |
0,070 |
|
1,33 |
0,977 |
0,551 |
0,349 |
0,283 |
0,235 |
0,197 |
0,166 |
0,121 |
0,089 |
0,067 |
|
1,34 |
0,964 |
0,542 |
0,341 |
0,277 |
0,229 |
0,192 |
0,161 |
0,117 |
0,086 |
0,064 |
|
1,35 |
0,952 |
0,533 |
0,334 |
0,271 |
0,224 |
0,187 |
0,157 |
0,113 |
0,083 |
0,061 |
|
1,36 |
0,940 |
0,524 |
0,328 |
0,265 |
0,219 |
0,182 |
0,153 |
0,109 |
0,080 |
0,058 |
|
1,37 |
0,928 |
0,516 |
0,322 |
0,259 |
0,214 |
0,177 |
0,149 |
0,106 |
0,077 |
0,056 |
|
1,38 |
0,917 |
0,508 |
0,316 |
0,253 |
0,209 |
0,173 |
0,145 |
0,103 |
0,074 |
0,054 |
|
1,39 |
0,906 |
0,500 |
0,310 |
0,248 |
0,204 |
0,169 |
0,141 |
0,100 |
0,072 |
0,052 |
|
1,40 |
0,896 |
0,492 |
0,304 |
0,243 |
0,199 |
0,165 |
0,137 |
0,097 |
0,070 |
0,050 |
|
1,41 |
0,886 |
0,484 |
0,298 |
0,238 |
0,195 |
0,161 |
0,134 |
0,094 |
0,068 |
0,048 |
|
1,42 |
0,876 |
0,477 |
0,293 |
0,233 |
0,191 |
0,157 |
0,131 |
0,091 |
0,066 |
0,046 |
|
1,43 |
0,866 |
0,470 |
0,288 |
0,229 |
0,187 |
0,153 |
0,128 |
0,088 |
0,064 |
0,045 |
|
1,44 |
0,856 |
0,463 |
0,283 |
0,225 |
0,183 |
0,150 |
0,125 |
0,085 |
0,062 |
0,044 |
|
1,45 |
0,847 |
0,456 |
0,278 |
0,221 |
0,179 |
0,147 |
0,122 |
0,083 |
0,060 |
0,043 |
|
1,46 |
0,838 |
0,450 |
0,273 |
0,217 |
0,175 |
0,144 |
0,119 |
0,081 |
0,058 |
0,042 |
|
1,47 |
0,829 |
0,444 |
0,268 |
0,213 |
0,171 |
0,141 |
0,116 |
0,079 |
0,056 |
0,041 |
|
1,48 |
0,821 |
0,438 |
0,263 |
0,209 |
0,168 |
0,138 |
0,113 |
0,077 |
0,054 |
0,040 |
|
1,49 |
0,813 |
0,432 |
0,259 |
0,205 |
0,165 |
0,135 |
0,110 |
0,075 |
0,053 |
0,039 |
|
1,50 |
0,805 |
0,426 |
0,255 |
0,201 |
0,162 |
0,132 |
0,108 |
0,073 |
0,052 |
0,038 |
|
1,55 |
0,767 |
0,399 |
0,235 |
0,184 |
0,147 |
0,119 |
0,097 |
0,065 |
0,045 |
0,032 |
|
1,60 |
0,733 |
0,376 |
0,218 |
0,170 |
0,134 |
0,108 |
0,087 |
0,058 |
0,039 |
0,027 |
|
1,65 |
0,703 |
0,355 |
0,203 |
0,157 |
0,123 |
0,098 |
0,079 |
0,052 |
0,034 |
0,023 |
|
1,70 |
0,675 |
0,336 |
0,189 |
0,145 |
0,113 |
0,090 |
0,072 |
0,046 |
0,030 |
0,020 |
|
1,75 |
0,650 |
0,318 |
0,177 |
0,134 |
0,104 |
0,083 |
0,065 |
0,041 |
0,026 |
0,017 |
|
1,80 |
0,626 |
0,303 |
0,166 |
0,124 |
0,096 |
0,077 |
0,060 |
0,037 |
0,023 |
0,015 |
|
1,85 |
0,605 |
0,289 |
0,156 |
0,115 |
0,089 |
0,071 |
0,055 |
0,033 |
0,020 |
0,013 |
|
1,90 |
0,585 |
0,276 |
0,147 |
0,108 |
0,083 |
0,066 |
0,050 |
0,030 |
0,018 |
0,011 |
|
1,95 |
0,567 |
0,264 |
0,139 |
0,102 |
0,078 |
0,061 |
0,046 |
0,027 |
0,015 |
0,009 |
|
2,0 |
0,550 |
0,253 |
0,132 |
0,097 |
0,073 |
0,057 |
0,043 |
0,025 |
0,013 |
0,008 |
|
2,1 |
0,518 |
0,233 |
0,119 |
0,086 |
0,064 |
0,049 |
0,037 |
0,021 |
0,012 |
0,007 |
|
2,2 |
0,490 |
0,216 |
0,108 |
0,077 |
0,057 |
0,043 |
0,032 |
0,018 |
0,010 |
0,006 |
|
2,3 |
0,466 |
0,201 |
0,098 |
0,069 |
0,051 |
0,038 |
0,028 |
0,015 |
0,008 |
0,005 |
|
2,4 |
0,444 |
0,188 |
0,090 |
0,063 |
0,046 |
0,034 |
0,024 |
0,013 |
0,007 |
0,004 |
|
2,5 |
0,424 |
0,176 |
0,082 |
0,057 |
0,041 |
0,031 |
0,021 |
0,011 |
0,006 |
0,003 |
|
2,6 |
0,405 |
0,165 |
0,076 |
0,052 |
0,037 |
0,028 |
0,019 |
0,010 |
0,005 |
0,003 |
|
2,7 |
0,389 |
0,155 |
0,070 |
0,048 |
0,033 |
0,025 |
0,017 |
0,009 |
0,005 |
0,002 |
|
2,8 |
0,374 |
0,146 |
0,065 |
0,044 |
0,030 |
0,022 |
0,015 |
0,008 |
0,004 |
0,002 |
|
2,9 |
0,360 |
0,138 |
0,060 |
0,040 |
0,027 |
0,020 |
0,013 |
0,007 |
0,004 |
0,001 |
|
3,0 |
0,346 |
0,131 |
0,056 |
0,037 |
0,025 |
0,019 |
0,012 |
0,006 |
0,003 |
0,001 |
|
3,5 |
0,294 |
0,104 |
0,041 |
0,026 |
0,017 |
0,012 |
0,008 |
0,004 |
0,002 |
0,001 |
|
4,0 |
0,255 |
0,084 |
0,031 |
0,019 |
0,012 |
0,008 |
0,005 |
0,002 |
0,001 |
0,000 |
|
4,5 |
0,226 |
0,070 |
0,025 |
0,014 |
0,009 |
0,007 |
0,004 |
0,002 |
0,001 |
0,000 |
|
5,0 |
0,203 |
0,059 |
0,020 |
0,010 |
0,007 |
0,005 |
0,003 |
0,001 |
0,000 |
0,000 |
|
6,0 |
0,168 |
0,047 |
0,014 |
0,007 |
0,004 |
0,003 |
0,002 |
0,001 |
0,000 |
0,000 |
|
8,0 |
0,126 |
0,029 |
0,009 |
0,004 |
0,002 |
0,002 |
0,001 |
0,000 |
0,000 |
0,000 |
|
10,0 |
0,100 |
0,021 |
0,005 |
0,002 |
0,001 |
0,001 |
0,001 |
0,000 |
0,000 |
0,000 |
* Гидравлический показатель русла.
** Значения относительной глубины, определяемые в п. 2.3.2 по формулам (49а) - (49г).
|
п/п |
Наименование вещества |
ПДК, мг/кг |
Лимитирующий признак вредности*** |
|
1 |
Бензол |
0,3 |
воздушно-миграционный |
|
2 |
Мышьяк |
2,0 |
транслокационный |
|
3 |
Нитраты |
130 |
воздушно-миграционный |
|
4 |
Ртуть |
2,1 |
транслокационный |
|
5 |
Свинец |
32,0 |
общесанитарный |
|
6 |
Серная кислотаа |
160 |
общесанитарный |
|
7 |
Толуол |
0,3 |
воздушно-миграционный |
|
8 |
Формальдегид |
7,0 |
воздушно-миграционный |
|
9 |
Хлористый калийб |
560 |
водно-миграционный |
|
10 |
Медь |
3,0* |
общесанитарный |
|
11 |
Цинк |
23,0* |
транслокационный |
|
12 |
Хром |
6,0* |
общесанитарный |
|
13 |
Никель |
4,0* |
общесанитарный |
|
14 |
Сероводород |
0,4 |
воздушно-миграционный |
|
15 |
Фтор |
2,8* |
транслокационный |
|
16 |
Сероводород |
0,4 |
воздушно-миграционный |
|
17 |
Фтор |
10,0** |
транслокационный |
|
18 |
Бензинв |
0,1 |
воздушно-миграционный |
а ПДК серной кислоты может быть использована для оценки загрязнения почвы сульфат-ионом.
б ПДК хлористого калия может быть использована для оценки загрязнения почвы хлорид-ионом.
в ПДК бензина может быть использована для ориентировочной оценки загрязнения почвы нефтепродуктами с низкой температурой кипения (до 200 ºС).
* Подвижная форма элемента, извлекаемая из почвы ацетатно-аммонийным буферным раствором рН 4,8.
** Водорастворимая форма.
*** Лимитирующий признак вредности - признак, характеризующийся наименьшей безвредной концентрацией вещества (при использовании различных тестов).
Лимитирующие признаки вредности в почве:
воздушно-миграционный - характеризует переход вещества из почвы в атмосферу;
транслокационный - характеризует переход вещества из почвы через корневую систему в зеленую массу и плоды растений;
общесанитарный - показатель, характеризующий влияние химического вещества на самоочищающую способность почвы.
|
№ п/п |
Наименование вещества |
ПДК в воде, мг/л |
|
|
водных объектов хозяйственно-питьевого и культурно-бытового водопользования |
водоемов рыбохозяйственного назначения |
||
|
1 |
2 |
3 |
4 |
|
1 |
Аммиак (по азоту) |
2,0 (с.-т.)* |
0,05 (токс.) |
|
2 |
Бензол |
0,5 (с.-т.) |
0,5 (токс.) |
|
3 |
Железо |
0,3а (орг.-окр.) |
0,1 (токс.) |
|
4 |
Метанол |
3,0 (с.-т.) |
0,1 (с.-т.) |
|
5 |
Мышьяк |
0,05а (с.-т.) |
0,05 (токс.) |
|
6 |
Натрий |
200 (с.-т.) |
120 (с.-т.) |
|
7 |
Нитриты |
3,3 (с.-т.) |
0,08 (токс.) |
|
8 |
Нитраты |
45 (с.-т.) |
40 (с.-т.) |
|
9 |
Ртуть |
0,0005в |
Отсутствие |
|
10 |
Свинец |
0,03 (с.-т.) |
0,1 (токс.) |
|
11 |
Сульфаты |
500 (орг.-привк.) |
100 (токс.) |
|
12 |
Толуол |
0,5 (орг.-зап.) |
0,5 (орг.) |
|
13 |
Фенол |
0,001б (орг.-зап.) |
0,001 (рыб. хоз.) |
|
14 |
Формальдегид |
0,05 (с.-т.) |
0,1 (токс.) |
|
15 |
Хлориды |
350 (орг.-привк.) |
300 (с.-т.) |
|
16 |
хпк** |
15; 30з |
- |
|
17 |
Цинк |
1,0 (общ.) |
0,01 (токс.) |
|
18 |
Нефтепродукты |
0,3 (орг.-пленка) |
0,05 (рыб. хоз.) |
|
19 |
Полифосфаты |
3,5в (орг.) |
2,0г (токс.) |
|
20 |
Цианид-ион |
0,035д (с.-т.) |
0,05 (токс.) |
|
21 |
Фторид-ион |
0,7 - 1,5ж (с.-т.) |
0,05е (токс.) |
а с учетом валового содержания всех форм;
б эта ПДК для суммы летучих фенолов при условии применения хлора для обеззараживания воды, в иных случаях ПДК = 0,1 мг/л;
в по РО4;
г по Р;
д цианиды простые и комплексные (за исключением цианоферратов) в расчете на цианид-ион;
е в дополнение к фоновому, но не выше их суммарного содержания 0,75 мг/л;
ж для климатических районов I - II - 1,5 мг/л;
III - 1,2 мг/л;
IV - 0,7 мг/л;
з для хозяйственно-питьевого водоснабжения 15 мг О2/л; для культурно-бытового - 30 мг О2/л.
* В скобках приведен лимитирующий признак вредности [признак, характеризующийся наименьшей безвредной концентрацией вещества (при использовании различных тестов)]:
с.-т. - санитарно-токсикологический (характеризует влияние химического вещества в воде на здоровье человека);
общ. - общесанитарный [характеризует влияние химического вещества на самоочищение воды в водоемах (процессы биохимического окисления, сапрофитную микрофлору и т.п.)];
орг. - органолептический (привкус, запах, окраска);
токс. - токсикологический.
** Химическая потребность в кислороде (ХПК) - интегральный показатель загрязнения органическими веществами (количество кислорода, эквивалентное количеству расходуемого окислителя, необходимое для восстановления всех восстановителей, содержащихся в воде).
|
Элементы инженерно-технического комплекса |
Параметры волны прорыва, вызывающие виды разрушений на объекте |
|||||||
|
легкие |
слабые |
средние |
сильные |
|||||
|
h, м |
U, м/с |
h, м |
U, м/с |
h, м |
U, м/с |
h, м |
U, м/с |
|
|
Промышленные здания с легким металлическим каркасом |
1,5 |
0,5 |
2,0 |
1,0 |
4,0 |
2,0 |
5,0 |
2,5 |
|
Промышленные здания бескаркасные |
1,5 |
0,5 |
2,0 |
1,0 |
4,0 |
2,0 |
5,0 |
2,5 |
|
Кирпичные административные и вспомогательные здания |
1,5 |
0,5 |
2,0 |
1,0 |
3,0 |
1,5 |
4,0 |
2,0 |
|
Деревянные здания в 1 - 2 этажа |
1,0 |
0,5 |
1,0 |
1,0 |
2,5 |
1,0 |
3,5 |
1,50 |
|
Сборные и легкие деревянные здания |
1,5 |
0,5 |
2,0 |
1,0 |
2,5 |
1,5 |
3,5 |
1,5 |
|
Емкости, трубопроводы на опорах |
1,0 |
0,5 |
1,0 |
1,0 |
2,0 |
2,0 |
4,0 |
4,0 |
|
Сооружения на подвижных опорах |
1,5 |
0,5 |
2,5 |
1,0 |
2,5 |
1,5 |
3,5 |
2,5 |
|
Мосты, эстакады |
- |
- |
- |
- |
0,5* |
1,0 |
1 - 2* |
1,5 - 2,5 |
|
Дороги с твердым покрытием |
- |
- |
- |
- |
- |
- |
1,0 |
1,8 - 2,5 |
|
Автомобильный и железнодорожный транспорт |
- |
- |
- |
- |
1,0 |
1 - 1,5 |
1,5 |
2,0 |
* Высота потока выше проезжей части сооружения.