|
МЕЖГОСУДАРСТВЕННЫЙ СОВЕТ ПО СТАНДАРТИЗАЦИИ, МЕТРОЛОГИИ И
СЕРТИФИКАЦИИ INTERSTATE
COUNCIL FOR STANDARDIZATION, METROLOGY AND CERTIFICATION |
|
|
МЕЖГОСУДАРСТВЕННЫЙ СТАНДАРТ |
ГОСТ 2.051-2006 |
Единая система конструкторской документации
ЭЛЕКТРОННЫЕ ДОКУМЕНТЫ
Общие положения
Предисловие
Цели, основные принципы и основной порядок проведения работ по межгосударственной стандартизации установлены ГОСТ 1.0-92 «Межгосударственная система стандартизации. Основные положения» и ГОСТ 1.2-97 «Межгосударственная система стандартизации. Стандарты межгосударственные, правила и рекомендации по межгосударственной стандартизации. Порядок разработки, принятия, применения, обновления, отмены»
Сведения о стандарте
1 РАЗРАБОТАН Федеральным государственным унитарным предприятием Всероссийским научно-исследовательским институтом стандартизации и сертификации в машиностроении (ВНИИНМАШ), Автономной некоммерческой организацией Научно-исследовательским центром CALS-технологий «Прикладная логистика» (АНО НИЦ CALS-технологий «Прикладная логистика»)
ВНЕСЕН Федеральным агентством по техническому регулированию и метрологии
2 ПРИНЯТ Межгосударственным советом по стандартизации, метрологии и сертификации (протокол № 23 от 28 февраля 2006 г.)
За принятие проголосовали:
|
Краткое наименование страны по МК (ИСО 3166) 004-97 |
Код страны по |
Сокращенное наименование национального органа по стандартизации |
|
Азербайджан |
AZ |
Азстандарт |
|
Армения |
AM |
Минторгэкономразвития |
|
Беларусь |
BY |
Госстандарт Республики Беларусь |
|
Казахстан |
KZ |
Госстандарт Республики Казахстан |
|
Кыргызстан |
KG |
Кыргызстандарт |
|
Молдова |
MD |
Молдова-Стандарт |
|
Российская Федерация |
RU |
Федеральное агентство по техническому регулированию и метрологии |
|
Таджикистан |
TJ |
Таджикстандарт |
|
Туркменистан |
TM |
Главгосслужба «Туркменстандартлары» |
|
Узбекистан |
UZ |
Узстандарт |
|
Украина |
UA |
Госпотребстандарт Украины |
3 Приказом Федерального агентства по техническому регулированию и метрологии от 22 июня 2006 г. № 119-ст межгосударственный стандарт ГОСТ 2.051-2006 введены в действие в качестве национального стандарта Российской Федерации с 1 сентября 2006 г.
4 ВВЕДЕН ВПЕРВЫЕ
Информация о введении в действие (прекращении действия) настоящего стандарта публикуется в указателе «Национальные стандарты».
Информация об изменениях к настоящему стандарту публикуется в указателе «Национальные стандарты», а текст изменений - в информационных указателях «Национальные стандарты». В случае пересмотра или отмены настоящего стандарта соответствующая информация будет опубликована в информационном указателе «Национальные стандарты»
Содержание
МЕЖГОСУДАРСТВЕННЫЙ СТАНДАРТ
|
Единая система конструкторской документации ЭЛЕКТРОННЫЕ ДОКУМЕНТЫ Общие положения Unified system for design documentation. Exploitative documents |
Дата введения - 2006-09-01
Настоящий стандарт устанавливает общие требования к выполнению электронных конструкторских документов изделий машиностроения и приборостроения.
На основе настоящего стандарта могут быть разработаны стандарты с учетом особенностей применения и обращения различных видов электронных конструкторских документов.
В настоящем стандарте использованы ссылки на следующие межгосударственные стандарты:
ГОСТ 2.004-88 Единая система конструкторской документации. Общие требования к выполнению конструкторских технологических документов на печатающих и графических устройствах вывода ЭВМ
ГОСТ 2.102-68 Единая система конструкторской документации. Виды и комплектность конструкторских документов
ГОСТ 2.104-2006 Единая система конструкторской документации. Основные надписи
ГОСТ 2.301-68 Единая система конструкторской документации. Форматы
ГОСТ 2.601-2006 Единая система конструкторской документации. Эксплуатационные документы
ГОСТ 2.602-95 Единая система конструкторской документации. Ремонтные документы
ГОСТ 2.701-84 Единая система конструкторской документации. Схемы. Виды и типы. Общие требования к выполнению
ГОСТ 34.310-95/ГОСТ Р 34.10-2001 Информационная технология. Криптографическая защита информации. Процедуры выработки и проверки электронной цифровой подписи на базе асимметричного криптографического алгоритма
Примечание - При пользовании настоящим стандартом целесообразно проверить действие ссылочных стандартов по указателю «Национальные стандарты», составленному по состоянию на 1 января текущего года, и по соответствующим информационным указателям, опубликованным в текущем году. Если ссылочный стандарт заменен (изменен), то при пользовании настоящим стандартом следует руководствоваться замененным (измененным) стандартом. Если ссылочный стандарт отменен без замены, то положение, в котором дана ссылка на него, применяется в части, не затрагивающей эту ссылку.
3.1 Термины и определения
В настоящем стандарте применены следующие термины с соответствующими определениями:
3.1.1
|
автоматизированная система: Система, состоящая из персонала и комплекса средств автоматизации его деятельности, реализующая информационную технологию выполнения установленных функций. [ГОСТ 34.003-90, пункт 1.1] |
(Поправка, ИУС 4-2007).
3.1.2 атрибут: Элемент данных, который выражает определенную характеристику документа и имеет имя и значение [1].
3.1.3 аутентичный документ: Документ, одинаковый с исходным по содержанию и различный по формату и (или) кодам данных.
Примечание - Аутентичные документы могут быть выполнены на одинаковых или разных видах носителя данных.
3.1.4 версия документа: Электронный документ, соответствующий определенной стадии (этапу) разработки документа*1)
1) Здесь и далее знаком «*» отмечены пункты, к которым даны комментарии в приложении А.
3.1.5 вторичный документ: Документ, который может быть получен из документа другого вида.
Примечание - Несколько вторичных документов могут быть получены из одного первичного документа. Один вторичный документ может быть получен из нескольких первичных документов (в т.ч. различных видов).
3.1.6 идентичный документ: Документ, одинаковый с исходным по содержанию и формату и (или) кодам данных.
Примечание - Идентичные документы могут быть выполнены только на одинаковых видах носителя данных.
3.1.7 интерактивный электронный документ: Документ, информация содержательной части которого доступна в интерактивной форме.
3.1.8 информационная единица: Файл или набор файлов, рассматриваемый как единое целое.
3.1.9 первичный документ: Документ, который может быть использован как исходный для получения документов другого вида (вторичных документов).
Примечание - Виды документов по ГОСТ 2.102-68.
3.1.10 статус версии документа: Реквизит, определяющий состояние версии документа на стадии (этапе) его разработки*.
3.1.11 форма внешнего представления: Воспроизведение электронного документа на экране дисплея, на бумажном носителе или ином аналогичном носителе в понятной для визуального обозрения и пригодной для восприятия человеком форме.
3.1.12 твердая копия: Полученная на устройствах вывода ЭВМ надлежащим образом удостоверенная форма внешнего представления электронного документа, выполненная на бумажном носителе.
3.1.13 целостность документа: Состояние документа, при котором после его выпуска ни в содержательную, ни в реквизитную части не вносилось никаких изменений.
3.1.14
|
электронный документ: Документ, выполненный как структурированный набор данных, создаваемых программно-техническим средством. [ГОСТ 2.001-93, пункт А.3] |
(Поправка, ИУС 4-2007).
3.1.15 электронный носитель: Материальный носитель, используемый для записи, хранения и воспроизведения информации, обрабатываемых с помощью средств вычислительной техники
3.2 Сокращения
В настоящем стандарте приняты следующие сокращения:
АС - автоматизированная система;
ДЭ - электронный конструкторский документ;
ИЕ - информационная единица;
ИЭД - интерактивный электронный документ;
КД - конструкторская документация;
УЛ - информационно-удостоверяющий лист;
ЭЦП - электронная цифровая подпись;
ЭВМ - электронно-вычислительная машина.
4.1 ДЭ выполняют на стадии разработки изделия и применяют на всех стадиях жизненного цикла изделия. ДЭ получают в результате автоматизированного проектирования (разработки) или преобразования документов, выполненных в бумажной форме, в электронную форму.
4.2 ДЭ имеют два представления - внутреннее и внешнее.
Во внутреннем (подлинном) виде ДЭ существует только в виде записи информации, составляющей электронный документ, на электронном носителе и воспринимаемом только программно-техническими средствами.
Внешним является представление ДЭ в доступной для визуального восприятия форме. Для получения формы внешнего представления внутреннее представление ДЭ должно быть преобразовано к требуемому виду различными техническими средствами отображения данных (дисплеями, печатающими устройствами и др.)*.
4.3 ДЭ состоит из двух частей: содержательной и реквизитной.
Содержательная часть состоит из одной или нескольких ИЕ, содержащих необходимую информацию об изделии. Содержательная часть может состоять раздельно или в любом сочетании из текстовой, графической, аудиовизуальной (мультимедийной) информации. Реквизитная часть состоит из структурированного по назначению набора реквизитов и их значений. Номенклатура реквизитов ДЭ - по ГОСТ 2.104. В реквизитную часть ДЭ допускается вводить дополнительные реквизиты с учетом особенностей применения и обращения ДЭ. Номенклатуру дополнительных реквизитов и правила выполнения и отображения в визуально воспринимаемом виде устанавливает разработчик*.
Для документации на изделия, разрабатываемые по заказу Министерства обороны, номенклатура дополнительных реквизитов документов должна быть согласована с заказчиком (представительством заказчика).
4.4 Все реквизиты ДЭ, значением которых является подпись, выполняют в виде ЭЦП по ГОСТ Р 34.10-2001.
Внешнее представление реквизитов, значением которых является ЭЦП, для различных видов конструкторских документов устанавливает разработчик*.
Для документации на изделия, разрабатываемые по заказу Министерства обороны, номенклатура, внешнее представление и размещение реквизитов ДЭ, значением которых является ЭЦП, должны быть согласованы с заказчиком (представительством заказчика).
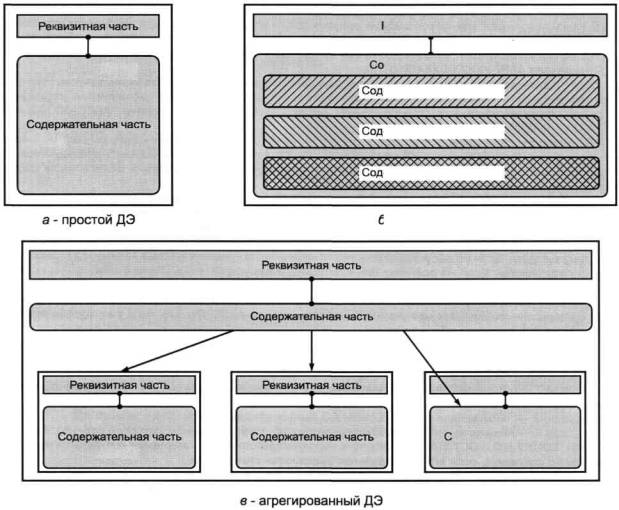
4.5 ДЭ подразделяют на простые, составные и агрегированные в зависимости от состава и способа организации содержательной части:
- в простом ДЭ содержательная часть реализована в виде одной ИЕ;
- в составном ДЭ содержательная часть реализована в виде нескольких ИЕ, связанных друг с другом ссылками, как правило, определяемыми применяемым форматом данных;
- в агрегированном ДЭ содержательная часть реализована в виде нескольких ИЕ, информационно связанных друг с другом;
Примеры различных способов организации содержательной части ДЭ приведены в приложении Б*.
4.6 ИЕ в ДЭ могут образовывать сложные иерархические структуры, имеющие совмещенные реквизитные части и общие описания составляющих компонентов. При многократном использовании компонентов допускается применение ссылок*.
4.7 Если в документе используются ссылки, то при выпуске документа все ссылки должны быть заменены на соответствующее им содержание. В составном и агрегированном документах, если его формат требует наличия ссылок, допускается оставлять ссылки при условии, что целостность таких ДЭ обеспечивают программно-технические средства*.
4.8 Наименования ДЭ в зависимости от способа их выполнения и характера использования - по ГОСТ 2.102-68. В этом случае в реквизитной части ДЭ должно быть указание о коде документа по ГОСТ 2.104*.
4.9 Подлинники, дубликаты и копии ДЭ имеют одинаковую силу с бумажной формой выполнения документов аналогичных наименований. В дубликатах и копиях должны быть сохранены обязательные реквизиты, содержащиеся в подлиннике ДЭ.
4.10 Аутентичные ДЭ, полученные путем преобразования их форматов, подписанные в установленном порядке ЭЦП, имеют то же наименование документа, что и ДЭ, из которого они получены. Аутентичному ДЭ присваивают дополнительный признак, который записывают в реквизитной части документа. Аутентичный документ должен содержать в реквизитной части указание на исходный ДЭ, из которого он получен*.
4.11 Твердая копия, изготовленная и подписанная в установленном порядке, может иметь то же наименование документа, что и ДЭ, с которого она получена. В этом случае ответственность за взаимное соответствие исходного ДЭ и его твердой копии в ходе жизненного цикла документов возлагается на разработчика.
Твердая копия должна содержать указание на то, что исходным документом является ДЭ.
4.12 При обращении ДЭ должна быть обеспечена возможность проверки ЭЦП всеми организациями - участниками обращения документа. Подтверждение подлинности и целостности ДЭ производится соответствующими программно-техническими средствами, обеспечивающими проверку ЭЦП*.
4.13 ЭЦП используют, как правило, последовательно или параллельно. При последовательном использовании каждая последующая ЭЦП, подтверждающая ранее подписанную информацию и все предыдущие ЭЦП, обеспечивает проверку целостности по предыдущим подписям. При параллельном использовании каждая ЭЦП подтверждает только подписываемую информацию*.
4.14 Порядок использования ЭЦП и применяемые программно-технические средства в пределах отдельной организации устанавливаются разработчиком документации в зависимости от наличия конкретного информационного, программного и организационного обеспечения.
Для документации, выполняемой в электронной форме на изделия, разрабатываемые по заказу Министерства обороны, порядок использования ЭЦП и применяемые программно-технические средства должны быть согласованы с заказчиком (представительством заказчика)*.
4.15 Порядок управления данными ЭЦП устанавливает разработчик. При обращении ДЭ в корпоративных АС порядок управления данными ЭЦП (например, обмен ключами) устанавливают организации-участники*.
3.1.3 В неавтоматизированной системе управления документами все изменения, как правило, относятся к одному исходному документу, который также включает в себя все его предыдущие изменения. В такой системе управления документами порядковый номер изменения (графа 14 основной надписи по ГОСТ 2.104) следует рассматривать как номер версии.
В автоматизированной системе управления документами в выпущенную версию ДЭ изменения не вносят. Изменение содержательной части ДЭ вызывает появление новой версии, которая замещает изменяемую. Все соисполнители должны быть проинформированы о выпуске новой версии ДЭ.
Под системой управления документами подразумевается система, обеспечивающая выполнение функций управления конструкторскими документами согласно ИСО 11442-4 [2]. В качестве системы управления документами может применяться автоматизированная система управления электронными документами, автоматизированная система управления данными об изделии или другая аналогичная система.
3.1.4 Как правило, статус версии документа указывается терминами «в разработке», «на согласовании», «выпущен», «утвержден», «отменен» и т.п. Перечень таких терминов для различных видов КД устанавливают стандартом организации.
4.2 Внутреннее представление ДЭ - например, на электронном носителе или в памяти ЭВМ.
4.3 Допускается при выпуске ДЭ выполнять реквизитную часть ДЭ в форме информационно-удостоверяющего сопроводительного листа. Рекомендуемая форма УЛ сопроводительного листа приведена в приложении В.
4.4 ЭЦП - неотъемлемая часть реквизитной части ДЭ, предназначенная для удостоверения и подтверждения его подлинности и целостности.
Для внешнего представления рекомендуется
использовать строку символов. Например, при положительном результате проверки
ЭЦП рекомендуется использовать строку «
», при
отрицательном результате - строку «???».
4.5 Примером простого ДЭ может служить документ, реализованный в виде одного файла, который содержит в себе все необходимые для своей интерпретации данные - файла текстового процессора, электронной таблицы, обменного файла по ИСО 10303-21-2002 [3] и т.п.
Составной ДЭ имеет единую для всех входящих ИЕ реквизитную часть и общую ИЕ в содержательной части, связанную ссылками с другими ИЕ. Каждая входящая ИЕ может, при необходимости, иметь собственную реквизитную часть.
Примером составного ДЭ может служить документ, реализованный в виде файла текстового процессора, содержащего текст, и иллюстраций, физически хранимых в отдельных файлах. Визуальное представление документа при этом формируется используемым программным средством.
Агрегированный ДЭ имеет общую для всех составляющих ИЕ реквизитную часть, содержащую атрибуты документа в целом, и (необязательно) общую содержательную часть. Каждая входящая ИЕ включает содержательную часть и необязательно может иметь собственную реквизитную часть. Доступ к ИЕ при визуализации содержания документа осуществляется по ссылкам между содержательными частями.
Примером агрегированного документа является интерактивное электронное техническое руководство, представляющее совокупность ИЕ в виде модулей данных, выполненных в форме набора файлов с гипертекстовой разметкой по ИСО 8879 [4]. Визуальное представление документа формируется прикладным программным средством. Каждый модуль данных может управляться АС по реквизитным частям ИЕ независимо от другого. Связь между ИЕ осуществляется по взаимным ссылкам.
4.6 В процессе разработки документа и/или версии документа могут существовать активные ссылки по ИСО 8879 на другие документы (части документов), которые будут являться составными частями разрабатываемого документа.
4.7 Например:
- при переходе на стадию согласования или утверждения документа все активные ссылки на технические требования, являющиеся частями другого документа, должны быть заменены на явное содержание этих требований (т.к. использование ссылок после выпуска может изменять содержание версии документа);
- при переходе на стадию утверждения ИЭД (по ГОСТ 2.601) активные ссылки на составляющие его модули данных не заменяются.
4.8 Код документа в зависимости от способа его выполнения и характера использования записывают в соответствующем реквизите основной надписи по ГОСТ 2.104.
4.10 Признак аутентичного документа записывают в соответствующем реквизите основной надписи по ГОСТ 2.104. Ответственность за взаимное соответствие исходного и аутентичного ДЭ и дальнейшее поддержание соответствия в ходе жизненного цикла обоих документов возлагается на разработчика.
4.12 Под подлинностью подразумевается подтвержденное авторство (в т.ч. разработка, согласование и утверждение) ДЭ, что определяется принадлежностью ЭЦП конкретному физическому лицу и его роли. ЭЦП увязывает в одно целое содержание подписанной информации и идентификацию подписывающего лица и делает невозможным изменение информации без нарушения данной ЭЦП.
Примечание - Применение ЭЦП не обеспечивает защиту информации от несанкционированного доступа.
4.13 Значение ЭЦП вычисляют после того, как в документ были внесены идентификационные данные. При последовательном применении ЭЦП значение вычисляют по всему документу, то есть (при вычислении значения используют и реквизитную, и содержательную части). При параллельном применении ЭЦП значение вычисляют только по содержательной части документа.
4.14 Использование конкретных алгоритмов выработки ЭЦП устанавливается на предприятии в зависимости от наличия конкретного информационного, программного и организационного обеспечения.
4.15 При обмене ДЭ между организациями номенклатура обязательных реквизитов ЭЦП и количество ЭЦП определяется договором (контрактом) или иной формой соглашения.
Допускается заменять набор ЭЦП, произведенный в АС передающей организации, одной ЭЦП лица, ответственного за передачу ДЭ (или комплекта ДЭ) для упрощения организации обмена КД.

Рисунок Б.1 - Примеры организации данных в электронных конструкторских документах
1 Линия с точками отражает принадлежность компонентов документа.
2 Линия со стрелкой отражает логическую и информационную связь между компонентами документа.
В.1.1 УЛ используют для сопровождения выпуска одного документа, нескольких документов или комплекта документов.
В.1.2 Если УЛ выпускают на один ДЭ, то ему присваивают обозначение ДЭ на это изделие с добавлением кода УЛ (например, АБВГ.ХХХХХХ.ХХХЭМД-УЛ).
Если УЛ выпускают на комплект документов, записанных в спецификацию, ведомость технического предложения или ведомость технического (эскизного) проектов, то ему присваивают обозначение спецификации или соответствующей ведомости с добавлением через дефис кода УЛ (например, АБВГ.ХХХХХХ.ХХХУЛ; АБВГ.ХХХХХХ.ХХХТП-УЛ).
При некомплектной сдаче документов в службу технической документации УЛ присваивают обозначение, как указано выше. В этом случае в УЛ не указывают те ДЭ, которые в данный момент не передаются, а при доукомплектовании вводят продолжение УЛ, в котором указывают эти ДЭ. Изменение общего числа листов УЛ производят на основании извещения об изменении УЛ.
Допускается присваивать обозначения УЛ иным способом, при этом правила присвоения обозначений УЛ устанавливает разработчик. Для документации на изделия, разрабатываемые по заказу Министерства обороны, правила присвоения обозначений УЛ согласуются с заказчиком (представительством заказчика).
В.1.3 УЛ включают в комплект подлинников документов. УЛ записывают после обозначения документа, который по нему выпущен. Если УЛ выпущен на комплект документов, входящих в спецификацию, то его записывают в спецификацию первым. Если на документ или комплект ДЭ выпускают ЛУ и УЛ, то в спецификацию сначала записывают ЛУ, а затем УЛ.
В.1.4 В УЛ указывают обозначения ДЭ, к которым он выпущен, фамилии и подлинные подписи лиц, разработавших, проверивших, согласовавших и утвердивших соответствующий ДЭ. Подпись лица, разработавшего ДЭ и УЛ, и нормоконтролера являются обязательными.
В.1.5 УЛ рекомендуется выполнять по форме 1 на листах формата А4, А5 по ГОСТ 2.301-68. Общие требования к выполнению - по ГОСТ 2.004-88. Пример выполнения сопроводительного листа приведен на рисунке В.1.
В.1.6 В графах УЛ указывают:
- в графе 1 - порядковый номер ДЭ, выпуск которого оформляется данным УЛ. При выпуске УЛ на один ДЭ данную графу допускается не заполнять;
- в графе 2 - обозначение и номер версии ДЭ, выпуск которых оформляется данным УЛ;
- в графе 3- наименование и вид документа, если этому документу присвоен код по ГОСТ 2.102-68, ГОСТ 2.601, ГОСТ 2.602-95, ГОСТ 2.701-84. Для изделий народнохозяйственного назначения допускается не указывать наименование документа, если его код определен указанными стандартами;
- в графе 4 - резерв. Использование графы при необходимости определяет разработчик;
- в графе 5 - примечание. Рекомендуется записывать дополнительные данные о документе (например, наименование файла документа; обозначение первичного документа и т.д.);
- в графе 6 - причина (цель) выпуска документа. Допускается не заполнять для документов, имеющих только одну версию;
- в графе 7 - дату, с которой вводится в действие данная версия документа;
- в графе 8 - документ, служащий основанием для ввода в действие данной версии ДЭ [как правило, таким документом является извещение об изменении (ИИ или ПИ)]. Графу не заполняют для документов, имеющих только одну версию;
- графы 9, 10 - резерв. Использование графы при необходимости определяет разработчик;
- в графе 11- характер работы, выполняемой лицом, подписывающим документ, в соответствии с ГОСТ 2.104. Свободную строку заполняют по усмотрению разработчика, например: «Начальник отдела», «Начальник лаборатории», «Рассчитал»;
- в графе 12- фамилии лиц, подписавших документ;
- в графе 13 - подписи лиц, фамилии которых указаны в графе 11.
Подписи лиц, разработавших данный документ и ответственных за нормоконтроль, являются обязательными.
Все необходимые согласующие подписи ставятся в графах 11-14. В случае недостаточности количества строк допускается использовать для размещения согласующих подписей свободное поле для подшивки УЛ или увеличивать количество строк блока граф 11-14;
- в графе 14 - дата подписания документа лицами, фамилии которых указаны в графе 11;
- в графе 15 - обозначение УЛ;
- в графе 16 - собственное наименование УЛ («информационно-удостоверяющий лист»). Допускается собственное наименование не заполнять и использовать графу как резерв. В этом случае использование графы при необходимости определяет разработчик;
- в графе 17 - порядковый номер листа УЛ;
- графа 18 - общее количество листов УЛ. Для УЛ, выпускаемого на одном листе, данную графу допускается не заполнять.

Рисунок В.1 - Рекомендуемая форма УЛ
В.1.7 УЛ учитывают и хранят по правилам, установленным для ЛУ.

Рисунок В.2 - Пример выполнения УЛ для нескольких ДЭ
[1] ИСО/МЭК 8613-1-1994 Информационная технология - Архитектура открытого документа (ODA) и обменный формат: общие положения и основные принципы
[2] ИСО 11442-4-1993 Техническая документация. Автоматизированное управление технической информацией. Часть 4: Управление документами
[3] ИСО 10303-21-2002 Системы автоматизации производства и их интеграция. Представление данных об изделии и обмен этими данными. Часть 21. Методы реализации. Кодирование открытым текстом структуры обмена
[4] ИСО 8879-86 Обработка информации. Текстовые и офисные системы. Стандартный обобщенный язык разметки (SGML)
Ключевые слова: конструкторская документация, электронный документ, бумажный документ, информационная единица, электронная цифровая подпись, реквизитная часть, содержательная часть