Нормативные документы размещены исключительно с целью ознакомления учащихся ВУЗов, техникумов и училищ.
Объявления:

 

 

Утверждаю

Начальник Управления технического
нормирования, стандартизации и сертификации в строительстве и ЖКХ Госстроя России

__________ Тишенко В.В.

«__________» ___________________ 2003 г.

 

Поправка
к ГОСТ 8269.0-97 Щебень и гравий из плотных горных пород и отходов промышленного производства для строительных работ. Методы физико-механических испытаний

В каком месте

Напечатано

Должно быть

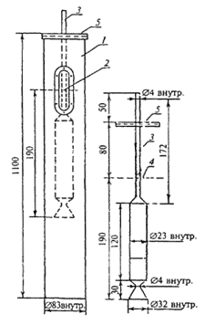
Пункт 4.5.2.1 рисунок 2

1 - цилиндр; 2 - метка на цилиндре 1000 см3, 3 - пипетка; 4 - уровень суспензии в цилиндре; 5 - опорная крышка пипетки

Рисунок 2 - Металлический цилиндр и мерная пипетка

1 - цилиндр; 2 - пипетка; 3 - метка на цилиндре (1000 мл); 4 - уровень суспензии в цилиндре; 5 - опорная крышка пипетки

Рисунок 2 - Металлический цилиндр и мерная пипетка

 

Главный специалист                                                                             Т.А. Фиронова

 

2008-2013. ГОСТы, СНиПы, СанПиНы - Нормативные документы - стандарты.