Нормативные документы размещены исключительно с целью ознакомления учащихся ВУЗов, техникумов и училищ.
Объявления:

ГОСТ Р 51242-98

ГОСУДАРСТВЕННЫЙ СТАНДАРТ РОССИЙСКОЙ ФЕДЕРАЦИИ

КОНСТРУКЦИИ
ЗАЩИТНЫЕ МЕХАНИЧЕСКИЕ
И ЭЛЕКТРОМЕХАНИЧЕСКИЕ
ДЛЯ ДВЕРНЫХ И ОКОННЫХ ПРОЕМОВ

ТЕХНИЧЕСКИЕ ТРЕБОВАНИЯ И МЕТОДЫ ИСПЫТАНИЙ
НА УСТОЙЧИВОСТЬ К РАЗРУШАЮЩИМ ВОЗДЕЙСТВИЯМ

ГОССТАНДАРТ РОССИИ

Москва

Предисловие

1 РАЗРАБОТАН Научно-исследовательским центром «Охрана» (НИЦ «Охрана») Главного управления вневедомственной охраны (ГУВО) МВД России, Научно-производственным объединением (НПО) «Спецтехника и связь» МВД России, Экспертно-криминалистическим центром (ЭКЦ) МВД России, ГУВО МВД России, Всероссийским научно-исследовательским институтом стандартизации и сертификации в машиностроении (ВНИИНМАШ) Госстандарта России

ВНЕСЕН Техническим комитетом по стандартизации ТК 234 «Технические средства охраны, охранной и пожарной сигнализации»

2 ПРИНЯТ И ВВЕДЕН В ДЕЙСТВИЕ Постановлением Госстандарта России от 29 декабря 1998 г. № 473

3 ВВЕДЕН ВПЕРВЫЕ

СОДЕРЖАНИЕ

1 Область применения. 2

2 Нормативные ссылки. 2

3 Определения. 3

4 Общие положения. 4

5 Технические требования. 6

6 Методы испытаний. 9

7 Обработка результатов испытаний. 15

Приложение А Примеры маркировки конструкций при сертификации. 15

Приложение Б Перечень нормативных документов, необходимых для проведения испытаний. 16

Приложение В Рекомендуемые схемы испытательных стендов для испытаний конструкций на ударные нагрузки. 17

Приложение Г Испытатели и наблюдатели. 19

Приложение Д Общие вопросы по организации испытаний конструкции на устойчивость к разрушающим воздействиям.. 20

Приложение Е Примеры оценки соответствия конструкций требованиям настоящего стандарта и определения категорий и классов их устойчивости к разрушающим воздействиям.. 21

Приложение Ж Прочностные характеристики типовых материалов, применяемых в конструкциях. 28

Приложение И Справочные данные об энергетических характеристиках огнестрельного оружия при использовании стандартного патрона. 29

Приложение К Нестандартизованные термины и понятия, применяемые в настоящем стандарте. 30

Приложение Л Библиография. 31

ГОСТ Р 51242-98

ГОСУДАРСТВЕННЫЙ СТАНДАРТ РОССИЙСКОЙ ФЕДЕРАЦИИ

КОНСТРУКЦИИ ЗАЩИТНЫЕ МЕХАНИЧЕСКИЕ И ЭЛЕКТРОМЕХАНИЧЕСКИЕ ДЛЯ ДВЕРНЫХ И ОКОННЫХ ПРОЕМОВ

Технические требования и методы испытаний на устойчивость
к разрушающим воздействиям

Mechanical and electromechanical protective constructions for doorways and window ventings. Technical requirements and test methods for breaking resistance

Дата введения 2000-01-01

1 Область применения

Настоящий стандарт распространяется на механические и электромеханические защитные конструкции для дверных и оконных проемов (ворота, двери, ставни, жалюзи, решетки, экраны, шторы - далее - конструкции), предназначенные для усиления защиты собственности и личности, и устанавливает требования по устойчивости конструкций к механическим деформирующим воздействиям, к низко- и высокоскоростным разрушающим воздействиям, а также методы испытаний конструкций на устойчивость к таким воздействиям.

Настоящий стандарт распространяется на конструкции всех вышеперечисленных видов, устанавливаемые в жилых и нежилых общественных, производственных и вспомогательных зданиях и сооружениях.

Настоящий стандарт не распространяется на конструкции: защитные по ГОСТ Р 50862, ГОСТ Р 50941, ГОСТ Р 51110; противопожарные; ограждений открытых территорий; предназначенные для объектов военного и/или оборонного значения, а также для специальных промышленных производств.

Требования настоящего стандарта являются обязательными.

2 Нормативные ссылки

В настоящем стандарте использованы ссылки на следующие стандарты:

ГОСТ 8.417-81 ГСИ. Единицы физических величин

ГОСТ 12.1.004-91 ССБТ. Пожарная безопасность. Общие требования

ГОСТ 12.1.005-88 ССБТ. Общие санитарно-гигиенические требования к воздуху рабочей зоны

ГОСТ 12.1.010-76 ССБТ. Взрывоопасность. Общие требования

ГОСТ 12.1.013-78 ССБТ. Строительство. Электробезопасность. Общие требования

ГОСТ 12.1.019-79 ССБТ. Электробезопасность. Общие требования и номенклатура видов зашиты

ГОСТ 12.2.003-91 ССБТ. Оборудование производственное. Общие требования безопасности

ГОСТ 12.2.006-87 (МЭК 65-85) Безопасность аппаратуры электронной сетевой и сходных с ней устройств, предназначенных для бытового и аналогичного общего применения. Общие требования и методы испытаний

ГОСТ 12.2.007.0-75 ССБТ. Изделия электротехнические. Общие требования безопасности

ГОСТ 1050-88 Прокат сортовой, калиброванный со специальной отделкой поверхности из углеродистой качественной конструкционной стали. Общие технические условия

ГОСТ 5582-75 Прокат тонколистовой коррозионно-стойкий, жаростойкий и жаропрочный. Общие технические условия

ГОСТ 5632-72 Стали высоколегированные и сплавы коррозионно-стойкие, жаростойкие и жаропрочные. Марки

ГОСТ 5727-88 Стекло безопасное для наземного транспорта. Общие технические условия

ГОСТ 9438-85 Пленка поливинилбутиральная клеящая. Технические условия

ГОСТ 15150-69 Машины, приборы и другие технические изделия. Исполнения для различных климатических районов. Категории, условия эксплуатации, хранения и транспортирования в части воздействия климатических факторов внешней среды

ГОСТ 16532-70 Прокат тонколистовой из углеродистой стали качественной и обыкновенного качества, общего назначения. Технические условия

ГОСТ 21631-76 Листы из алюминия и алюминиевых сплавов. Технические условия

ГОСТ 22178-76 Листы из титана и титановых сплавов. Технические условия

ГОСТ 23755-79 Плиты из титана и титановых сплавов. Технические условия

ГОСТ 27346-87 Изделия замочно-скобяные. Термины и определения

ГОСТ 27570.0-87 (МЭК 335-1-76) Безопасность бытовых и аналогичных электрических приборов. Общие требования и методы испытаний

ГОСТ 28198-89 (МЭК 68-1-88) Основные методы испытаний на воздействие внешних факторов. Часть 1. Общие положения и руководство

ГОСТ 28653-90 Оружие стрелковое. Термины и определения

ГОСТ Р 50009-92 Совместимость технических средств охранной, пожарной и охранно-пожарной сигнализации электромагнитная. Требования, нормы и методы испытаний на помехоустойчивость и индустриальные радиопомехи

ГОСТ Р 50658-94 Системы тревожной сигнализации. Часть 2. Требования к системам охранной сигнализации. Раздел 4. Ультразвуковые доплеровские извещатели для закрытых помещений

ГОСТ Р 50744-95 Бронеодежда. Классификация и общие технические требования

ГОСТ Р 50776-95 (МЭК 839-1-4-89) Системы тревожной сигнализации. Часть 1. Общие требования. Раздел 4. Руководство по проектированию, монтажу и техническому обслуживанию

ГОСТ Р 50862-96 Сейфы и хранилища ценностей. Требования и методы испытаний на устойчивость к взлому и огнестойкость

ГОСТ Р 50941-96 Кабина защитная. Общие технические требования и методы испытаний

ГОСТ Р 50963-96 Защита броневая специальных автомобилей. Общие технические требования

ГОСТ Р 51053-97 Замки сейфовые. Требования и методы испытаний на устойчивость к криминальному открыванию и взлому

ГОСТ Р 51072-97 Двери защитные. Общие технические требования и методы испытаний на устойчивость к взлому и пулестойкость

ГОСТ Р 51110-97 Средства защитные банковские. Общие технические требования

ГОСТ Р 51112-97 Средства защитные банковские. Требования по пулестойкости и метод испытаний

ГОСТ Р 51136-98 Стекла защитные многослойные. Общие технические условия

3 Определения

В настоящем стандарте применяют следующие термины и понятия с соответствующими определениями и пояснениями.

3.1 Деформация защитной конструкции - по нормам [1].

3.2 Доступ (полный, частичный) в защищаемое помещение, зону - по ГОСТ Р 51072.

3.3 Замок - по ГОСТ 27346.

3.4 Запирающее устройство - замок, в котором взаимодействующие кодовый и силовой исполнительный механизмы конструктивно не объединены в едином корпусе.

3.5 Защита собственности и личности - обеспечение приемлемого значения степени риска нанесения ущерба собственности и личности в результате преступного посягательства.

3.6 Защищаемая зона - находящиеся непосредственно за защитной конструкцией зона или пространство, механически огражденные от доступа и нештатных действий.

3.7 Защитная конструкция - изделие, обладающее повышенными прочностными и ресурсными свойствами и устойчивое к разрушению нормированными механическими воздействиями (предметом, инструментом, оружием, взрывчатым веществом (ВВ)).

3.8 Зондирование защитной конструкции - действия, направленные на изучение устройства конструкции с целью ее нештатного открывания или разрушения.

3.9 Каркас защитной конструкции - по нормам [1].

3.10 Оружие огнестрельное (нарезное гладкоствольное, комбинированное) - по Федеральному закону [2].

3.11 Оружие холодное (в т.ч. клинковое) - по Федеральному закону [2].

3.12 Оружие метательное - по Федеральному закону [2].

3.13 Оружие пневматическое - по Федеральному закону [2].

3.14 Оружие гражданское, служебное, боевое - по Федеральному закону [2].

3.15 Пробивное действие метательного снаряда, пули - по ГОСТ 28653.

3.16 Пробивание сквозное метательным снарядом или пулей патрона - выход метательного снаряда или пули за пределы защитной конструкции.

3.17 Противотаранные свойства защитной конструкции - прочностные и конструктивные свойства защитной конструкции, обеспечивающие ее устойчивость к таранному удару автотранспортным средством.

3.18 Прочность защитной конструкции - по нормам [1].

3.19 Разрушение защитной конструкции (деформация, взлом, пробивание) - утрата конструкцией заданных целевых физических свойств и функции назначения.

3.20 Разрушающие воздействия на защитную конструкцию:

низкоскоростные - деформирующие (отжим, отгиб, выдавливание); взламывающие (выбивание ударами (за исключением таранного по 3.17) тяжелым предметом, а также разрезание (вырезание), распиливание, высверливание, и т.п. действия заостренным или заточенным предметом, режущим инструментом или клинком холодного оружия);

высокоскоростные - сквозное пробивание метательным снарядом, пулей патрона, а также взрывом малого заряда взрывчатого вещества (ГОСТ Р 51072).

3.21 Степень риска - по ГОСТ Р 50776.

3.22 Устойчивость защитной конструкции к пробиванию метательным снарядом или путей патрона - способность защитной конструкции противостоять пробиванию метательным снарядом или пулей без сквозных пробоин.

4 Общие положения

4.1 Требования устойчивости к разрушающим воздействиям устанавливают для защитных конструкций, изготавливаемых промышленным, непромышленным (кустарным) и комбинированным способами в виде: самостоятельных изделий, секций с соединительными механическими или электромеханическими монтажными деталями или узлами, блоков с встроенными строительными элементами (каркасами, рамами, коробками, панелями, различными вставками и т.п.).

4.2 Требования, установленные к конструкциям, следует использовать для комплексной оценки их защитных свойств по 4.1 и средств их креплений при разрушающих воздействиях по 3.20.

4.3 Классификация

4.3.1 Конструкции классифицируют в зависимости от их защитных свойств по категориям: обычные, усиленные, специальные и классам устойчивости: I - низший, II, III и IV.

Обычные конструкции I класса устойчивости предназначены для защиты от деформирующих воздействий ручным рычажным или раздвигающим инструментом и одиночных ударов тяжелыми предметами, а II класса также для защиты воздействия пневматического и метательного оружия.

Усиленные конструкции I, II и III классов устойчивости предназначены для дополнительной (относительно предыдущей категории) защиты от: деформирующих воздействий неручного (механического, электромеханического или с иным принципом действия) рычажного или раздвигающего инструмента; разрушающих воздействий заостренным или заточенным предметом, ручным и неручным (механическим, электромеханическим или с иным принципом действия) режущим инструментом; воздействия пневматического и метательного оружия.

Специальные (взломо-, пуле-, взрывостойкие) конструкции I, II, III и IV классов устойчивости предназначены для дополнительной (относительно предыдущих категорий) защиты от воздействия термического режущего инструмента, огнестрельного гладкоствольного, нарезного и комбинированного гражданского, служебного и некоторых видов боевого оружия, а также малого заряда ВВ.

4.3.2 В соответствии с категорией и классом устойчивости по 4.3.1 конструкции должны противостоять разрушающим воздействиям, указанным в таблице 1.

Таблица 1

Вид разрушающего воздействия

Устойчивость конструкций по категориям и классам

обычная

усиленная

специальная

I

II

I

II

III

I

II

III

IV

1 Деформация ручным рычажным инструментом по ГОСТ Р 51072, ручным раздвигающим инструментом типа «домкрат»

+

+

+

+

+

+

+

+

+

2 Деформация или разрушение тяжелым предметом (камень, металлические прут или деталь и т.п.)

+

+

+

+

+

+

+

+

+

3 Разрушение колюще-рубящими ударами заостренным или заточенным предметом (металлические прут или деталь), инструментом (строительно-монтажный лом, топор) или клинком холодного оружия*

-

+

+

+

+

+

+

+

+

4 Разрушение ручным режущим инструментом по ГОСТ Р 51072

-

-

+

+

+

+

+

+

+

5 Деформация или разрушение неручным рычажным или раздвигающим инструментом, или режущим инструментом по ГОСТ Р 51072

-

-

+

+

+

+

+

+

+

6 Разрушение термическим режущим инструментом по ГОСТ Р 51072

-

-

-

-

-

+

+

+

-

7 Пробивание метательным снарядом метательного оружия типа «арбалет» с усилием натяжения тетивы не менее 200 Н*

-

+

+

+

+

+

+

+

+

8 Пробивание пулей при выстреле из пневматического оружия с дульной энергией более 25 Дж*

-

+

+

+

+

+

+

+

+

9 Пробивание пулей патрона огнестрельного гладкоствольного оружия - 70/76 по [3]*

-

-

-

+

+

+

+

+

+

10 Пробивание пулей патрона огнестрельного нарезного оружия с дульной энергией не более 600 Дж**

-

-

-

-

-

-

+

+

+

11 Пробивание пулей патрона огнестрельного нарезного оружия с дульной энергией более 600 Дж, но не более 1500 Дж**

-

-

-

-

-

-

-

+

+

12 Разрушение взрывом малого заряда ВВ со свойствами и массой по ГОСТ Р 51072

-

-

-

-

-

-

-

-

+

* Требования устойчивости конструкции к сквозному пробиванию предъявляются только к конструкциям, не имеющим незащищенных сквозных отверстий.

** Устойчивость конструкции к воздействию огнестрельного нарезного оружия (пулестойкость) оценивают только относительно пробивного действия стандартной оболочечной пули со стальным нетермоупроченным сердечником. Оценку пулестойкости конструкции при воздействии более мощного оружия или иных (с другими пулями) боеприпасов проводят по ГОСТ Р 50744, ГОСТ Р 50941, ГОСТ Р 50963, ГОСТ Р 51072, ГОСТ Р 51112, [4].

Примечание - Знак «+» означает, что устойчивость конструкции к данному виду разрушающего воздействия обязательна, знак «-» означает, что требования устойчивости конструкции к данному виду разрушающего воздействия в данной категории и данном классе не предъявляются.

4.4 Категорию и класс устойчивости испытываемого образца (образцов) конструкции определяют внешним осмотром и по совокупным результатам изучения конструкторской документации и испытаний в соответствии с требованиями настоящего стандарта.

Для конструкции, получившей различные оценки по результатам испытаний, категорию и класс устойчивости устанавливают по наименьшим (наихудшим) значениям показателей.

4.5 Нормируемые настоящим стандартом разрушающие воздействия прилагают к испытываемому образцу со стороны, указанной в конструкторской документации.

5 Технические требования

5.1 Общие требования к конструктивному исполнению

5.1.1 Конструкции, в зависимости от назначения и вида могут быть следующих типов исполнения: стационарные (неразъемные), выдвижные, распашные, раздвижные (горизонтального скольжения), подъемные (вертикального скольжения, рулонные), складывающиеся (вертикальные и горизонтальные), вращающиеся, одно- или многостворчатые, с ручным или иным (автоматическим, комбинированным) приводом приведения в действие.

5.1.2 Защитные свойства конструкций должны определяться их назначением и обеспечиваются конструктивными особенностями (в т.ч. массой, габаритными или иными геометрическими размерами, конфигурацией), примененными конструкционными и отделочными материалами и технологией изготовления.

5.1.3 Конструкции всех видов, типов исполнения, категорий и классов устойчивости изготовляют из экологически безопасных материалов и комплектующих изделий в климатических исполнениях О, ОХЛ и ТВ по ГОСТ 15150.

Материалы конструкций должны обеспечивать выполнение требований настоящего стандарта согласно инструкциям по их применению, не ухудшая эксплуатационных и защитных свойств.

5.1.4 В конструкциях допускается комбинированное применение материалов в сочетании «металл - неметалл» (дерево, пластмасса, стекло, керамика и т.д.; отделочные, упрочняющие, антикоррозионные, антипиреновые покрытия и/или пропитки и т.д., удовлетворяющие требованиям 5.1.3).

5.1.5 Общими составными элементами конструкций являются: каркас (рама, коробка и т.п.); средства для крепления каркаса (рамы, коробки) к смежным строительным элементам; защитное полотно (полотна) с замковой зоной (нишей, карманом); замок (замки), запирающее устройство или засов со средствами их механической защиты и усиления прочности (стержнями, пластинами, профилями и т.п.); подвижные элементы приведения конструкции в действие (петли, направляющие, шарниры, колеса, блоки, ходовые винты, тельферы и т.п.).

5.1.6 Конструкции могут быть дополнены следующими функциональными элементами: фиксированными или подвижными боковыми или верхними (нижними) составными частями; защищенными от механического воздействия смотровыми отверстиями или проемами; демпферными устройствами; средствами индикации физического или функционального состояния; служебными отверстиями или проемами (для почтовой или визуальной связи, частичного доступа и т.п.).

5.1.7 Защитные свойства конструкции, указанные в 5.1.1 - 5.1.6, в части устойчивости к установленным соответствующими категорией и классом разрушающим воздействиям, определяют по ее наименее устойчивой к разрушению части. При необходимости обеспечивают дополнительную физическую защиту от разрушающих воздействий уязвимых (например - подвижных) элементов и составных частей (в т.ч. замков и запирающих устройств) в усиленных и специальных конструкциях.

5.1.8 Количество замков и запирающих устройств и их класс устойчивости к взлому должны соответствовать ГОСТ Р 51072.

5.1.9 Замки, запирающие устройства, засовы открывающихся конструкций и их подвижные элементы или приводы должны обеспечивать в аварийном режиме открывания нормируемое быстродействие.

Время задержки при аварийном открывании защитного полотна конструкции изнутри защищаемой зоны или помещения (степень быстродействия) и соответствующий ему индекс (Z.N), должны соответствовать указанным в таблице 2. Степень быстродействия проверяют испытаниями конструкции в целом.

5.1.10 Исполнительные механизмы неручного принципа действия (например, электромеханические, электрогидравлические), используемые в конструкции, должны обеспечивать механическую и электрическую прочности в соответствии с ТУ на исполнительные механизмы конкретного типа.

Таблица 2

Индекс степени быстродействия конструкции

Время задержки при открывании конструкции в аварийном режиме, с, не более

Z.1

5

Z.2

15

Z.3

60

Z.4

300

5.2 Требования к электромагнитной совместимости электрооборудования

5.2.1 Электрооборудование конструкций по 4.1 и 5.1 любых категорий и классов должно обладать устойчивостью к электромагнитным помехам и соответствовать действующим нормам по допустимому уровню создаваемых индустриальных радиопомех для 1-й категории жесткости ГОСТ Р 50009.

5.2.2 Электрооборудование должно обеспечивать функциональную надежность конструкций при колебаниях напряжения электропитания от сети переменного тока от плюс 10 до минус 15 % номинального значения, а от источника постоянного тока - от плюс 25 до минус 15 % номинального значения.

5.2.3 Конструктивное исполнение и схема электрооборудования должны обеспечивать невозможность приведения его в действие, используя нештатные наружные электрические соединительные линии.

5.2.4 Если в конструкции предусмотрено питание от резервного источника электропитания, электрооборудование должно выполнять целевые функции в полном объеме при отключении основного электропитания или при замене элементов резервного электропитания.

Работоспособность от резервного источника питания должна обеспечиваться в течение времени, выбираемого из ряда 4; 8; 12; 24; 48; 72 и более 72 ч.

5.2.5 В конструкциях с автономным электропитанием электрооборудования должна быть обеспечена возможность визуального и/или акустического контроля состояния источника питания.

5.3 Требования устойчивости к низкоскоростным разрушающим воздействиям

5.3.1 Конструкции должны соответствовать требованиям устойчивости к низкоскоростным разрушающим воздействиям (3.20) согласно таблице 3.

Таблица 3

Характеристика и место приложения низкоскоростного разрушающего воздействия

Устойчивость конструкций по категориям и классам

обычная

усиленная

специальная

I

II

I

II

III

I

II

III

IV

1 Деформирующая нагрузка (отжим, отгиб, выдавливание), кН, не менее:

 

 

 

 

 

 

 

 

 

- в зоне свободного угла полотна

6

6

6

8

10

*

*

*

*

- в зоне подвижных элементов

8

8

8

10

12

*

*

*

*

- в зоне замка, засова

8

8

8

10

12

*

*

*

*

2 Удар тяжелым предметом, Дж, не менее:

 

 

 

 

 

 

 

 

 

- в зоне свободного угла полотна

90

90

90

120

150

*

*

*

*

- в зоне подвижных элементов

100

100

100

150

180

*

*

*

*

- в зоне замка, засова

150

150

150

200

300

*

*

*

*

- в зоне центра полотна

150

150

150

200

300

*

*

*

*

3 Удар колюще-рубящий, количество ударов, не менее:

 

 

 

 

 

 

 

 

 

- в зоне свободного угла полотна

-

30

50

70

Св. 70

*

*

*

*

- в зоне подвижных элементов

-

30

50

70

Св. 70

*

*

*

*

- в зоне замка, засова

-

30

50

70

Св. 70

*

*

*

*

- в зоне центра полотна

-

30

50

70

Св. 70

*

*

*

*

4 Воздействие режущего инструмента (по ГОСТ Р 51072), Ес, у. е. не менее:

 

 

 

 

 

 

 

 

 

- инструмента категории А

-

-

30

50

80

30

50

80

120

- инструмента категории В

-

-

50

80

120

30

50

80

120

- инструмента категории С

-

-

-

-

-

30

50

80

120

Примечание - Знак «*» означает, что требования устойчивости конструкции к данному виду разрушающего воздействия для данной категории и данного класса не нормируются и испытаниями не проверяются, знак «-» означает, что требования устойчивости конструкции к данному виду разрушающего воздействия для данной категории и данного класса не предъявляются.

5.4 Требования устойчивости к пробиванию метательным снарядом или пулей

5.4.1 Устойчивость к пробиванию метательным снарядом или пулей патрона (пулестойкость) является защитным свойством конструкции от высокоскоростного разрушающего воздействия.

Устойчивость определяют по наличию (отсутствию) сквозной пробоины после произведенного выстрела.

5.4.2 Устойчивость конструкции по 5.4.1 в любой точке попадания метательного снаряда или пули должна обеспечиваться при воздействии:

- метательного оружия по методике [5];

- пневматического, а также гладкоствольного и нарезного огнестрельного оружия по ГОСТ Р 51112 и методике [4].

5.4.3 В комбинированных многослойных защитных полотнах или в других элементах конструкций допускается располагать слои материалов с наружными и/или внутренними рикошетирующими уклонами, ослабляющими пробивное действие метательного снаряда или пули по ГОСТ 28653.

5.5 Требования устойчивости к разрушению взрывчатым веществом

5.5.1 Устойчивость к разрушению продуктами взрыва малого заряда ВВ (взрывостойкость) является защитным свойством конструкции от высокоскоростного разрушающего воздействия.

5.5.2 Конструкция должна быть устойчивой к воздействию заряда ВВ в соответствии с таблицей 1 при массе и свойствах заряда по ГОСТ Р 51072, не более.

Устойчивость определяют по поствзрывному состоянию конструкции.

5.5.3 Для повышения взрывостойкости конструкций допускается применять материалы или средства, снижающие разрушающее действие продуктов взрыва (например, их направленное действие).

5.6 Требования безопасности

5.6.1 Материалы, используемые для изготовления конструкции, должны иметь токсико-гигиенические паспорта и гигиенические сертификаты в соответствии с действующими нормативными актами контролирующих государственных органов (например, Госкомсанэпиднадзора).

5.6.2 Конструкции, имеющие электрооборудование (например, электропривод) должны отвечать требованиям безопасности по ГОСТ 12.1.004, ГОСТ 12.2.006, ГОСТ 12.2.007.0, ГОСТ 27570.0, [6], [7].

5.7 Маркировка

5.7.1 Конструкции, прошедшие проверку на соответствие требованиям настоящего стандарта, должны быть промаркированы. Маркировку наносят либо на конструкцию, либо указывают в сопроводительной документации.

5.7.2 Маркировка должна содержать:

- товарный знак и (или) другие реквизиты предприятия-изготовителя;

- вид, тип (модель) конструкции и порядковый номер ее испытанного образца;

- год изготовления;

- категорию и класс устойчивости. Категорию обозначают буквенными индексами: О (обычная), У (усиленная), С (специальная). Класс обозначают римскими цифрами от I до IV;

- обозначение документа, в соответствии с которым изготавливают конструкции.

5.7.3 В случае успешного результата испытаний конструкции на устойчивость к воздействию огнестрельного оружия и/или малых зарядов ВВ по настоящему стандарту, маркировку категории и класса устойчивости с учетом таблицы 1 дополняют буквенными индексами П (пулестойкость) и/или В (взрывостойкость).

Примечание - В случае успешных испытаний конструкции на пулестойкость с использованием типов оружия и боеприпасов по ГОСТ Р 51072 (таблица 4), ГОСТ Р 51112 (таблица 1) маркировка должна иметь буквенно-цифровой индекс П.N, соответствующий данным стандартам.

5.7.4 Примеры маркировки конструкций в зависимости от их видов, типов и классификации устойчивости к разрушающим воздействиям по результатам испытаний приведены в приложении А.

6 Методы испытаний

6.1 Общие положения

6.1.1 Испытания проводят на образцах, полностью соответствующих технической документации, перечень которой приведен в приложении Б.

6.1.2 Испытания проводят при нормальных климатических условиях: температуре воздуха (20 ± 5) °С, атмосферном давлении 630 - 800 мм рт. ст., относительной влажности воздуха 45 - 80 %.

6.1.3 При испытаниях конструкций должна быть обеспечена безопасность проведения работ и использования приспособлений, инструмента, оборудования, аппаратуры в соответствии с ГОСТ 12.1.005, ГОСТ 12.1.010, ГОСТ Р 12.1.013, ГОСТ 12.1.019, ГОСТ 12.2.003, [6], [7], действующими правилами техники безопасности при взрывных работах.

6.1.4 В целях безопасности испытателей при испытаниях используют только официально освидетельствованные (например, прошедшие метрологический контроль) приспособления, оборудование, материалы, режущий инструмент, испытательное оружие и испытательное ВВ в строгом соответствии с нормативными документами и инструкциями на них.

6.1.5 Испытаниям подвергают следующие элементы конструкций: защитное полотно, замковую зону и запирающие механизмы, подвижные элементы, электрооборудование.

6.1.6 Программу и последовательность испытаний согласовывают с заказчиком с учетом минимизации ущерба для испытываемого образца (образцов) в результате испытательных воздействий с тем, чтобы максимально использовать его (их) для проведения испытаний в полном объеме.

Отдельные виды или этапы испытаний, проводимые по принятой в программе последовательности, могут быть объединены в произвольные группы. Результаты испытаний могут быть зафиксированы как текстуально, так и на фото-, кино-, видеоматериалах, дающих равноценное толкование результатов и имеющих равную значимость.

6.1.7 При хронометрировании продолжительности испытаний на низкоскоростные разрушающие воздействия учитывают только чистое время испытаний.

6.1.8 Испытания конструкций на соответствие требованиям 5.1.1 - 5.1.8, 5.2.1 - 5.2.5, 5.6.1, 5.6.2, 5.7 проводят визуальным осмотром, изучением предусмотренных комплектных конструкторских и текстовых документов (чертежей, схем, описаний, паспортов и т.п.), а также выданных сертификатов (если таковые имеются), проверкой работоспособности.

При проверке конструкций на соответствие требованиям 5.7 также рассматривают иные (например разрешительные) документы (законодательные и нормативно-правовые акты, стандарты и т.п.).

6.2 Отбор и идентификация образцов

6.2.1 Отбор и идентификацию образцов конструкций для испытаний проводят по ГОСТ Р 51072, приложение А (за исключением требования недопуска испытаний на фрагментах конструкций).

6.3 Испытания на безопасность

6.3.1 Проверку конструкций на соответствие требованиям 5.6 проводят визуальным осмотром, изучением комплекта нормативных документов (чертежей, схем, описаний, паспортов, инструкций и т.п.) или иных (например разрешительных) документов (законодательных и нормативно-правовых актов, стандартов и т.п.).

6.3.2 Испытания конструкций, имеющих электрооборудование, на соответствие 5.6.2 проводят по ГОСТ 12.1.004, ГОСТ 27570.0.

Проверку электрооборудования по способу защиты человека от поражения электрическим током проводят сравнением имеющихся в конструкциях средств защиты с требуемыми по ГОСТ 12.2.006, ГОСТ 12.2.007.0.

6.3.3 Критерием соответствия конструкции требованиям 5.1.9 является полный доступ (по ГОСТ Р 51072) для выхода из защищаемой зоны через открытое полотно конструкции человека среднего телосложения по ГОСТ Р 50658 (рост - 165 - 180 см, вес - 50 - 70 кг) в течение нормированного времени.

Хронометраж времени аварийного открывания проводят не менее чем двумя независимыми измерительными приборами с ценой деления не более 0,01 мин и погрешностью измерения не более 0,05 мин за 10 мин.

6.4 Испытания на устойчивость к воздействию деформирующей нагрузки

6.4.1 Испытания на устойчивость конструкций к воздействию деформирующей нагрузки (пункт 1 таблицы 3) проводят на испытательном стенде. Погрешность используемых при испытаниях средств измерений не должна превышать ± 5 %. Испытания проводят по индивидуальной программе, как правило, на одном образце. В обоснованных случаях проводят дополнительные испытания.

6.4.2 Испытательный стенд должен состоять из рамы для крепления образца и механизма воспроизведения деформирующей нагрузки с приводом любого принципа действия. Форма воздействующего инструмента (например цилиндрический или прямоугольный шток (штоки) с острыми или закругленными краями и т.п.), а также места (точки) его приложения указывают в программе испытаний.

6.4.3 Рама должна обеспечивать установку и закрепление испытываемого образца в рабочем режиме защиты (закрытого, выдвинутого, опушенного и т.п. положения защитного полотна конструкции с его последующим запиранием). Зажатие рамой краев испытываемого образца должно быть равномерным, с давлением не менее (140 ± 20) кН/м.

6.4.4 Непрерывное нарастающее усилие, прикладываемое при испытаниях, от минимального (нулевого) значения до максимального (в соответствии с категорией и классом устойчивости) должно обеспечиваться в течение не более 1 мин. Время приложения максимального усилия в выбранном согласно программе испытаний месте (точке) не менее 1 мин.

6.4.5 Конструкция считается выдержавшей испытание, если после его окончания она сохраняет защитные свойства и функцию назначения (по факту появления возможности частичного или полного доступа по ГОСТ Р 51072).

6.5 Испытания на устойчивость к воздействию одиночных ударов тяжелым предметом

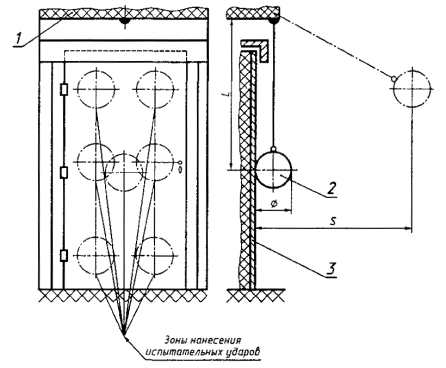
6.5.1 Испытания конструкций на устойчивость к воздействию одиночных ударов тяжелым предметом (пункт 2 таблицы 3) проводят на испытательном стенде аналогично 6.4.1 - 6.4.3. Стенд должен иметь жесткое соединение с массивным, например бетонным, фундаментом и/или массивной стеной. Суммарную массу опор и основания для крепления используют на порядок большую, чем максимальная масса испытываемых конструкций. Рекомендуемая схема испытательного стенда приведена на рисунке В.1 приложения В. Направление удара устанавливают индивидуально в зависимости от вида, типа и назначения конструкции (5.1.1) (например, противоположное направлению открывания распашной конструкции).

Конструкция стенда должна обеспечивать поглощение остаточной энергии ударника поглотителем энергии, гарантирующим отсутствие повреждения и отскока ударника.

6.5.2 Энергия ударов W, Дж, должна соответствовать указанной в пункте 2 таблицы 3. Длину подвеса ударника L, м, а также его отклонение S, м, или угол отклонения a, град., массу М, кг, материал и форму определяют индивидуально, в зависимости от вида и типа конструкции по 5.1.1 и цели испытаний, имитируя реальные условия эксплуатации конструкции и вероятные разрушающие воздействия на нее при эксплуатации.

Энергию удара конструкции ударником рассчитывают по формуле

,                                                         (1)

где G - ускорение свободного падения, равное 9,81 м/с2.

Минимально допустимые физические характеристики ударника: стальной шар массой (30 ± 0,02) кг, твердостью 40 - 45 HRC. Допускается применять ударник, который геометрическими размерами, формой и массой имитирует физические усилия человека среднего телосложения (6.3.3).

Минимально допустимое количество наносимых по конструкции ударов в выбранной точке - 50.

6.5.3 Конструкция считается выдержавшей испытание, если после его окончания она сохраняет защитные свойства и функцию назначения аналогично 6.4.5.

6.6 Испытания на устойчивость к воздействию колюще-рубящих ударов заостренным (заточенным) предметом, инструментом, клинком холодного оружия

6.6.1 Испытания предназначены для проверки устойчивости конструкции к воздействию колюще-рубящего заостренного или заточенного предмета, инструмента, клинка холодного оружия согласно таблице 1, имеющих твердость не менее 40 HRC при нанесении ударов человеком с физическими данными по 6.3.3.

Цель испытаний - определение реальной возможности пробивания отверстия или ослабления защитных свойств конструкции для частичного или полного доступа по ГОСТ Р 51072.

6.6.2 Испытания проводят на испытательном стенде аналогично 6.4.1 - 6.4.3, 6.5.1. Рекомендуемая схема испытательного стенда приведена на рисунке В.2 приложения В.

6.6.3 Дополнительно к требованиям 6.5 испытательный стенд должен обеспечивать:

- удар по испытываемому образцу колюще-рубящим пробойником (6.6.1) со скоростью и энергией, указанными в таблице 4;

- угол встречи пробойника с испытываемым образцом в пределах от 0 до (65 ± 3,5) °, измеренный между касательной к поверхности образца и касательной к лезвию рубящего или острию колющего пробойника в точке встречи лезвия (острия) с поверхностью образца. Конкретное значение угла удара выбирают в зависимости от вида и геометрической формы испытываемой поверхности конструкции (после ее зондирования) и выбранного типа наконечника пробойника.

Минимальное количество наносимых по конструкции ударов должно соответствовать указанным в таблице 3, а их характеристики - данным таблицы 4.

Таблица 4

Класс устойчивости конструкции

Характеристика удара

колющего

рубящего

Скорость, м/с ± 0,3, не менее

Энергия, Дж ± 15, не менее

Скорость, м/с ± 0,3, не менее

Энергия, Дж ± 15, не менее

I

12,5

350

11,0

300

II

12,5

350

11,0

300

III

12,5

350

11,0

300

6.6.4 Форма и габаритные размеры типовых наконечников пробойника (типа «топор» и «лом») приведены на рисунках В.3, В.4 приложения В. Головка «топора» должна иметь массу не менее (2 ± 0,1) кг, а фрагмент острия «лома» - не менее (6 ± 0,1) кг. Наконечники должны быть упрочненными до твердости по 6.6.1 на расстоянии не менее 30 мм от края лезвия (острия).

6.6.5 Измерительное устройство для определения скорости колюще-рубящего удара должно обеспечивать предел измерения до (15 ± 0,3) м/с. Скорость измеряют перед нанесением удара по испытываемому образцу, погрешность измерения не должна превышать 5 %.

6.6.6 После каждых 10 испытательных ударов лезвие (острие) испытательного инструмента проверяют и, при необходимости, перезатачивают. Если в результате износа и перезаточек размер лезвия 232 мм или острия 80 мм уменьшился более чем на 30 мм, то инструмент заменяют на новый. Аналогично поступают, если твердость испытательного инструмента в результате износа и перезаточек не соответствует 6.6.1.

6.6.7 Испытательные удары по образцу наносят следующим образом.

6.6.7.1 При испытаниях защитного полотна ударами в наиболее уязвимую с позиции испытателей точку пытаются пробить квадратное отверстие длиной стороны (315 ± 10) мм (при рубящих ударах) или отверстие произвольной формы минимальным диаметром внутреннего контура не менее (350 ± 15) мм (при колющих ударах).

После первого проникновения лезвия (острия) насквозь его перемещают по намеченному контуру пробиваемого отверстия.

6.6.7.2 При необходимости (например в случае испытаний светопрозрачного или иного неметаллического по 5.1.4 полотна (фрагмента полотна)), рубящим или колющим ударам могут предшествовать расшатывающие удары, наносимые со стенда пробойником, имитирующим тупой инструмент (тяжелый молоток, кувалду, колун и т.п.). Масса пробойника должна быть не менее (2 ± 0,1) кг.

6.6.7.3 Точки нанесения расшатывающих ударов выбирают при зондировании конструкции так, чтобы образующиеся области повреждения создавали зону, достаточную для пробивания намеченного отверстия. Количество расшатывающих ударов не нормируется и регламентируется методом экспертной оценки.

6.6.7.4 После расшатывающих ударов по испытываемой конструкции колющие или рубящие удары наносят в образовавшуюся зону повреждений такое количество раз, которое необходимо для первого проникновения лезвия (острия) насквозь. Далее испытания проводят аналогично 6.6.7.1.

Общее количество наносимых колюще-рубящих ударов подсчитывают, сопоставляя их с данными таблицы 4.

Примечание - Если испытываемое полотно (его фрагмент) светопрозрачно, то по требованиям безопасности проведения испытаний, ослабляющие и колюще-рубящие удары не проводят в образовывающейся стекольной пыли. Испытания продолжают только после удаления пыли.

6.6.7.5 При нанесении колющих ударов испытуемое полотно конструкции считают пробитым после появления сквозных отверстий диаметром, соответствующим диаметру испытательного инструмента (лома, прута).

При нанесении рубящих ударов испытываемое полотно конструкции считают разрушенным, если вырубленный материал полностью отделился от остальной части испытываемого образца или, несмотря на наличие соединения, под действием собственного веса он опрокидывается в горизонтальное положение, освобождая пробитое отверстие, измеряемое шаблоном.

6.6.7.6 При испытаниях других уязвимых мест конструкции (подвижных соединений, замковой зоны, отверстий и т.п. по 5.1.4, 5.1.5) определяют возможность нанесения повреждений, ослабляющих противовзломные свойства конструкции с целью получения либо частичного доступа, либо до полной утраты ею функции назначения.

6.7 Испытания на устойчивость к разрушению режущим инструментом

6.7.1 Испытания конструкций на устойчивость к воздействию режущего инструмента (пункты 4 - 6 таблицы 1, пункт 4 таблицы 3) проводят по ГОСТ Р 51072 (5.4).

6.7.2 При испытаниях используют ручной, электромеханический или имеющий иной привод инструмент. В зависимости от массы и габаритов инструмент относят: к категориям А, В или С; к группе 4 (ручной), группам 6, 10 (электромеханический или с иным приводом) или 11 (термический) по ГОСТ Р 51072.

6.7.3 Соответствие конструкций классу устойчивости с учетом затраченного времени испытаний и использованного инструмента устанавливают по ГОСТ Р 51072.

6.8 Испытания на устойчивость к пробиванию метательным снарядом или пулей

6.8.1 Испытания конструкции на соответствие требованию 5.4 и пунктам 7 - 11 таблицы 1 проводят на одном образце по методике, разработанной для конкретно испытываемой конструкции и выбранных типов оружия.

6.8.2 При испытаниях с применением метательного оружия могут применяться любые из известных его типов. Условия испытаний устанавливают по методике [6].

6.8.3 Измерительное устройство для определения усилия натяжения тетивы метательного оружия должно иметь относительную погрешность не более 1 %.

6.8.4 Для испытаний на воздействие огнестрельного оружия используют его серийные образцы. Условия испытаний устанавливают по методике [4] или с учетом сносок *, ** к таблице 1 по указанным стандартам.

6.8.5 Измерительная установка для определения скорости пули при испытаниях должна иметь погрешность не более 10 м/с. Скорость измеряют при каждом выстреле на участке не более 1 м. Середина участка должна находиться на расстоянии не более 2 м от дульного среза.

6.8.6 Испытания проводят одиночными выстрелами после зондирования конструкции и изучения сопроводительной документации к ней.

Результат испытаний оценивают экспертным методом, по наличию сквозных пробоин в защитном полотне или иной защитной детали испытанной конструкции, в которую производились выстрелы.

6.8.7 Испытания проводят в специально оборудованных помещениях при строгом соблюдении правил техники безопасности. К проведению испытаний в качестве исполнителей допускаются лица, обученные и аттестованные по ГОСТ Р 51112 и методикам [4], [5].

6.9 Испытания на устойчивость к разрушению взрывчатым веществом

6.9.1 Испытания конструкций на устойчивость к разрушению взрывчатым веществом (5.5) проводят для проверки возможности:

- непосредственного проламывания защитного полотна продуктами взрыва с целью полного или частичного доступа по ГОСТ Р 51072;

- ослабления конструкции для последующего воздействия инструментом или приспособлениями.

6.9.2 Пред- и поствзрывные работы проводят по ГОСТ Р 51072.

6.9.3 Испытания проводят, как правило, на одном неповрежденном образце по методикам, подготавливаемым индивидуально для конкретного испытываемого образца конструкции. Допускается проводить испытания на образце с повреждениями, не влияющими на данный вид испытаний. Используют тротиловый, порошковый или пластиковый заряд ВВ. Допускается применение заряда ВВ в виде самоклеящейся пироленты с детонатором.

6.9.4 Вид, массу и физико-химические свойства заряда ВВ выбирают в зависимости от вида испытываемой конструкции по ГОСТ Р 51072 с соответствующим указанием в методике испытаний, согласуемым в установленном порядке.

6.9.5 Оценку результатов испытаний на взрывостойкость проводят экспертным методом по 5.5.2.

6.10 Испытания на устойчивость к воздействию электромагнитных помех

6.10.1 Испытания на устойчивость к воздействию электромагнитных помех проводят только для конструкций по 5.1.1, 5.1.6, 5.1.9, 5.1.10, 5.2, имеющих электрооборудование.

Испытания проводят при нормальных климатических условиях по 6.1.2 в соответствии с ГОСТ Р 50009.

6.10.2 Конструкцию считают выдержавшей испытания на соответствие 5.2, если после испытаний сохранена в полном объеме функция назначения в соответствии с представленной нормативной документацией.

6.11 Испытания на воздействие климатических факторов

6.11.1 Испытания конструкций на воздействие климатических факторов не являются обязательными. Испытания проводят на одном образце. Испытательными воздействующими факторами считают: повышенную либо пониженную (относительно нормальной) температуру, относительную влажность, пыль, дождь, иней, росу. Испытания проводят с помощью метрологически освидетельствованных климатических камер по методике [8] или аналогичной.

6.11.2 Конструкцию считают выдержавшей испытания, если после испытаний ее электрооборудование и подвижные элементы в полном объеме сохраняют функцию назначения в соответствии с представленной нормативной документацией.

7 Обработка результатов испытаний

7.1 На основании результатов анализа представленных нормативных документов и по итогам испытаний проводят:

- оценку соответствия испытываемой защитной конструкции требованиям настоящего стандарта (сравнением реально заложенных в конструкцию целевых тактико-технических характеристик с требуемыми);

- определение категории и класса конструкции по устойчивости к разрушающим воздействиям.

7.2 После испытаний составляют отчет и протокол.

7.3 Отчет должен содержать:

- наименование организации (фирмы) - разработчика или изготовителя испытанной конструкции;

- условное обозначение испытанной конструкции, место и год изготовления подвергнутого испытаниям образца (образцов);

- перечень предоставленной к испытаниям документации;

- программу испытаний;

- поэтапные результаты испытаний;

- примененные критерии для оценки результатов испытаний;

- выводы по результатам испытаний;

- перечень примененных при испытаниях стандартных и нестандартных приспособлений, инструментов, аппаратуры, а также сведения об их метрологическом контроле;

- перечень тактико-технических данных (ТТД) примененного испытательного оружия (стандартного и нестандартного), ТТД ВВ;

- результаты анализа представленной нормативной документации и соответствующие выводы;

- расчет необходимых для классификации конструкции количественных показателей;

- заключение о категорировании и классификации конструкции по результатам испытаний в соответствии с настоящим стандартом;

- иллюстративные материалы.

Отчет составляют в 3 экземплярах. 2 экземпляра предоставляют заказчику с соблюдением условий конфиденциальности, один остается у организации-испытателя на тех же условиях.

Протокол оформляют на бланке по установленной форме в 3 экземплярах и 2 экземпляра передают заказчику.

7.4 Правила комплектования групп испытателей и наблюдателей, примеры классификации устойчивости различных конструкций по результатам испытаний, а также справочные данные приведены в приложениях Г - Л.

ПРИЛОЖЕНИЕ А

(справочное)

Примеры маркировки конструкций при сертификации

А. 1 Пример содержания маркировки обычной защитной решетчатой двери 2-го класса устойчивости, изготовленной ... предприятием в 199__г., приведен в таблице А.1. Категория и класс устойчивости к разрушающим воздействиям подтверждены сертификатом соответствия, выданным органом по сертификации ..., имеющим аттестат аккредитации РОСС RU ....

Таблица А.1

Товарный знак изготовителя

Предприятие ..., г. Энск

Модель двери: Дв...

№...

199 __ г.

Категория, класс устойчивости к взлому, знак соответствия

О-II

Знак соответствия

Орган по сертификации

РОСС RU….

А.2 Пример содержания маркировки усиленных защитных офисных оконных ставней 3-го класса устойчивости, изготовленных ... предприятием в 199__г., приведен в таблице А.2.

Категория и класс устойчивости подтверждены аналогично предыдущему примеру.

Таблица А.2

Товарный знак изготовителя

Предприятие ..., г. Энск

Модель ставней: Ст...

№...

199 __ г.

Категория, класс устойчивости к взлому, знак соответствия

У-III

Знак соответствия

Орган по сертификации

РОСС RU….

А.3 Пример содержания маркировки специальных защитных витринных жалюзи 2-го класса устойчивости, изготовленных ... предприятием в 199__г., приведен в таблице А.3. Устойчивость жалюзи к воздействию метательного и огнестрельного оружия проверялась с применением: метательного оружия по методике [5]; гладкоствольного огнестрельного оружия - ружье «ИЖ-27» - по методике [4]; револьвера «Наган» по ГОСТ Р 51112, пистолета ТТ (как более мощного) по ГОСТ Р 51072. Действие других видов огнестрельного оружия на жалюзи не проверялось.

Таблица А.3

Товарный знак изготовителя

Предприятие ..., г. Энск

Модель жалюзи: Жл...

№...

199 __ г.

Категория, класс устойчивости, знак соответствия

С-II-П2

Знак соответствия

Орган по сертификации

РОСС RU….

Взрывостойкость жалюзи не проверялась.

Категория и класс устойчивости подтверждены аналогично предыдущим примерам.

А.4 Пример содержания маркировки специальных защитных складских ворот 4-го класса устойчивости, изготовленных ... предприятием в 199__г., приведен в таблице А.4. Устойчивость ворот к разрушающим воздействиям (инструмента, оружия, ВВ) проверялась только по настоящему стандарту. Категория и класс устойчивости подтверждены аналогично предыдущим примерам.

Таблица А.4

Товарный знак изготовителя

Предприятие ..., г. Энск

Модель ворот: Вр...

№...

199 __ г.

Категория, класс устойчивости, знак соответствия

C-IV-П-В

Знак соответствия

Орган по сертификации

РОСС RU….

ПРИЛОЖЕНИЕ Б

(обязательное)

Перечень нормативных документов, необходимых для проведения испытаний

Б.1 Нормативная документация, необходимая для проведения испытаний конструкции, должна включать:

- комплект конструкторской документации (сборочные чертежи с указанием габаритных и установочных размеров конструкции в целом и ее составных частей, в т.ч. приводов, замков и запирающих устройств, а также предусмотренных средств защиты от деформирующих и взламывающих воздействий и прострела; деталировки наиболее уязвимых узлов);

- электрические схемы (если таковые предусмотрены конструкцией);

- спецификации комплектующих и покупных изделий;

- паспортные данные о криптостойкости и устойчивости к взлому штатных замков и запирающих устройств конструкции;

-описание рекомендуемых штатных методов установки конструкции;

- инструкцию по эксплуатации (включая регламентные работы).

Б.2 Программа испытаний готовится в соответствии с разделами 5 и 6 настоящего стандарта с учетом ГОСТ Р 51072.

ПРИЛОЖЕНИЕ В

(рекомендуемое)

Рекомендуемые схемы испытательных стендов для испытаний конструкций на ударные нагрузки

1 - устройство подвески тяжелого предмета (ударника) с регулированием направления действия, точки приложения и силы удара; 2 - тяжелый предмет (ударник); 3 - испытываемая конструкция

Рисунок В.1 - Схема стенда для испытаний конструкций на устойчивость к удару тяжелым предметом (ударником)

1 - испытываемая конструкция; 2 - рама с фиксирующим испытываемую конструкцию устройством; 3 - исполнительный рычаг; 4 - пробойник, имитирующий колюще-рубящий инструмент, холодное оружие или заостренный предмет (головка топора, наконечник строительно-монтажного лома типа «ЛМ», «ЛО», металлического прута); 5 - натяжная пружина, регулирующая силу (скорость и энергию) колюще-рубящего удара; 6 - отклоняющее исполнительный рычаг устройство; 7 - устройство натяжения исполнительного рычага

Рисунок В.2 - Схема стенда для испытаний конструкций на устойчивость к колюще-рубящему удару

Рисунок В.3 - Форма заточки и габаритные размеры наконечника типа «топор»

Рисунок В.4 - Форма заточки и габаритные размеры наконечника типа «строительно-монтажный лом»

ПРИЛОЖЕНИЕ Г

(рекомендуемое)

Испытатели и наблюдатели

Г.1 Группа испытателей

В группу по проведению испытаний конструкций на устойчивость к разрушающим воздействиям должны входить:

- руководитель группы, в обязанности которого входит осуществление руководства и контроль процесса испытаний образцов, а также составление отчета о результатах испытаний;

- специалисты, протоколирующие ход испытаний, включая проводящих хронометрирование хода событий и/или фото-, кино-, видеосъемку;

- испытатели по проведению конкретных видов испытаний в соответствии с программой.

В любое время руководитель группы может принять участие в проведении конкретного вида испытания, назначив вместо себя одного из членов группы.

Г.2 Организация-испытатель по согласованию с заказчиком может пригласить для участия в испытаниях независимых экспертов с совещательным правом.

Г.3 Группа наблюдателей

В группу наблюдателей могут входить:

- представители организации-заказчика;

- представители организации-испытателя;

- представители органа по сертификации (например инспекторы);

- независимые эксперты.

Г.4 Организация-испытатель по согласованию с заказчиком может ограничить число наблюдателей от каждой участвующей в испытаниях организации в зависимости от вида испытаний и требований конфиденциальности их результатов.

ПРИЛОЖЕНИЕ Д

(справочное)

Общие вопросы по организации испытаний конструкции на устойчивость к разрушающим воздействиям

Д.1 Настоящий стандарт является основой для разработки методик испытаний для конкретных видов и типов конструкций с учетом специфики их применения в различных условиях (склады, офисы, жилища, финансовые учреждения или торговые объекты, помещения СИЗО и т.п.).

Д.2 Объектом испытаний являются прочностные и ресурсные свойства конструкций, препятствующие возможным материальным фиксированным изменениям, нарушающим функцию назначения, которые происходят или могут произойти при приложении деформирующих или взламывающих конструкции нагрузок, а также при выстрелах в них из метательного, пневматического и/или огнестрельного оружия. Испытания носят диагностический характер и регламентируются программой испытаний.

Д.3 Учитывая функциональную многопрофильность конструкций, их конструктивное многообразие, специфику применения, нередко высокую стоимость образцов, а также принимая во внимание габариты конструкций и возможные технологические сложности при их установке, ключевым моментом при разработке программ испытаний является применение метода экспертных оценок, критерии которого оговариваются в программе испытаний.

Д.4 При испытаниях допускается:

- применять в качестве испытываемых образцов фрагменты защитных конструкций (полотен, приводов, подвижных элементов);

- проводить испытания непосредственно на месте установки защитной конструкции;

- определять категорию и класс устойчивости конструкций экспертным методом только на основе имеющейся статистики о результатах аналогичных испытаний аналогичных моделей (имитация неразрушающего контроля).

Д.5 Дополнительными решаемыми задачами при проведении испытаний являются:

- проверка качественного и количественного соответствия испытываемых образцов представленной документации;

- определение и совершенствование квалификации испытателя (испытателей);

- апробация испытательного инструментария и регламентация его метрологии;

- формулирование и подготовка начальных условий испытаний, включая использование наличной статистики;

- определение критериев соответствия конструкции предъявляемым требованиям.

Д.6 При подготовке методик испытаний следует оценивать целесообразность частичного или полного изменения начальных условий испытаний из-за их промежуточных результатов.

Д.7 Необходимым условием проведения испытаний является документированная фиксация всех следов и признаков происходящих материальных изменений конструкции в процессе испытательных действий.

Д.8 В случаях получения неоднозначных или противоречивых результатов отдельных этапов испытаний конструкции, а также при выборе коэффициента эффективности испытательного инструмента и приспособлений полезно применять метод экспертных оценок аналогично Д.3.

ПРИЛОЖЕНИЕ Е

(рекомендуемое)

Примеры оценки соответствия конструкций требованиям настоящего стандарта и определения категорий и классов их устойчивости к разрушающим воздействиям

Е.1 Пример 1

Е.1.1 Исходные данные (условные)

Необходимо определить категорию и класс устойчивости защитной деревянной двери, изготовленной из соснового бруса квадратного сечения со стороной 60 мм. Дверь обита листовой оцинкованной сталью (Ст ...) толщиной 0,3 мм. Окантовывающая защитное полотно дверная рама и дверная коробка выполнены из металлического профиля (Ст ...). Брусья защитного полотна соединены друг с другом металлическими шипами (Ст ...), внешние выступающие края которых приварены к раме. Условное обозначение модели согласно ТУ ... Изготовитель модели ... Средства защиты от воздействия термического режущего инструмента, огнестрельного оружия и ВВ конструкцией двери не предусмотрены.

Для запирания двери используется один накладной ключевой механической замок гаражного типа, устанавливаемый с внутренней стороны. Замок имеет три горизонтальных цилиндрических засова из закаленной легированной стали.

Дверь предназначена для наружной установки в хозяйственных помещениях.

Определение категории и класса проводят: визуальным осмотром, изучением сопроводительной текстовой и конструкторской документации (ТУ, паспорт, сборочный чертеж, деталировка), испытаниями.

Е. 1.2 Результаты изучения сопроводительной документации

Представленная документация соответствует требованиям приложения Б настоящего стандарта.

Внешним осмотром конструкции двери в сборе и ее отдельных элементов (защитного полотна, навесных петель, зоны установки замка, средств крепления дверной коробки к строительной конструкции) и анализом сопроводительной документации установлено, что данное изделие относится к категории «усиленное» и в соответствии с таблицей 1 настоящего стандарта способно обеспечить защиту от воздействия:

- ручного и неручного рычажного, раздвигающего и режущего инструмента;

- удара тяжелым предметом;

- колюще-рубящего удара;

- метательного оружия;

- огнестрельного гладкоствольного оружия.

Класс устойчивости по категории определяется испытаниями.

Е.1.3 Испытания на устойчивость к воздействию деформирующей нагрузки

Испытания проводились на стенде по 6.4 настоящего стандарта на одном закрытом образце.

Испытателям было отведено время, достаточное для визуального изучения конструкции, но не более, например, 0,5 ч (условно).

На основе изучения конструкции двери, испытателями методом экспертных оценок было принято решение о приложении статических воздействий:

- «отгиб» - только в зоне свободного угла дверного полотна;

- «раздвигание» - только в замковой зоне.

Испытания показали, что дверь выдерживает следующие нагрузки (условно):

- «отгиб» - не менее 5,0 кН;

- «раздвигание» - не менее 12,0 кН.

Е.1.4 Испытания на устойчивость к воздействию одиночных ударов тяжелым предметом

Испытания проводились на стенде по 6.5 настоящего стандарта и показали, что дверь выдерживает энергию удара не менее 90,0 Дж (условно).

Е.1.5 Испытания на устойчивость к воздействию колюще-рубящего удара

Испытания проводились по 6.6 настоящего стандарта. Согласно экспертной оценке равнопрочности конструкции испытательные удары наносили только лезвием топора и только по центру защитного полотна.

Испытания показали, что без предварительного разрушения и отгиба стального листа режущим инструментом нанесение рубящих ударов неперспективно. Поэтому количество испытательных рубящих ударов не нормировалось.

Е.1.6 Испытания на устойчивость к воздействию режущим инструментом

Ввиду наличия на защитном полотне стального листа испытателями принято решение использовать:

- электромеханическую дрель, соответствующую категории А, группе 6 ГОСТ Р 51072 с насадкой из абразивного диска;

- электромеханическую дисковую пилу (для выпиливания отверстия в брусе).

Испытания проводились по ГОСТ Р 51072 и показали (условно), что дверь имеет коэффициент Ес не менее 50 у. е. (частичный доступ).

Е.1.7 Испытания на устойчивость к воздействию метательным и огнестрельным гладкоствольным оружием

Е.1.7.1 По результатам испытаний по Е.1.5 испытателями принято решение испытания на воздействие метательного оружия не проводить, как бесперспективные.

Е.1.7.2 Испытания на воздействие огнестрельного гладкоствольного оружия проводились по методике [4] с применением охотничьего ружья «ИЖ-27», 12 калибр [3]. Боеприпасы: дробь свинцовая «0000» и пуля свинцовая, круглая «Вятка» [9], дистанция выстрелов - 5 м.

Выстрелы производились по защитному полотну через неповрежденный металлический лист.

После испытательных выстрелов дробью сквозная пробоина отсутствовала.

После испытательных выстрелов пулей имелась сквозная пробоина.

Е.1.8 Заключение

По совокупным результатам испытаний Е.1.3 - Е.1.7 установлено, что испытанная защитная дверь категории «усиленная» имеет класс устойчивости II и может быть маркирована У-II.

Е.2 Пример 2

Е.2.1 Исходные данные (условные)

Необходимо определить категорию и класс устойчивости бесприводной вращающейся двери из двойного листового термоупрочненного стекла толщиной ... мм. Листы стекла усилены защитной полимерной пленкой и вмонтированы в металлическую раму из термоупрочненного дюралюминиевого сплава марки ...

Дверь имеет один внутренний ключевой механический замок класса В по ГОСТ Р 51053 и притвор (стопор), приводящийся в действие вручную (педалью).

Средства защиты от воздействия термического режущего инструмента, огнестрельного оружия и ВВ конструкцией двери не предусмотрены.

Дверь предназначена для установки внутри офисного помещения.

Время задержки при открывании двери в штатном и аварийном режимах не превышает 5 с.

На испытания представлены протоколы испытаний полотен стекла с пленкой, обеспечивающей защиту от пробивания отверстия:

- падающим телом (стальным шаром), класс устойчивости А2 по ГОСТ Р 51136;

- колуном, класс устойчивости Б2 по ГОСТ Р 51136;

- выстрелом из гладкоствольного охотничьего ружья 12-го калибра, зарядом дроби «0000», класс устойчивости Г по [9].

У испытателей имеются статистические данные о результатах ранее проведенных испытаний защитных конструкций в стальных рамах, с металлическим каркасом, что облегчает обоснование выбора видов разрушающих воздействий, учитывая данные приложения Ж настоящего стандарта.

Определение категории и класса устойчивости двери аналогичны Е.1.

Е.2.2 Испытания на аварийное открывание

Испытания двери на соответствие требованиям 5.1.9 показали, что дверь обеспечивает время задержки при открывании не более 15 с (Z.2) (условно).

Е.2.3 Результаты изучения сопроводительной документации

Оценка качества сопроводительной документации проводится аналогично Е.1.

Установлено, что данное изделие относится к категории «специальное» и в соответствии с таблицей 1 настоящего стандарта способно обеспечить защиту от воздействия:

- удара тяжелым предметом;

- колюще-рубящего удара;

- метательного оружия;

- ручного и неручного режущего инструмента;

- огнестрельного гладкоствольного оружия.

Е.2.4 Испытания на устойчивость к воздействию удара тяжелым предметом, колюще-рубящего удара, пробиванию метательным оружием типа «арбалет», и к воздействию режущим электромеханическим абразивным инструментом

Испытания проводились аналогично Е.1, на стендах, последовательно на трех идентичных образцах изделия.

Принято решение испытания на воздействие огнестрельным гладкоствольным и нарезным оружием не проводить.

Е.2.5 Заключение

По совокупным (в данном случае условным) результатам испытаний установлено, что испытанная защитная дверь по категории «специальная» имеет класс устойчивости I и может быть маркирована С-I-Г.

Примечание - В примерах Е.2 - Е.6 подробно рассмотрены этапы испытаний, отличающиеся от изложенных в Е.1. Подразумевается, что подход к оценке других конструкций на сходных этапах со сходными целями аналогичен.

Е.3 Пример 3

Е.3.1 Исходные данные (условные)

Необходимо определить категорию и класс подъемных рулонных металлических оконных жалюзи с электромеханическим приводом.

Защитное полотно жалюзи размером 3000 ´ 3000 мм выполнено из горизонтальных взаимно сцепленных неплоских (с наружными рикошетирующими уклонами типа «пирамида») титановых пластин толщиной 1,5 мм с приклепанными к ним фигурными стальными наконечниками (Ст ...), перемещающимися в 2 вертикальных стальных (Ст ...) направляющих. Полотно оканчивается нижней рейкой, выполненной из стального (Ст ...) профиля.

Направляющие устанавливаются по одной на каждую сторону защищаемого проема и имеют стальные (Ст ...) крепежные приспособления, с помощью которых жалюзи крепятся к строительной конструкции.

Защитное полотно в сложенном состоянии наматывают на стальной (Ст ...) горизонтальный барабан, монтируемый над защищаемым проемом.

Стальная горизонтальная ось барабана вращается с помощью шарикоподшипников и приводится в действие через редуктор электродвигателем мощностью ..., с сетевым электропитанием 220 В.

Условия категорирования и классификации жалюзи аналогичны Е.1.

Е.3.2 Испытания на аварийное открывание

Испытания на аварийное открывание по 5.1.9 показали, что жалюзи обеспечивают время задержки при открывании электромеханическим приводом не более 5 с (Z.1) (условно).

Е.3.3 Результаты изучения сопроводительной документации

Оценка качества сопроводительной документации аналогична Е.1.

Произведена оценка конструкции жалюзи в целом и ее элементов, привода, средств крепления. Установлено, что данное изделие относится к категории «специальное» и в соответствии с таблицей 1 настоящего стандарта способно обеспечить защиту от воздействия:

- ручного и неручного рычажного инструмента, ручного раздвигающего инструмента;

- удара тяжелым предметом;

- колюще-рубящего удара;

- режущего и термического инструмента;

- метательного и некоторых видов огнестрельного оружия.

Кроме того, наличие электропривода обязывает испытать изделие на соответствие требованиям электробезопасности и электромагнитной совместимости.

Е.3.4 Испытания на устойчивость к воздействию деформирующей нагрузки, удара тяжелым предметом и колюще-рубящего удара

Данные испытания (см. Е.1) проводились последовательно на трех идентичных образцах жалюзи в сборе, в закрытом (опущенном) состоянии.

Результаты испытаний показали, что по устойчивости к данным видам разрушающих воздействий жалюзи могут быть отнесены ко II классу устойчивости.

Примечание - Испытание на устойчивость к воздействию колюще-рубящего удара проводилось с целью проверки прочности сцепления пластин защитного полотна между собой и прочности крепления наконечников в направляющих.

Е.3.5 Испытания на устойчивость к воздействию режущим инструментом

Испытания проводились по ГОСТ Р 51072.

С учетом того, что данное испытуемое изделие имеет, согласно приложению Ж настоящего стандарта, повышенные прочностные характеристики, испытателями было принято решение использовать для попытки взлома следующий инструмент:

- электрический режущий группы 10, категории С, Ес = 25;

- термический режущий группы 11, категории В, Ес = 14.

В результате испытаний установлено, что жалюзи имеют коэффициент Ес не менее 80 у. е. (частичный доступ).

Е.3.6 Испытания на устойчивость к пробиванию метательным снарядом или пулей

Испытания проводились по методикам [4], [5] и ГОСТ Р 51112, последовательно воздействуя:

- метательным оружием по методике [5] - сквозная пробоина отсутствовала;

- огнестрельным гладкоствольным оружием по методике [4] - сквозная пробоина отсутствовала;

- автоматом Калашникова АКСУ-74 по ГОСТ Р 51112 (обстрел пулями калибром 5,45 мм со штатной скоростью, с дистанции 5 м, с измерением скорости после каждого выстрела. Оболочечная пуля со стальным нетермоупрочненным сердечником) - сквозная пробоина отсутствовала;

- огнестрельным нарезным охотничьим оружием (карабин «Сайга», патрон охотничий, калибр 7,62 мм, дистанция выстрела - 5 м) - сквозная пробоина отсутствовала;

- автоматом Калашникова АКМ по ГОСТ Р 51112 (обстрел оболочечными пулями калибром 7,62 мм с термоупрочненным сердечником при аналогичных условиях) - имелась сквозная пробоина.

Примечание - Все вышеперечисленные результаты испытаний на пулестойкостъ являются условными.

Согласно таблице 1 настоящего стандарта по результатам данных испытаний жалюзи могут быть маркированы индексом «П»

Е.3.7 Испытания на электромагнитную совместимость и электробезопасность

Испытания показали, что электромеханический привод жалюзи соответствует требованиям 5.2 и 5.6.2 настоящего стандарта.

Е.3.8 Заключение

По совокупным результатам испытаний Е.3.1 - Е.3.6 установлено, что испытанные жалюзи удовлетворяют требованиям настоящего стандарта по категории «специальные», имеют класс устойчивости II и могут быть маркированы С-II-П.

Е.4 Пример 4

Е.4.1 Исходные данные (условные)

Необходимо определить категорию и класс устойчивости наружных распашных ставен из профилированной листовой стали (Ст ...) на каркасе из стального 10 мм профиля (Ст …). Толщина стального листа - 1 мм. Средства защиты от воздействия термического режущего инструмента, огнестрельного оружия и ВВ конструкцией ставен не предусмотрены.

Ставни предназначены для защиты стекол торговых павильонов и имеют внутренние петли для навеса на защищаемый проем и внутренний накладной ключевой механический замок.

Определение категории и класса устойчивости ставен аналогично Е.1.

Е.4.2 Результаты внешнего осмотра и изучения сопроводительной документации ставен дают основание отнести данное изделие к категории защитное «обычное», обеспечивающее защиту от:

- удара тяжелым предметом;

- колюще-рубящего удара;

- воздействия ручным рычажным инструментом.

Е.4.3 Результаты испытаний ставен, проведенных аналогично примерам 1 - 3, позволяют присвоить ставням II класс устойчивости. Маркировка изделия: О-II.

Е.5 Пример 5

Е.5.1 Исходные данные (условные)

Необходимо определить категорию и класс устойчивости защитной двери, изготовляемой в следующих вариантах:

1 - дверь решетчатая, выполненная из закаленного арматурного прута (Ст ...), закрепленного на прямоугольной раме из стальной профильной электросварной трубы с толщиной стенки 1,0 мм. Рама имеет наружные петли для навеса на дверную коробку. Дверная коробка выполнена из стального (Ст ...) профиля, закрепляемого на строительной конструкции стальными (Ст …) штырями.

Дверь имеет внутренний механический ключевой замок и предназначена для установки во внутренних переходах служебных помещений или в качестве второй (внутренней) двери в дверном тамбуре.

2 - дверь выполнена из двойного стального листа (Ст ...) толщиной 2,0 мм с зазором 10,0 мм. В зазоре между листами имеется крепежный стальной каркас (Ст ...) и звукопоглощающий слой из наполнителя. Дверная коробка и средства крепления аналогичны варианту 1.

Дверь имеет одно механическое запирающее устройство с одним горизонтальным и двумя вертикальными засовами, выполненными в виде стальных закаленных цилиндров. Ключевой кодовый механизм устройства размещен на дверном полотне в специальном кармане.

Дверь предназначена для наружной и внутренней установки в помещениях различного функционального назначения (офисных, жилых, производственных и т.п.).

На испытания двери варианта 2 представлен протокол ранее проведенных испытаний на пулестойкость по ГОСТ Р 51072. Класс пулестойкости - П2.

Е.5.2 Испытания на устойчивость к разрушающим воздействиям

Оценка защитных дверей в данном случае проводится аналогично Е.1 и Е.3.

Экспертно определено, что испытуемые двери способны обеспечить защиту от:

вариант 1:

удара тяжелым предметом;

воздействия рычажным инструментом;

колюще-рубящего удара;

воздействия режущим и газорежущим инструментом.

вариант 2 (дополнительно к 1-му варианту):

воздействия метательным и огнестрельным оружием некоторых видов.

Е.5.3 Оценка результатов испытаний на устойчивость к разрушающим воздействиям

Результаты проведенных аналогично Е.1 совокупных оценок конструкций дверей, сопроводительной документации к ним и испытаний позволили присвоить дверям следующие категории и классы устойчивости:

вариант 1 - «усиленная», III класса. Маркировка У-III;

вариант 2 - «специальная», I класса, пулестойкая. Маркировка: С-1-П2.

Примечание - При оценке и испытаниях двери варианта 2 испытателями был отмечен недостаток конструкции: массивные, но наружные петли для навеса дверного полотна на дверную коробку. Это обстоятельство значительно снизило устойчивость двери к воздействию режущего инструмента. В результате - только 1 класс устойчивости при обеспечении пулестойкости.

Е.5.4 Испытания на аварийное открывание

Испытания на аварийное открывание по 5.1.9 показали, что двери обоих вариантов исполнения обеспечивают время задержки при открывании не более 15 с (Z.2) (условно).

Е.6 Пример 6

Е.6.1 Исходные данные (условные)

Необходимо определить категорию и класс устойчивости раздвижных одностворчатых механизированных металлических ворот (Ст ...) складского помещения ангарного типа. Габаритные размеры ворот ... Масса ворот ... Толщина стального листа створки ворот - 5 мм. Каркас створки и рама ворот - металлический профиль (Ст ...).

Ворота приводятся в действие основным электромеханическим приводом с редуктором и тельферами или дублирующим - ручным. Ворота имеют кодовое электромеханическое запирающее устройство с одним горизонтальным и двумя вертикальными засовами, выполненными в виде стальных закаленных цилиндров. Класс устойчивости запирающего устройства к криминальному открыванию и взлому не известен.

Специальные средства защиты от воздействия режущего инструмента, огнестрельного оружия и ВВ конструкцией ворот не предусмотрены.

Определение категории и класса устойчивости ворот к разрушающим воздействиям проводятся аналогично Е.1.

Е.6.2 Предварительная оценка испытуемого изделия и условий для проведения испытаний

По результатам анализа сопроводительной документации экспертами-испытателями определено, что испытания следует проводить по месту установки ворот на их реально действующей конструкции.

Осмотр и анализ конструкции ворот в сборе и их составных частей, приводного и запирающего механизмов по 5.1 настоящего стандарта показали, что ворота в полной мере могут быть классифицированы как защитные и отнесены (после необходимых испытаний) к категории «усиленные» либо «специальные».

В соответствии с таблицей 1 настоящего стандарта ворота потенциально способны обеспечить защиту от всех предусмотренных стандартом разрушающих воздействий, однако с учетом реальных физических свойств основного конструкционного материала и всей конструкции в сборе целесообразно проводить только следующие натурные испытания на устойчивость к разрушающему воздействию:

- термического режущего инструмента группы 11 категории В по ГОСТ Р 51072;

- некоторых видов огнестрельного оружия по настоящему стандарту, а также по ГОСТ Р 51072 и ГОСТ Р 51112;

- ограниченного заряда ВВ по ГОСТ Р 51072.

Кроме того, наличие основного электрического и резервного ручного приводов обязывает провести испытания ворот на соответствие требованиям 5.1.9 (аварийное открывание), 5.2 (электромагнитная совместимость) и 5.6.2 (электробезопасность).

В силу специфики условий применения данного изделия испытания на разрушающие воздействия целесообразно проводить только на фрагментах полотна створки и средств защиты запирающего механизма и движущихся элементов привода.

Е.6.3 Испытания на аварийное открывание

Испытания на аварийное открывание дали следующие результаты:

- время задержки открывания ворот при работе электропривода не превышает 60 с (Z.3);

- время задержки открывания ворот при работе ручного привода, приводящегося в действие человеком с физическими данными по 6.3.3, не превышает 90 с (Z.4).

По совокупности результатов испытаний для данной защитной конструкции устанавливают степень быстродействия Z.4.

Е.6.4 Испытания на устойчивость к воздействию режущим инструментом

Испытания фрагмента створки ворот, проведенные по ГОСТ Р 51072, и запирающего устройства, проведенные по ГОСТ Р 51053, показали, что данное изделие имеет запирающее устройство класса В, а по устойчивости к воздействию режущего инструмента может быть отнесено к категории «специальное», класс устойчивости III.

Е.6.5 Испытания на устойчивость к воздействию огнестрельным оружием

Испытания проводились поэтапно (от менее мощного оружия к более мощному), по ГОСТ Р 51072, ГОСТ Р 51112 и методике [4].

Последовательно были применены:

- гладкоствольное охотничье ружье ТОЗ 106 с укороченным стволом, 12-й калибр. Боеприпас: пуля свинцовая круглая «Вятка»;

- помповое ружье «ИЖ-81», 12-й калибр. Боеприпасы: патрон с картечью, а затем - патрон с пулями свинцовыми круглыми;

- карабин охотничий «Сайга», калибр 7,62 мм, боеприпас охотничий. Пуля оболочечная со стальным сердечником;

- пистолет ТТ, калибр 7,62 мм. Пуля оболочечная со стальным сердечником;

- автомат Калашникова АКСУ-74, калибр 5,45 мм. Пуля оболочечная со стальным термоупрочненным сердечником;

- автомат Калашникова АКМ, калибр 7,62 мм. Пуля оболочечная со стальным термоупрочненным сердечником;

- снайперская винтовка СВД, калибр 7,62 мм. Пуля оболочечная со стальным термоупрочненным сердечником.

Условия проведения выстрелов аналогичны Е.3.

Испытания фрагментов изделия показали, что сквозные пробоины имели место только при применении автомата АКМ и винтовки СВД, т.е. классификация и маркировка пулестойкости изделия должны проводиться по ГОСТ Р 51072, ГОСТ Р 51112.

Е.6.6 Испытания на взрывостойкость

Испытания фрагмента створки ворот, проведенные по ГОСТ Р 51072, показали, что данное изделие не соответствует требованию 5.5 настоящего стандарта.

Е.6.7 Испытания на электромагнитную совместимость и электробезопасность

Испытания показали, что электромеханическое запирающее устройство ворот и их электромеханический привод удовлетворяют требованиям 5.2 и 5.6.2 настоящего стандарта.

Е.6.8 Заключение

По совокупным результатам испытаний Е.6.1 - Е.6.6 установлено, что испытанные ворота соответствуют требованиям настоящего стандарта по категории «специальные», имеют класс устойчивости III и могут быть маркированы С-III-П3.

ПРИЛОЖЕНИЕ Ж

(справочное)

Прочностные характеристики типовых материалов, применяемых в конструкциях

Ж.1 Прочностные характеристики типовых материалов, применяемых в конструкциях, приведены в таблицах Ж.1 - Ж.3. В качестве справочных использованы данные ГОСТ 1050, ГОСТ 5582, ГОСТ 5632, ГОСТ 5727, ГОСТ 9438, ГОСТ 16523, ГОСТ 21631, ГОСТ 22178, ГОСТ 23755, ГОСТ Р 51136. Соотношение внесистемных единиц измерения давления с единицами СИ следует проводить по ГОСТ 8.417 (приложение 2).

Таблица Ж1 - Прочностные характеристики металлов, сплавов, древесины

Наименование материала, изделий из материала

Прочностные характеристики

Временное сопротивление разрыву sВ, кгс/мм

Предел текучести, sТ, кгс/мм

Относительное удлинение, %

1 Стали конструкционные, углеродистые. Прокат, лист

26 - 60

-

14 - 25

2 Стали легированные и высоколегированные коррозионно-стойкие (с добавками никеля, молибдена, ванадия, кобальта). Прокат, лист

50 - 120

22 - 60

1 - 2

3 Алюминий, сплав дюралюминиевый термоупрочненный. Прокат, плита

15 - 40

10 - 20

10 - 15

4 Древесина хвойная. Доска, брус

0,4 - 1,0

-

-

Таблица Ж.2 - Прочностные характеристики титана и титановых сплавов

Наименование материала, изделий из материала

Прочностные характеристики

Временное сопротивление разрыву sВ, кгс/мм

Ударная вязкость, МДж/м

Относительное удлинение, %

Титан, сплавы титановые. Прокат, лист, плита

30 - 100

0,30 - 0,45

5 - 15

Таблица Ж.3 - Прочностные характеристики защитных стекол

Наименование материала, изделий из материала

Прочностные характеристики

Обеспечиваемый класс защиты

Воздействующий (разрушающий ударом) предмет, инструмент, оружие

Энергия выдерживаемого без разрушения удара, Дж, не менее

Встречная скорость выдерживаемого без разрушения удара, м/с, не менее

Количество выдерживаемых без разрушения ударов, ед., не менее

Стекло одно-, многослойное, упрочненное. Лист, профилит, композиция (с применением упрочняющих добавок и полимерных или иных склеивающих материалов)

А1

Тяжелые (не менее 2 кг) камень, металлический прут или деталь и т.п.

141

-

-

А2

262

-

-

A3

380

-

-

Б1

Колюще-рубящий заостренный или заточенный предмет (металлический прут или деталь), инструмент (строительно-монтажный лом, топор), клинок холодного оружия

300 - 350

11,0 - 12,5

30 - 50

Б2

300 - 350

11,0 - 12,5

50 - 70

Б3

300 - 350

11,0 - 12,5

Более 70

ПРИЛОЖЕНИЕ И

(справочное)

Справочные данные об энергетических характеристиках огнестрельного оружия при использовании стандартного патрона

И.1 В качестве справочных использованы данные ГОСТ Р 50963, ГОСТ Р 51072, ГОСТ Р 51112, [3], [9], [10].

И.1.1 Дульная энергия нарезного оружия, сердечник пули стальной, нетермоупрочненный, Дж:

Винтовка Мосина («трехлинейная»), калибр 7,62                                                                                        - 3591

Винтовка G3, калибр 7,62                                                                                        - 3351

Винтовка СВД, калибр 7,62                                                                                    - 3306

Карабин СКС-45, калибр 7,62                                                                                 - 2133

Карабин «Сайга», калибр 7,62                                                                                - 2048

Автомат АКМ, калибр 7,62                                                                                     - 2019

Автомат АК-47, калибр 7,62                                                                                   - 1950

Винтовка М16А2, калибр 5,56, патрон M193                                                        - 1680

Автомат АК-74, калибр 5,45                                                                                   - 1346

Автомат АКСУ-74, калибр 5,45                                                                              - 1316

Пистолет-пулемет «УЗИ», калибр 9,0, патрон «Люгер»                                     - 640

Пистолет-пулемет «Кедр», калибр 9,0:

- со стандартным патроном,                                                                                                      - 288

- с высокоимпульсным патроном                                                                           - 505

Пистолет-пулемет «Кедр-Б», калибр 9,0, с высокоимпульсным патроном                                                                                - 270

Пистолет-пулемет «Клин», калибр 9,0, с высокоимпульсным патроном                                                                                - 510

Пистолет «Маузер», калибр 7,63                                                                            - 508

Пистолет «ТТ», калибр 7,62                                                                                    - 502

Пистолет «Браунинг», калибр 9,0                                                                           - 490

Пистолет «Кольт», калибр 7,62                                                                              - 474

Пистолет «Вальтер», калибр 9,0                                                                             - 430

Пистолет «Парабеллум», калибр 7,65                                                                    - 430

Автоматический пистолет Стечкина, калибр 9,0                                                 - 355

Пистолет «ПМ», калибр 9.0                                                                                    - 305

Револьвер «Наган», калибр 7,62                                                                             - 270

Пистолет специальный малокалиберный ПСМ                                                    - 132

И.1.2 Дульная энергия гладкоствольного оружия, пуля свинцовая, Дж:

Ружье охотничье «ИЖ-27», калибр 12,0:

- пуля круглая «Вятка»                                                                                             - 3703

- пуля Майера                                                                                                            - 3341

- пуля Бреннеке                                                                                                         - 3138

ПРИЛОЖЕНИЕ К

(справочное)

Нестандартизованные термины и понятия, применяемые в настоящем стандарте

Дверь - устройство, состоящее из дверной коробки с подвижно закрепленным дверным полотном или полотнами, которое в закрытом положении фиксируется в дверной коробке замком, запирающим устройством или засовом, предназначенное для открывания и закрывания проема или прохода

Дверь-глаз - дверь, имеющая габариты, меньшие, чем в общепринятых нормированных дверях

Ворота - дверь, габариты которой позволяют обеспечить пропуск автотранспорта, предназначенная для открывания и закрывания проезда

Жалюзи - устройство в виде подвижного гибкого полотна заданной формы, состоящего из параллельных взаимно неподвижных или подвижных (поворачивающихся) пластин

Жалюзи подъемные механические и электромеханические (руллада) содержат:

- металлический профиль жалюзи (с заполнением теплоизоляторами, звукоизоляторами);

- соединительный профиль;

- консоли;

- трубы для намотки;

- привод (ручной): лента, рычаг, коленчатый вал;

- привод (электрический, комбинированный) для аварийного управления;

- релейный прерыватель тока, часовой механизм или другое устройство автоматического управления;

- устройство автоматического запирания в опущенном положении.

Электрический привод жалюзи содержит:

- асинхронный электродвигатель;

- тормоз;

- регулятор для установки предельного положения;

- коробку передач;

- конденсатор;

- предохранительный выключатель, реверсивный переключатель, часовой механизм с регулятором

Люк - дверь, отличающаяся от обычной двери конфигурацией, местом расположения, пространственной ориентацией и габаритами

Решетка - плоская конструкция произвольной формы и габаритов, состоящая из взаимно переплетенных и скрепленных между собой прутьев, полос или профилей

Решетки подъемные механические и электромеханические содержат:

- полотно решетки (без заполнения, с заполнением оргстеклом, теплоизоляторами, звукоизоляторами);

- направляющие (со скользящими рейками);

- консоли (монтажные крепления);

- намоточную трубу;

- защитный короб;

- привод (двигатель, мотор);

- релейный прерыватель тока, часовой механизм или другое устройство автоматики;

- коробку передач, редуктор, переключатель для управления мотором с ключом для ручного управления или устройство аварийного управления;

- устройство для аварийной остановки с автоматическим управлением;

- предохранитель от раскручивания;

- замок для запирания решетки (автоматически);

- нижний профиль.

ПРИЛОЖЕНИЕ Л

(информационное)

Библиография

[1] СНиП 1-2 Строительные нормы и правила. Строительная терминология

[2] Федеральный закон «Об оружии» от 20.05.93 № 4992-1

[3] Охотничье огнестрельное оружие отечественного производства. М.: 1969. - 224 с.

[4] Методика испытаний служебного и гражданского оружия, патронов к нему на соответствие криминалистическим требованиям МВД Российской Федерации по ограничениям, устанавливаемым на оборот оружия. М.: ЭКЦ МВД России, 1997 г. - 11 с.

[5] Методика испытаний гражданского холодного метательного оружия и изделий, конструктивно сходных с таким оружием, на соответствие криминалистическим требованиям. М.: ЭКЦ МВД России, 1997 г. - 46 с.

[6] Правила устройства электроустановок (ПУЭ)

[7] Правила технической эксплуатации электроустановок потребителей и правила техники безопасности при эксплуатации электроустановок потребителей (ПТЭ и ПТБ)

[8] ОСТ 25 1099-83 Средства охранной, пожарной и охранно-пожарной сигнализации. Общие технические требования и методы испытаний

[9] РД 78.148-94 МВД России. Руководящий документ. Защитное остекление. Классификация, методы испытаний, применение

[10] Ярочкин В. И. Оружие. Гражданское, служебное, боевое. - М.: «Ось-89», 1996. - 208 с.

Ключевые слова: конструкция, защита, вид, тип, функция, разрушение, воздействие, прочность, взломостойкость, пулестойкость, взрывостойкость, категория, класс, устойчивость, требование, метод, испытание, инструмент, экспертиза, конфиденциальность, авария, быстродействие, сертификация

2008-2013. ГОСТы, СНиПы, СанПиНы - Нормативные документы - стандарты.