
ГОСУДАРСТВЕННЫЙ СТАНДАРТ СОЮЗА ССР
ИЗДЕЛИЯ
ЭЛЕКТРОТЕХНИЧЕСКИЕ
МЕТОДЫ КОНТРОЛЯ СТОЙКОСТИ К ВОЗДЕЙСТВИЮ
СПЕЦИАЛЬНЫХ СРЕД
ГОСТ 24683-81
ГОСУДАРСТВЕННЫЙ КОМИТЕТ СССР ПО СТАНДАРТАМ
Москва
Содержание
ГОСУДАРСТВЕННЫЙ СТАНДАРТ СОЮЗА ССР
|
ИЗДЕЛИЯ ЭЛЕКТРОТЕХНИЧЕСКИЕ |
ГОСТ 24683-81 |
|
Методы контроля стойкости к воздействию |
|
|
специальных сред |
|
|
Electrotechnical products. Methods of controlling |
|
|
resistance to attack by special media |
Постановлением Государственного комитета СССР по стандартам от 9 апреля 1981 г. № 1914 срок действия установлен
с 01.01 1983 r.
до 01.01 1988 г.
Стандарт распространяется на электротехнические изделия (далее - изделия) по ГОСТ 24682-81 и устанавливает методы испытаний изделий на стойкость к воздействию специальных сред и коррозионно-активных агентов атмосферы.
Пояснения к терминам, применяемым в стандарте, приведены в справочном приложении 1.
1.1. Общие положения проведения испытаний - в соответствии с ГОСТ 16962-71, разд. 2 в части климатических испытаний и требованиями настоящего стандарта.
Измененная редакция (Изм. № 1).
1.2. Испытания изделий на стойкость к воздействию специальных сред проводят (если иное не оговорено в настоящем стандарте) при предварительных или приемочных испытаниях.
Типовые испытания проводят при изменении конструкции или технологического процесса, а также марки или свойств основных материалов, которые могут повлиять на стойкость изделий к воздействию специальных сред. В последнем случае необходимость проведения испытания в зависимости от возможного влияния вносимых изменений на качество изделия согласовывают с представителем заказчика на данном предприятии и организацией-держателем подлинника конструкторской документации.
Изделия, предназначенные для применения в качестве встроенных элементов, допускается подвергать испытаниям на воздействие специальных сред один раз: в составе комплектного изделия, в которое они встроены или отдельно от него.
1.3. Испытания изделий, к которым предъявляются требования по стойкости к воздействию газо- и парообразных агрессивных сред (группа 5)*, проводят в ускоренном режиме, испытания изделий на стойкость к воздействию специальных сред группы 6 проводят в нормальном режиме.
_________________
* Группы специальных сред - по ГОСТ 24682-81.
Испытания изделий на стойкость к воздействию газо- и парообразных сред групп 1-3, 4а не а также неармированных электрокерамических изделий, предназначенных для условий эксплуатации, соответствующих химостойким исполнениям X1, Х2, Х3, не проводят.
Испытания изделий на стойкость к воздействию жидких специальных сред групп 1-3, 5, а также специальных сред групп 4б и 7 проводят в соответствии с требованиями ГОСТ 21126-75. Допускается не проводить испытания изделий в этих средах (за исключением группы 5), а также в газо- и парообразных средах группы 5 при эффективных значениях их концентрации менее 0,4 ПДК р. з, (а для SO2, H2SO4, СО2 - менее 0,8 ПДК р. з) и в коррозионно-активных агентах атмосферы, если стойкость изделий может быть гарантирована применением стойких материалов и покрытий (например, маслонаполненные трансформаторы, химические источники тока и т.п.).
Измененная редакция (Изм. № 1).
1.4. В случае технической необходимости допускаются перерывы в испытаниях не более 24 ч при продолжительности испытаний не менее 10 сут. Изделия должны находиться в закрытой камере, камера должна быть освобождена от испытательной среды, чтобы исключить попадание конденсата, насыщенного агрессивным агентом, на испытуемые изделия. Время перерывов не включают в продолжительность испытаний. При продолжительности испытаний менее 10 сут перерывы не допускаются.
1.5. Испытания изделий на стойкость к воздействию агрессивных сред проводят без приложения электрической нагрузки. При этом изделия, у которых при воздействии агрессивных сред под напряжением может проявиться разрушающее действие электролиза или электрохимической коррозии, испытывают с приложением электрического напряжения. Характер, значение и способ приложения напряжения должны устанавливаться в стандартах и программах испытаний (ПИ) и обеспечивать минимальное выделение тепла в изделии. Если это невозможно, то испытания проводят на двух группах изделий:
одну испытывают без подачи напряжения, другую - под напряжением.
Испытания изделий в специальных средах группы 6 проводят в электрически не нагруженном состоянии.
Испытания на воздействие специальных сред рекомендуется проводить на изделиях, которые не подвергались другим видам испытаний на воздействие внешних факторов (ВВФ). Допускается проводить эти испытания на изделиях, прошедших другие виды испытаний на воздействие ВВФ, если это не приводит к недопустимому ужесточению воздействия данного испытания в результате общего воздействия на изделие предшествующих испытаний.
1.6. При испытаниях изделий на стойкость к воздействию специальных сред посадочные места, предназначенные для соединения с технологическими механизмами, должны быть защищены временным покрытием от коррозии.
1.7. Испытания изделий в различных средах проводят на разных образцах, если иное не оговорено в стандартах или технических условиях на изделия конкретных серий и типов.
1.8. При испытании изделий со степенью защиты не ниже IР67 по ГОСТ 14254-80, которые в эксплуатации не подлежат разгерметизации в агрессивных средах, испытывают только наружные детали, включая оболочку, обеспечивающую герметизацию.
2.1. Отбор образцов изделий
2.1.1. Отбор образцов изделий - по разд. 1.
2.2. Испытательное оборудование, материалы, реактивы
2.2.1. Камеры должны быть изготовлены из материалов, стойких к воздействию соответствующих видов агрессивных сред.
2.2.2. Испытательная камера должна оснащаться:
устройством для перемешивания среды со скоростью 1-2 м/с;
устройством для отбора проб среды, нейтрализации и удаления среды по окончании испытаний;
электрическими вводами для проведения измерений и, при необходимости, обеспечения работы изделий;
устройством для установки и крепления изделий.
2.2.3. Испытательная камера для испытаний в газообразных средах должна обеспечивать:
равномерность поступления газа в камеру и не допускать прямого попадания струи газа на изделия;
поддержание температуры в месте расположения образцов с точностью ±2°C; допускаются отдельные кратковременные (не более 15 мин за 6 ч испытаний) отклонения до ±5°С;
поддержание относительной влажности ± 3 %;
поддержание массовой концентрации агрессивной среды ± 25 %.
Измененная редакция (Изм. № 1).
2.2.4. Общий объем, ограниченный оболочками образцов изделий, не должен превышать 40 % объема камеры. Конструкция камеры должна позволять размещать образцы изделий так, чтобы агрессивная среда имела к ним свободный доступ.
Минимальное расстояние от стен камеры должно быть 0,1 м.
Если одновременно испытывают более одного изделия, то минимальное расстояние между ними должно быть не менее 0,1 м.
2.2.5. Для создания специальной среды применяют химические реактивы квалификации ч. или ч. д. а.*, для контроля – х. ч. или ч. д. а.
______________
* Квалификация химических реактивов - по ГОСТ 13867-68.
2.3. Подготовка к испытаниям
2.3.1. Для создания требуемых испытательных режимов производят подготовку устройств и приспособлений. Методы создания и контроля требуемой концентрации агрессивной среды приведены в рекомендуемом приложении 2.
2.3.2. Камеру выводят на испытательный режим без размещения в ней образцов изделий.
2.3.3. Замеры параметров испытательного режима на соответствие заданным значениям производят периодически. Периодичность замеров устанавливают в зависимости от изменения концентрации, температуры и относительной влажности агрессивной среды, но не реже трех раз в сутки.
2.3.4. В процессе отработки испытательного режима производят необходимые корректировки заданных значений концентрации, температуры и относительной влажности агрессивной среды.
2.3.5. Установленный испытательный режим поддерживают не менее 24 ч, периодически контролируя его параметры. Затем камеру отключают.
2.3.6. Предварительную отработку режима допускается не выполнять перед испытаниями новой партии образцов изделий, если испытания предыдущей партии проводились в том же режиме, а перерыв в испытаниях не превышал длительности этого режима.
2.3.7. Изделия при испытаниях должны быть установлены в таком положении, в каком они могут эксплуатироваться. При этом в изделиях, кроме указанных в п. 1.8, должны быть удалены заглушки, открыты отверстия для стекания конденсата, дверцы, люки, чтобы обеспечить возможно более полный контакт внутренних частей изделий с испытательной агрессивной средой.
2.3.8. Образцы изделий перед испытаниями выдерживают в нормальных условиях испытаний по ГОСТ 15150-69 в течение времени, достаточного для выравнивания температуры по всему объему.
Затем производят визуальный осмотр и измерение параметров изделий, указанных в стандартах или технических условиях на изделия конкретных серий или типов.
После этого образцы изделий размещают в камере и выводят ее на испытательный режим.
2.3.9. Началом испытаний считают момент установления в камере заданных параметров режима.
2.4. Проведение испытаний
2.4.1. Испытания изделий химостойких исполнений X1 - Х3, а также изделий нехимостойкого и химостойкого исполнений, для которых установлено воздействие агрессивных сред в течение части срока службы, на соответствие требованиям ГОСТ 24682-81 в части стойкости к воздействию агрессивных сред, проводят в средах аммиака и окислов азота по режимам, указанным в табл. 1, при этом время испытаний, указанное в табл. 1, изменяют пропорционально заданному времени воздействия агрессивных сред в эксплуатации. Время воздействия агрессивных сред в эксплуатации соответствует сроку L по ГОСТ 21126-75.
Измененная редакция (Изм. № 1).
Таблица 1
|
Температура, °C |
Относительная влажность, % |
Среда |
Концентрация, мг/м3 |
Продолжительность испытаний изделий, ч, эквивалентная году воздействия агрессивной среды при эксплуатации в условиях, соответствующих химостойким исполнениям |
||
|
X1 |
Х2 |
Х3 |
||||
|
50±2 |
97±3 |
NН3 |
5000 |
20 |
24 |
40 |
|
|
|
NO2 |
500 |
15 |
20 |
30 |
Измененная редакция (Изм. № 1).
2.4.2. Испытания изделий, для которых установлено воздействие только одного или двух видов агрессивных сред, и эффективные значения климатических факторов при эксплуатации находятся в пределах: по температуре - от минус 10 до плюс 50 °С, по относительной влажности - от 40 до 100 %, по концентрации агрессивной среды - от 0,1 до 100 мг/м3, проводят только в этих средах по режимам, установленным в соответствии с обязательным приложением 3, в зависимости от времени воздействия агрессивных сред (среды) в эксплуатации.
При этом, если для изделий установлено воздействие смесей агрессивных сред, то испытания проводят в их индивидуальных компонентах в соответствии с табл. 2.
Таблица 2
|
Исходные компоненты смеси |
Компонент, в котором изделие подвергается испытаниям |
|
HCl+NН3 |
NH3 |
|
HCl+SO2 |
SO2 |
|
HCl+SO3 |
HCl |
|
SO3+SO2 |
SO2 |
|
NН3+Н2S |
NН3 |
|
NO2+SO3 |
NO2 |
2.4.3. Испытания изделий, для которых установлено воздействие озона или агрессивных сред, виды которых не указаны в обязательном приложении 3 ГОСТ 24682-81, или (и) условия эксплуатации более жесткие, чем указаны в п. 2.4.2, проводят по режиму, определяемому по предварительно установленному коэффициенту ускорения испытаний.
Коэффициент ускорения испытаний определяют экспериментально по ГОСТ 21126-75.
В стандартах или технических условиях на изделия конкретных типов по согласованию с заказчиком могут, быть установлены другие режимы испытаний на стойкость к воздействию озона.
Измененная редакция (Изм. № 1).
2.5. Оценка результатов
2.5.1. После окончания испытаний отключают нагрев камеры, удаляют агрессивную среду, после чего изделия извлекают из камеры.
2.5.2. Оценку извлеченных из камеры изделий проводят в следующей последовательности:
а) производят визуальный осмотр без разборки изделий;
б) измеряют сопротивление изоляции между разобщенными электрическими цепями, после чего испытывают изоляцию повышенным напряжением, значение которого и порядок испытаний принимают по п. 2.5.3. Эти измерения проводят спустя (1±0,5) ч после окончания испытаний;
в) проводят испытания изделий на работоспособность в соответствии с п. 2.5.4 и проверку параметров, указанных в стандартах или технических условиях на изделия конкретных серий и типов. Испытания на работоспособность изделия начинают спустя не более 1 ч после испытаний по подпункту б;
г) производят визуальный осмотр изделий с их разборкой с целью выявления состояния покрытий и внешнего вида узлов и деталей.
2.5.3. Значение испытательных напряжений для корпусной и междуфазной изоляции должно быть равно половине значения испытательного напряжения, установленного для проверки изделий при испытаниях в нормальных климатических условиях.
При проверке изоляции испытательное напряжение плавно повышают и выдерживают для органической и кремнийорганической изоляции 5 мин, неорганической - 1 мин.
Междувитковую изоляцию испытывают в нагретом состоянии. Допускается испытывать междувитковую изоляцию электродвигателей мощностью до 100 кВт путем их испытания при номинальном напряжении и режимах работы, указанных в п. 2.5.4.
Примечание. Под плавным подъемом напряжения понимается подъем напряжения с произвольной скоростью до значения, равного 40 % испытательного, и дальнейший подъем со скоростью порядка 3 % испытательного напряжения в 1 с, если в стандартах или технических условиях на изделия конкретных серий или типов не предусмотрен более быстрый подъем напряжения.
2.5.4. Испытания на работоспособность изделий проводят в течение 1 ч или меньшего времени, если в стандартах на изделия установлено меньшее время непрерывной работы. При этом испытании изделие должно работать при номинальном напряжении. При испытании на работоспособность проверяют параметры изделий, специфические для воздействия специальной среды. Эти параметры должны быть указаны в стандартах или технических условиях на изделия конкретных серий или типов. Превышение температуры обмоток (а при их отсутствии - других узлов, содержащих электрическую изоляцию и указанных в стандартах или технических условиях на конкретные серии или типы изделий или в ПИ) должно быть таким же, как при номинальной нагрузке, что достигается путем испытаний при номинальной нагрузке или путем периодических пусков и остановок изделий или другими способами.
2.5.5. Изделие считают выдержавшим испытание на стойкость к воздействию специальных сред, если оно удовлетворяет следующим требованиям:
а) изоляция токоведущих частей относительно корпуса и междуфазовая изоляция выдерживают испытательное напряжение;
б) изделие сохраняет работоспособность;
в) для электродвигателей мощностью 0,6 - 1000 кВт сопротивление междуфазовой изоляции и изоляции обмоток относительно корпуса после испытаний составляет (если иное не оговорено в стандартах или технических условиях на изделия конкретных серий или типов) не менее 1 МОм.
Для остальных изделий сопротивление изоляции указывают в стандартах или технических условиях на конкретные серии или типы изделий на основании предварительных или межведомственных испытаний изделий или аналогов;
г) при визуальном осмотре состояния лакокрасочных покрытий изделия не наблюдается их растрескивания или размягчения и других недопустимых изменений внешнего вида.
При применении кремнийорганических эмалей допускается наличие на пленке эмали отдельных трещин, но не допускается сетка трещин. Допускаются отдельные мелкие вздутия лакокрасочных покрытий, исчезающие после выдержки их в течение 12-24 ч в нормальных условиях испытаний по ГОСТ 15150-69, а также отдельные небольшие пятна, появляющиеся вследствие изменения оттенка окраски;
д) при визуальном осмотре металлических деталей (в том числе с металлическими и неметаллическими - неорганическими покрытиями), не подлежащих защите лакокрасочными покрытиями, допускаются отдельные очаги коррозии или незначительная коррозия на поверхности, если это не влияет на работоспособность и, безотказность изделий и не нарушает их товарного вида. Не допускается коррозия на рабочих дорожках подшипников, взрывозащитных поверхностях, упругих элементах и на поверхностях, где осуществляется электрический контакт. Допускается потемнение отдельных металлических деталей, происшедшее вследствие испытаний на работоспособность;
е) при визуальном осмотре пластмассовых деталей не наблюдается их коробления. Допускается незначительное изменение цвета пластмасс;
ж) оболочки изделий по п. 1.8 должны соответствовать установленной степени защиты изделий оболочками.
2.5.6. Допускается устанавливать дополнительные требования при проверке изделий после испытаний на стойкость к воздействию агрессивных сред, например, в технически обоснованных случаях оценку изделий по п. 2.5.2 производят после механических испытаний по ГОСТ 16962-71 и ГОСТ 17516-72.
3.1. Отбор образцов изделий производят в соответствии с требованиями, указанными в п. 2.1.
3.2. Испытательное оборудование, материалы, реактивы должны соответствовать требованиям, указанным в п. 2.2.
3.2.1. Камера для испытаний на стойкость к воздействию рабочих растворов должна быть снабжена поддоном.
3.2.2. Аэрозольную обработку образцов изделий производят с помощью аэрозольного ингалятора.
3.3. Подготовку к испытаниям проводят в соответствии с требованиями, указанными в пп. 2.3.1 - 2.3.6; 2.3.8, 2.3.9.
3.3.1. Приготовление рабочих растворов для испытаний производят согласно рекомендуемому приложению 2.
3.4. Проведение испытаний
3.4.1. Значения параметров испытательного режима и время испытаний изделий на стойкость к воздействию специальных сред группы 6 устанавливают в соответствии с условиями и длительностью их воздействия в эксплуатации в соответствии с требованиями, установленными в стандартах или технических условиях на изделия конкретных типов.
Измененная редакция (Изм. № 1).
3.5. Оценка результатов испытаний
3.5.1. Стойкость изделий к воздействию рабочих растворов оценивают по наружным поверхностям в соответствии с п. 2.5.5, оценку производят после 72 ч выдержки образцов изделий вне камеры в нормальных климатических условиях испытаний по ГОСТ 15150-69 с последующей промывкой водой и обтиранием.
4.1. Все работы со специальными средами должны проводиться в соответствии с правилами и инструкциями по технике безопасности, утвержденными Министерством здравоохранения СССР.
4.2. Метеорологические условия должны быть в пределах, установленных санитарными нормами проектирования промышленных предприятий, утвержденными Госстроем СССР.
4.3. Электробезопасность при испытаниях должна обеспечиваться в соответствии с «Правилами техники безопасности при эксплуатации электроустановок потребителей», утвержденными Гостехнадзором.
4.4. Эксплуатацию сосудов, работающих под давлением, проводят в соответствии с «Правилами устройств и эксплуатации сосудов, работающих под давлением», утвержденными Гостехнадзором.
4.5. Для обеспечения безопасности труда при контакте со специальными средами должны соблюдаться следующие основные требования:
испытания допускается проводить в помещении с концентрацией специальных сред не выше допустимой по санитарным нормам;
испытания должны проводиться в помещении, оборудованном приточно-вытяжной вентиляцией;
к работе должны быть допущены лица, прошедшие соответствующий инструктаж;
в лаборатории должны быть инструкции по технике безопасности и промышленной санитарии, а также журнал проведения инструктажа персонала;
лица, проводящие анализ, должны быть осведомлены о степени токсичности специальных сред, способах защиты от их воздействия и мерах оказания первой помощи при отравлениях;
в помещении на видном месте должна находиться аптечка с необходимыми медикаментами для оказания первой помощи при несчастных случаях;
персонал должен быть обеспечен спецодеждой: хлопчатобумажными или текстовиниловыми комбинезонами или куртками и брюками, резиновыми сапогами, резиновыми перчатками, защитными очками с большим кругозором, халатами хлопчатобумажными или из кислотоустойчивой ткани;
для защиты органов дыхания при концентрации специальных сред до 10 г/м3 применяют фильтрующие противогазы В, БКФ промышленные противогазы КД;
в аварийных случаях применяют одежду изолирующего типа:
защитные комплекты марок КГ-611, КГ-612, изолирующие противогазы ИП-46, ИП-60, ИП-6.
4.6. Удаление специальной среды из камеры по окончании испытаний производят до значения концентрации ее в отходящих газах, не превышающей предельно допустимых санитарных норм.
4.7. После проведения испытаний на стойкость к воздействию дезинфицирующих растворов формальдегид допускается нейтрализовать опрыскиванием стенок камеры нашатырным спиртом, взятым равным половине объема израсходованного формалина.
|
Термин |
Пояснение |
|
Агрессивные среды |
По ГОСТ 21126-75 |
|
Коэффициент ускорения испытаний |
По ГОСТ 21126-75 |
|
Параметры испытательного режима |
Характеристика среды по концентрации, температуре, влажности |
|
Рабочие растворы |
|
|
Специальные среды |
|
|
Эффективные значения климатических факторов |
1. Метод создания агрессивной среды, содержащей двуокись азота, хлор, сероводород, сернистый ангидрид, хлористый водород
1.1. Реактивы, посуда, материалы
Натрий азотистокислый ч.д.а по ГОСТ 4197-74.
Калий марганцовокислый ч.д.а. по ГОСТ 20490-75.
Натрий сернистый ч.д.а. по ГОСТ 2053-77.
Натрий сернистокислый безводный ч.д.а. по ГОСТ 195-77.
Аммоний хлористый ч.д.а по ГОСТ 3773-72.
Кислота серная х.ч. по ГОСТ 4204-77.
Кислота соляная х.ч. по ГОСТ 3118-77.
Кислота азотная х.ч. по ГОСТ 4461-77.
Воронки ВК ГОСТ 25336-82.
Колбы типа КН-250; КН-500 ТС по ГОСТ 25336-82.
Измененная редакция (Изм. № 1).
1.2. Создание газовоздушных агрессивных сред
Для получения сероводорода, окислов азота, хлора, хлористого водорода, двуокиси серы применяют реакционный метод.
Навеску соответствующей соли, значение которой подобрано экспериментально в соответствии с выбранным режимом и объемом камеры, загружают в реакционный сосуд, который закрывают пробкой с двумя отверстиями, одно из которых для воронки с кислотой, другое отверстие соединяют с камерой. Кислоту в зону реакции из воронки подают небольшими порциями. Выделившийся в результате реакции газ через отводную трубку поступает в камеру. Для создания газовоздушных агрессивных сред возможно применение аппарата Киппа.
2. Метод создания агрессивной среды, содержащей аммиак и серный ангидрид
2.1. Материалы
Аммиак жидкий по ГОСТ 6221-75.
Аммиак водный х.ч. по ГОСТ 3760-79.
Кислота серная техническая по ГОСТ 2184-77.
2.2. Создание газовоздушной среды содержащей аммиак
Концентрацию аммиака в испытательных камерах получают испарением экспериментально установленной навески водного (25 %-ного раствора) аммиака. Навеску вливают в камеру по патрубку в специальную емкость, установленную в камере. По мере уменьшения концентрации аммиака в испытательной камере производят подпитку сжиженным аммиаком.
2.3. Создание газовоздушной среды, содержащей серный ангидрид и серную кислоту
Испытательную концентрацию серного ангидрида и серной кислоты получают протягиванием экспериментально подобранного объема воздуха над олеумом
3. Метод создания среды, содержащей пары амила и гептила
3.1. Реактивы, посуда, материалы
Гептил - по нормативно-технической документации.
Амил - по нормативно-технической документации.
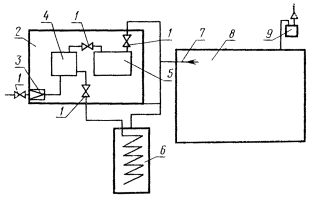
3.2. Схема устройства для создания среды, содержащей амил или гептил представлена на чертеже настоящего приложения.
Принципиальная схема устройства для создания среды, содержащей амил и гептил

1 - двухходовой вентиль; 2 - камера испарителя; 3 - редуктор; 4 - рессивер; 5 - емкость испарителя; 6 - увлажнитель воздуха; 7 - форсунка; 8 - испарительная камера; 9 - электровентилятор
3.3. Порядок работы системы
3.3.1. Емкость испарителя с помощью вентиля 1 заполняют на 3/4 объема амилом или гептилом, затем емкость увлажнителя заливают дистиллятом (конденсатом).
Выводят на требуемый температурный режим испытательную камеру, увлажнитель и испаритель. Температуру испарителя устанавливают 20 °С для амила и 60 °С - для гептила.
После установления в испарителе и увлажнителе необходимой температуры в рессивер 4 подают сжатый воздух давлением до 0,2 МПа (2 кгс/см2), из рессивера воздух поступает в испаритель и увлажнитель. При прохождении через змеевик увлажнителя 6 воздух подогревается до температуры воды, увлажняется до значения, близкого к насыщению, выходит из распределителя змеевика раздробленным на мелкие струи (50 отверстий диаметром 10-3 м) и подается в форсунку 7 испытательной камеры 8.
Одновременно в форсунку подают из испарителя насыщенные пары амила или гептила потоком воздуха из рессивера, который перемешивают в испытательной камере с помощью электровентилятора 9.
3.3.2. Для создания среды допускается пользоваться другими методами, обеспечивающими поддержание необходимого режима и соблюдение требований, установленных настоящим стандартом.
4. Метод создания газовоздушной среды, содержащей агрессивные пары озона
4.1. Испытательную концентрацию агрессивных паров озона создают с помощью озонаторных установок, принцип действия которых основан на электрохимическом синтезе озона из кислорода в газовом разряде.
5. Приготовление рабочих растворов
5.1. Реактивы, посуда, материалы
Известь хлорная по ГОСТ 1692-58.
Формалин технический по ГОСТ 1625-75.
Креолин - по нормативно-технической документации.
Ксилонафт - по нормативно-технической документации.
5.2. Дезинфицирующие растворы
5.2.1. Для получения 20 %-ной взвеси свежегашеной извести берут 1 кг негашеной (жженой) извести, 1 л воды для гашения и 4 л воды для получения взвеси (известкового молока). В емкость наливают сначала 100-300 мл воды, затем кладут отвешенное количество негашеной извести и доливают воду в количестве, необходимом для гашения. Известь, впитывая воду, превращается в, белый сухой пушистый порошок.
5.2.2. Для приготовления осветленного раствора хлорной извести с содержанием 5 % активного хлора берут необходимое количество сухой хлорной извести в соответствии с табл. 1 настоящего приложения.
Таблица 1
|
Содержание активного хлора в сухой хлорной извести, % |
20 |
22 |
24 |
26 |
28 |
30 |
32 |
|
Количество сухой хлорной извести на 100 л воды, кг |
25 |
23 |
21 |
19 |
18 |
17 |
16 |
Необходимое количество сухой хлорной извести после измельчения комков разбавляют небольшим количеством воды до получения кашицеобразной массы. Затем при энергичном помешивании приливают остальное количество воды, после чего взвесь отстаивают в течение суток в закрытом сосуде. Верхний отстоявшийся слой сливают и используют для испытаний.
5.3. Растворы для аэрозольной обработки
5.3.1. Для аэрозольной обработки применяют формалин-креолниовую смесь, состоящую из трех частей формалина и одной части креолина или ксилонафта, либо формалин (40 %-ный раствор формальдегида). Указанные средства применяют из расчета 10 мл раствора на 1 м3 камеры.
5.4. Дегазирующие растворы № 1 и 2, дезактивирующие № 3 и 4 готовят по специальным программам.
6. Методы контроля концентрации агрессивной среды
6.1. Общие положения
6.1.1. Фотоколориметрическое и нефелометрическое определение концентрации агрессивной среды производят на фотоэлектроколориметре КФО по нормативно-технической документации.
6.1.2. Построение калибровочной кривой для определения содержания компонентов в анализируемом объеме (проба) раствора на КФО производят в координатах «содержание агрессивной среды - оптическая плотность».
6.1.3. Отбор проб исследуемого воздуха для определения концентрации агрессивной среды производят с помощью аспиратора.
6.1.4. При повышенном содержании компонента агрессивной среды пробу разбавляют.
6.1.5. Концентрацию компонента специальной среды С в мг/м3 вычисляют по формуле
,
где V1 - общий объем раствора пробы в склянке для промывания газа, мл;
G - содержание компонента агрессивной среды в колориметрической пробирке, мг;
V - объем раствора пробы, взятый для анализа из склянки для промывания газа, мл;
V0 - объем пробы газовоздушной смеси, приведенный к нормальным условиям по ГОСТ 2939-63, л.
6.1.6. Концентрацию агрессивной среды определяют сложением результатов определений двух склянок для промывания газов.
6.2. Фотоколориметрическое определение концентрации аммиака в воздухе
Метод основан на образовании окрашенного в желто-бурый цвет соединения (подида димеркураммония) при взаимодействии аммиака с реактивом Несслера.
6.2.1. Реактивы, растворы, посуда
Реактив Несслера по ГОСТ 4517-75.
Аммоний хлористый по ГОСТ 3773-72, х. ч.
Кислота серная по ГОСТ 4204-77, 0,01 н. раствор.
Вода дистиллированная по ГОСТ 6709-72, не содержащая иона NH4+.
Для получения этой воды к 1 л дистиллированной воды прибавляют 5 мл 10 %-ной серной кислоты и снова перегоняют. Первые 100-200 мл отбрасывают, после чего собирают воду, предварительно проверив ее с реактивом Несслера на содержание иона NH4+.
Основной стандартный раствор хлористого аммония № 1, 1 мл которого соответствует 1 мг аммиака: 0,7868 г хлористого аммония растворяют в 250 мл воды.
Стандартный раствор № 2, содержащий 0,1 мг/мл аммиака:
10 мл стандартного раствора № 1 разбавляют водой до объема 100 мл.
Стандартный раствор № 3, содержащий 0,01 мг/мл аммиака:
1 мл стандартного раствора № 1 разбавляют в мерной колбе водой до объема 100 мл.
Склянки для промывания газов типа СВТ по ГОСТ 25336-82.
Пробирки колориметрические по ГОСТ 25336-82 из бесцветного стекла высотой 120 мм, внутренним диаметром 15 мм.
Пипетки по ГОСТ 20292-74 вместимостью 1, 2, 5, 10 мл.
Колбы мерные по ГОСТ 1770-74 вместимостью 100 и 250 мл.
Измененная редакция (Изм. № 1).
6.2.2. Отбор проб
Поглощение аммиака производят со скоростью до 1 л/мин в две последовательно соединенные склянки для промывания газа, содержащие по 10 мл серной кислоты 0,01 н, при этом необходимо отобрать не менее 0,5 л газовоздушной смеси.
6.2.3. Определение концентрации
В колориметрические пробирки переводят 0,1-5 мл раствора. Объем доводят поглотительным раствором до 5 мл. Прибавляют по 0,5 мл реактива Несслера в пробирки с эталонным раствором и пробой. Содержимое встряхивают и через 5 мин измеряют оптическую плотность окрашенного раствора в кювете с толщиной слоя 10 мм и синим светофильтром на фоне контрольного раствора. Содержание аммиака в растворе находят по калибровочной кривой.
Для построения калибровочной кривой в колориметрические пробирки вносят стандартные сочетания растворов и реактивов. Состав этих сочетаний и соответствующие им количества агрессивного агента приведены в табл. 2.
6.2.4. Обработка результатов - по п. 6.1.5 настоящего приложения.
Таблица 2
|
Реактив или раствор |
Количество раствора или реактива для номера стандартного сочетания |
|||||||
|
Реактив для контроля |
1 |
2 |
3 |
4 |
5 |
6 |
7 |
|
|
Раствор аммиака № 3, мл |
- |
0,20 |
0,40 |
0,60 |
0,80 |
- |
- |
- |
|
Раствор аммиака № 2, мл |
- |
- |
- |
- |
- |
0,10 |
0,30 |
0,50 |
|
Серная кислота 0,01 н раствор, мл |
5,00 |
4,80 |
4,60 |
4,40 |
4,20 |
4,90 |
4,70 |
4,50 |
|
Реактив Несслера, мл |
Во все пробирки по 0,5 мл |
|||||||
|
Содержание аммиака, мг |
- |
0,002 |
0,004 |
0,006 |
0,008 |
0,010 |
0,030 |
0,050 |
6.3. Определение аммиака объемным методом
Метод основан на поглощении аммиака титрованным раствором серной кислоты. Избыток серной кислоты оттитровывают раствором щелочи в присутствии индикатора. По количеству связавшейся серной кислоты и по объему пропущенного газа рассчитывают содержание аммиака в газе.
6.3.1. Реактивы, растворы, посуда
Кислота серная по ГОСТ 4204-77, 0,1 н раствор или 0,01 н.
Натрия гидроокись ч.д.а. по ГОСТ 4328-77, 0,1 н раствор.
Индикатор лакмоид 0,2 %-ный спиртовой раствор.
Склянки для промывания газов типа СВТ по ГОСТ 25336-82.
Пипетки по ГОСТ 20292-74 5, 10 мл.
Измененная редакция (Изм. № 1).
6.3.2. Отбор проб
Поглощение паров аммиака производят со скоростью до 1 л/мин в две последовательно соединенные склянки для промывания газа, содержащие по 10 мл серной кислоты.
6.3.3. Определение концентрации
Содержимое каждой склянки переносят количественно (без потерь) в две колбы, тщательно ополаскивают их небольшими порциями воды и титруют раствором щелочи в присутствии индикатора. Конец титрования определяют по переходу окраски из розовой в синию.
6.3.4. Обработка результатов
Концентрацию аммиака С в мг/м3 вычисляют по формуле
,
где V1 - объем раствора серной кислоты, взятой в склянку для промывания газа, мл;
V2 - объем раствора щелочи, пошедший на титрование, мл;
K1 - нормальность раствора серной кислоты, Н;
К2 - нормальность раствора щелочи, Н;
V0 - объем пробы газовоздушной смеси, приведенный к нормальным условиям по ГОСТ 2939-63, л.
6.4. Фотоколориметрическое определение концентрации сероводорода в воздухе
Метод основан на поглощении сероводорода из воздуха раствором арсенита натрия, приготовленным на растворе карбоната аммония.
В растворе образуется устойчивая сульфосоль аммония, которая при прибавлении кислого раствора нитрата серебра переходит в сульфосоль серебра, быстро разлагающуюся до сульфида серебра.
Раствор, содержащий сульфид серебра, приобретает желто-бурую окраску, интенсивность которой зависит от количества сульфида серебра в растворе.
Для сравнения сульфида серебра в качестве стандартного раствора вместо быстро окисляющегося раствора сероводорода или сульфида натрия применяют раствор тиосульфата натрия.
6.4.1. Реактивы, растворы, посуда
Аммоний углекислый по ГОСТ 3770-75.
Арсенит натрия ч.д.а.
Кислота серная плотностью 1,82-1,83 по ГОСТ 4204-77.
Серебро азотнокислое по ГОСТ 1277-75:
1 г нитрата серебра растворяют в 80 мл дистиллированной воды, осторожно добавляют 10 мл концентрированной серной кислоты, после охлаждения раствор доводят дистиллированной водой до 100 мл; выпавший осадок отфильтровывают.
Тиосульфат натрия по СТ СЭВ 223-75, 0,1 н раствор.
Крахмал по ГОСТ 10163-76, 1 %-ный раствор.
Вода дистиллированная по ГОСТ 6709-72.
Поглотительный раствор: 5 г карбоната аммония растворяют в 100 мл, в полученный раствор вносят 2 г арсенита натрия. После полного растворения соли раствор переносят в мерную колбу емкостью 1 л и доводят объем водой до метки.
Стандартный раствор № 1, содержащий 0,1 мг/мл сероводорода; 0,1 н раствора тиосульфата натрия разбавляют 3 мл этого раствора в колбе вместимостью 100 мл. Раствор сохраняется 10 дней.
Стандартный раствор № 2, соответствующий 0,01 мг/мл сероводорода: стандартный раствор № 1 разбавляют водой в соотношении 1:10. Раствор сохраняется 1-2 дня.
Склянки для промывания газов типа СВТ по ГОСТ 25336-82.
Пробирки колориметрические по ГОСТ 25336-82 из бесцветного стекла высотой 120 мм, внутренним диаметром 15 мм.
Пипетки по ГОСТ 20292-74 вместимостью 1, 5, 10 мл.
Измененная редакция (Изм. № 1).
Колбы мерные по ГОСТ 1770-74 вместимостью 100, 1000 мл.
6.4.2. Отбор проб
Воздух со скоростью 0,25-0,33 л/мин протягивают через две последовательно соединенные склянки для промывания газа, содержащие по 10 мл поглотительного раствора. Отбирают не менее 0,5 л воздушной смеси.
6.4.3. Определение концентрации
Из склянки для промывания газа отбирают 0,1-5 мл пробы. Объем доводят поглотительным раствором до 5 мл. В пробирки с пробой и контрольным раствором добавляют по 1 капле раствора крахмала и по 1 мл раствора нитрата серебра, после этого через 5 мин измеряют оптическую плотность раствора в кювете толщиной слоя 10 мл относительно контрольного раствора при длине волны 364 им. Содержание сероводорода находят по калибровочной кривой.
Для построения калибровочной кривой в колориметрические пробирки вносят стандартные сочетания растворов и реактивов. Состав этих сочетаний и соответствующие им количества агрессивного агента приведены в табл. 3.
6.4.4. Обработка результатов - по п. 6.1.5.
Таблица 3
|
Реактив или раствор |
Количество раствора или реактива для номера стандартного сочетания |
||||||||
|
Реактив для контроля |
1 |
2 |
3 |
4 |
5 |
6 |
7 |
8 |
|
|
Раствор сероводорода № 2, мл |
- |
0,2 |
0,4 |
0,6 |
0,8 |
1,0 |
- |
- |
- |
|
Раствор сероводорода, № 1, мл |
- |
- |
- |
- |
- |
- |
0,2 |
0,3 |
0,4 |
|
Поглотительный раствор, мл |
5 |
4,8 |
4,6 |
4,4 |
4,2 |
4,0 |
4,8 |
4,7 |
4,6 |
|
Раствор крахмала, 1 %-ный раствор |
По 1 капле во все пробирки |
||||||||
|
Нитрат серебра, 1 %-ный раствор |
По 1 мл во все пробирки |
||||||||
|
Содержание сероводорода, мг |
- |
0,002 |
0,004 |
0,006 |
0,008 |
0,010 |
0,020 |
0,030 |
0,040 |
6.5. Нефелометрическое определение концентрации хлористого водорода в газовоздушной смеси
Метод основан на образовании хлорида серебра. По степени помутнения раствора определяют концентрацию хлористого водорода.
6.5.1. Реактивы, растворы, посуда
Калий хлористый по ГОСТ 4234-76.
Серебро азотнокислое по ГОСТ 1277-75, 1 %-ный раствор.
Кислота азотная по ГОСТ 4461-77, 10 %-ный раствор.
Склянки для промывания газов типа СВТ по ГОСТ 25336-82.
Пробирки колориметрические по ГОСТ 25336-82.
Пипетки по ГОСТ 20292-74 вместимостью 1, 5, 10 мл.
Колбы мерные по ГОСТ 1770-74 вместимостью 50, 1000 мл.
Стандартный раствор хлорида калия: 0,2043 г хлорида калия растворяют в мерной колбе вместимостью 1 л; 1 мл этого раствора соответствует 0,1 мг. Все реактивы готовят на дистиллате, свободном от ионов хлора.
Измененная редакция (Изм. № 1).
6.5.2. Отбор проб
Исследуемую газовоздушную смесь со скоростью 1 л/мин протягивают через две последовательно соединенные склянки для промывания газа с 5 мл дистиллата в каждой.
6.5.3. Определение концентрации
Растворы из каждой склянки анализируют отдельно. В колориметрическую пробирку переносят 0,1-3 мл пробы. Добавляют 1 мл 10 %-ной азотной кислоты и 0,5 мл нитрата серебра. Содержимое встряхивают и через 10 мин измеряют оптическую плотность раствора в кювете с толщиной слоя 10 мм относительно контрольного раствора при длине волны 364 нм. Содержание хлористого водорода в растворе определяют по калибровочной кривой. Для построения калибровочной кривой в колориметрические пробирки вносят стандартные сочетания растворов и реактивов. Состав этих сочетаний и соответствующие им количества агрессивного агента приведены в табл. 4.
Таблица 4
|
Реактив или раствор |
Количество раствора или реактива для номера стандартного сочетания |
||||||
|
Реактив для контроля |
1 |
2 |
3 |
4 |
5 |
6 |
|
|
Стандартный раствор хлорида калия, мл |
- |
0,1 |
0,2 |
0,4 |
0,6 |
0,8 |
1,0 |
|
Поглотительный раствор, мл |
5 |
4,9 |
4,8 |
4,6 |
4,4 |
4,2 |
4,0 |
|
Азотная кислота, 10 %-ный раствор, мл |
Во все пробирки по 1 мл |
||||||
|
Нитрат серебра, 1 %-ный раствор, мл |
Во все пробирки по 0,5 мл |
||||||
|
Содержание хлористого водорода, мг |
- |
0,01 |
0,02 |
0,04 |
0,06 |
0,08 |
0,10 |
6.5.4. Обработка результатов - по п. 6.1.5.
6.6. Фотоколориметрическое определение концентрации двуокиси азота
Метод основан на поглощении двуокиси азота раствором щелочи и фотоколориметрическом определении нитрит-иона реакции Грисса-Илосвая.
6.6.1. Реактивы, растворы, посуда
Натрия гидроокись по ГОСТ 4328-77, 0,05 н раствор.
Кислота соляная по ГОСТ 3118-77, 0,1 н раствор.
Реактив Грисса-Илосвая по МРТУ 6-09-3085-66, 5 %-ный водный раствор.
Натрий азотистокислый х.ч. по ГОСТ 4197-74.
Вода дистиллированная по ГОСТ 6709-72.
Склянки для промывания газов типа СВТ по ГОСТ 25336-82.
Пробирки колориметрические плоскодонные по ГОСТ 25336-82 из бесцветного стекла.
Стандартный раствор № 1: 0,015 г химически чистого азотистокислого натрия растворяют в 100 мл дистиллированной воды; 1 мл этого раствора соответствует 0,1 мг окислов азота. Раствор пригоден к употреблению в течение 6 месяцев.
Стандартный раствор № 2: стандартный раствор № 1 разбавляют 0,05 н раствором щелочи. Раствор пригоден к употреблению один месяц.
Измененная редакция (Изм. № 1).
6.6.2. Отбор проб
В две склянки для промывания газа наливают по 10 мл раствора 0,05 н щелочи и с помощью аспиратора со скоростью 1,0 л/мин протягивают газовоздушную смесь.
6.6.3. Определение концентрации
0,1-5 мл пробы из каждой склянки вносят в колориметрические пробирки. Объем пробы менее 5 мл доводят до 5 мл 0,05 раствором щелочи, добавляют 1 мл реактива Грисса-Илосвая, встряхивают и через 15 мин измеряют оптическую плотность окрашенного раствора в кювете с толщиной слоя 10 мм и с зеленым светофильтром относительно контрольного раствора. Содержание двуокиси азота находят по калибровочной кривой.
Для построения калибровочной кривой в колориметрические пробирки вносят стандартные сочетания растворов и реактивов. Состав этих сочетаний и соответствующие им количества агрессивагента приведены в табл. 5.
Таблица 5
|
Реактив или раствор |
Количество раствора или реактива для номера стандартного сочетания |
|||||
|
Реактив для контроля |
1 |
2 |
3 |
4 |
5 |
|
|
Стандартный раствор № 2, мл |
- |
0,2 |
0,4 |
0,6 |
0,8 |
1,0 |
|
Едкая щелочь, 0,05 н раствора, мл |
5 |
4,8 |
4,6 |
4,4 |
4,2 |
4,0 |
|
Реактив Грисса-Илосвая, мл |
Во все пробирки по 1 мл |
|||||
|
Содержание двуокиси азота, мг |
- |
0,0002 |
0,0004 |
0,0006 |
0,0008 |
0,0010 |
6.6.4. Обработка результатов - по п. 6.1.5.
6.7. Определение двуокиси азота объемным методом
Метод основан на поглощении двуокиси азота щелочью. Избыток щелочи оттитровывают серной кислотой соответствующей нормальности.
Разность между количеством щелочи, взятой для поглощения, и количеством щелочи, пошедшей на титрование серной кислоты, соответствует тому количеству щелочи, которое пошло на поглощение двуокиси азота.
6.7.1. Реактивы, растворы, посуда
Натрия гидроокись по ГОСТ 4328-77, 0,1 или 0,01 н раствор.
Кислота серная по ГОСТ 4204-71, 0,1 н или 0,01 н раствор.
Индикатор смешанный: 0,12 г метилрота растворяют в 50 мл спирта, 0,082 г метиленового голубого растворяют в 50 мл спирта, оба раствора смешивают.
Склянки для промывания газов типа СВТ по ГОСТ 25336-82.
Пипетки по ГОСТ 20292-74 1, 5, 10 мл.
Измененная редакция (Изм. № 1).
6.7.2. Отбор проб
Поглощение двуокиси азота производят со скоростью до 1 л/мин в две последовательно соединенные склянки для промывания газа, содержащие по 10 мл раствора щелочи.
6.7.3. Определение концентрации
Содержимое каждой склянки переносят количественно (без потерь) в две колбы, тщательно ополаскивают их небольшими порциями воды и титруют раствором кислоты в присутствии смешанного индикатора. Конец титрования определяют по переходу окраски из зеленой в фиолетовую.
6.7.4. Обработка результатов
Концентрацию двуокиси азота С в мг/м3 вычисляют по формуле
,
где V1 - объем раствора гидроокиси натрия, взятого для поглощения двуокиси азота, мл;
K1 - нормальность раствора едкого натрия, Н;
V2 - объем раствора кислоты, пошедший на титрование, мл;
К2 - нормальность раствора кислоты, Н;
V0 - объем пробы газовоздушной смеси, приведенный к нормальным условиям по ГОСТ 2939-63, л.
6.8. Фотоколориметрическое определение хлора
Метод основан на вытеснении хлором эквивалентного количества иода из раствора иодида калия и фотоколориметрическом определении его по реакции с диметил-п-фенилендиамином.
6.8.1. Реактивы, растворы, посуда
Иод - по техническим условиям, утвержденным в установленном порядке, 0,1 н раствор.
Калий йодистый по ГОСТ 4232-74, 1 %-ный раствор.
Спирт этиловый ректификованный по ГОСТ 5962-67.
Диметил-п-фенилендиамин солянокислый по ТУ 6-09-1828-72, 0,1 %-ный спиртовой раствор.
Стандартный раствор иода № 1 с содержанием 0,25 мг/мл: 1 мл 0,1 н раствора иода вносят в мерную колбу вместимостью 50 мл и доводят раствором иодида калия до метки.
Стандартный раствор иода № 2 с содержанием 0,005 мг/мл 1 мл раствора № 1 вносят в мерную колбу емкостью 50 мл и доливают до метки раствором иодида калия.
Склянки для промывания газов типа СВТ по ГОСТ 25336-82.
Мерные колбы по ГОСТ 1770-74 вместимостью 50 мл.
Колориметрические пробирки по ГОСТ 25336-82 из бесцветного стекла высотой 150 мм диаметром 15 мм.
Пипетки по ГОСТ 20292-74 на 1, 5 и 10 мл.
Измененная редакция (Изм. № 1).
6.8.2. Отбор проб
Исследуемую газовоздушную смесь со скоростью 0,5 л/мин протягивают через две последовательно соединенные склянки для промывания газа, содержащие по 10 мл раствора иодида калия.
6.8.3. Определение концентрации
В склянку с исследуемым раствором вносят 1 мл раствора диметил-п-фенилендиамина, перемешивают и через 10 мин измеряют оптическую плотность окрашенного раствора в кювете с толщиной слоя 20 мм и зеленым светофильтром на фоне контрольного раствора, содержание хлора в пробе находят по калибровочной кривой.
Для построения калибровочной кривой в колориметрические пробирки вносят стандартные сочетания растворов и реактивов. Состав этих сочетаний и соответствующие им количества агрессивного агента приведены в табл. 6.
Таблица 6
|
Реактив или раствор |
Количество раствора или реактива для номера стандартного сочетания |
||||||||
|
Реактив для контроля |
1 |
2 |
3 |
4 |
5 |
6 |
7 |
8 |
|
|
Стандартный раствор № 2, мг* |
- |
0,5 |
1,0 |
2,0 |
3,0 |
4,0 |
6,0 |
8,0 |
10,0 |
|
Раствор иодида калия, мл |
10 |
9,5 |
9,0 |
8,0 |
7,0 |
6,0 |
4,0 |
2,0 |
- |
|
Раствор диаметил-фенилендиамина, мл |
Во все пробирки по 1 мл |
||||||||
|
Содержание иода, мг |
- |
0,0025 |
0,005 |
0,010 |
0,015 |
0,020 |
0,030 |
0,040 |
0,050 |
|
Соответствующее содержание хлора, мг |
- |
0,0007 |
0,0014 |
0,0028 |
0,0042 |
0,0056 |
0,0084 |
0,0112 |
0,14 |
|
* 1 мл раствора № 2 соответствует содержанию хлора - 0,0014 мг/мл. |
|||||||||
6.9. Нефелометрическое определение концентрации сернистого ангидрида
Метод основан на окислении сернистого ангидрида в водной среде хлоратом калия до серной кислоты, ее реакции с хлоридом бария и нефелометрическом определении образующегося сульфата бария.
6.9.1. Реактивы, растворы, посуда
Поглотительный раствор, 40 %-ный раствор хлората калия: 4 г перекристаллизованного хлорита калия растворяют в 100 мл дистиллированной воды, в которой не содержится сульфатов.
Кислота соляная по ГОСТ 3118-77, 0,3 %-ный раствор.
Барий хлористый по ГОСТ 4108-72, 5 %-ный раствор.
Спирт этиловый 96° по ГОСТ 18300-72.
Этиленгликоль по ГОСТ 10164-75.
Вода дистиллированная по ГОСТ 6709-72.
Калий сернокислый ч.д.а. по ГОСТ 4145-74.
Составной реактив: три объема этиленгликоля смешивают с одним объемом 5 %-ного раствора хлористого бария и тремя объемами этилового спирта. Величину рН смеси доводят до 2,5 - 2,8 добавлением по каплям концентрированной соляной кислоты. Реактив готовят не менее чем за два дня до употребления, годен к применению два месяца.
Стандартный раствор с содержанием сернистого газа 0,1 мг/мл: 0,0272 г сульфата калия растворяют в 100 мл дистиллированной воды.
Склянки для промывания газов типа СВТ по ГОСТ 25336-82.
Колориметрические пробирки (120´15 мм) из бесцветного стекла по ГОСТ 25336-82.
Пипетки по ГОСТ 20292-74 вместимостью 1, 2, 5, 10 мм.
Мерные колбы по ГОСТ 1770-74 вместимостью 50, 100 мм.
Измененная редакция (Изм. № 1).
6.9.2. Отбор проб
Газовоздушную смесь со скоростью 2 л/мин протягивают через две склянки для промывания газа, содержащие по 5 мл поглотительного раствора.
6.9.3. Определение концентрации
0,1-3 мл пробы отбирают в колориметрическую пробирку, добавляют 2 мл составного реактива и осторожно перемешивают, избегая образования пузырьков. Через 5 мин замеряют интенсивность отраженного света в кюветах с толщиной слоя 10 мм при длине волны 364 нм по сравнению с контрольной суспензией. Содержание сернистого газа в пробе находят по калибровочной кривой.
Для построения калибровочной кривой в колориметрические пробирки вносят стандартные сочетания растворов и реактивов. Состав этих сочетаний и соответствующие им количества агрессивного агента приведены в табл. 7.
Таблица 7
|
Реактив или раствор |
Количество раствора или реактива для номера стандартного сочетания |
||||||
|
Реактив для контроля |
1 |
2 |
3 |
4 |
5 |
6 |
|
|
Стандартный раствор, мл |
- |
0,03 |
0,05 |
0,1 |
0,2 |
0,4 |
0,6 |
|
Поглотительный раствор, мл |
3 |
2,97 |
2,95 |
2,9 |
2,8 |
2,6 |
2,4 |
|
Составной реактив, мл |
Во все пробирки по 2 мл |
||||||
|
Содержание сернистого газа, мг |
- |
0,003 |
0,005 |
0,010 |
0,020 |
0,04 |
0,06 |
6.9.4. Обработка результатов - по п. 6.1.5.
6.10. Нефелометрическое определение серного ангидрида и тумана серной кислоты
Метод основан на взаимодействии серной кислоты с хлоридом бария, в результате образуется нерастворимый в воде сульфат бария. Интенсивность помутнения раствора пропорциональна количеству серной кислоты.
6.10.1. Реактивы, растворы, посуда
Кислота соляная по ГОСТ 3118-77, 0,3 %-ный раствор.
Барий хлористый по ГОСТ 4108-72, 5 %-ный раствор.
Спирт этиловый 96° по ГОСТ 18300-72.
Этиленгликоль по ГОСТ 10164-75.
Калий сернокислый ч.д.а. по ГОСТ 4145-74.
Составной реактив: три объема этиленгликоля смешивают с одним объемом 5 %-ного раствора хлористого бария и тремя объемами этилового спирта.
Значение рН смеси доводят до 2,5 - 2,8 добавлением по каплям концентрированной соляной кислоты.
Реактив готовят не менее чем за два дня до употребления. Годен к применению два месяца.
Стандартный раствор № 1: 0,1776 г перекристаллизованного сернокислого калия растворяют в мерной колбе вместимостью 100 мл в дистиллированной воде. 1 мл раствора соответствует 1 мг серной кислоты.
Стандартный раствор с содержанием 0,1 мг/мл готовят соответствующим разбавлением.
Склянки для промывания газов типа СВТ по ГОСТ 25336-82.
Колориметрические пробирки (120´15 мм) из бесцветного стекла по ГОСТ 25336-82.
Пипетки по ГОСТ 20292-74 вместимостью 1, 2, 5 и 10 мл.
Мерные колбы по ГОСТ 1770-74 вместимостью 50, 100 мл.
Измененная редакция (Изм. № 1).
6.10.2. Отбор проб
Исследуемый воздух со скоростью 10 л/мин протягивают через две последовательно соединенные склянки для промывания газа, содержащие по 5 мл поглотительного раствора.
6.10.3. Определение концентрации
0,1-3 мл пробы отбирают в колориметрическую пробирку, добавляют 2 мл составного реактива и осторожно перемешивают, избегая образования воздушных пузырьков. Через 5 мин определяют интенсивность помутнения раствора в кюветах с толщиной слоя 10 мм относительно контрольного раствора при длине волны 364 нм. Содержание серного ангидрида и тумана серной кислоты в пробе находят по калибровочному графику.
Для построения калибровочной кривой в колориметрические пробирки вносят стандартные сочетания растворов и реактивов. Состав этих сочетаний и соответствующие им количества агрессивного агента приведены в табл. 8.
6.10.4. Обработка результатов - по п. 6.1.5.
Таблица 8
|
Реактив или раствор |
Количество раствора или реактива для номера стандартного сочетания |
|||||
|
Реактив для контроля |
1 |
2 |
3 |
4 |
5 |
|
|
Стандартный раствор № 2, мл |
- |
0,1 |
0,2 |
0,4 |
0,6 |
0,8 |
|
Поглотительный раствор, мл |
3 |
2,9 |
2,8 |
2,6 |
2,4 |
2,2 |
|
Составной реактив, мл |
Во все пробирки по 2 мл |
|||||
|
Содержание серного ангидрида и тумана серной кислоты, мг |
- |
0,01 |
0,02 |
0,04 |
0,06 |
0,08 |
6.11. Колориметрическое определение концентрации озона
Метод основан на реакции озона с иодистым калием. В результате реакции выделяется иод, который при взаимодействии с солянокислым диметил-п-фенилендиамином образует продукт, окрашенный в розово-фиолетовый цвет.
6.11.1. Реактивы, раствор, посуда
Фиксанал иода 0,01 н.
Калий йодистый по ГОСТ 4232-74, 1 %-ный раствор.
Диметил-п-фенилендиамин солянокислый по нормативно-технической документации, 0,02 % -ный раствор свежеприготовленный.
Натрия гидроокись по ГОСТ 4328-77, 0,1 н раствор.
Кислота соляная по ГОСТ 3118-77, 0,1 н раствор.
Стандартный раствор с содержанием 0,01 мг/мл иода: из фиксанала готовят 0,01 н раствор иода, 0,8 мл этого раствора вносят в мерную колбу вместимостью 100 мл и доводят поглотительным раствором (иодид калия) до метки.
В 1 мл полученного раствора содержится 0,01 мг иода.
Склянки для промывания газов типа СВТ по ГОСТ 25336-82.
Мерные колбы по ГОСТ 1770-74 вместимостью 100 мл.
Колориметрические пробирки по ГОСТ 25336-82 из бесцветного стекла высотой 120 мм диаметром 15 мм.
Пипетки по ГОСТ 20292-74 на 1, 5 и 10 мл.
Измененная редакция (Изм. № 1).
6.11.2. Отбор проб
Исследуемую газовоздушную смесь со скоростью 0,5-1 л/мин протягивают через склянку для промывания газа, содержащую 10 мл 1 %-ного раствора иодида калия.
6.11.3 Определение концентрации
0,1-5 мл пробы из склянки для промывания газа вносят в колориметрические пробирки. Объем пробы менее 5 мл доводят до 5 мл 2 %-ным раствором иодида калия.
Одновременно готовят стандартные сочетания растворов. Состав этих сочетаний и соответствующие им содержания иода приведены в табл. 9.
Таблица 9
|
Реактив или раствор |
Количество раствора или реактива для номера стандартного сочетания |
|||||
|
Реактив для контроля |
1 |
2 |
3 |
4 |
5 |
|
|
Стандартный раствор, мл |
- |
0,2 |
0,4 |
0,6 |
0,8 |
1,0 |
|
Поглотительный раствор, мл |
5 |
4,8 |
4,6 |
4,4 |
4,2 |
4 |
|
Содержание иода, мг |
- |
0,002 |
0,004 |
0,006 |
0,008 |
0,001 |
Во все пробирки шкалы стандартов и в пробу прибавляют по 0,5 мл 0,02 %-ного раствора солянокислого диметил-п-фенилендиамина и перемешивают. Через 10 - 15 мин сравнивают окраску проб со шкалой стандартов.
6.11.4. Обработка результатов
Концентрацию озона С в мг/м3 вычисляют по формуле
,
где V1 - общий объем раствора пробы в склянке для промывания газа, мл;
G - содержание иода в колориметрической пробирке, мг;
V - объем раствора пробы, взятый для анализа из склянки для промывания газа, мл;
V0 - объем пробы газовоздушной смеси, приведенный к нормальным условиям по ГОСТ 2939-63, л.
189 - коэффициент пересчета иода на озон.
6.12. Концентрацию амила н гептила определяют по нормативно-технической документации.
Параметры испытательного режима для изделий по п. 2.4.2 настоящего стандарта определяют по номограмме, представленной на чертеже настоящего приложения.
Номограмма построена в пяти горизонтально сопряженных квадрантах. Во втором, третьем и пятом квадрантах из начала координат в верхний правый, а в четвертом квадранте в нижний, правый угол проведены пунктирные, линии - направляющие прямые.
В первом квадранте номограммы на горизонтальной шкале указаны возможные значения массовой концентрации агрессивных сред в эксплуатации Сэ, мг/м3, каждая наклонная линия соответствует определенному значению массовой концентрации агрессивной среды при испытании Си, мг/м3.
Во втором квадранте каждая наклонная линия соответствует коэффициенту т, определённому для конкретной агрессивной среды.
В третьем квадранте каждая наклонная линия соответствует возможному значению времени воздействия агрессивной среды в эксплуатации tэ лет. На вертикальной шкале указана продолжительность испытания изделия t¢и, сут., при заданном времени tэ, получаемая при форсировании только массовой концентрацией агрессивной среды.
Если время испытаний t¢и получилось больше 100 сут, то уменьшение продолжительности испытаний до желаемого значения получают увеличением значений температуры и относительной влажности агрессивной среды при испытании по отношению к их эффективным значениям в эксплуатации.
Если испытания проводят при форсировании только концентрации, то значения температуры и относительной влажности при испытании должны соответствовать их эффективным значениям при эксплуатации, установленным в стандартах или технических условиях на изделия конкретных серий или типов или определяемым по ГОСТ 21126-75.
Измененная редакция (Изм. № 1).
В четвертом и пятом квадрантах каждая наклонная линия соответствует возможным эффективным значениям относительной влажности hэ, %, и температуры Тэ, °С, в эксплуатации.
На вертикальной шкале в пятом квадранте указана продолжительность испытаний изделий tи, сут, при заданном времени tэ, получаемая форсированием концентрации, температуры и относительной влажности агрессивной среды. Значения температуры и относительной влажности агрессивной среды в испытаниях равны Ти = (50±2)°С, hи = (97±3) %.
Измененная редакция (Изм. № 1).
Возможные значения продолжительности испытаний находятся в интервале 3 - 100 сут включительно. Если при определении времени его значение не попадает в этот интервал, то есть соответствует тому, что либо tи > 100 сут, либо tи < 3 сут, то следует изменить величину испытательной концентрации: в первом случае - увеличить; во втором - уменьшить; при этом не рекомендуется выбирать значение испытательной концентрации больше 5000 мг/м3.
Продолжительность испытаний определяют с помощью коэффициента т в зависимости от среды, в которой установлена эксплуатация изделия.
Порядок определения времени испытания изделия с помощью номограммы.
Задано: Сэ = 5 мг/м3, hэ = 80 %, Тэ = 27 °С, tэ = 25 лет.
Агрессивная среда NO2.
Испытания проводят при концентрации NO2 Си = 500 мг/м3.
Измененная редакция (Изм. № 1).

Номограмма определения времени испытаний изделия для заданного времени воздействия среды
Измененная редакция (Изм. № 1).
Продолжительность испытаний определяют в последовательности, указанной ниже (на номограмме - указана стрелками):
через деление с пометкой 5 на шкале Сэ проводят вертикаль до пересечения с наклонной прямой с пометкой Си = 500 (точка 1);
из точки 1 проводят горизонталь до пересечения с линией т = 1,02 (NO2) (точка 2);
из точки 2 проводят вертикаль до пересечения с направляющей прямой второго квадранта (точка 3);
из точки 3 проводят горизонталь до наклонной линии с пометкой tэ = 25 лет (точка 4);
из точки 4 проводят вертикаль до пересечения с направляющей прямой третьего квадранта (точка 5);
из точки 5 проводят горизонталь. На правой вертикальной шкале третьего квадранта получают продолжительность испытаний tи при форсировании только концентрацией. Полученное значение t¢и = 68 сут., т.е. можно проводить испытания в режиме Ти = Тэ = 27°С, hи = hэ = 80 % Си = 500 мг/м3 в течение 68 сут. Однако этот режим довольно продолжительный и его можно сократить, проводя испытания при Ти = (50±2) °С, tи = (98±2) %. По номограмме определяют продолжительность испытаний tи, для этого:
горизонталь, проведенную из точки 5, продолжают до линии с пометкой tэ = 80 (точка 6);
из точки 6 проводят вертикаль до пересечения с направляющей прямой четвертого квадранта (точка 7);
из точки 7 проводят горизонталь до линии с пометкой Тэ = 27 °С (точка 8);
из точки 8 проводят вертикаль до пересечения с направляющей прямой пятого квадранта (точка 9);
из точки 9 проводят горизонталь до пересечения с вертикальной шкалой пятого квадранта, по которой определяют значение tи. В данном случае продолжительность испытаний в режиме Ти = (50±2) °C, hи = (98±2) %, Cи = 500 мг/м3 составляет tи = 12 сут.
Все представленные на номограмме шкалы являются неравномерными. Для определения испытательного режима, соответствующего промежуточным значениям переменных, необходимо построение прямых, отвечающих заданным промежуточным значениям.