МИНИСТЕРСТВО ТРАНСПОРТА РОССИЙСКОЙ ФЕДЕРАЦИИ
|
УТВЕРЖДЕНО |
|
|
Государственным комитетом Российской Федерации по охране окружающей среды и гидрометеорологии 26.08.98 г. № 05-12/16-389 |
Министерством транспорта Российской Федерации 28.10.1998 г |
МЕТОДИКА
проведения инвентаризации
выбросов
загрязняющих веществ в атмосферу для
автотранспортных предприятий
(расчетным методом)
Методика проведения инвентаризации выбросов загрязняющих веществ в атмосферу для автотранспортных предприятий разработана по заказу Министерства транспорта Российской Федерации.
Методика предназначена для расчета валовых и максимально разовых выбросов от передвижных и стационарных источников, расположенных на территории автотранспортного предприятия.
С выходом данной Методики проведения инвентаризации выбросов загрязняющих веществ в атмосферу для автотранспортных предприятий отменяется действие ранее действовавшей Методики с аналогичным названием, утвержденной в 1992 году, и дополнения к ней, утвержденного в 1993 году.
В переработке Методики принимали участие: Донченко В.В., Манусаджянц Ж.Г., Самойлова Л.Г., Кунин Ю.И., Солнцева Г.Я. (НИИАТ), Рузский А.В., Кузнецов Ю.М. (МАДИ).
Внесены Дополнения и Изменения к "Методике проведения инвентаризации выбросов загрязняющих веществ в атмосферу для автотранспортных предприятий (расчетным методом)", утвержденные приказом Минтранса России от 01.01.99, включены в "Перечень документов по расчету выделений (выбросов) загрязняющих веществ в атмосферный воздух, действующих в 2001-2002 годах", утвержденный приказом МПР России от 25.04.2001, рекомендуемых к использованию.
Настоящая методика устанавливает порядок расчета валовых и максимально разовых выбросов загрязняющих веществ от источников загрязнения атмосферы на территории автотранспортных предприятий независимо от их ведомственной принадлежности и форм собственности, а также грузовых станций и терминалов, гаражей и стоянок автомобилей, организаций, предоставляющих услуги по техническому обслуживанию и ремонту автомобилей.
Основной целью инвентаризации выбросов загрязняющих веществ является получение исходных данных для:
разработки проектов нормативов предельно допустимых выбросов загрязняющих веществ в атмосферу как в целом от предприятий, так и по отдельным источникам загрязнения атмосферы;
организации контроля за соблюдением установленных норм выбросов загрязняющих веществ в атмосферу;
оценки экологических характеристик технологий, используемых на предприятии;
планирования воздухоохранных работ на предприятии.
Расчет валовых и максимально разовых выбросов загрязняющих веществ проводится с использованием удельных показателей, т.е. количества выделяемых загрязняющих веществ, приведенных к единицам используемого оборудования, времени работ автотранспортных средств или оборудования, пробега автотранспортных средств, массы расходуемых материалов.
Удельные показатели выделения загрязняющих веществ от производственных участков приведены на основании результатов исследований и наблюдений, проведенных различными научно-исследовательскими и проектными институтами
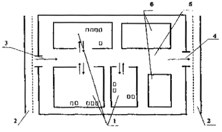
В настоящей методике под стоянкой автомобилей понимается территория или помещение, предназначенные для хранения автомобилей в течение определенного периода времени. Автомобили могут размещаться:
- на обособленных открытых стоянках или в отдельно стоящих зданиях и сооружениях (закрытые стоянки), имеющих непосредственный въезд и выезд на дороги общего пользования (расчетная схема 1, рис. 1);
- на открытых стоянках или в зданиях и сооружениях, не имеющих непосредственного въезда и выезда на дороги общего пользования и расположенных в границах объекта, для которого выполняется расчет (расчетная схема 2, рис 1).
Валовый и максимально разовый выброс загрязняющих веществ при выбранной расчетной схеме 1 определяются только для территории или помещения стоянки, а при схеме 2 - определяются для каждой стоянки автомобилей и для каждого внутреннего проезда.
Расчет выброса загрязняющих веществ от многоэтажных стоянок изложен в расчетной схеме 3.
Расчет выбросов загрязняющих веществ выполняется для шести загрязняющих веществ: оксида углерода - СО, углеводородов - СН, оксидов азота - NОx, в пересчете на диоксид азота NО2, твердых частиц - С, соединений серы, в пересчете на диоксид серы SO2 и соединений свинца - Рb. Для автомобилей с бензиновыми двигателями рассчитывается выброс СО, СН, NOx, SO2 и Pb (Pb - только для регионов, где используется этилированный бензин); с газовыми двигателями - СО, СН, NОx, SO2; с дизелями - СО, СН, NОx, С, SO2.
Расчетная схема 1.
Выбросы
i-го
вещества одним автомобилем к-й
группы в день при выезде с территории или помещения стоянки
и возврате
рассчитываются по
формулам:
(2.1)
(2.2)
где
- удельный выброс
i-го вещества при прогреве двигателя автомобиля к-й группы, г/мин;
-
пробеговый выброс i-го вещества, автомобилем к-й группы при движении со
скоростью 10 - 20 км/час, г/км;
-
удельный выброс i-го вещества при работе двигателя автомобиля к-й группы на
холостом ходу, г/мин;
tnp - время прогрева двигателя, мин;
L1, L2 - пробег автомобиля по территории стоянки, км:
-
время работы двигателя на холостом ходу при выезде с территории стоянки и
возврате на неё (мин).
Значения
удельных выбросов загрязняющих веществ
,
,
и
для различных типов
автомобилей представлены в табл. 2.1 - 2.18.
В таблицах применяются следующие обозначения:
тип двигателя: Б - бензиновый, Д - дизель, Г1) - газовый (сжатый природный газ); при использовании сжиженного нефтяного газа удельные выбросы загрязняющих веществ равны выбросам при использовании бензина, выброс Рb отсутствует;
период года: Т - теплый, Х - холодный;
условия хранения
автомобилей: БП - открытая или закрытая не отапливаемая стоянка без средств подогрева; СП - открытая стоянка, оборудованная средствами подогрева. Для теплых закрытых стоянок удельные выбросы загрязняющих веществ в холодный и переходный период года принимаются равными удельным выбросам в теплый период.
1) При использовании на автотранспортных средствах двигателей, работающих по газодизельному циклу, удельные выбросы принимаются равными выбросам при работе на дизельном топливе.
При установке на автомобилях каталитических нейтрализаторов к данным удельных выбросов, приведённых в таблицах 2.4 - 2.6, 2.14 - 2.15, применяются понижающие коэффициенты, указанные в примечаниях к таблицам.
Введение понижающих коэффициентов к удельным выбросам, представленных в таблицах 2.1 - 2.3, 2.7 - 2.13 и 2.16 - 2.18, при использовании каталитических нейтрализаторов, а также в таблицах 2.1 - 2.18, при использовании любых других устройств, предназначенных для снижения выбросов загрязняющих веществ, может осуществляться только по согласованию с региональными органами Госкомэкологии. При этом обязательным условием является наличие официального заключения независимой экспертизы, подтверждающего эффективность применения этих устройств на соответствующих моделях автомобилей в условиях, характерных для движения по территории стоянок.
Расчетная схема 1.

Расчетная схема 2.
Рис. 1. Варианты размещения стоянок
1 - территория или помещение стоянки;
2 - дороги общего пользования;
3 - въезд с дороги общего пользования;
4 - выезд на дороги общего пользования;
5 - внутренние проезды;
6 - здания и сооружения, не предназначенные для стоянки автомобилей.
Удельные выбросы загрязняющих веществ при прогреве двигателей легковых автомобилей
|
Тип двигателя |
Удельные выбросы загрязняющих веществ
( |
||||||||||||||||||
|
СО |
CH |
NOX |
SO2 |
Рb |
|||||||||||||||
|
Т |
X |
Т |
X |
Т |
X |
Т |
X |
АИ-93 |
А-92; А-76 |
||||||||||
|
Т |
X |
Т |
X |
||||||||||||||||
|
БП |
СП |
БП |
СП |
БП |
СП |
БП |
СП |
БП |
СП |
БП |
СП |
||||||||
|
до 1,2 |
Б |
2,6 |
5,1 |
3,4 |
0,26 |
0,40 |
0,32 |
0,02 |
0,03 |
0,02 |
0,008 |
0,010 |
0,009 |
0,005 |
0,006 |
0,005 |
0,003 |
0,003 |
0,003 |
|
свыше 1,2 до 1,8 |
Б |
4,0 |
7,1 |
4,8 |
0,38 |
0,60 |
0,48 |
0,03 |
0,04 |
0,03 |
0,010 |
0,013 |
0,011 |
0,006 |
0,008 |
0,007 |
0,003 |
0,004 |
0,004 |
|
свыше 1,8 до 3,5 |
Б |
5,0 |
9,1 |
6,2 |
0,65 |
1,00 |
0,80 |
0,05 |
0,07 |
0,05 |
0,013 |
0,016 |
0,014 |
0,007 |
0,009 |
0,008 |
0,003 |
0,004 |
0,004 |
|
свыше 3,5 |
Б |
9,5 |
19,0 |
12,4 |
1,15 |
1,73 |
1,38 |
0,07 |
0,09 |
0,07 |
0,018 |
0,021 |
0,019 |
0,010 |
0,012 |
0,011 |
0,004 |
0,005 |
0,005 |
Примечания: 1. В переходный период значения выбросов CO, CH, C, SO2 и Рb должны умножаться на коэффициент 0,9 от значений холодного периода. Выбросы NOX, равны выбросам в холодный период.
2. Удельные выбросы загрязняющих веществ при прогреве двигателей современных легковых автомобилей с улучшенными экологическими характеристиками принимаются по табл. 2.4. Здесь и далее под легковыми автомобилями с улучшенными экологическими характеристиками понимаются:
а) автомобили зарубежного производства (кроме стран СНГ), выпущенные после 01.01.1994 г.
б) автомобили производства стран СНГ, оснащенные двигателями с впрыском топлива.
в) автомобили зарубежных моделей, собираемые по лицензии на территории стран СНГ.
Пробеговые выбросы легковых автомобилей
|
Тип двигателя |
Удельные выбросы загрязняющих веществ
( |
||||||||||||
|
СО |
СН |
NOX |
SO2 |
Рb |
|||||||||
|
АИ-93 |
А-92; А-76 |
||||||||||||
|
Т |
X |
Т |
X |
Т |
X |
Т |
X |
Т |
X |
Т |
X |
||
|
до 1,2 |
Б |
13,8 |
17,3 |
1,3 |
1,9 |
0,23 |
0,23 |
0,040 |
0,050 |
0,019 |
0,024 |
0,009 |
0,011 |
|
свыше 1,2 до 1,8 |
Б |
15,8 |
19,8 |
1,6 |
2,3 |
0,28 |
0,28 |
0,060 |
0,070 |
0,028 |
0,035 |
0,013 |
0,016 |
|
свыше 1,8 до 3,5 |
Б |
17,0 |
21,3 |
1,7 |
2,5 |
0,40 |
0,40 |
0,070 |
0,090 |
0,035 |
0,044 |
0,016 |
0,021 |
|
свыше 3,5 |
Б |
24,0 |
30,0 |
2,4 |
3,6 |
0,56 |
0,56 |
0,105 |
0,130 |
0,053 |
0,067 |
0,025 |
0,032 |
Примечания: 1. В переходный период значения выбросов CO, CH, C, S02 и Рb должны умножаться на коэффициент 0,9 от значений холодного периода. Выбросы NOX, равны выбросам в холодный период.
2. Пробеговые выбросы загрязняющих веществ для современных легковых автомобилей с улучшенными экологическими характеристиками принимаются по табл. 2.5.
Удельные выбросы загрязняющих веществ на холостом ходу легковыми автомобилями
|
Тип двигателя |
Удельные выбросы загрязняющих веществ
( |
||||||
|
СО |
СН |
NOX |
SO2 |
Рb |
|||
|
АИ-93 |
А-92; А-76 |
||||||
|
до 1,2 |
Б |
2,5 |
0,20 |
0,02 |
0,008 |
0,005 |
0,002 |
|
свыше 1,2 до 1,8 |
Б |
3,5 |
0,30 |
0,03 |
0,010 |
0,006 |
0,003 |
|
свыше 1.8 до 3,5 |
Б |
4,5 |
0,40 |
0,05 |
0,012 |
0,007 |
0,003 |
|
свыше 3,5 |
Б |
7,0 |
0,80 |
0,08 |
0,016 |
0,009 |
0,005 |
Примечание: Удельные выбросы загрязняющих веществ на холостом ходу современными легковыми автомобилями с улучшенными экологическими характеристиками принимаются по табл. 2.5.
Удельные выбросы загрязняющих веществ при прогреве двигателей современных легковых автомобилей с улучшенными экологическими характеристиками
|
Тип двигателя |
Удельные выбросы загрязняющих веществ
( |
|
|||||||||||||||||||||
|
СО |
СН |
NOх |
С |
SO2 |
Рb |
|
|||||||||||||||||
|
Т |
X |
Т |
X |
Т |
X |
Т |
X |
Т |
X |
АИ-93 |
А-92; А-76 |
|
|||||||||||
|
Т |
X |
Т |
X |
|
|||||||||||||||||||
|
БП |
СП |
БП |
СП |
БП |
СП |
БП |
СП |
БП |
СП |
БП |
СП |
БП |
СП |
||||||||||
|
до 1,2 |
Б |
2,3 1,2 |
4,5 2,4 |
2,9 1,6 |
0,18 0,08 |
0,27 0,12 |
0,22 0,10 |
0,01 0,01 |
0,02 0,02 |
0,01 0,01 |
- |
- |
- |
0,008 0,007 |
0,009 0,008 |
0,008 0,007 |
0,004 0,004 |
0,005 0,005 |
0,005 0,005 |
0,002 0,002 |
0,003 0,003 |
0,003 0,003 |
|
|
|
Д |
0,14 |
0,21 |
0,17 |
0,06 |
0,07 |
0,06 |
0,06 |
0,09 |
0,07 |
0,002 |
0,004 |
0,003 |
0,032 |
0,038 |
0,034 |
- |
- |
- |
- |
- |
- |
|
|
свыше 1,2 до 1,8 |
Б |
3,0 1,7 |
6,0 3,4 |
3,9 2,2 |
0,31 0,14 |
0,47 0,21 |
0,38 0,17 |
0,02 0,02 |
0,03 0,03 |
0,02 0,02 |
- |
- |
- |
0,010 0,009 |
0,012 0,010 |
0,011 0,009 |
0,006 0,005 |
0,007 0,006 |
0,006 0,005 |
0,002 0,002 |
0,003 0,003 |
0,003 0,003 |
|
|
|
Д |
0,19 |
0,29 |
0,23 |
0,08 |
0,10 |
0,09 |
0,08 |
0,12 |
0,09 |
0,003 |
0,006 |
0,004 |
0,040 |
0,048 |
0,043 |
- |
- |
- |
- |
- |
- |
|
|
свыше 1,8 до 3,5 |
Б |
4,5 2,9 |
8,8 5,7 |
5,7 3,7 |
0,44 0,18 |
0,66 0,27 |
0,53 0,22 |
0,03 0,03 |
0,04 0,04 |
0,03 0,03 |
- |
- |
- |
0,012 0,011 |
0,014 0,013 |
0,013 0,012 |
0,007 0,006 |
0,009 0,008 |
0,008 0,007 |
0,003 0,003 |
0,004 0,004 |
0,004 0,004 |
|
|
|
Д |
0,35 |
0,53 |
0,42 |
0,14 |
0,17 |
0,15 |
0,13 |
0,20 |
0,16 |
0,005 |
0,010 |
0,007 |
0,048 |
0,058 |
0,052 |
- |
- |
- |
- |
- |
- |
|
|
свыше 3,5 |
Б |
9,0 4,8 |
18,0 9,6 |
11,7 6,3 |
0,88 0,39 |
1,30 0,58 |
1,04 0,46 |
0,05 0,05 |
0,06 0,06 |
0,05 0,05 |
- |
- |
- |
0,016 0,014 |
0,019 0,017 |
0,017 0,015 |
0,009 0,008 |
0,011 0,010 |
0,010 0,009 |
0,004 0,004 |
0,005 0,005 |
0,005 0,005 |
|
|
|
Д |
0,60 |
0,75 |
0,49 |
0,24 |
0,29 |
0,26 |
0,23 |
0,35 |
0,28 |
0,009 |
0,018 |
0,012 |
0,065 |
0,078 |
0,070 |
- |
- |
- |
- |
- |
- |
|
Примечания: 1. В числителе приведены данные для автомобилей, оснащенных двигателями с карбюраторами, в знаменателе с впрыском топлива.
2. В переходный период значения выбросов СО, СН, С, SO2 и Рb должны умножаться на коэффициент 0,9 от значений холодного периода года. Выбросы NOX, принимаются равными выбросам в холодный период.
3. Для автомобилей, оборудованных сертифицированными каталитическими нейтрализаторами и работающих на неэтилированном бензине, значения выбросов в таблице должны умножаться на коэффициенты:
для СО - на 0,7, СН и NOX
- на 0,8 при установке 3-х компонентных нейтрализаторов,
для СО - на 0,7, СН - на 0,8 при установке
2-х компонентных нейтрализаторов с дополнительной подачей воздуха
(окислительного типа).
Тип каталитического нейтрализатора определяется по техническому паспорту на нейтрализатор или инструкции по эксплуатации автомобиля.
Пробеговые выбросы современных легковых автомобилей, с улучшенными экологическими характеристиками
|
Тип двигателя |
Удельные выбросы загрязняющих веществ
( |
||||||||||||||
|
СО |
СН |
NOX |
С |
SO2 |
Pb |
||||||||||
|
АИ-93 |
А-92; А-76 |
||||||||||||||
|
Т |
X |
Т |
X |
Т |
X |
Т |
X |
Т |
X |
Т |
X |
Т |
X |
||
|
до 1,2 |
Б |
7,5 5,3 |
9,3 6,6 |
1,0 0,8 |
1,5 1,2 |
0,14 0,14 |
0,14 0,14 |
- |
- |
0,036 0,032 |
0,045 0,041 |
0,017 0,015 |
0,021 0,019 |
0,008 0,007 |
0,010 0,009 |
|
|
Д |
0,8 |
0,9 |
0,1 |
0,2 |
0,80 |
0,80 |
0,04 |
0,06 |
0,143 |
0,178 |
- |
- |
- |
- |
|
свыше 1,2 до 1,8 |
Б |
9,4 6,6 |
11,8 8,3 |
1,2 1,0 |
1,8 1,5 |
0,17 0,17 |
0,17 0,17 |
- |
- |
0,054 0,049 |
0,068 0,061 |
0,025 0,022 |
0,031 0,028 |
0,012 0,010 |
0,015 0,013 |
|
|
Д |
1,0 |
1,2 |
0,2 |
0,3 |
1,10 |
1,10 |
0,06 |
0,09 |
0,214 |
0,268 |
- |
- |
- |
- |
|
свыше 1,8 до 3,5 |
Б |
13,2 9,3 |
16,5 11,7 |
1,7 1,4 |
2,5 2,1 |
0,24 0,24 |
0,24 0,24 |
- |
- |
0,063 0,057 |
0,079 0,071 |
0,032 0,028 |
0,040 0,036 |
0,015 0,013 |
0,019 0,017 |
|
|
Д |
1,8 |
2,2 |
0,4 |
0,5 |
1,90 |
1,90 |
0,10 |
0,15 |
0,250 |
0,313 |
- |
- |
- |
- |
|
свыше 3,5 |
Б |
18,8 13,3 |
23,5 16,6 |
2,4 2,0 |
3,6 3,0 |
0,34 0,34 |
0,34 0,34 |
- |
- |
0,097 0,087 |
0,121 0,109 |
0,049 0,044 |
0,061 0,055 |
0,023 0,020 |
0,029 0,025 |
|
|
Д |
3,1 |
3,7 |
0,7 |
0,8 |
2,40 |
2,40 |
0,15 |
0,23 |
0,350 |
0,481 |
- |
- |
- |
- |
Примечания: 1. В числителе приведены данные для автомобилей, оснащенных двигателями с карбюраторами, в знаменателе - с системой впрыска топлива.
2. В переходный период значения выбросов CO, CH, C, SO2 и Pb должны умножаться на коэффициент 0,9 от значений холодного периода. Выбросы NOX, равны выбросам в холодный период.
3. Для автомобилей, оборудованных сертифицированными каталитическими нейтрализаторами и работающих на неэтилированном бензине, значения выбросов должны умножаться на коэффициенты:
для СО - на 0,2, СН и NOX - на 0,3 при установке 3-х компонентных нейтрализаторов;
для СО - на 0,2, СН - на 0,3 при установке 2-х компонентных нейтрализаторов с дополнительной подачей воздуха (окислительного типа)
Тип каталитического нейтрализатора определяется по техническому паспорту на нейтрализатор или инструкции по эксплуатации автомобиля
Удельные выбросы загрязняющих веществ на холостом ходу современными легковыми автомобилями с улучшенными экологическими характеристиками
|
Тип двигателя |
Удельные выбросы загрязняющих веществ
( |
|||||||
|
СО |
СН |
NOX |
С |
SO2 |
Рb |
|||
|
АИ-93 |
А-92; А-76 |
|||||||
|
до 1,2 |
Б |
1,5 0,8 |
0,15 0,07 |
0,01 0,01 |
- |
0,007 0,006 |
0,004 0,004 |
0,002 0,002 |
|
|
Д |
0,1 |
0,04 |
0,05 |
0,002 |
0,032 |
- |
- |
|
свыше 1,2 до 1,8 |
Б |
2,0 1,1 |
0,25 0,11 |
0,02 0,02 |
- |
0,009 0,008 |
0,005 0,004 |
0,002 0,002 |
|
|
Д |
0,1 |
0,06 |
0,07 |
0,003 |
0,040 |
- |
- |
|
свыше 1,8 до 3,5 |
Б |
3,5 1,9 |
0,35 0,15 |
0,03 0,03 |
- |
0,011 0,010 |
0,006 0,005 |
0,003 0,003 |
|
|
Д |
0,2 |
0,10 |
0,12 |
0,005 |
0,048 |
- |
- |
|
свыше 3,5 |
Б |
6,0 3,2 |
0,70 0,31 |
0,05 0,05 |
- |
0,015 0,013 |
0,008 0,007 |
0,004 0,004 |
|
|
Д |
0,4 |
0,17 |
0,21 |
0,008 |
0,065 |
- |
- |
Примечания: 1 В числителе приведены данные для автомобилей, оснащенных двигателями с карбюраторами, в знаменателе - с впрыском топлива.
2. Для автомобилей, оборудованных сертифицированными каталитическими нейтрализаторами и работающих на неэтилированном бензине, значения выбросов должны умножаться на коэффициенты:
для СО - на 0,2, СН и NOX - на 0,3 при установке 3-х компонентных нейтрализаторов;
для СО - на 0,2, СН на 0,3 при установке 2-х компонентных нейтрализаторов с дополнительной подачей воздуха (окислительного типа).
Тип каталитического нейтрализатора определяется по техническому паспорту нейтрализатора или инструкции по эксплуатации на автомобиль.
Удельные выбросы загрязняющих веществ при прогреве двигателей грузовых автомобилей, произведенных в странах СНГ
|
Тип двигателя |
Удельные выбросы загрязняющих веществ
( |
|||||||||||||||||||||
|
СО |
СН |
NOX |
С |
SO2 |
Рb |
|||||||||||||||||
|
Т |
X |
Т |
X |
Т |
X |
Т |
X |
Т |
X |
АИ-93 |
А-92; А-76 |
|||||||||||
|
Т |
X |
Т |
X |
|||||||||||||||||||
|
БП |
СП |
БП |
СП |
БП |
СП |
БП |
СП |
БП |
СП |
БП |
СП |
БП |
СП |
|||||||||
|
2 |
Б |
5,0 |
9,1 |
6,2 |
0,65 |
1,00 |
0,80 |
0,05 |
0,07 |
0,05 |
- |
- |
- |
0,013 |
0,016 |
0,014 |
0,007 |
0,009 |
0,008 |
0,003 |
0,004 |
0,004 |
|
|
Д |
1,5 |
2,4 |
1,9 |
0,20 |
0,50 |
0,30 |
0,40 |
0,60 |
0,40 |
0,01 |
0,040 |
0,026 |
0,054 |
0,065 |
0,059 |
- |
- |
- |
- |
- |
- |
|
свыше 2 до 5 |
Б |
15,0 |
28,1 |
18,3 |
1,50 |
3,80 |
2,50 |
0,20 |
0,30 |
0,20 |
- |
- |
- |
0,020 |
0,025 |
0,022 |
- |
- |
- |
0,005 |
0,006 |
0,005 |
|
|
Г |
7,6 |
14,3 |
9,3 |
0,89 |
2,20 |
1,50 |
0,20 |
0,30 |
0,20 |
- |
- |
- |
0,018 |
0,023 |
0,020 |
- |
- |
- |
- |
- |
- |
|
|
Д |
1,9 |
3,1 |
2,5 |
0,30 |
0,60 |
0,40 |
0,50 |
0,70 |
0,50 |
0,02 |
0,080 |
0,040 |
0,072 |
0,086 |
0,077 |
- |
- |
- |
- |
- |
- |
|
свыше 5 до 8 |
Б |
18,0 |
33,2 |
19,5 |
2,60 |
6,60 |
4,10 |
0,20 |
0,30 |
0,20 |
- |
- |
- |
0,028 |
0,036 |
0,032 |
- |
- |
- |
0,006 |
0,008 |
0,007 |
|
|
Г |
9,2 |
16,9 |
10,0 |
1,53 |
3,90 |
2,40 |
0,20 |
0,30 |
0,20 |
- |
- |
- |
0,026 |
0,033 |
0,029 |
- |
- |
- |
- |
- |
- |
|
|
Д |
2,8 |
4,4 |
3,6 |
0,38 |
0,80 |
0,50 |
0,60 |
0,80 |
0,60 |
0,03 |
0,120 |
0,060 |
0,090 |
0,108 |
0,097 |
- |
- |
- |
- |
- |
- |
|
свыше |
Б |
18,0 |
33,2 |
19,5 |
2,60 |
6,60 |
4,10 |
0,20 |
0,30 |
0,20 |
- |
- |
- |
0,028 |
0,036 |
0,032 |
- |
- |
- |
0,006 |
0,008 |
0,007 |
|
8 до 16 |
Д |
3,0 |
8,2 |
5,3 |
0,40 |
1,10 |
0,70 |
1,00 |
2,00 |
1,00 |
0,04 |
0160 |
0,080 |
0,113 |
0,136 |
0,122 |
- |
- |
- |
- |
- |
- |
|
свыше 16 |
Д |
3,0 |
8,2 |
5,3 |
0,40 |
1,10 |
0,70 |
1,00 |
2,00 |
1,00 |
0,04 |
0,160 |
0,080 |
0,113 |
0,136 |
0,122 |
- |
- |
- |
- |
- |
- |
Примечания: 1. В переходный период значения выбросов CO, CH, C, SО2 и Рb должны умножаться на коэффициент 0,9 от значений холодного периода. Выбросы NOX, равны выбросам в холодный период.
2. При комплектации автомобилей дизелями, удовлетворяющими требованиям Правил ЕЭК ООН №49-02A и 49-02В (ЕВРО-1 и ЕВРО-2) по токсичности, значения выбросов загрязняющих веществ принимаются по таблице 2.10.
Пробеговые выбросы загрязняющих веществ грузовыми автомобилями, произведенными в странах СНГ
|
Тип двигателя |
Удельные выбросы загрязняющих веществ
( |
||||||||||||||
|
СО |
СН |
NOX |
С |
SO2 |
Pb |
||||||||||
|
АИ-93 |
А-92; А-76 |
||||||||||||||
|
Т |
X |
Т |
X |
Т |
X |
Т |
X |
т |
X |
Т |
X |
Т |
X |
||
|
до 2 |
Б |
22,7 |
28,5 |
2,8 |
3,5 |
0,6 |
0,6 |
- |
- |
0,09 |
0,11 |
0,044 |
0,054 |
0,021 |
0,026 |
|
|
Д |
2,3 |
2,8 |
0,6 |
0,7 |
2,2 |
2,2 |
0,15 |
0,20 |
0,33 |
0,41 |
- |
- |
- |
- |
|
свыше 2 до 5 |
Б |
29,7 |
37,3 |
5,5 |
6,9 |
0,8 |
0,8 |
- |
- |
0,15 |
0,19 |
- |
- |
0,035 |
0,043 |
|
|
Г |
15,2 |
19,0 |
3,3 |
4,1 |
0,8 |
0,8 |
- |
- |
0,14 |
0,17 |
- |
- |
- |
- |
|
|
Д |
3,5 |
4,3 |
0,7 |
0,8 |
2,6 |
2,6 |
0,20 |
0,30 |
0,39 |
0,49 |
- |
- |
- |
- |
|
свыше 5 до 8 |
Б |
47,4 |
59,3 |
8,7 |
10,3 |
1,0 |
1,0 |
- |
- |
0,18 |
0,22 |
- |
- |
0,044 |
0,054 |
|
|
Г |
24,2 |
30,2 |
5,1 |
6,1 |
1,0 |
1,0 |
- |
- |
0,16 |
0,20 |
- |
- |
- |
- |
|
|
Д |
5,1 |
6,2 |
0,9 |
1,1 |
3,5 |
3,5 |
0,25 |
0,35 |
0,45 |
0,56 |
- |
- |
- |
- |
|
свыше 8 до 16 |
Б |
79,0 |
98,8 |
10,2 |
12,4 |
1,8 |
1,8 |
- |
- |
0,24 |
0,28 |
- |
- |
0,059 |
0,069 |
|
|
Д |
6,1 |
7,4 |
1,0 |
1,2 |
4,0 |
4,0 |
0,30 |
0,40 |
0,54 |
0,67 |
- |
- |
- |
- |
|
свыше 16 |
Д |
7,5 |
9,3 |
1,1 |
1,3 |
4,5 |
4,5 |
0,40 |
0,50 |
0,78 |
0,97 |
- |
- |
- |
- |
Примечания: 1. В переходный период значения выбросов CO, CH, C, S02 и Рb должны умножаться на коэффициент 0,9 от значений холодного периода. Выбросы NOX, равны выбросам в холодный период.
2. При комплектации автомобилей дизелями, удовлетворяющими требованиям Правил ЕЭК ООН №49-02A и 49-02В (ЕВРО-1 и ЕВРО-2) по токсичности, значения выбросов загрязняющих веществ принимаются по таблице 2.11.
3. Для грузовых автомобилей, оборудованных сертифицированными 2-х компонентными нейтрализаторами с дополнительной подачей воздуха (окислительного типа) и работающих на неэтилированном бензине значения выбросов СО должны умножаться на коэффициент 0,2, СН - 0,3.
Удельные выбросы загрязняющих веществ на холостом ходу грузовыми автомобилями, произведенными в странах СНГ
|
Тип двигателя |
Удельные выбросы загрязняющих веществ
( |
|||||||
|
СО |
СН |
NOX |
С |
SO2 |
Рb |
|||
|
АИ-93 |
А-92; А-76 |
|||||||
|
до 2 |
Б |
4,5 |
0,40 |
0,05 |
|
0,012 |
0,007 |
0,003 |
|
|
Д |
0,8 |
0,20 |
0,16 |
0,015 |
0,054 |
- |
- |
|
свыше 2 до 5 |
Б |
10,2 |
1,70 |
0,20 |
- |
0,020 |
- |
0,005 |
|
|
Г |
5,2 |
1,00 |
0,20 |
- |
0,018 |
- |
- |
|
|
Д |
1,5 |
0,25 |
0,50 |
0,020 |
0,072 |
- |
- |
|
свыше 5 до 8 |
Б |
13,5 |
2,20 |
0.20 |
- |
0,029 |
- |
0,006 |
|
|
Г |
6,9 |
1,30 |
0,20 |
- |
0,026 |
- |
- |
|
|
Д |
2,8 |
0,35 |
0,60 |
0,030 |
0,090 |
- |
- |
|
свыше 8 до 16 |
Б |
13,5 |
2,90 |
0,20 |
- |
0,029 |
- |
0,006 |
|
|
Д |
2,9 |
0,45 |
1,00 |
0,040 |
0,100 |
- |
- |
|
свыше 6 |
Д |
2,9 |
0,45 |
1,00 |
0,040 |
0,100 |
- |
- |
Примечания: 1. При комплектации автомобилей дизелями, удовлетворяющими требованиям Правил ЕЭК ООН №49-02A и 49-02В (ЕВРО-1 и ЕВРО-2) по токсичности, значения выбросов загрязняющих веществ принимаются по таблице 2.12.
2. Для грузовых автомобилей, оборудованных сертифицированными 2-х компонентными нейтрализаторами с дополнительной подачей воздуха (окислительного типа) и работающих на неэтилированном бензине значения выбросов СО должны умножаться на коэффициент 0,2, СН - 0,3.
Удельные выбросы загрязняющих веществ при прогреве двигателей иностранных грузовых автомобилей выпуска после 01.01.94 г.
|
Тип двигателя |
Удельные выбросы загрязняющих веществ
( |
|||||||||||||||||||||
|
СО |
СН |
NOX |
С |
SO2 |
Рb |
|||||||||||||||||
|
Т |
X |
Т |
X |
Т |
X |
Т |
X |
Т |
X |
АИ-93 |
А-92; А-76 |
|||||||||||
|
Т |
X |
Т |
X |
|||||||||||||||||||
|
БП |
СП |
БП |
СП |
БП |
СП |
БП |
СП |
БП |
СП |
БП |
СП |
БП |
СП |
|||||||||
|
|
Б |
4,5 |
8,8 |
5,7 |
0,44 |
0,66 |
0,53 |
0,03 |
0,04 |
0,03 |
- |
- |
- |
0,012 |
0,014 |
0,013 |
0,007 |
0,009 |
0,008 |
0,003 |
0,004 |
0,004 |
|
до 2 |
|
2,9 |
5,7 |
3,7 |
0,16 |
0,24 |
0,21 |
0,03 |
0,04 |
0,03 |
|
|
|
0,011 |
0,013 |
0,012 |
0,006 |
0,008 |
0,007 |
0,003 |
0,004 |
0,004 |
|
|
Д |
0,35 |
0,53 |
0,42 |
0,14 |
0,17 |
0,15 |
0,13 |
0,20 |
0,16 |
0,005 |
0,010 |
0,007 |
0,048 |
0,058 |
0,052 |
- |
- |
- |
- |
- |
- |
|
свыше 2 до 5 |
Д |
0,58 |
0,87 |
0,70 |
0,25 |
0,30 |
0,27 |
0,22 |
0,33 |
0,26 |
0,008 |
0,016 |
0,011 |
0,065 |
0,078 |
0,070 |
- |
- |
- |
- |
- |
- |
|
свыше 5 до 8 |
Д |
0,86 |
1,29 |
1,03 |
0,38 |
0,46 |
0,41 |
0,32 |
0,48 |
0,38 |
0,012 |
0,024 |
0,016 |
0,081 |
0,097 |
0,087 |
- |
- |
- |
- |
- |
- |
|
свыше 8 до 18 |
Д |
1,34 |
2,00 |
1,60 |
0,59 |
0,71 |
0,64 |
0,51 |
0,77 |
0,62 |
0,019 |
0,038 |
0,025 |
0,100 |
0,120 |
0,108 |
- |
- |
- |
- |
- |
- |
|
свыше 18 |
Д |
1,65 |
2,50 |
2,00 |
0,80 |
0,96 |
0,86 |
0,62 |
0,93 |
0,74 |
0,023 |
0,046 |
0,030 |
0,112 |
0,134 |
0,121 |
- |
- |
- |
- |
- |
- |
Примечания: 1. В числителе приведены данные для автомобилей, оснащенных двигателями с карбюраторами, в знаменателе - с впрыском топлива.
2. В переходный период значения выбросов CO, CH, C, SО2 и Рb должны умножаться на коэффициент 0,9 от значений холодного периода. Выбросы NOX, равны выбросам в холодный период.
Пробеговые выбросы загрязняющих веществ иностранными грузовыми автомобилями выпуска после 01.01.94 г.
|
Тип двигателя |
Удельные выбросы загрязняющих веществ
( |
||||||||||||||
|
СО |
СН |
NOX |
С |
SO2 |
Рb |
||||||||||
|
АИ-93 |
А-92; А-76 |
||||||||||||||
|
Т |
X |
Т |
X |
Т |
X |
Т |
X |
Т |
X |
Т |
X |
Т |
X |
||
|
до 2 |
Б |
15, 8 |
19,8 |
2,0 |
2,9 |
0,3 |
0,3 |
- |
- |
0,080 |
0,100 |
0,038 |
0,047 |
0,018 |
0,022 |
|
|
|
11,2 |
14,0 |
1,7 |
2,5 |
0,3 |
0,3 |
|
|
0,070 |
0,090 |
0,034 |
0,043 |
0,016 |
0,020 |
|
|
Д |
1,8 |
2,2 |
0,4 |
0,5 |
1,9 |
1,9 |
0,10 |
0,15 |
0,250 |
0,313 |
- |
- |
- |
- |
|
свыше 2 до 5 |
Д |
2,9 |
3,5 |
0,5 |
0,6 |
2,2 |
2,2 |
0,13 |
0,20 |
0,340 |
0,430 |
- |
- |
- |
- |
|
свыше 5 до 8 |
Д |
4,1 |
4,9 |
0,6 |
0,7 |
3,0 |
3,0 |
0,15 |
0,23 |
0,400 |
0,500 |
- |
- |
- |
- |
|
свыше 8 до 16 |
Д |
4,9 |
5,9 |
0,7 |
0,8 |
3,4 |
3,4 |
0,20 |
0,30 |
0,475 |
0,590 |
- |
- |
- |
- |
|
свыше 16 |
Д |
6,0 |
7,2 |
0,8 |
1,0 |
3,9 |
3,9 |
0,30 |
0,45 |
0,690 |
0,860 |
- |
- |
- |
- |
Примечания: 1. В числителе приведены данные для автомобилей, оснащенных двигателями с карбюраторами, в знаменателе - с впрыском топлива.
2. В переходный период значения выбросов CO, CH, C, SО2 и Рb должны умножаться на коэффициент 0,9 от значений холодного периода. Выбросы NOX, равны выбросам в холодный период.
3. Для грузовых автомобилей, оборудованных штатными каталитическими нейтрализаторами и работающих на неэтилированном бензине, значения выбросов должны умножаться на коэффициенты:
для СО - на 0,2, СН и NOX - на 0,3 при установке 3-х компонентных нейтрализаторов;
для СО - на 0,2, СН на 0,3 при установке 2-х компонентных нейтрализаторов с дополнительной подачей воздуха (окислительного типа).
Тип каталитического нейтрализатора определяется по техническому паспорту нейтрализатора или инструкции по эксплуатации на автомобиль.
Удельные выбросы загрязняющих веществ на холостом ходу иностранными грузовыми автомобилями выпуска после 01.01.94 г.
|
Тип двигателя |
Удельные выбросы загрязняющих веществ
( |
|||||||
|
СО |
СН |
NOX |
С |
SO2 |
Рb |
|||
|
АИ-93 |
А-92; А-76 |
|||||||
|
|
Б |
3,5 |
0,35 |
0,03 |
- |
0,011 |
0,006 |
0,003 |
|
до 2 |
|
1,9 |
0,15 |
0,03 |
|
0,010 |
0,005 |
0,003 |
|
|
Д |
0,22 |
0,11 |
0,12 |
0,005 |
0,048 |
- |
- |
|
свыше 2 до 5 |
Д |
0,36 |
0,18 |
0,20 |
0,008 |
0,065 |
. |
|
|
свыше 5 до 8 |
Д |
0,54 |
0,27 |
0,29 |
0,012 |
0,081 |
- |
- |
|
свыше 8 до 16 |
Д |
0,84 |
0,42 |
0,46 |
0,019 |
0,100 |
- |
. |
|
свыше 16 |
Д |
1,03 |
0,57 |
0,56 |
0,023 |
0,112 |
- |
- |
Примечания: 1. В числителе приведены данные для автомобилей, оснащенных двигателями с карбюраторами, в знаменателе - с впрыском топлива.
2. Для грузовых автомобилей, оборудованных штатными каталитическими нейтрализаторами и работающих на неэтилированном бензине, значения выбросов должны умножаться на коэффициенты:
для СО - на 0,2, СН и NOX - на 0,3 при установке 3-х компонентных нейтрализаторов;
для СО - на 0,2, СН - на 0,3 при установке 2-х компонентных нейтрализаторов с дополнительной подачей воздуха (окислительного типа).
Тип каталитического нейтрализатора определяется по техническому паспорту нейтрализатора или инструкции по эксплуатации на автомобиль.
Удельные выбросы загрязняющих веществ при прогреве двигателей автобусов, произведенных в странах СНГ
|
Тип двигателя |
Удельные выбросы загрязняющих веществ
( |
||||||||||||
|
СО |
СН |
NOX |
С |
||||||||||
|
Т |
X |
Т |
X |
Т |
X |
Т |
X |
||||||
|
БП |
СП |
БП |
СП |
БП |
СП |
БП |
СП |
||||||
|
Особо малый |
Б |
5,0 |
9,1 |
6,2 |
0,65 |
1,00 |
0,80 |
0,05 |
0,07 |
0,05 |
- |
- |
- |
|
(до 5,5) |
Д |
1,5 |
2,4 |
1,9 |
0,20 |
0,50 |
0,30 |
0,40 |
0,60 |
0,40 |
0,010 |
0,040 |
0,026 |
|
Малый |
Б |
15,0 |
28,1 |
18,3 |
1,50 |
3,80 |
2,50 |
0,20 |
0,30 |
0,20 |
- |
- |
- |
|
(6,0 - 7,5) |
Д |
1,9 |
3,1 |
2,5 |
0,30 |
0,60 |
0,40 |
0,50 |
0,70 |
0,50 |
0,020 |
0,080 |
0,040 |
|
Средний |
Б |
18,0 |
33,2 |
19,5 |
2,60 |
6,60 |
4,10 |
0,20 |
0,30 |
0,20 |
- |
- |
- |
|
(8,0 - 10,0) |
Д |
2,8 |
4,4 |
3,6 |
0,40 |
0,80 |
0,50 |
0,60 |
0,80 |
0,60 |
0,030 |
0,120 |
0,068 |
|
Большой |
Б |
22,8 |
42,0 |
24,8 |
3,10 |
7,70 |
5,00 |
0,20 |
0,30 |
0,20 |
- |
- |
- |
|
(10,5 - 12,0) |
Д |
4,6 |
8,2 |
5,3 |
0,45 |
1,10 |
0,70 |
1,00 |
2,00 |
1,00 |
0,040 |
0,160 |
0,080 |
|
Особо большой (сочлененный 16,5 - 24,0) |
Д |
4,6 |
8,2 |
5,3 |
0,45 |
1,10 |
0,70 |
1,00 |
2,00 |
1,00 |
0,040 |
0,160 |
0,080 |
|
Тип двигателя |
Удельные выбросы загрязняющих веществ
( |
||||||||||
|
SO2 |
Pb |
||||||||||
|
Т |
X |
АИ-93 |
А-92; А-76 |
||||||||
|
Т |
X |
Т |
X |
||||||||
|
БП |
СП |
БП |
СП |
БП |
СП |
||||||
|
Особо малый (до 5,5) |
Б |
0,013 |
0,016 |
0,014 |
0,007 |
0,009 |
0,008 |
0,003 |
0,004 |
0,004 |
|
|
|
Д |
0,054 |
0,065 |
0,059 |
- |
- |
- |
- |
- |
- |
|
|
Малый (6,0 - 7,5) |
Б |
0,020 |
0,025 |
0,022 |
- |
- |
- |
0,005 |
0,006 |
0,005 |
|
|
|
Д |
0,072 |
0,086 |
0,077 |
- |
- |
- |
- |
- |
- |
|
|
Средний (8,0 - 10,0) |
Б |
0,028 |
0,036 |
0,032 |
- |
- |
- |
0,005 |
0,008 |
0,007 |
|
|
|
Д |
0,090 |
0,108 |
0,097 |
- |
- |
- |
- |
- |
- |
|
|
Большое (10,5 - 12,0) |
Б |
0,033 |
0,043 |
0,039 |
- |
- |
- |
0,006 |
0,009 |
0,008 |
|
|
|
Д |
0,113 |
0,136 |
0,122 |
- |
- |
- |
- |
- |
- |
|
|
Особо большой (сочлененный 16,5 - 24,0) |
Д |
0,113 |
0,136 |
0,122 |
- |
- |
- |
- |
- |
- |
|
Примечания: 1. В переходный период значения выбросов CO, CH, C, SО2 и РЬ должны умножаться на коэффициент 0,9 от значений холодного периода. Выбросы NOX, равны выбросам в холодный период.
2. При комплектации автобусов дизелями, удовлетворяющими требованиям Правил ЕЭК ООН №49-02A и 49-02В (ЕВРО-1 и ЕВРО-2) по токсичности, значения выбросов загрязняющих веществ принимаются по таблице 2.16.
Пробеговые выбросы загрязняющих веществ автобусами, произведенными в странах СНГ
|
Тип двигателя |
Удельные выбросы загрязняющих веществ
( |
||||||||||||||
|
СО |
СН |
NOX |
С |
SO2 |
Рb |
||||||||||
|
АИ-93 |
А-92; А-76 |
||||||||||||||
|
Т |
X |
Т |
X |
Т |
X |
Т |
X |
Т |
X |
Т |
X |
Т |
X |
||
|
Особо малый (до 5,5) |
Б |
22,7 |
28,5 |
2,8 |
3,5 |
0,6 |
0,6 |
- |
- |
0,09 |
0,11 |
0,040 |
0,054 |
0,021 |
0,026 |
|
|
Д |
2,3 |
2,8 |
0,6 |
0,7 |
2,2 |
2,2 |
0,15 |
0,20 |
0,33 |
0,41 |
- |
- |
- |
- |
|
Малый (6,0 - 7,5) |
Б |
29,7 |
37,3 |
5,5 |
6,9 |
0,8 |
0,8 |
- |
- |
0,15 |
0,19 |
- |
- |
0,035 |
0,043 |
|
|
Д |
3,5 |
4,3 |
0,7 |
0,8 |
2,6 |
2,6 |
0,20 |
0,30 |
0,39 |
0,49 |
- |
- |
- |
- |
|
Средний (8,0 - 10,0) |
Б |
47,4 |
59,3 |
8,7 |
10,3 |
1,0 |
1,0 |
- |
- |
0,18 |
0,22 |
- |
- |
0,044 |
0,054 |
|
|
Д |
5,1 |
6,2 |
0,9 |
1,1 |
3,5 |
3,5 |
0,20 |
0,30 |
0,45 |
0,56 |
- |
- |
- |
- |
|
Большой (10,5 - 12,0) |
Б |
55,3 |
68,8 |
9,9 |
11,9 |
1,2 |
1,2 |
- |
- |
0,22 |
0,26 |
- |
- |
0,053 |
0,065 |
|
|
Д |
5,1 |
6,2 |
0,9 |
1,1 |
3,5 |
3,5 |
0,25 |
0,35 |
0,45 |
0,56 |
- |
- |
- |
- |
|
Особо большой (сочлененный, 16,5 - 24,0) |
Д |
7,5 |
9,3 |
1,1 |
1,3 |
4,5 |
4,5 |
0,30 |
0,40 |
0,78 |
0,97 |
- |
- |
- |
- |
Примечания: 1. В переходный период значения выбросов CO, CH, C, SО2 и РЬ должны умножаться на коэффициент 0,9 от значений холодного периода. Выбросы NOX, равны выбросам в холодный период.
2. При комплектации автобусов дизелями, удовлетворяющими требованиям Правил ЕЭК ООН №49-02A и 49-02В (ЕВРО-1 и ЕВРО-2) по токсичности, значения выбросов загрязняющих веществ принимаются по таблице 2.17.
3. Для автобусов, оборудованных сертифицированными 2-х компонентными нейтрализаторами с дополнительной подачей воздуха (окислительного типа) и работающих на неэтилированном бензине значения выбросов СО должны умножаться на коэффициент 0,2, СН - 0,3.
Удельные выбросы загрязняющих веществ на холостом ходу автобусами, произведенными в странах СНГ
|
Тип двигателя |
Удельные выбросы загрязняющих веществ
( |
|||||||
|
СО |
СН |
NOX |
С |
SO2 |
Pb |
|||
|
АИ-93 |
А-92; А-76 |
|||||||
|
Особо малый (до 5,5) |
Б |
4,5 |
0,40 |
0,05 |
- |
0,012 |
0,007 |
0,003 |
|
|
Д |
0,8 |
0,20 |
0,16 |
0,01 |
0,054 |
- |
- |
|
Малый (6,0 - 7,5) |
Б |
10,2 |
1,70 |
0,20 |
- |
0,020 |
- |
0,005 |
|
|
Д |
1,5 |
0,25 |
0,50 |
0,02 |
0,072 |
- |
- |
|
Средний (8,0 - 10,0) |
Б |
13,5 |
2,20 |
0,25 |
- |
0,029 |
- |
0,006 |
|
|
Д |
2,8 |
0,30 |
0,60 |
0,03 |
0,090 |
- |
- |
|
Большой (10,5 - 12,0) |
Б |
17,2 |
2,80 |
0,30 |
- |
0,029 |
- |
0,007 |
|
|
Д |
3,5 |
0,40 |
0,80 |
0,04 |
0,100 |
- |
- |
|
Особо большой (сочлененный 16,5 - 24,0) |
Д |
3,5 |
0,40 |
0,80 |
0,04 |
0,100 |
- |
- |
Примечания: 1. При комплектации автобусов дизелями, удовлетворяющими требованиям Правил ЕЭК ООН №49-02A и 49-02В (ЕВРО-1 и ЕВРО-2) по токсичности, значения выбросов загрязняющих веществ принимаются по таблице 2.18.
2. Для автобусов, оборудованных сертифицированными 2-х компонентными нейтрализаторами с дополнительной подачей воздуха (окислительного типа) и работающих на неэтилированном бензине значения выбросов СО должны умножаться на коэффициент 0,2, СН - 0,3.
Удельные выбросы загрязняющих веществ при прогреве двигателей иностранных автобусов выпуска после 01.01.94 г.
|
Тип двигателя |
Удельные выбросы загрязняющих веществ
( |
||||||||||||||||||||||
|
СО |
СН |
NOX |
С |
SO2 |
Pb |
||||||||||||||||||
|
Т |
X |
Т |
X |
Т |
X |
Т |
X |
Т |
X |
АИ-93 |
А-92; А-76 |
||||||||||||
|
Т |
X |
Т |
X |
||||||||||||||||||||
|
БП |
СП |
БП |
СП |
БП |
СП |
БП |
СП |
БП |
СП |
БП |
СП |
БП |
СП |
||||||||||
|
Особо малый (до 5,5) |
Б |
4,5 2,9 |
8,8 5,7 |
5,7 3,7 |
0,44 0,16 |
0,66 0,24 |
0,53 0,21 |
0,03 0,03 |
0,04 0,04 |
0,03 0,03 |
- |
- |
- |
0,012 0,011 |
0,014 0,013 |
0,013 0,012 |
0,007 0,006 |
0,009 0,008 |
0,008 0,007 |
0,003 0,003 |
0,004 0,004 |
0,004 0,004 |
|
|
|
Д |
0,35 |
0,53 |
0,42 |
0,14 |
0,17 |
0,15 |
0,13 |
0,20 |
0,16 |
0,005 |
0,010 |
0,007 |
0,048 |
0,058 |
0,052 |
- |
- |
- |
- |
- |
- |
|
|
Малый (6,0 - 7,5) |
Д |
0,48 |
0,72 |
0,58 |
0,21 |
0,25 |
0,23 |
0,23 |
0,35 |
0,28 |
0,007 |
0,014 |
0,010 |
0,056 |
0,067 |
0,060 |
- |
- |
- |
- |
- |
- |
|
|
Средний (8,0 - 10,0) |
Д |
1,22 |
1,82 |
1,46 |
0,53 |
0,64 |
0,58 |
0,57 |
0,86 |
0,68 |
0,016 |
0,032 |
0,021 |
0,084 |
0,100 |
0,091 |
- |
- |
- |
- |
- |
- |
|
|
Большой (10,5 - 12,0) |
Д |
1,49 |
2,23 |
1,78 |
0,66 |
0,79 |
0,71 |
0,69 |
1,04 |
0,83 |
0,020 |
0,040 |
0,030 |
0,100 |
0,120 |
0,108 |
- |
- |
- |
- |
- |
- |
|
|
Особо большой сочлененный 16,5 - 24,0) |
Д |
1,49 |
2,23 |
1,78 |
0,66 |
0,79 |
0,71 |
0,69 |
1,04 |
0,83 |
0,020 |
0,040 |
0,030 |
0,100 |
0,120 |
0,108 |
- |
- |
- |
- |
- |
- |
|
Примечания: 1. В числителе приведены данные для автобусов, оснащенных двигателями с карбюраторами, в знаменателе - с впрыском топлива.
2. В переходный период значения выбросов CO, CH, C, SО2 и Рb должны умножаться на коэффициент 0,9 от значений холодного периода. Выбросы NOX, равны выбросам в холодный период.
3. Значения выбросов для автобусов Икарус с двигателями Д2156 HM6U и D2156 HM6UT принимаются по табл. 2.13
Пробеговые выбросы загрязняющих веществ иностранными автобусами выпуска после 01.01.94 г.
|
Тип двигателя |
Удельные выбросы загрязняющих веществ
( |
||||||||||||||
|
СО |
СН |
NOX |
С |
SO2 |
Pb |
||||||||||
|
АИ-93 |
А-92; А-76 |
||||||||||||||
|
Т |
X |
Т |
X |
Т |
X |
Т |
X |
Т |
X |
Т |
X |
Т |
X |
||
|
Особо малый (до 5,5) |
Б |
15,8 11,2 |
19,8 14,0 |
2,0 1,7 |
2,9 2,5 |
0,3 0,3 |
0,3 0,3 |
- |
- |
0,080 0,070 |
0,100 0,090 |
0,038 0,034 |
0,047 0,043 |
0,018 0,016 |
0,022 0,020 |
|
|
Д |
1,8 |
2,2 |
0,4 |
0,5 |
1,9 |
1,9 |
0,10 |
0,15 |
0,250 |
0,313 |
- |
- |
- |
- |
|
Малый (6,0 - 7,5) |
Д |
2,9 |
3,5 |
0,5 |
0,6 |
2,2 |
2,2 |
0,13 |
0,20 |
0,340 |
0,430 |
- |
- |
- |
- |
|
Средний (8,0 - 10,0) |
Д |
4,1 |
4,9 |
0,6 |
0,7 |
3,0 |
3,0 |
0,15 |
0,23 |
0,400 |
0,500 |
- |
- |
- |
- |
|
Большой (10,5 - 12,0) |
Д |
4,9 |
5,9 |
0,7 |
0,8 |
3,4 |
3,4 |
0,20 |
0,30 |
0,475 |
0,590 |
- |
- |
- |
- |
|
Особо большой (сочлененный, 16,5 - 24,0) |
Д |
5,5 |
6,7 |
0,8 |
1,0 |
3,8 |
3,8 |
0,25 |
0,35 |
0,600 |
0,780 |
- |
- |
- |
- |
Примечания: 1. В числителе приведены данные для автобусов, оснащенных двигателями с карбюраторами, в знаменателе - с впрыском топлива.
2. В переходный период значения выбросов CO, CH, C, SО2 и Рb должны умножаться на коэффициент 0,9 от значений холодного периода. Выбросы NOX, равны выбросам в холодный период.
3. Значения выбросов для автобусов Икарус с двигателями Д2156 HM6U и D2156 HM6UT принимаются по табл. 2.14
4. Для автобусов, оборудованных штатными каталитическими нейтрализаторами и работающих на неэтилированном бензине, значения выбросов должны умножаться на коэффициенты:
для СО - на 0,2, СН и NOX - на 0,3 при установке 3-х компонентных нейтрализаторов;
для СО - на 0,2, СН - на 0,3 при установке 2-х компонентных нейтрализаторов с дополнительной подачей воздуха (окислительного типа).
Тип каталитического нейтрализатора определяется по техническому паспорту нейтрализатора или инструкции по эксплуатации на автомобиль.
Удельные выбросы загрязняющих веществ из холостом ходу иностранными автобусами выпуска после 01.01.94 г.
|
Тип двигателя |
Удельные выбросы загрязняющих веществ
( |
|||||||
|
СО |
СН |
NOX |
С |
SO2 |
Pb |
|||
|
АИ-93 |
А-92; А-76 |
|||||||
|
Особо малый (до 5,5) |
Б |
3,50 1,90 |
0,35 0,15 |
0,03 0,03 |
- |
0,011 0,010 |
0,006 0,005 |
0,003 0,003 |
|
|
Д |
0,22 |
0,11 |
0,12 |
0,005 |
0,048 |
- |
- |
|
Малый (6,0 - 7,5) |
Д |
0,30 |
0,15 |
0,21 |
0,007 |
0,056 |
- |
- |
|
Средний (8,0 - 10,0) |
Д |
0,76 |
0,38 |
0,52 |
0,016 |
0,084 |
- |
- |
|
Большой (10,5 - 12,0) |
Д |
0,93 |
0,47 |
0,63 |
0,020 |
0,100 |
- |
- |
|
Особо большой (сочлененный 16,5 - 24,0) |
Д |
0,93 |
0,47 |
0,63 |
0,020 |
0,100 |
- |
- |
Примечания: 1. В числителе приведены данные для автобусов, оснащенных двигателями с карбюраторами, в знаменателе - с впрыском топлива.
2. Значения выбросов для автобусов Икарус с двигателями Д2156 HM6U и D2156 HM6UT принимаются по табл. 2.15
3. Для автобусов, оборудованных штатными каталитическими нейтрализаторами и работающих на неэтилированном бензине, значения выбросов должны умножаться на коэффициенты:
для СО - на 0,2, СН и NOX - на 0,3 при установке 3-х компонентных нейтрализаторов;
для СО - на 0,2, СН - на 0,3 при установке 2-х компонентных нейтрализаторов с дополнительной подачей воздуха (окислительного типа).
Тип каталитического нейтрализатора определяется по техническому паспорту нейтрализатора или инструкции по эксплуатации на автомобиль.
Приведенные
в таблицах удельные выбросы загрязняющих веществ, при прогреве и работе
двигателя на холостом ходу соответствуют ситуации, когда не осуществляется
регулярный контроль и регулирование двигателей в соответствии с требованиями ГОСТ
17.2.2.03-87 и ГОСТ
21393-75. При проведении экологического контроля удельные выбросы
загрязняющих веществ автомобилями снижаются, поэтому
и
должны
пересчитываться по формулам:
(2.3)
(2.4)
где кi - коэффициент, учитывающий снижение выброса i-го загрязняющего вещества при проведении экологического контроля (табл 2.19).
Значения коэффициентов снижения удельных выбросов
|
Значения ki |
||||||
|
СО |
СН |
NOX |
С |
SO2 |
Рb |
|
|
Б |
0,80 |
0,90 |
1,00 |
- |
0,95 |
0,95 |
|
Д |
0,90 |
0,90 |
1,00 |
0,80 |
0,95 |
- |
Периоды
года (холодный, теплый, переходный) условно определяются по величине
среднемесячной температуры. Месяцы, в которых среднемесячная температура ниже
-5
, относятся к холодному периоду, месяцы со среднемесячной
температурой выше +5
- к теплому периоду и
с температурой от -5
до + 5
- к переходному
Длительность расчетных периодов и среднемесячные температуры определяются по
Справочнику по климату.
Время прогрева двигателя tnp зависит от температуры воздуха (табл. 2.20).
Время прогрева двигателя tnp в зависимости от температуры воздуха (открытые и закрытые не отапливаемые стоянки)
|
Время прогрева tnp, мин. |
|||||||
|
выше 5 °С |
ниже 5 °С до -5 °С |
ниже -5 °С до -10 °С |
ниже -10 °С до -15 °С |
ниже -15 °С до -20 °С |
ниже -20 °С до -25 °С |
ниже -25 °С |
|
|
Легковой автомобиль |
3 |
4 |
10 |
15 |
15 |
20 |
20 |
|
Грузовой автомобиль и автобус |
4 |
6 |
12 |
20 |
25 |
30 |
30 |
Примечания: 1. При хранении автомобилей на теплых закрытых стоянках принимаются значения tnp = 1,5 мин
2. Для маршрутных автобусов, хранящихся на открытых стоянках без средств подогрева при температуре воздуха ниже -10 °С, принимается tnp = 8 мин. при условии периодического прогрева двигателя по 15 мин. Этот дополнительный выброс должен учитываться при расчете выбросов по формуле 2.1.
3. При хранении грузовых автомобилей и автобусов на открытых стоянках, оборудованных средствами подогрева, при температуре воздуха ниже - 5 °С tnp = 6 мин., при хранении легковых автомобилей - tnp = 4 мин.
4. В неучтенных ситуациях tnp может приниматься по фактическим замерам.
Средний пробег автомобилей по территории или помещению стоянки L1 (при выезде) и L2, (при возврате) определяется по формулам:
(2.5)
(2.6)
где L1Б, L1Д - пробег автомобиля от ближайшего к выезду и наиболее удаленного от выезда места стоянки до выезда со стоянки км,
L2Б, L2Д - пробег автомобиля от ближайшего к въезду и наиболее удаленного от въезда места стоянки автомобиля до въезда на стоянку, км.
Продолжительность работы двигателя на холостом ходу при выезде (въезде) автомобиля со стоянки tхх1 = tхх2 = 1 мин
Валовый выброс i-го вещества автомобилями рассчитывается раздельно для каждого периода года по формуле:
(2.7)
где
- коэффициент выпуска
(выезда);
NK - количество автомобилей к-й группы на территории или в помещении стоянки за расчетный период;
Dp - количество дней работы в расчетном периоде (холодном, теплом, переходном);
j - период года (Т - теплый, П - переходный, Х - холодный); для холодного периода расчет Мi выполняется для каждого месяца
(2.8)
где Nкв - среднее за расчетный период количество автомобилей к-й группы, выезжающих в течении суток со стоянки.
Для
станций технического обслуживания
определяется как
отношение фактического количества автомобилей к-й группы, прошедших техническое
обслуживание или ремонт за расчетный период, к максимально возможному
количеству автомобилей.
Влияние холодного и переходного периодов года на выбросы загрязняющих веществ учитывается только для выезжающих автомобилей, хранящихся на открытых и закрытых неотапливаемых стоянках.
Для определения общего валового выброса Мi валовые выбросы одноименных веществ по периодам года суммируются:
(2.9)
Максимально разовый выброс i-го вещества Gi рассчитывается для каждого месяца по формуле:
(2.10)
где
- количество
автомобилей к-й группы, выезжающих со стоянки за 1 час, характеризующийся
максимальной интенсивностью выезда автомобилей.
Из полученных значений Gi выбирается максимальное.
Расчетная схема 2.
Расчет валового и максимально разового выброса загрязняющих веществ oт каждой стоянки расчетного объекта выполняется согласно расчетной схеме 1.
Валовый выброс i-го вещества при движении автомобилей по р-му внутреннему проезду расчетного объекта при выезде и возврате Mnpi рассчитывается раздельно для каждого периода года по формуле:
(2.11)
где Lp - протяженность р-го внутреннего проезда, км;
Nкр - среднее количество автомобилей к-й группы, проезжающих по р-му внутреннему проезду в сутки;
j - период года.
Для определения общего валового выброса MПi валовые выбросы одноименных веществ по периодам года суммируются
(2.12)
Максимально разовый выброс i-го вещества для р-го внутреннего проезда Gpi рассчитывается для каждого месяца по формуле:
(2.13)
где
- количество
автомобилей к-й группы, проезжающих по р-му проезду за 1 час.,
характеризующийся максимальной интенсивностью движения
Из полученных значений Gi выбирается максимальное.
Расчетная схема 3.
Выброс i-го вещества одним автомобилем к-й группы в день при выезде из многоэтажной стоянки М1iк, и возврате М2iк, рассчитывается по формулам:
(2.14)
(2.15)
где Lп - длина пандуса многоэтажной стоянки, км;
Kпi, - коэффициент, учитывающий изменение выброса загрязняющих веществ при движении по пандусу при выезде и въезде на стоянку (табл. 2.21).
Значения коэффициента изменения выброса загрязняющих веществ при движении по пандусу
|
Значения Kпi |
||||||
|
СО |
СН |
NOX |
С |
SO2 |
Pb |
|
|
Б |
2,0 0,5 |
2,0 0,5 |
3,0 0,2 |
- |
1,4 0,5 |
1,4 0,5 |
|
Д |
1,5 0,2 |
1,5 0,2 |
3,5 0,1 |
4,0 0,1 |
2,0 0,1 |
- |
Примечание: В числителе приведены значения Kпi, для подъема по пандусу, в знаменателе - для спуска
Валовый и общий валовый выброс i-го вещества рассчитывается по формулам 2.7 и 2.9.
Максимально
разовый выброс i-го вещества
рассчитывается для
каждого месяца по формуле:
(2.16)
где
- количество
автомобилей к-й группы, выезжающих со стоянки и въезжающих на стоянку за 1 час,
характеризующийся максимальной интенсивностью выезда (для подземных многоэтажных
стоянок) или въезда (для наземных многоэтажных стоянок).
Из полученных значений Gi выбирается максимальное.
Общие положения
В автотранспортных предприятиях наряду с передвижными источниками загрязнения атмосферного воздуха имеются и стационарные. Выбросы от стационарных источников загрязнения могут быть организованными и неорганизованными.
К организованным выбросам относятся те, которые поступают в атмосферу через специальные устройства: вытяжные трубы, газоходы, воздуховоды и др., что позволяет применять для их очистки специальные фильтры и др. устройства
К неорганизованным выбросам относятся те, которые в виде ненаправленных потоков поступают в атмосферу из-за отсутствия или неудовлетворительной работы вытяжной вентиляции, удаляющей загрязняющие вещества от мест их выделения.
Перед началом проведения инвентаризации выбросов необходимо:
- ознакомиться со всеми технологическими процессами, выполняемыми в предприятии;
- определить вид выделяющихся загрязняющих веществ и источники их выделения;
- определить наличие очистных устройств;
- ознакомиться с проектной документацией, имеющейся на предприятии, а также с паспортами очистных устройств и актами испытаний вентиляционных систем.
Если предприятие имеет две и более территории, то инвентаризацию следует проводить по каждой территории отдельно.
При инвентаризации, наряду с определением общего валового выброса загрязняющих веществ, необходимо определять и количество загрязняющих веществ, улавливаемых имеющимися установками очистки выбросов.
При наличии на производственном участке двух и более вытяжных вентиляционных труб общее количество валовых и максимально разовых выбросов загрязняющих веществ распределяется между ними следующим образом:
- при наличии вытяжных труб без принудительной вентиляции - пропорционально диаметрам этих труб;
- при наличии труб с принудительной вентиляцией - пропорционально производительности этих систем.
В зонах технического обслуживания (ТО) и текущего ремонта (ТР) источниками выделения загрязняющих веществ являются автомобили, перемещающиеся по помещению зоны. Для автомобилей с бензиновыми двигателями рассчитывается выброс СО, СН, NOХ, SO2 и Рb (Pb - только при использовании этилированного бензина); с газовыми двигателями - СО, СН, NOХ, SO2; с дизелями - СО, СН, NOХ, C, SO2.
Для помещения зоны ТО и ТР с тупиковыми постами валовый выброс i-го вещества рассчитывается по формуле:
(3.1.1)
где
- пробеговый выброс
i-го вещества автомобилем к-й группы, г/км (табл. 2.1 - 2.18);
- удельный выброс i-го
вещества при прогреве двигателя к-й группы, г/мин (табл. 2.1 - 2.18);
St - расстояние от ворот помещения до поста ТО и ТР, км,
nк - количество ТО и ТР, проведенных в течение года для автомобилей к-й группы;
tпр - время прогрева, tпр = 1,5 мин.
Максимально разовый выброс i-го вещества GTi, рассчитывается по формуле:
(3.1.2)
где
- наибольшее
количество автомобилей, находящихся в зоне ТО и ТР на тупиковых постах в
течение часа.
Для помещения зоны ТО с поточной линией валовый выброс i-го вещества рассчитывается по формуле:
(3.1.3)
где Sn - расстояние от въездных ворот помещения зоны ТО и ТР до выездных ворот, км;
b - число постов на поточной линии.
Максимально разовый выброс i-го вещества Gni рассчитывается по формуле:
для поточных линий Gni
(3.1.4)
где
- наибольшее
количество автомобилей, находящихся в зоне ТО и ТР на поточных линиях в течение
часа.
tnp - время прогрева, tnp = 0,5 мин.
Расчёт GTi и GПi производится для автомобилей, имеющих наибольшие удельные выбросы по i-му компоненту1).
1) При специализации постов или поточных линий в зонах ТО и ТР по типу обслуживаемого или ремонтируемого подвижного состава (например - легковые и грузовые, бензиновые и дизельные и т.п.) расчеты проводятся отдельно для каждой группы специализированных постов или линий, а результаты суммируются. При этом расчет GTi и GПi по каждому типу подвижного состава проводится для автомобилей, имеющих наибольшие удельные выбросы по i-му компоненту.
Значения
удельных выбросов
и
принимаются для
теплого периода года.
При наличии нескольких помещений зон ТО и ТР расчет валовых и максимально разовых выбросов проводится для каждого помещения отдельно. При нахождении в одном помещении поточных линий и тупиковых постов выброс одноименных веществ суммируется.
При нахождении в зоне ТО и ТР поста контроля токсичности отработавших газов максимально разовый выброс от зоны ТО и ТР и поста контроля суммируется.
Котлоагрегаты котельных работают на различных видах топлива (твердом, жидком и газообразном), поэтому выбросы загрязняющих веществ от их сжигания будут различны.
К учитываемым загрязняющим веществам относятся: твердые частицы, азота оксиды (в пересчёте на NO2), углерода оксид, ангидрид сернистый, мазутная зола в пересчете на ванадий.
Расчет выбросов вышеуказанных загрязняющих веществ при сжигании топлива в собственных котельных производится в соответствии с действующей методикой [2].
При расчете максимально разового выброса берется расход топлива за самый холодный месяц года.
Для автомобилей с бензиновыми двигателями и двигателями, работающими на газовом топливе, рассчитывается выброс СО, СН, NOХ, SO2 и Рb (Pb - только при использовании этилированного бензина); с дизелями - СО, СН, NOХ, C, SO2.
Валовые выбросы i-ro вещества и максимально разовые выбросы рассчитываются по формулам:
для помещения мойки с тупиковыми постами:
(3.3.1)
где
- пробеговый выброс i-ro вещества автомобилем к-й
группы, г/км (табл. 2.1 - 2.18);
- удельный выброс i-ro вещества
при прогреве двигателя к-й группы, г/мин (табл. 2.1 - 2.18);
St - расстояние от ворот помещения до моечной установки, км;
nк - количество автомобилей к-й группы, обслуживаемых постом мойки в течение года;
tnp - время прогрева, tnp - 0,5 мин.
(3.3.2)
где Nк - наибольшее количество автомобилей, обслуживаемых мойкой в течение часа.
для помещений мойки с поточными линиями при перемещении автомобиля самоходом
(3.3.2)
где SП - расстояние от въездных ворот помещения мойки до выездных ворот, км;
b - среднее число пусков двигателя одного автомобиля в помещении мойки.
(3.3.4)
при перемещении автомобиля с помощью конвейера
(3.3.5)
(3.3.6)
где S1, S2 - расстояние от въездных ворот до конвейера и от конвейера до выездных ворот, км
Значения
удельных выбросов
и
принимаются для
теплого периода года. При наличии нескольких помещений мойки расчет mi
и Gi
проводится для каждого помещения отдельно.
Расчёт GTi и GПi производится для автомобилей, имеющих наибольшие удельные выбросы по i-му компоненту1).
1) При специализации постов или поточных линий в помещениях мойки по типу обслуживаемого подвижного состава (например - легковые, грузовые, автобусы и т.п.) расчеты проводятся отдельно для каждой группы специализированных постов или линий, а результаты суммируются. При этом расчет GTi и GПi no каждому типу подвижного состава проводится для автомобилей, имеющих наибольшие удельные выбросы по i-му компоненту.
На окрасочных участках лакокрасочные покрытия могут наноситься различными способами (распылением, окунанием, струйным обливом и др.).
Распыление краски может быть пневматическое, безвоздушное, гидроэлектростатическое, пневмоэлектрическое, электростатическое.
На окрасочных участках проводится как подготовительная работа - приготовление краски и поверхностей к окраске, так и само нанесение краски и сушка. Окраска и сушка осуществляется как в специальных камерах, так и просто в помещении окрасочного участка. В процессе выполнения этих работ выделяются загрязняющие вещества в виде паров растворителей и аэрозоля краски. Количество выделяемых загрязняющих веществ зависит от применяемых окрасочных материалов, методов окраски и эффективности работы очистных устройств.
Так как нанесение шпатлевки, как правило, осуществляется вручную и загрязняющих веществ в атмосферный воздух поступает в очень малом количестве, расчет их не производится.
Для расчета загрязняющих веществ, выделяющихся на окрасочном участке, необходимо иметь нижеследующие данные:
1. Годовой расход лакокрасочных материалов и их марки.
2. Годовой расход растворителей и их марки.
3. Процентное выделение аэрозолей краски и растворителя при различных методах окраски и при сушке (табл. 3.4.1).
4. Процент летучей части компонентов, содержащихся в красках и растворителях (табл. 3.4.2).
5. Наличие и эффективность очистных устройств (по паспортным данным ).
Расчет выделения загрязняющих веществ на окрасочном участке следует вести раздельно для каждой марки краски и растворителей.
В начале определяем валовый выброс аэрозоля краски (в зависимости от марки) при окраске различными способами по формуле:
(3.4.1)
где m - количество израсходованной краски за год, кг;
-
доля краски, потерянной в виде аэрозоля при различных способах окраски, %
(табл. 3.4.1);
f1 - количество сухой части краски, в % (табл. 3.4.2).
Валовый выброс летучих компонентов в растворителе и краске, если окраска и сушка проводятся в одном помещении, рассчитывается по формуле:
(3.4.2)
где m1 - количество растворителей, израсходованных за год, кг;
f2 - количество летучей части краски в % (табл. 3.4.2);
fpip - количество различных летучих компонентов в растворителях, в % (табл. 3.4.2);
fpiк - количество различных летучих компонентов, входящих в состав краски (грунтовки, шпатлевки), в % (табл. 3.4.2).
Валовый выброс загрязняющего вещества, содержащегося в данном растворителе (краске), следует считать по данной формуле, для каждого вещества отдельно.
При проведении окраски и сушки в разных помещениях, валовые выбросы подсчитываются по формулам:
для окрасочного помещения:
(3.4.3)
для помещения сушки:
(3.4.4)
Общая сумма валового выброса однотипных компонентов определяется по формуле:
(3.4.5)
Максимально разовое количество загрязняющих веществ, выбрасываемых в атмосферу, определяется в г за секунду в наиболее напряженное время работы, когда расходуется наибольшее количество окрасочных материалов (например, в дни подготовки к годовому осмотру). Такой расчет производится для каждого компонента отдельно по формуле:
(3.4.6)
где t - число рабочих часов в день в наиболее напряженный месяц, час;
n - число дней работы участка в этом месяце;
-
валовый выброс аэрозоля краски и отдельных компонентов растворителей за месяц,
выделившихся при окраске и сушке, рассчитанный по формулам (3.4.1,
3.4.2,
3.4.3,
3.4.4,
3.4.5).
При этом принимается m
-масса краски и m - масса растворителя, израсходованных за самый напряженный
месяц.
При наличии работающих очистных устройств для улавливания загрязняющих веществ, выделяющихся при окраске, доля уловленного валового выброса загрязняющих веществ определяется по формуле:
(3.4.7)
где Mi - валовый выброс i-го загрязняющего компонента в ходе производства (окраски, сушки), т.е. рассчитанная по формулам 3.4.1, 3.4.2, 3.4.3, 3.4.4. 3.4.5, за год;
А - коэффициент, учитывающий исправную работу очистных устройств;
- эффективность данного
очистного устройства по паспортным данным, (в долях единицы).
Коэффициент А рассчитывается по формуле:
(3.4.8)
где N - количество дней исправной работы очистных устройств в год;
N1 - количество дней работы окрасочного участка в год.
Валовый выброс загрязняющих веществ, попадающих в атмосферный воздух, при наличии очистных устройств, будет определяться при окраске и сушке по каждому компоненту отдельно по формуле:
(3.4.9)
Максимально разовый выброс загрязняющих веществ при наличии очистных устройств определяется по формуле:
(3.4.10)
при
этом
определяется по
формуле:
(3.4.11)
где:
- определяется по
формулам (3.4.1,
3.4.2,
3.4.3,
3.4.4)
для каждого компонента отдельно. При этом принимается m - масса краски и
масса растворителя,
израсходованных за самый напряженный месяц.
Если очистные устройства какое-то время не работали, то максимально разовый выброс определяется по формуле 3.4.6.
Таблицы 3.4.1 и 3.4.2 составлены на основании данных [3].
Доля выделения загрязняющих веществ (%) при окраске и сушке различными способами
|
Выделение вредных компонентов |
|||
|
доля краски (%), потерянной в виде
аэрозоля ( |
доля растворителя (%) выделяющегося
при окраске ( |
доля растворителя (%), выделяющегося
при сушке ( |
|
|
1. Распыление: - пневматическое |
30 |
25 |
75 |
|
- безвоздушное |
2,5 |
23 |
77 |
|
- пневмоэлектростатическое |
3,5 |
20 |
80 |
|
- электростатическое |
0,3 |
50 |
50 |
|
-гидроэлектростатическое |
1,0 |
25 |
75 |
|
2. Окунание |
- |
28 |
72 |
Состав наиболее распространенных лакокрасочных материалов
|
Компоненты (летучая часть, fp), входящие в состав лакокрасочных материалов, % |
Доля летучей части, %, (f2) |
Доля сухой части, %, (f1) |
|||||||||||||
|
ацетон |
нефрас |
небутиловый спирт |
бутилацетат |
ксилол |
уайтспирит |
толуол |
этиловый спирт |
2-этоксиэтанол |
этилацетат |
сольвент |
изобутиловый спирт |
бензин; циклогексанон* |
|||
|
1 |
2 |
3 |
4 |
5 |
6 |
7 |
8 |
9 |
10 |
11 |
12 |
13 |
14 |
15 |
16 |
|
Эмаль АС-182 |
- |
- |
- |
- |
85,00 |
5,00 |
- |
- |
- |
- |
10,00 |
- |
- |
47 |
53 |
|
ГФ-92ХС |
- |
- |
- |
- |
- |
- |
- |
- |
- |
- |
100,0 |
- |
- |
44 |
56 |
|
ГФ-92ГС |
- |
- |
- |
- |
- |
- |
- |
- |
- |
- |
100,0 |
- |
- |
43 |
57 |
|
МЛ-12 |
- |
- |
20,78 |
- |
- |
20,14 |
- |
- |
1,40 |
- |
57,68 |
- |
- |
65 |
35 |
|
МС-17 |
- |
- |
- |
- |
100,0 |
- |
- |
- |
- |
- |
- |
- |
- |
57 |
43 |
|
МЛ-152 |
- |
- |
20,85 |
- |
39,76 |
13,0 |
- |
- |
- |
- |
14,07 |
9,59 |
2,73 |
52 |
48 |
|
МЛ-197 |
- |
39,22 |
41,42 |
8,42 |
- |
2,01 |
- |
- |
8,93 |
- |
- |
- |
- |
49 |
51 |
|
НЦ-11 |
- |
- |
10,00 |
25,0 |
- |
- |
25,0 |
15,0 |
- |
25,0 |
- |
- |
- |
74,5 |
25,5 |
|
НЦ-25 |
7,0 |
- |
15,00 |
10,0 |
- |
- |
45,0 |
15,0 |
8,00 |
- |
- |
- |
- |
66 |
34 |
|
НЦ-132П |
8,0 |
- |
15,00 |
8,0 |
- |
- |
41,0 |
20,0 |
8,00 |
- |
- |
- |
- |
80 |
20 |
|
НЦ-257 |
7,0 |
- |
15,00 |
10,0 |
- |
- |
50,0 |
10,0 |
8,00 |
- |
- |
- |
- |
62 |
38 |
|
НЦ-1125 |
7,0 |
- |
10,00 |
10,0 |
- |
- |
50,0 |
15,0 |
8,00 |
- |
- |
- |
- |
60 |
40 |
|
ПФ-115 |
- |
- |
- |
- |
50,00 |
50,00 |
- |
- |
- |
- |
- |
- |
- |
45 |
55 |
|
ПФ-133 |
- |
- |
- |
- |
50,00 |
50,00 |
- |
- |
- |
- |
- |
- |
- |
50 |
50 |
|
ХВ-124 |
26,0 |
- |
- |
12,0 |
- |
- |
62 |
- |
- |
- |
- |
- |
- |
27 |
73 |
|
КО-935 |
- |
- |
- |
- |
- |
- |
100,0 |
- |
- |
- |
- |
- |
- |
30 |
70 |
|
Лаки БТ-99 |
- |
- |
- |
- |
96,00 |
4,00 |
- |
- |
- |
- |
- |
- |
- |
56 |
44 |
|
БТ-577 |
- |
- |
- |
- |
57,40 |
42,60 |
- |
- |
- |
- |
- |
- |
- |
63 |
37 |
|
БТ-985 |
- |
- |
- |
- |
- |
100,0 |
- |
- |
- |
- |
- |
- |
- |
60 |
40 |
|
МЛ-92 |
- |
- |
10,0 |
- |
40,00 |
40,00 |
- |
- |
- |
- |
- |
10,0 |
- |
47,5 |
52,5 |
|
НЦ-218 |
- |
- |
9,0 |
9,0 |
23,50 |
- |
23,50 |
16,0 |
3,0 |
16,0 |
- |
- |
- |
70 |
30 |
|
НЦ-221 |
5,05 |
- |
19,98 |
15,04 |
- |
- |
39,95 |
6,99 |
3,0 |
9,99 |
- |
- |
- |
83,1 |
16,9 |
|
НЦ-222 |
- |
- |
9,49 |
9,23 |
- |
- |
46,54 |
15,64 |
3,2 |
15,9 |
- |
- |
- |
78 |
22 |
|
НЦ-243 |
- |
- |
20,0 |
- |
- |
- |
50,0 |
10,00 |
8,0 |
7,0 |
- |
- |
5* |
74 |
26 |
|
Грунтовки АК-070 |
20,04 |
- |
12,60 |
- |
67,36 |
- |
- |
- |
- |
- |
- |
- |
- |
86 |
14 |
|
ГФ-017 |
- |
- |
- |
- |
100,0 |
- |
- |
- |
- |
- |
- |
- |
- |
51 |
49 |
|
ГФ-0119 |
- |
- |
- |
- |
100,0 |
- |
- |
- |
- |
- |
- |
- |
- |
47 |
53 |
|
ГФ-032 |
- |
- |
- |
- |
- |
- |
- |
- |
- |
- |
100,0 |
- |
- |
61 |
39 |
|
ГФ-021 |
- |
- |
- |
- |
100,0 |
- |
- |
- |
- |
- |
- |
- |
- |
45 |
55 |
|
ВЛ-02 |
28,20 |
- |
28,20 |
- |
6,0 |
- |
- |
37,60 |
- |
- |
- |
- |
- |
79 |
21 |
|
ВЛ-023 |
22,78 |
- |
24,06 |
3,17 |
- |
- |
1,28 |
48,71 |
- |
- |
- |
- |
- |
74 |
26 |
|
HЦ-0140 |
- |
- |
15,00 |
20,00 |
- |
- |
20,00 |
10,00 |
15,0 |
15,0 |
- |
- |
5* |
80 |
20 |
|
ПФ-020 |
- |
- |
- |
- |
100,0 |
- |
- |
- |
- |
- |
- |
- |
- |
43 |
57 |
|
ФЛ-0ЗК |
- |
- |
- |
- |
50,0 |
50,0 |
- |
- |
- |
- |
- |
- |
- |
30 |
70 |
|
МЛ-029 |
- |
- |
42,62 |
- |
57,38 |
- |
- |
- |
- |
- |
- |
- |
- |
40 |
60 |
|
ХС-010 |
26,0 |
- |
- |
12,00 |
- |
- |
62,00 |
- |
- |
- |
- |
- |
- |
67 |
33 |
|
Растворители 646 |
7,0 |
- |
15,0 |
10,0 |
- |
- |
50,00 |
10,00 |
8,0 |
- |
- |
- |
- |
100 |
- |
|
647 |
- |
- |
7,7 |
29,8 |
- |
- |
41,30 |
- |
21,2 |
- |
- |
- |
- |
100 |
- |
|
648 |
- |
- |
20,0 |
50,0 |
- |
- |
20,00 |
10,0 |
- |
- |
- |
- |
- |
100 |
- |
|
Р-4 |
26,0 |
- |
- |
12,0 |
- |
- |
62,00 |
- |
- |
- |
- |
- |
- |
100 |
- |
|
Р-5, Р-5А |
30,0 |
- |
- |
30,0 |
40,0 |
- |
- |
- |
- |
- |
- |
- |
- |
100 |
- |
|
РФГ |
- |
- |
75,0 |
- |
- |
- |
- |
25,0 |
- |
- |
- |
- |
- |
100 |
- |
|
PC-2 |
- |
- |
- |
- |
30,0 |
70,0 |
- |
- |
- |
- |
- |
- |
- |
100 |
- |
Основным технологическим оборудованием кузнечных участков являются:
- кузнечные горны, нагревательные печи (нагрев деталей и заготовок под ковку и термообработку);
- молоты различного типа (ковка металла):
- масляные ванны (закалка и отпуск).
При нагреве заготовок и деталей в кузнечных горнах и нагревательных печах, работающих на твердом, жидком и газообразном топливе, происходят выделения углерода оксида, ангидрида сернистого (серы диоксид), азота оксидов, мазутной золы в пересчете на ванадий, твердых частиц (сажа).
При закалке и отпуске в масляных ваннах происходит выделение паров минерального масла.
Для расчета выброса загрязняющих веществ кузнечным участком необходимо иметь следующие данные:
- вид топлива, применяемого в горне (печи);
- количество потребляемого топлива за год (по отчетным данным предприятия);
- время работы оборудования в день;
- «чистое» время работы закалочной ванны - это время, когда из ванны выделяются пары и аэрозоли, т.е. с момента опускания раскаленного металла в ванну и до его охлаждения, когда из ванны уже не выделяется пар.
Для расчета берется «чистое» время работы ванны за смену, определяемое суммой отрезков времени нахождения отдельных деталей в ванне.
«Чистое» время определяется руководителем участка.
1. Валовый выброс твердых частиц в дымовых газах определяется для твердого и жидкого топлива по формуле:
(3.5.1)
где gT - зольность топлива, % (табл. 3.5.1);
m - расход топлива за год, т/год;
-
безразмерный коэффициент (табл. 3.5.2);
-
эффективность золоуловителей, % (принимается по паспортным данным очистного
устройства).
Максимально разовый выброс определяется по формуле:
(3.5.2)
где n - количество дней работы горна в год:
t - время работы горна в день, час.
2. Валовый выброс углерода оксида определяется для твердого, жидкого и газообразного топлива по формуле:
(3.5.3)
где g1 - потери теплоты вследствие механической неполноты сгорания, % (табл. 3.5.3);
m - расход топлива за год, т/год, тыс. м3/год,
СCO - выход углерода оксида при сжигании топлива, кг/т, кг/тыс. м3.
(3.5.4)
где g2 - потери теплоты вследствие химической неполноты сгорания топлива, % (табл. 3.5.3);
R - коэффициент, учитывающий долю потери теплоты вследствие химической неполноты сгорания топлива:
R = 1 - для твердого топлива
R = 0,5 - для газа
R = 0,65 - для мазута
-
низшая теплота сгорания натурального топлива (табл. 3.5.1)
Максимально разовый выброс углерода оксида определяется по формуле:
(3.5.5)
3. Валовый выброс азота оксидов определяется для твердого, жидкого и газообразного топлива по формуле:
(3.5.6)
где g3 - количество азота оксидов, выделяющегося при сжигании топлива (табл. 3.5.4), кг/т (кг/тыс. м3);
В - расход топлива за год, т/год, (тыс. м3/год).
Максимально разовый выброс азота оксидов определяется по формуле:
(3.5.7)
4. Валовый выброс мазутной золы в пересчете на ванадий при сжигании мазута определяется по формуле:
(3.5.8)
где QV - количество ванадия, содержащегося в 1 тонне мазута, г/т.
(3.5.9)
где gт - содержание золы в мазуте, % (табл. 3.5.1);
m - расход топлива за год, т/год;
-
степень очистки (принимается по паспортным данным очистного устройства).
Максимально разовый выброс мазутной золы в пересчете на ванадий определяется по формуле:
(3.5.10)
5. Валовый выброс ангидрида сернистого (серы диоксид) определяется только для твердого и жидкого топлива по формуле:
(3.5.11)
где Sr - содержание серы в топливе, % (табл. 3.5.1);
-
доля ангидрида сернистого, связываемого летучей золой топлива. Для углей
Канско-Ачинского бассейна - 0,2 (Березовских - 0,5); Экибастузских - 0,02;
прочих углей - 0,1; мазута - 0,02;
-
доля ангидрида сернистого, улавливаемого в золоуловителе. Для сухих
золоуловителей принимается равной 0, для мокрых - 0,25.
Максимально разовый выброс ангидрида сернистого определяется по формуле:
(3.5.12)
Расчет валового выброса при термической обработке металлоизделий проводится по формуле:
(3.5.13)
где g1 - удельное выделение загрязняющего вещества, г/кг обрабатываемых деталей (табл. 3.5.5);
m - масса обрабатываемых деталей в год, кг.
Расчет максимально разового выброса проводится по формуле:
(3.5.14)
где b - максимальная масса обрабатываемых деталей в течение рабочего дня, кг;
t - «чистое время, затрачиваемое на обработку деталей в течение рабочего дня, час.
Характеристика топлив (при нормальных условиях) [2, 6]
|
GT, % |
Мдж/кг, м3 |
Sr, % |
|
|
1 |
2 |
4 |
5 |
|
Угли |
|
|
|
|
Донецкий бассейн |
28,0 |
18,50 |
3,5 |
|
Днепровский бассейн |
31,0 |
6,45 |
4,4 |
|
Подмосковный бассейн |
39,0 |
9,88 |
4,2 |
|
Печорский бассейн |
31,0 |
17,54 |
3,2 |
|
Кизеловский бассейн |
31,0 |
19,65 |
6,1 |
|
Челябинский бассейн |
29,9 |
14,19 |
1,0 |
|
Карагандинский бассейн |
27,6 |
21,12 |
0,8 |
|
Экибастузский бассейн |
32,6 |
18,94 |
0,7 |
|
Кузнецкий бассейн |
13,2 |
22,93 |
0,4 |
|
Кузнецкий (открытая добыча) |
11,0 |
21,46 |
0,4 |
|
Канско-Ачинский бассейн |
6,7 |
15,54 |
0,2 |
|
Иркутский |
27,0 |
17,93 |
1,0 |
|
Бурятский |
16,9 |
16,88 |
0,7 |
|
Остров Сахалин (среднее по Сахалину) |
22,0 |
17,33 |
0,4 |
|
Мазут |
|
|
|
|
малосернистый |
0,1 |
40,30 |
0,5 |
|
сернистый |
0,1 |
39,85 |
1,9 |
|
высокосернистый |
0,1 |
38,89 |
4,1 |
|
Природный газ из газопроводов |
|
|
|
|
Саратов - Москва |
- |
35,82 |
- |
|
Саратов - Горький |
- |
36,13 |
- |
|
Ставрополь - Москва |
- |
36,00 |
- |
|
Серпухов - Ленинград |
- |
37,43 |
- |
|
Брянск - Москва |
- |
37,30 |
- |
|
Промысловка - Астрахань |
- |
35,04 |
- |
|
Ставрополь - Невинномыск-Грозный |
- |
41,75 |
- |
Значения коэффициента
в зависимости от типа
топки и топлива [2]
|
Топливо |
|
|
|
С неподвижной решеткой и ручным забросом |
Бурые и каменные угли |
0,0023 |
|
|
Антрациты: АС и AM АРШ |
0,0030 0,0078 |
|
Камерная |
Мазут |
0,0100 |
Характеристика топок [2]
|
Топливо |
g2 |
g1 |
|
|
1 |
2 |
3 |
4 |
|
С неподвижной решеткой и ручным забросом |
Бурые угли |
2,0 |
8,0 |
|
топлива |
Каменные угли |
2,0 |
7,0 |
|
|
Антрациты AM и АС |
1,0 |
10,0 |
|
Камерная |
Мазут |
0,5 |
0 |
|
|
Газ (природный, попутный) |
0,5 |
0 |
|
|
Доменный газ |
1,5 |
0 |
Удельные выделения азота оксида при сжигании топлива в кузнечном горне (g3)
|
Удельное выделение кг/т, кг/тыс. м3 |
|
|
Угли Донецкие |
2,21 |
|
Днепровские |
2,06 |
|
Подмосковные |
0,95 |
|
Печорские |
2,17 |
|
Кизеловские |
1,87 |
|
Челябинские |
1,27 |
|
Карагандинские |
1,97 |
|
Кузнецкие |
2,23 |
|
Канско-ачинские |
1,21 |
|
Иркутские |
1,81 |
|
Бурятские |
1,45 |
|
Сахалинские |
1,89 |
|
Другие виды топлива |
|
|
Мазут: |
|
|
малосернистый |
2,57 |
|
высокосернистый |
2,46 |
|
Природный газ |
2,15 |
Удельные выделения загрязняющих веществ при термической обработке металлоизделий [6]
|
Применяемое вещество |
Выделяемое загрязняющее вещество |
||
|
наименование |
Количественные характеристики выделения на единицу массы обрабатываемых деталей, г/кг (g1) |
||
|
Закалка деталей в масляных ваннах |
минеральные масла |
Масло минеральное нефтяное |
0,10 |
|
Отпуск деталей в масляных ваннах |
То же |
Тоже |
0,08 |
На автотранспортных предприятиях применяется электродуговая сварка штучными электродами, а также газовая сварка и резка металла.
Количество выделяющихся загрязняющих веществ при сварке зависит от марки электрода и марки свариваемого металла, типа швов и других параметров сварочного производства.
Расчет количества загрязняющих веществ проводится по удельным показателям, приведенным к расходу сварочных материалов.
В табл. 3.6.1 - 3.6.3 приводятся удельные показатели выделения загрязняющих веществ при различных сварочных работах [4].
Расчет валового выброса загрязняющих веществ при всех видах электросварочных работ производится по формуле:
(3.6.1)
где
-
удельный показатель выделяемого загрязняющего вещества, г/кг расходуемых
сварочных материалов;
В - масса расходуемого за год сварочного материала, кг.
Максимально разовый выброс определяется по формуле:
(3.6.2)
где b - максимальное количество сварочных материалов, расходуемых в течение рабочего дня, кг,
t - «чистое» время, затрачиваемое на сварку в течение рабочего дня, час.
Расчет валового и максимально разового выброса загрязняющих веществ при газовой сварке ведется по тем же формулам, что и для электродуговой сварки, только вместо массы расходуемых электродов берется масса расходуемого газа.
Удельные выделения загрязняющих веществ при газовой сварке приведены в табл. 3.6.2 [4].
Для определения количества загрязняющих веществ, выделяющихся при газовой резке металла, используются удельные показатели (г/час), приведенные в табл. 3.6.3.
Валовый выброс при газовой резке определяется для каждого газорежущего поста отдельно по формуле:
(3.6.3)
где
- удельный выброс
загрязняющих веществ в г/час (табл. 3.6.3.);
t - «чистое» время газовой резки металла в день, час;
n - количество дней работы поста в году.
Максимально разовый выброс при газовой резке определяется по формуле:
(3.6.4)
Удельные выделения загрязняющих веществ при ручной электродуговой сварке штучными электродами
|
Технологическая операция, сварочный или наплавочный материал и его марка |
Количество выделяющихся загрязняющих
веществ, г/кг расходуемых сварочных материалов ( |
|||||||||
|
Сварочная аэрозоль |
в том числе |
фтористый водород |
азота диоксид |
углерода оксид |
||||||
|
марганец и его соединения |
железа оксид |
пыль неорганическая, содержащая SiO2 (20 - 70 %) |
прочие |
|||||||
|
наименование |
количество |
|||||||||
|
1 |
2 |
3 |
4 |
5 |
6 |
7 |
8 |
9 |
10 |
|
|
Ручная дуговая сварка сталей штучными электродами: |
|
|
|
|
|
|
|
|
|
|
|
УОНИ 13/45 |
16,31 |
0,92 |
10,69 |
1,40 |
фториды (в пересчете на F) |
3,3 |
0,75 |
1,50 |
13,3 |
|
|
УОНИ 13/55 |
16,99 |
1,09 |
13,90 |
1,00 |
то же |
1,00 |
0,93 |
2,70 |
13,3 |
|
|
УОНИ 13/65 |
7,5 |
1,41 |
4,49 |
0,80 |
- |
0,80 |
1,17 |
- |
- |
|
|
УОНИ 13/80 |
11,2 |
0,78 |
8,32 |
1,05 |
- |
1,05 |
1,14 |
- |
- |
|
|
УОНИ 13/85 |
13,0 |
0,60 |
9,80 |
1,30 |
- |
1,30 |
1,10 |
- |
- |
|
|
АНО-1 |
9,6 |
0,43 |
9,17 |
- |
- |
|
2,13 |
- |
- |
|
|
АНО-3 |
17,0 |
1,58 |
15,42 |
- |
- |
- |
- |
- |
- |
|
|
АНО-4 |
17,8 |
1,66 |
15,73 |
0,41 |
- |
- |
- |
- |
- |
|
|
АНО-5 |
14,4 |
1,87 |
12,53 |
- |
- |
- |
- |
- |
- |
|
|
АНО-6 |
16,7 |
1,73 |
14,97 |
- |
- |
- |
- |
- |
- |
|
|
АНО-7 |
12,4 |
1,77 |
8,53 |
1,10 |
фториды (в пересчете на F) |
1,00 |
0,40 |
0,35 |
4,5 |
|
|
озс-3 |
15,3 |
0,42 |
14,88 |
- |
|
- |
- |
- |
- |
|
|
ОЗС-4 |
10,9 |
1,27 |
9,63 |
- |
- |
- |
- |
- |
- |
|
|
ОЗС-6 |
14,0 |
0,86 |
12,94 |
- |
- |
- |
1,53 |
- |
- |
|
|
МР-3 |
11,5 |
1,73 |
9,77 |
- |
- |
- |
0,40 |
- |
- |
|
|
МР-4 |
11,0 |
1,10 |
9,90 |
- |
- |
- |
0,40 |
- |
- |
|
Удельные выделения загрязняющих веществ при газосварочных работах
|
Выделяемое загрязняющее вещество |
|||
|
наименование |
количественные характеристики выделения |
||
|
единица измерения |
количество |
||
|
Газовая сварка стали ацетиленокислородным пламенем |
азота диоксид |
г/кг ацетилена |
22,0 |
|
То же с использованием пропанобутановой смеси |
То же |
г/кг смеси |
15,0 |
Удельные выделения загрязняющих веществ при газовой резке металлов
|
Характеристика разрезаемого материала |
Наименование и удельные выделения
загрязняющих веществ ( |
||||||||
|
металл |
толщина, мм |
Сварочная аэрозоль |
в том числе |
углерода оксид |
азота диоксид |
||||
|
Хрома оксид |
марганец и его соединения |
железа оксид |
кремния оксид |
||||||
|
Газовая резка металла |
Сталь углеродистая |
5 10 20 |
74,0 131,0 200,0 |
- - - |
1,1 1,9 3,0 |
72,9 129,1 197,0 |
- - - |
49,5 63,4 65,0 |
39,0 64,1 53,2 |
|
|
Сталь качественная легированная |
5 10 20 |
82,5 145,5 222,0 |
1,25 2,5 5,0 |
- - - |
81,25 143,0 217,0 |
- - - |
42,9 55,2 57,2 |
33,6 43,4 44,9 |
|
|
Сталь высокомарганцовистая |
5 10 20 |
80,1 142,2 217,5 |
- - - |
1,6 2,8 4,4 |
78,2 138,8 212,2 |
0,3 0,6 0,9 |
46,2 58,2 59,9 |
36,3 46,6 48,8 |
Во время зарядки аккумуляторных батарей выделяются:
- серная кислота - при зарядке кислотных аккумуляторов;
- натрия гидроокись (щелочь) - при зарядке щелочных аккумуляторов.
Валовый выброс серной кислоты и натрия гидроокиси подсчитывается па формуле:
(3.7.1)
где g - удельное выделение серной кислоты или натрия гидроокиси [7]
g = 1 мг/Ач - для серной кислоты,
g = 0,8 мг/Ач - для натрия гидроокиси;
q1+n - номинальная емкость каждого типа аккумуляторных батарей, обслуживаемых предприятием, Ач;
a1+n - количество проведенных зарядок батарей соответствующей емкости за год (по данным учета в предприятии).
Расчет максимально разового выброса серной кислоты или натрия гидроокиси производится исходя из условий, что мощность зарядных устройств используется с максимальной нагрузкой. При этом сначала определяется валовый выброс за день:
(3.7.2)
где Q - номинальная емкость наиболее емких аккумуляторных батарей, имеющихся на предприятии;
-
максимальное количество вышеуказанных батарей, которые можно одновременно
подсоединять к зарядному устройству.
Максимально разовый выброс серной кислоты или натрия гидроокиси определяется по формуле:
(3.7.3)
где m - цикл проведения зарядки в день. Принимаем m = 10 час.
Кроме того, при сборке аккумуляторных батарей, используют битумную мастику, при разогреве которой выделяется аэрозоль масла. При отливке свинцовых клемм и межэлементных соединений выделяется свинец.
Валовый выброс аэрозоля масла и свинца определяется по формуле:
(3.7.4)
где mi - удельный выброс i-го вещества на единицу площади зеркала тигля, г/с м2 (табл. 3.7.4);
n - количество разогревов тигля в год;
S - площадь зеркала тигля, в котором плавится свинец (битумная мастика), м2;
t - время нахождения свинца (мастики) в расплавленном виде в тигле при одном разогреве, с.
Максимально разовый выброс рассчитывается по формуле:
(3.7.5)
Удельные показатели выделения загрязняющих веществ при ремонте аккумуляторных батарей (на единицу площади зеркала тигля, г/с м2)
|
Применяемые материалы |
Температура, °С |
Выделяемое загрязняющее вещество |
||
|
наименование |
удельные количества, г/с м2 |
|||
|
Восстановление (отливка) межэлементных перемычек и клеммных выводов |
расплав свинца |
300 - 500 |
свинец |
0,0013 |
|
Приготовление битумной мастики для ремонта корпусов аккумуляторов |
расплав мастики |
100 - 150 |
масло минеральное (нефтяное) |
0,003 |
При обработке местных повреждений (шероховке) резинотехнических изделий выделяется резиновая пыль. При приготовлении клея, промазке клеем и сушке выделяются пары бензина. При вулканизации выделяются углерода оксид и ангидрид сернистый.
Для расчета выбросов загрязняющих веществ необходимо иметь следующие исходные данные:
- удельные выделения загрязняющих веществ при ремонте резинотехнических изделий;
- количество расходуемых за год материалов (клей, бензин, резина для ремонта);
- время работы шероховальных станков в день.
Валовые выделения загрязняющих веществ рассчитывается по формулам:
валовые выделения пыли:
(3.8.1)
где gn - удельное выделение пыли, при работе единицы оборудования (табл. 3.8.1), г/с;
n - число дней работы шероховального станка в год;
t - среднее «чистое» время работы шероховального станка в день, час.
Максимально разовый выброс пыли при шероховке берется из табл. 3.8.1.
Валовые выбросы бензина, углерода оксида и ангидрида сернистого определяются по формуле:
(3.8.2)
где
- удельное выделение
загрязняющего вещества, г/кг ремонтных материалов, клея в процессе его
нанесения с последующей сушкой и вулканизацией (табл. 3.8.2);
В - количество израсходованных ремонтных материалов в год, кг.
Максимально разовый выброс бензина определяется по формуле:
(3.8.3)
где
- количество
израсходованного бензина в день, кг;
t - время, затрачиваемое на приготовление, нанесение и сушку клея в день, час.
Максимально разовый выброс углерода оксида и ангидрида сернистого определяется по формуле:
(3.8.4)
где t - время вулканизации на одном станке в день, час.;
n - количество дней работы станка в год.
Удельное выделение пыли при шероховкеx)
|
Наименование выделяемых загрязняющих веществ |
Удельное выделение при работе единицы оборудования, г/с |
|
|
Шероховка мест повреждения камер |
пыль |
0,0226 |
х) данные получены на основании испытаний, проведенных в НИИАТ.
Удельные выделения загрязняющих веществ в процессе ремонта резинотехнических изделий [7]
|
Применяемые вещества и материалы |
Выделяемые загрязняющие вещества |
||
|
наименование |
удельное количество, г/кг ( |
||
|
Приготовление, нанесение и сушка клея |
технический каучук, бензин |
бензин |
900 |
|
Вулканизация камер |
вулканизированная камерная резина |
ангидрид сернистый углерода оксид |
0,0054 0,0018 |
В процессе механической обработки древесины выделяется древесная пыль.
Количество выделяемой пыли зависит от технологического процесса механической обработки древесины (пиление, фрезерование, строгание), типа используемого оборудования и количества переработанной древесины.
На предприятиях могут встречаться такие образцы оборудования, которые уже давно не выпускаются, данных о количестве отходов при обработке древесины на них не имеется, поэтому их следует принимать по аналогичным образцам современного оборудования.
Расчет количества выделяемой пыли ведется по удельным показателям в зависимости от времени работы каждой единицы оборудования.
Количество пыли, образующейся при механической обработке древесины, приведено в табл. 3.9.1 на основании данных [8, 9].
«Чистое» время работы на том или ином станке в день определяется руководителем участка, о чем составляется акт.
Валовый выброс пыли при каждой операции определяется по формуле:
(3.9.1)
где g - удельное количество древесной пыли в отходах при работе единицы оборудования, г/с (табл. 3.9.1);
t - время работы станка в день, час;
n - количество станков данного типа;
к - число дней работы станка в год.
Максимально разовый выброс берется из табл. 3.9.1.
При наличии на участке очистных устройств расчет выбросов осуществляется следующим образом:
- определяем массу улавливаемой пыли в зависимости от типа устройств по формуле:
(3.9.2)
где Mg - валовый выброс пыли за год;
А - коэффициент, учитывающий исправную работу очистного устройства (формула 3.4.8);
-
эффективность данного очистного устройства по паспортным данным (в долях
единицы)
Масса пыли, попадающей в атмосферу (валовый выброс) при наличии очистных устройств будет определяться по формуле:
(3.9.3)
Максимально разовый выброс при наличии очистных устройств определяется по формуле:
(3.9.4)
Если очистные устройства какое-то время не работали, то максимально разовый выброс берётся из таблицы 3.9.1.
Для определения общих валовых и максимально разовых выбросов от деревообрабатывающего участка выбросы пыли от разного деревообрабатывающего оборудования суммируются.
Удельные выделения древесной пыли для процессов обработки древесины на единицу оборудования
|
Модель, марка станка |
Удельные количества выделяемой
древесной пыли, г/с ( |
|
|
Пиление |
Станки круглопильные, модели: |
|
|
|
УП |
1,75 |
|
|
Ц6-2 |
2,97 |
|
|
У6 |
2,80 |
|
|
Ц2К12 |
3,30 |
|
|
ЦКБ-4, ЦМЭ-2 |
4,39 |
|
Строгание |
Станки фуговальные, модели: |
|
|
|
СФА-6 |
13,20 |
|
|
СР-3, СР-8 |
6,70 |
|
|
СФАЧ-1 |
7,2 |
|
|
СФ-З, СФ-4 |
2,27 |
Механической обработке подвергаются металлы, сплавы, неметаллы.
Для холодной обработки материалов используют токарные, фрезерные, шлифовальные, заточные, сверлильные и другие станки.
Характерной особенностью процессов механической обработки хрупких металлов (чугун, цветные металлы и т.п.) является выделение твердых частиц (пыли). При обработке стали на шлифовальных и заточных станках также образуется пыль, а на остальных станках - отходы только в виде стружки. При применении смазочно-охлаждающих жидкостей (СОЖ) - аэрозоли минеральных масел и различных эмульсолов.
Для расчета выбросов загрязняющих веществ при механической обработке необходимы следующие исходные данные:
1. Характеристика оборудования.
2. Время работы единицы оборудования.
3. Номенклатура материалов, подвергающихся обработке.
4. Удельное количество пыли, аэрозолей, выделяющихся при работе на оборудовании.
Характеристика оборудования: тип, мощность и другие показатели, необходимые для расчета, устанавливаются по данным предприятия.
«Чистое» время работы единицы станочного оборудования в день - это время, которое идет на собственно изготовление детали без учета времени на ее установку и снятие. «Чистое» время работы единицы станочного оборудования в день определяется руководителем участка, о чем составляется акт.
Удельное выделение пыли и аэрозолей, образующихся при механической обработке материалов, берется из таблиц 3.10.1 - 3.10.4 [5, 9].
Валовый выброс каждого загрязняющего вещества на участке механической обработки определяется отдельно для каждого станка по формуле:
(3.10.3)
где
- удельное выделение
загрязняющего вещества при работе оборудования (станка), г/с (табл. 3.10.1,
3.10.2,
3.10.4);
t - «чистое» время работы одной единицы оборудования, в день, час;
n - количество дней работы станка (оборудования) в год.
Максимально разовый выброс берется из табл. 3.10.1, 3.10.2, 3.10.4.
Если на одном станке обрабатываются различные материалы, то валовый выброс и максимально разовый выброс рассчитывается раздельно для каждого материала.
При наличии устройств, улавливающих загрязняющие вещества, количество уловленных загрязняющих веществ рассчитывается по формуле:
(3.10.2)
Коэффициент
А определяется по формуле (3.4.8), а
- берется из паспорта улавливающего устройства (в долях единицы).
В этом случае валовый выброс загрязняющих веществ будет определяться по формуле (для каждого вещества отдельно):
(3.10.3)
Максимально разовый выброс при наличии очистных устройств определяется по формуле:
(3.10.4)
Если очистные устройства какое-то время не работали, то максимально разовый выброс берётся из таблиц 3.10.1, 3.10.2, 3.10.4.
Применение СОЖ при шлифовании уменьшает выделение пыли на 85 - 90 %, что следует учесть при расчете валовых и максимально разовых выбросов.
При работе на станках с применением СОЖ образуется мелкодисперсный аэрозоль. Количество выделяющегося аэрозоля зависит от ряда факторов (в том числе от энергетических затрат на резание металла), в связи с чем принято относить выделение аэрозоля на 1 кВт мощности электродвигателя станка.
Валовый выброс аэрозоля при использовании СОЖ рассчитывается для каждого станка по формуле:
(3.10.5)
где
- удельное выделение
загрязняющих веществ при обработке металла с применением СОЖ, г/скВт (табл. 3.10.3);
N - мощность электродвигателя станка, кВт.
.Максимально разовый выброс аэрозоля при применении СОЖ определяется по формуле:
(3.10.6)
На предприятии могут встречаться образцы оборудования, которые не указаны в этой методике, для них удельные выделения загрязняющих веществ следует принимать по аналогичным образцам оборудования.
Удельное выделение пыли (г/с) основным технологическим оборудованием при механической обработке металла без охлаждения (на единицу оборудования)
|
Определяющая характеристика оборудования |
Загрязняющие вещества, г/с |
||
|
Круглошлифовальные станки |
Диаметр шлифовального круга, мм |
Пыль абразивная |
Пыль металл. |
|
|
150 |
0,013 |
0,020 |
|
|
300 |
0,017 |
0,026 |
|
|
350 |
0,018 |
0,029 |
|
|
400 |
0,020 |
0,030 |
|
|
600 |
0,026 |
0,039 |
|
|
750 |
0,030 |
0,045 |
|
|
900 |
0,034 |
0,052 |
|
Плоскошлифовальные станки |
175 |
0,014 |
0,022 |
|
|
250 |
0,016 |
0,026 |
|
|
350 |
0,020 |
0,030 |
|
|
400 |
0,022 |
0,033 |
|
|
450 |
0,023 |
0,036 |
|
|
500 |
0,025 |
0,038 |
|
Бесцентрошлифовальные |
30,100 |
0,005 |
0,008 |
|
станки |
395,495 |
0,006 |
0,013 |
|
|
480,600 |
0,009 |
0,016 |
|
Заточные станки |
Диаметр шлифовального круга, мм |
|
|
|
|
100 |
0,004 |
0,006 |
|
|
150 |
0,006 |
0,008 |
|
|
200 |
0,008 |
0,012 |
|
|
250 |
0,011 |
0,016 |
|
|
300 |
0,013 |
0,021 |
|
|
350 |
0,016 |
0,024 |
|
|
400 |
0,019 |
0,029 |
|
|
450 |
0,022 |
0,032 |
|
|
500 |
0,024 |
0,036 |
|
|
550 |
0,027 |
0,040 |
Удельное выделение пыли при механической обработке чугуна, цветных металлов на станках без охлаждения
|
Выделяемое вещество |
Количество, г/с ( |
|
|
Обработка чугуна резанием: токарные станки |
Пыль чугунная -«- |
0,0063 |
|
фрезерные станки |
-«- |
0,0139 |
|
сверлильные станки |
-«- |
0,0022 |
|
расточные станки |
-«- |
0,0021 |
|
Обработка резанием цветных металлов: токарные станки |
Пыль цветных металлов -«- |
0,0025 |
|
фрезерные станки |
-«- |
0,0019 |
|
сверлильные станки |
-«- |
0,0004 |
|
расточные станки |
-«- |
0,0007 |
Удельные выделения (г/с) аэрозолей масла и эмульсола при механической обработке металлов с охлаждением
|
Количество выделяющегося в атмосферу масла (эмульсола), 10-5(г/с) на 1 кВт мощности станка |
|
|
Обработка металлов на токарных, сверлильных, фрезерных, строгальных, протяжных, резьбонакатных, расточных станках: с охлаждением маслом |
5,600 |
|
с охлаждением эмульсией с содержанием эмульсола менее 3 % |
0,050 |
|
с охлаждением эмульсией с содержанием эмульсола 3 - 10 % |
0,045 |
|
Обработка металлов на шлифовальных станках: с охлаждением маслом |
8,000 |
|
с охлаждением эмульсией с содержанием эмульсола менее 3 % |
0,104 |
|
с охлаждением эмульсией с содержанием эмульсола 3 - 10 % |
1,035 |
|
Примечание: При обработке металлов на шлифовальных станках выделяется пыль в количестве 10 % от количества пыли при сухой обработке (см. табл. 3.10.1, 3.10.2). При использовании СОЖ, в состав которых входит триэтаноламин, выделяется 3 10-6 г/ч триэтаноламина на 1 кВт мощности станка |
|
Удельные выделения пыли при механической обработке изделий из неметаллов (на единицу оборудования, г/с)
|
Вид оборудования |
Выделяемое загрязняющее вещество |
||
|
наименование |
удельные количества ( |
||
|
Обработка изделий из пресспорошков, сплава феррадо |
Токарные станки |
Пыль пресспорошка |
0,0024 |
|
Сверлильные станки |
-«- |
0,0011 |
|
При
проведении медницких работ (пайки и лужении) используются мягкие припои,
плавящиеся при температуре 180 - 230
. Эти припои содержат свинец, олово, поэтому при пайке в
воздух выделяются аэрозоли оксидов свинца и олова.
Расчет валовых выбросов проводится отдельно по свинцу и оксидам олова по формулам:
- при пайке паяльником с косвенным нагревом:
(3.11.1)
где gi - удельные выделения свинца, оксидов олова, меди и цинка, г/кг (табл. 3.11.1);
m - масса израсходованного припоя за год, кг.
- при пайке электропаяльником:
(3.11.2)
где gi - удельные выделения свинца и оксидов олова, г/с (табл. 3.11.1);
n - количество паек в год;
t - «чистое» время работы паяльником, час.
- при лужении:
(3.11.3)
где gi - удельное выделение свинца и оксидов олова, г/с м2 (табл. 3.11.1);
F - площадь зеркала ванны, м2:
n - число дней работы ванны в год;
t - время нахождения ванны в рабочем состоянии в день, час.
Максимально разовый выброс определяется по формулам:
- при пайке паяльниками с косвенным нагревом
(3.11.4)
где n - количество паек в год;
t - время «чистой» пайки в день, час.
- при лужении
(3.11.5)
При пайке электропаяльниками максимально разовый выброс берется из табл. 3.11.1.
Общий валовый и максимально разовый выбросы одноименных веществ, определяется как сумма этих веществ при пайке и лужении.
Удельные выделения загрязняющих веществ при пайке и лужении [7]
|
Применяемые вещества и материалы |
Выделяемое загрязняющее вещество |
||||
|
наименование |
удельное количество (gi) |
||||
|
г/кг |
г/с |
г/с м2 |
|||
|
Пайка паяльниками с косвенным нагревом |
Оловянно-свинцовые припои ПOC-30, 40, 60, 70 |
Свинец и его соединения Олова оксид |
0,51 0,28 |
|
|
|
|
Медно-цинковые Л 60, Л 62 |
Меди оксид Цинка оксид |
0,072 6,4 |
|
|
|
Пайка электропаяльниками |
ПОС-30 |
Свинец и его соединения |
- |
0,0075 |
|
|
мощностью 20 - 60 Вт |
|
Олова оксид |
- |
0,0033 |
|
|
|
ПОС-40 |
Свинец и его соединения |
- |
0,0050 |
|
|
|
|
Олова оксид |
- |
0,0033 |
|
|
|
ПОС-60 |
Свинец и его соединения |
- |
0,0044 |
|
|
|
|
Олова оксид |
- |
0,0031 |
|
|
Лужение погружением в припой |
ПОС-60 ПОС-40 |
Свинец и его соединения |
- |
- |
0,11 |
|
ПОС-30 ПОС-70 |
Олова оксид |
- |
- |
0,05 |
|
Участок по обкатке и испытанию двигателей оборудуется специальными стендами, на которые устанавливается двигатель для проведения этих работ. При работе двигателя выделяются токсичные вещества: оксид углерода - СО, оксиды азота - NOX, углеводороды - СН, соединения серы - SO2, сажа - С (только для дизелей), соединения свинца - Рb (при применении этилированного бензина).
Обкатка двигателей проводится как без нагрузки (холостой ход), так и под нагрузкой. На режиме холостого хода выброс загрязняющих веществ определяется в зависимости от рабочего объема испытываемого двигателя. При обкатке под нагрузкой выброс загрязняющих веществ зависит от средней мощности, развиваемой двигателем при обкатке.
Валовый выброс i-ro загрязняющего вещества Мi; определяется по формуле:
(3.12.1)
где Мiхх - валовый выброс i-ro загрязняющего вещества при обкатке на холостом ходу, т/год;
Мiн валовый выброс i-ro загрязняющего вещества при обкатке под нагрузкой, т/год.
Валовый выброс i-ro загрязняющего вещества при обкатке на холостом ходу определяется по формуле:
(3.12.2)
где Pixxn - выброс i-ro загрязняющего вещества при обкатке двигателя n-й модели на холостом ходу, г/с;
txxn - время обкатки двигателя n-й модели на холостом ходу, мин.;
nn - количество обкатанных двигателей n-й модели в год.
(3.12.3)
где qiххБ, qixхД - удельный выброс i-ro загрязняющего вещества бензиновым и дизельным двигателем n-й модели на единицу рабочего объема, г/л с;
Vhn - рабочий объем двигателя n-й модели, л.
Валовый выброс i-го загрязняющего вещества при обкатке двигателя под нагрузкой определяется по формуле:
(3.12.4)
где Piнn - выброс i-го загрязняющего вещества при обкатке двигателя n-й модели под нагрузкой, г/с;
tнn - время обкатки двигателя n-й модели под нагрузкой, мин.
(3.12.5)
где qinБ, qinД - удельный выброс i-го загрязняющего вещества бензиновым или дизельным двигателем на единицу мощности, г/л.с. с;
Ncpn - средняя мощность, развиваемая при обкатке под нагрузкой двигателем n-й модели, л.с.
Значения qiххБ, qixхД, qinБ, qinД приведены в табл. 3.12.1, Vhn, tнn, Ncpn - в табл. 3.12.2.
Расчет выбросов загрязняющих веществ ведется отдельно для бензиновых и дизельных двигателей. Одноименные загрязняющие вещества суммируются.
Максимально разовый выброс загрязняющих веществ Gi, определяется только на нагрузочном режиме, т.к. при этом происходит наибольшее выделение загрязняющих веществ. Расчет производится по формуле:
(3.12.6)
где qinБ, qinД - удельный выброс i-го загрязняющего вещества бензиновым или дизельным двигателем на единицу мощности, г/л.с. с;
NсрБ, NсрД - средняя мощность, развиваемая при обкатке наиболее мощного бензинового и дизельного двигателя, л.с.
аБ, АД - количество одновременно работающих испытательных стендов для обкатки бензиновых и дизельных двигателей.
Если на предприятии имеется только один стенд, на котором обкатывают бензиновые и дизельные двигатели, то в качестве максимально разовых выбросов Gi принимаются значения для двигателей, имеющих наибольшие выбросы по i-му компоненту.
Если на предприятии проводится только холодная обкатка, то расчет выбросов загрязняющих веществ не проводится.
Удельные выделения загрязняющих веществ при обкатке двигателей после ремонта на стендах (составлена по данным НАМИ)
|
Вид обкатки |
Обозначение |
Единицы измерения |
Удельный выброс загрязняющих веществ |
|||||||
|
СО |
NOX |
CH |
SO2 |
сажа (С) |
Рb |
|||||
|
АИ-93 |
А-91, А-76, АИ-80 |
|||||||||
|
Бензиновые |
на холостом ходу |
qiххБ |
г/л с |
7,3 |
- |
3,0 |
8,0 |
- |
5,6 |
2,2 |
|
|
под нагрузкой |
qinБ |
г/л.с. с |
3,0 |
2,0 |
5,0 |
4,0 |
- |
2,8 |
1,5 |
|
Дизельные |
на холостом ходу |
qixхД |
г/л с |
4,5 |
1,5 |
7,0 |
1,5 |
1,0 |
- |
- |
|
|
под нагрузкой |
qinД |
г/л.с. с |
1,6 |
3,5 |
5,0 |
1,7 |
2,3 |
- |
- |
Справочная таблица рабочих объемов двигателей, условной средней мощности обкатки и время обкатки
|
Рабочий объем, л (Vh) |
Средняя мощность обкатки, л.с.(Nср) |
Время обкатки, мин. |
Вид топлива |
||
|
на холостом ходу (txxn) |
под нагрузкой (tнn) |
||||
|
1 |
2 |
3 |
4 |
5 |
6 |
|
ВАЗ 21081 |
1,1 |
10,0 |
30 |
35 |
АИ-93, А-92 |
|
ВАЗ 2101 |
1,2 |
10,0 |
30 |
35 |
АИ-93, А-92 |
|
ВА321011, 2108 |
1,3 |
10,0 |
30 |
35 |
АИ-93, А-92 |
|
ВАЗ 2103, 21083; УА3 412Э, 331.10 |
1,5 |
10,0 |
30 |
35 |
АИ-93, А-92 |
|
УАЗМ 412ДЭ |
1,5 |
10,0 |
30 |
35 |
А-76 |
|
ВАЗ 2106, 2121; УАЗМ 331.102 |
1,6 |
10,0 |
30 |
35 |
АИ-93, А-92 |
|
ВАЗ 21213; УАЗМ 3317 |
1,7 |
10,0 |
30 |
35 |
АИ-93, А-92 |
|
УАЗМ 3318 |
1,8 |
10,0 |
30 |
35 |
АИ-93, А-92 |
|
УАЗМ 3313 |
1,8 |
10,0 |
30 |
35 |
А 76, АИ-80 |
|
ЗМЗ 406 |
2,3 |
18,2 |
30 |
45 |
АИ-93, А-92 |
|
ЗМЗ 24Д, 402, 408 |
2,5 |
18,2 |
30 |
45 |
АИ-93, А-92 |
|
ЗМЗ 24-01, 4021; УМ3 451М, 414, 417, 4178 |
2,5 |
18,2 |
30 |
45 |
А-76, АИ-80 |
|
ГАЗ-52-01, 52-04, 52-07, 52-08 |
3,5 |
13,0 |
35 |
45 |
А-76, АИ-80 |
|
ЗМЗ-53, 53-11, ЗМЗ-66-06, ЗМЗ-66-03, ЗМЗ-672, 672-11 |
4,3 |
23,0 |
20 |
50 |
А-76, АИ-80 |
|
ЗИЛ-157КД |
5,4 |
41,6 |
15 |
40 |
А-76, АИ-80 |
|
ЗИЛ-130, 130Я2, 138, 131, 508.10; 5086.10 |
6,0 |
33,0 |
20 |
50 |
А-76, АИ-80 |
|
ЗИЛ-375Я4. 3 375Я5, 375Я7, 509.10 |
7,0 |
33,0 |
20 |
50 |
А 76, АИ-80 |
|
ЯМЗ-236М, 236М2 |
11,2 |
89,0 |
20 |
45 |
Дизельное |
|
ЯМЗ-238М, 238М2 |
14,9 |
119,0 |
20 |
50 |
То же |
|
ЯМЗ-238Ф, 238Б, 238Д |
14,9 |
148,0 |
20 |
50 |
-«- |
|
ЯМЗ-238П, 238Л |
14,9 |
145,0 |
20 |
80 |
-«- |
|
ЯМЗ-8421, 8424 |
17,2 |
181,5 |
10 |
130 |
-«- |
|
ЯМЗ-240П, 240М |
22,27 |
188,5 |
10 |
130 |
-«- |
|
КамАЗ-740, 74.10 |
11,85 |
80,2 |
10 |
40 |
-«- |
|
КамАЗ-7403.10 |
10,85 |
87,1 |
10 |
40 |
-«- |
|
Д 2156 |
10,4 |
84,1 |
90 |
90 |
-«- |
|
Д 2356 |
10,6 |
96,67 |
90 |
90 |
-«- |
Прежде чем приступать к ремонту агрегатов, узлов и деталей автомобилей, их необходимо очистить от загрязнений и коррозии.
Широкое распространение в процессах очистки получили синтетические моющие средства (CMC), основу которых составляют поверхностно активные вещества (ПАВ) и щелочные соли («Лабомид 101, 203», Темп-100д и др.). При использовании CMC в качестве моющего раствора выделяется аэрозоль кальцинированной соды.
Удельные выделения загрязняющих веществ при мойке деталей и агрегатов приведены в табл. 3.13.1 [7].
Валовый выброс загрязняющего вещества при мойке определяется по формуле:
(3.13.1)
где gi - удельный выброс загрязняющего вещества, г/с м2 (табл. 3.13.1);
F - площадь зеркала моечной ванны, м2;
t - время работы моечной установки в день, час;
n - число дней работы моечной установки в год.
Максимально разовый выброс определяется по формуле:
(3.13.2)
Удельные выделения загрязняющих веществ при мойке
деталей, узлов и агрегатов.
|
Наименование применяемого вещества |
Выделяемое загрязняющее вещество (на единицу площади зеркала ванны) |
||
|
наименование |
удельное количество (gi), г/с м2 |
||
|
Мойка и расконсервация деталей |
Керосин |
Керосин |
0,433 |
|
Мойка деталей в растворах CMC, содержащих кальцинированную соду 40 - 50 % |
Лабомид 101 202 203 «Темп-100Д» и др. |
Натрия карбонат (кальцинированная сода) |
0,0016 |
На участке ремонта и испытания топливной аппаратуры автомобилей проводится ряд работ, при проведении которых выделяются загрязняющие вещества. Удельные выделения загрязняющих веществ в процессах мойки, испытания и регулировки топливной аппаратуры приведены в табл. 3.14.1 и 3.14.2 [7].
Удельные выделения загрязняющих веществ при мойке деталей топливной аппаратуры
|
Применяемое вещество |
Выделяющееся загрязняющее вещество |
||||
|
наименование |
концентрация, г/л |
температура |
наименование |
удельное количество г/с м2 |
|
|
Мойка деталей топливной аппаратуры |
керосин |
100 % |
20 |
керосин |
0,433 |
Валовый и максимально разовый выбросы загрязняющих веществ при мойке определяются по формулам 3.13.1 и 3.13.2.
Удельные выделения загрязняющих веществ в процессах испытания и регулировки дизельной топливной аппаратуры (на единицу массы дизельного топлива, расходуемого на компенсацию потерь при испытаниях)
|
Применяемые вещества и материалы |
Выделяемое загрязняющее вещество |
||
|
наименование |
удельное кол-во г/кг (gi) |
||
|
Испытание дизельной топливной аппаратуры |
дизельное топливо |
углеводороды |
317 |
|
Проверка форсунок |
дизельное топливо |
углеводороды |
788 |
Валовый выброс загрязняющего вещества при испытаниях дизельной аппаратуры определяется по формуле:
(3.14.1)
где В - расход дизельного топлива за год на проведение испытаний, кг,
gi - удельный выброс загрязняющего вещества, г/кг (табл. 3.14.2).
Максимально разовый выброс определяется по формуле:
(3.14.2)
где t - «чистое время» испытания и проверки в день, час.;
-
расход дизельного топлива за день,
кг.
Автомобили с бензиновыми двигателями
Валовый выброс СО, СН, NOX, S02 и Рb при контроле токсичности отработавших газов определяется по формуле:
(3.15.1)
где nк - количество проверок данного типа автомобилей в год;
-
удельный выброс i-го
вещества при прогреве двигателя автомобиля к-й группы для теплого периода года,
г/мин (табл. 2.1
2.18);
-
удельный выброс i-го вещества при работе на холостом ходу двигателя автомобиля
к-й группы, г/мин (табл. 2.1
2.18);
tпр - время прогрева автомобиля на посту контроля (принимается равным 1,5 мин);
tис1 - среднее время работы двигателя на малых оборотах холостого хода при проверке (принимается равным 3 мин.);
А - коэффициент, учитывающий увеличение удельного выброса i-го вещества к-й группы при работе двигателя автомобиля на повышенных оборотах холостого хода (принимается равным 1,8);
tиc2 - среднее время работы двигателя на повышенных оборотах холостого хода (принимается равным 1,5 мин.)
Максимально разовый выброс i-ro вещества определяется по формуле:
(3.15.2)
где
- наибольшее
количество автомобилей, проверяемое в течение часа на посту.
Расчёт Gi производится для автомобилей, имеющих наибольшие удельные выбросы по i-му компоненту.
Расчет выбросов соединений свинца производится только при использовании этилированного бензина.
Автомобили с дизельными двигателями
Валовый выброс загрязняющих веществ (СО, СН, NOX, C, SО2) при контроле дымности отработавших газов определяется по формуле:
(3.15.3)
где nк - количество проверок в год автомобилей к-й группы:
- удельный выброс i-ro вещества при прогреве двигателя
автомобиля к-й группы для тёплого
периода года, г/мин;
mиспiк - удельный выброс i-ro вещества при проведении испытаний на двух режимах измерения дымности автомобиля к-й группы, г/мин;
tnp - время прогрева автомобиля на посту контроля, tnp = 3 мин;
tисп - время испытаний, tисп = 4 мин.
Удельный выброс i-ro вещества при проведении испытаний mиспiк, определяется по формуле:
(3.15.4)
где кi - коэффициент, учитывающий увеличение удельного выброса i-ro вещества при проведении контроля дымности (табл. 5.1.).
Значения коэффициента увеличения удельных выбросов при проведении контроля дымности отработавших газов
|
СО |
СН |
NOX |
С |
SO2 |
|
|
кi |
3,0 |
5,0 |
2,5 |
10 |
1,5 |
Максимально разовый выброс i-ro вещества определяется по формуле:
(3.15.5)
где
- наибольшее
количество автомобилей, проверяемое в течение часа на посту.
Расчёт Gi производится для автомобилей, имеющих наибольшие удельные выбросы по i-му компоненту.
При одновременном контроле на нескольких постах автомобилей с бензиновыми и дизельными двигателями валовые выбросы одноименных веществ суммируются. Так же производится расчет и максимально разовых выбросов.
В случае контроля на одном посту автомобилей с бензиновыми и дизельными двигателями в качестве максимально разовых выбросов gi принимаются значения для автомобилей, имеющих наибольшие выбросы по i-му компоненту.
1. Методика проведения инвентаризации выбросов загрязняющих веществ в атмосферу для автотранспортных предприятий. М., 1991.
2. Методические указания по расчету выбросов загрязняющих веществ при сжигании топлива в котлах производительностью до 30 т/час. М., Гидрометеоиздат, 1985.
3. Методика расчета выделений (выбросов) загрязняющих веществ в атмосферу при нанесении лакокрасочных материалов. «НИИ Атмосфера», 1997.
4. Методика расчета выделений (выбросов) загрязняющих веществ в атмосферу при сварочных работах. «НИИ Атмосфера», 1997.
5. Методика расчета выделений (выбросов) загрязняющих веществ в атмосферу при механической обработке металлов. «НИИ Атмосфера», 1997.
6. Сборник методик по расчету выбросов в атмосферу загрязняющих веществ различными производствами (разделы 2, 3, 7, 12). Л., 1986.
7. Удельные показатели выбросов загрязняющих веществ в атмосферу для ремонтно-обслуживающих предприятий и машиностроительных заводов агропромышленного комплекса. М., 1990.
8. Временные методические указания по расчету выбросов загрязняющих веществ в атмосферный воздух предприятиями деревообрабатывающей промышленности. Петрозаводск, 1992.
9. Методика определения валовых выбросов вредных веществ в атмосферу основным технологическим оборудованием предприятий автомобильного и сельскохозяйственного машиностроения. М., 1991.