ГОСТ Р МЭК 598-2-25-98
ГОСУДАРСТВЕННЫЙ СТАНДАРТ РОССИЙСКОЙ ФЕДЕРАЦИИ
СВЕТИЛЬНИКИ
Часть 2
ЧАСТНЫЕ ТРЕБОВАНИЯ
Раздел 25
СВЕТИЛЬНИКИ ДЛЯ ИСПОЛЬЗОВАНИЯ В КЛИНИЧЕСКИХ ЗОНАХ БОЛЬНИЦ И ДРУГИХ МЕДИЦИНСКИХ УЧРЕЖДЕНИЙ
ГОССТАНДАРТ РОССИИ
Москва
Предисловие
1 РАЗРАБОТАН И ВНЕСЕН Всероссийским научно-исследовательским, проектно-конструкторским светотехническим институтом им. С.И. Вавилова (ООО «ВНИСИ»)
2 ПРИНЯТ И ВВЕДЕН В ДЕЙСТВИЕ Постановлением Госстандарта России от 24 февраля 1998 г. № 22
3 Настоящий стандарт представляет собой аутентичный текст международного стандарта МЭК 598-2-25 (1994) «Светильники. Часть 2. Частные требования. Раздел 25. Светильники для использования в клинических зонах больниц и других медицинских учреждений»
4 ВВЕДЕН ВПЕРВЫЕ
ГОСТ Р МЭК 598-2-25-98
ГОСУДАРСТВЕННЫЙ СТАНДАРТ РОССИЙСКОЙ ФЕДЕРАЦИИ
|
Светильники Часть 2 Частные требования Раздел 25 СВЕТИЛЬНИКИ ДЛЯ ИСПОЛЬЗОВАНИЯ В КЛИНИЧЕСКИХ ЗОНАХ БОЛЬНИЦ И ДРУГИХ МЕДИЦИНСКИХ УЧРЕЖДЕНИЙ Luminaires. Part 2. Particular requirements. Section 25. Luminaires for use in clinical areas of hospitals and health care buildings |
Дата введения 1998-07-01
25.1.1 Область применения
Настоящий стандарт устанавливает требования к светильникам с лампами накаливания, люминесцентными и другими разрядными лампами, напряжение питания которых не превышает 1000 В, для использования в клинических зонах больниц и других медицинских учреждений, в которых проводят лечение, осмотр и оказание медицинской помощи.
Стандарт не распространяется на:
- медицинское электрическое оборудование, которое относится к 2.2.15 МЭК 601-1 и содержит источник света.
Примечание - Пункт 2.2.15 МЭК 601-1 устанавливает, что электрическое оборудование имеет не более чем одно основное индивидуальное питание и предназначается для диагностики, лечения или мониторинга пациента, имеет физический или электрический контакт с пациентом и (или) передает энергию пациенту или от него и (или) определяет передачу такой энергии к пациенту или от него.
- светильники аварийного освещения и светильники общего освещения в неклинических зонах (например офисов).
Примечание - Требования для таких светильников изложены в стандартах части 2 МЭК 598.
- светильники или части светильников, предназначенные для стерилизации в автоклавах и для операционных столов.
Стандарт следует применять совместно с теми разделами МЭК 598-1, на которые имеются ссылки.
25.1.2 Нормативные ссылки
В следующих нормативных документах содержатся положения, на которые в виде ссылок указывается в тексте настоящего стандарта.
На момент издания настоящего стандарта указаны действующие редакции. Все нормативные документы подвергают пересмотру и частичным согласованным изменениям, поэтому необходимо учитывать возможность применения для настоящего стандарта более поздних изданий нормативных документов, указанных ниже. Члены МЭК и ИСО ведут регистрацию действующих международных стандартов.
МЭК 598-1 (1992)* Светильники. Часть 1. Общие требования и методы испытаний
МЭК 598-2-8 (1988)* Светильники. Часть 2. Частные требования. Раздел 8. Светильники ручные
МЭК 601-1 (1988)* Электрооборудование медицинское. Часть 1. Общие требования по технике безопасности
_____________
* См. приложение В.
Применяют положения раздела 0 МЭК 598-1. Испытания, подробно изложенные в каждом соответствующем разделе МЭК 598-1, проводят в последовательности, указанной в настоящем стандарте. В таких случаях необходимы ссылки на другие разделы МЭК 598-1. В дополнение к требованиям, приведенным в настоящем стандарте, светильники, соответствующие требованиям других стандартов части 2 МЭК 598, например встраиваемые светильники со встроенными трансформаторами, также должны удовлетворять этим требованиям.
В настоящем разделе применяют определения, приведенные в разделе 1 МЭК 598-1, а также следующие определения:
25.3.1 Прикроватная зона - зона, в которой расположены кровати одного или более пациентов.
Примечание - Палата включает в себя прикроватную зону или совместные зоны с соответствующим обслуживанием, таким как пост медицинской сестры, процедурные комнаты и туалеты.
25.3.2 Закрытый светильник - светильник с основной частью и светопропускающей оболочкой, конструкция которого уменьшает проникание в светильник пыли и других частиц.
25.3.3 Прикроватный светильник - светильник общего назначения для освещения в зоне пациента.
Примечание - Прикроватный светильник может быть закреплен на поверхности (потолок или стена), а также быть подвесным или встраиваемым.
25.3.4 Светильник в изголовье - специальный светильник, которым может управлять пациент.
Примечания
1 Светильник в изголовье может быть закреплен на поверхности и иметь регулируемый кронштейн.
2 Светильник этого типа не может быть отнесен к светильнику для общего обследования или к ручному светильнику для осмотра.
25.3.5 Светильник ночного освещения - светильник, предназначенный для создания низкого уровня освещенности ночью в прикроватных и близлежащих зонах.
25.3.6 Больничная система - система прикроватной зоны с обеспечением присоединения других коммуникаций, например розеток питающего напряжения, подключения медицинских газов, телефонных розеток, радио, светильников или светорегулирующих устройств.
25.3.7 Светильник для общего обследования - полностью закрытый подвижный светильник, установленный на поверхности (стена или потолок) или закрепленный на подвижном стенде для медицинского обследования и незначительных хирургических операций (например для использования стоматологом или ветеринаром).
25.3.8 Ручной светильник для осмотра - полностью закрытый светильник для медицинского осмотра, но не предназначенный для внутреннего обследования пациента.
25.3.9 Разборный ручной светильник для осмотра - ручной светильник для осмотра, конструкция которого позволяет заменить гибкий кабель или шнур.
25.3.10 Неразборный ручной светильник для осмотра - ручной светильник для осмотра, конструкция которого не позволяет отделить от светильника гибкий кабель или шнур без его разрушения.
Светильники должны классифицироваться в соответствии с положениями раздела 2 МЭК 598-1 совместно с требованиями 25.4.1 настоящего стандарта.
25.4.1 В соответствии с типом защиты от поражения электрическим током ручные светильники для осмотра должны классифицироваться как приборы класса защиты II или III.
Применяют положения раздела 3 МЭК 598-1 совместно с требованиями 25.5.1 настоящего стандарта.
25.5.1 Подводящие розетки больничной системы должны иметь несмываемую и четкую маркировку. Любая предупредительная надпись должна быть расположена так, чтобы быть четко видимой. Также применяют требования МЭК 601-1.
Проверку проводят внешним осмотром.
Применяют положения раздела 4 МЭК 598-1 совместно с требованиями 25.6.1-25.6.4 настоящего стандарта.
25.6.1 Комплектующие изделия
25.6.1.1 Выключатели или разъединительные устройства питания не должны находиться на несъемном кабеле или шнуре, которым снабжен светильник.
Выключатели, включая их органы управления, должны быть скрыты в рукоятке или корпусе ручных светильников для осмотра. Оболочка, закрывающая орган управления, должна быть изготовлена из гибкого материала, такого как резина или полихлоропрен, дающего возможность управлять выключателем.
Проверку проводят внешним осмотром и испытанием вручную.
25.6.1.2 Лампы в ручных светильниках для осмотра и в светильниках для обследования должны быть защищены от случайного повреждения. Любое защитное устройство, такое как прозрачный колпак, должно быть закреплено на корпусе светильника. Должна быть исключена возможность удаления защитного устройства вручную и обеспечена возможность замены лампы без полного снятия этого устройства со светильника.
Примечание - Например, защитное устройство может быть прикреплено к светильнику с помощью петли так, чтобы была возможность переместить его из рабочего положения.
Проверку проводят внешним осмотром и испытанием вручную по 4.12.4 МЭК 598-1.
25.6.1.3 Патроны для ламп накаливания, используемые в ручных светильниках для осмотра, должны быть защищены от проворачивания по крайней мере двумя самостоятельными деталями, из которых хотя бы одна деталь должна крепиться при помощи инструмента. Детали крепления патрона не должны служить для крепления других элементов светильника.
Проверку проводят внешним осмотром и испытанием вручную.
25.6.1.4 В ручных светильниках для осмотра аппаратура управления, необходимая для работы люминесцентных ламп, должна быть встроена в корпус светильника или должны быть предусмотрены способы ее независимого крепления.
25.6.1.5 Светильники, используемые в больничных системах, должны иметь следующие компоненты, размещенные в отдельных отсеках:
a) аппаратуру управления, встроенную в систему так, чтобы она была отделена от других компонентов, не связанных напрямую с лампой;
b) кабели и шнуры, проходящие через систему так, чтобы они были отделены от других компонентов и коммуникаций;
c) трубопроводы медицинского газа, проложенные так, чтобы они были отделены или экранированы от лампы или аппаратуры управления, чтобы тепловое воздействие на трубопроводы было минимальным.
Проверку проводят внешним осмотром.
25.6.1.6 Переносные светильники, отличающиеся от ручных для осмотра, должны иметь накопитель шнура. Это устройство должно быть сконструировано так, чтобы шнур можно было легко убрать или вынуть без повреждений.
Проверку проводят внешним осмотром.
25.6.2 Механическая прочность
25.6.2.1 Светильники для общего обследования должны быть легко регулируемыми и должны оставаться в положении, в котором их отрегулировали.
Проверку проводят внешним осмотром.
25.6.2.2 Переносные светильники для общего обследования не должны опрокидываться при испытании в соответствии с требованиями пункта 24 МЭК 601-1.
25.6.2.3 Механическую прочность ручных светильников для осмотра проверяют по методу, указанному в а), если он применим, и по методу, указанному в b).
a) Устройство, защищающее лампу от повреждения, подвергают воздействию растягивающей нагрузки 250 Н по оси светильника в течение 1 мин.
Защитное устройство должно остаться в рабочем положении.
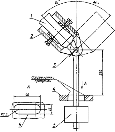
b) Светильник, снабженный гибким кабелем или шнуром в соответствии с требованиями 8.10.2 МЭК 598-2-8 необходимой длины, подвергают двум испытаниям, в процессе которых его ударяют о металлический выступ, закрепленный на жесткой стене из кирпича, камня, бетона или другого аналогичного материала, как показано на рисунке 1.
Выступ размером 40 ´ 40 ´ 5 мм имеет округленное по радиусу 5 мм ребро. Он прилегает вплотную к стене или, если необходимо, находится на металлическом основании, плотно прилегающем к стене.
Ручной светильник для осмотра без лампы подвешивают на гибком кабеле или шнуре так, чтобы точка а светильника, указанная на рисунке 1, оказалась против ребра выступа. Точка подвеса светильника должна быть расположена на высоте 400 мм от ребра выступа. Затем светильник поднимают в вертикальной плоскости до тех пор, пока кабель или шнур не окажется в горизонтальном положении.

Рисунок 1 - Устройство для испытания светильника на удар
Образец ударяют о выступ три раза. Затем светильник подвешивают так, чтобы место удара совпало с точкой b, и подвергают в таком положении трем ударам. Испытание повторяют, переместив место удара в точку с.
В течение первого испытания образец не должен иметь повреждений.
Испытание повторяют при точке подвеса светильника на 1 м выше ребра выступа.
После второго испытания образец не должен иметь повреждений, снижающих его безопасность или ухудшающих его дальнейшее использование. Устройство, защищающее лампу от повреждения, не должно ослабевать, даже если оно деформировалось.
Примечание - Металлическое основание необходимо только в том случае, если форма светильника такова, что светильник не может удариться о ребро выступа.
25.6.3 Регуляторы фокуса и темнителей
Регуляторы фокуса и темнителей, размещенные на светильнике операционного стола, должны быть:
a) размещены так, чтобы было возможно осуществлять регулирование без перекрытия светового пучка однолучевых светильников;
b) приспособлены для легкого проведения регулирования светильника во всех возможных его рабочих положениях (25.6.2.1 настоящего стандарта);
c) разборчиво и прочно маркированы для обозначения их функций.
Регулятор фокуса, расположенный со стороны светового отверстия светильника, а также органы управления регулирования положения светильника должны быть снабжены подвижной стерильной рукояткой.
Проверку проводят внешним осмотром.
25.6.4 Фотометрические характеристики
Фотометрические характеристики считают требованиями безопасности, например в зонах общего обследования; в этом случае светильник должен соответствовать приложению А*.
__________
* В стадии рассмотрения.
Применяют положения раздела 11 МЭК 598-1.
Применяют положения раздела 7 МЭК 598-1.
Применяют положения разделов 14 и 15 МЭК 598-1.
Применяют положения раздела 5 МЭК 598-1 совместно с требованиями 25.10.1-25.10.4 настоящего стандарта.
25.10.1 Шнуры питания светильников с люминесцентными лампами не должны иметь в своем составе встроенного сопротивления, используемого в качестве балласта для лампы.
Проверку проводят внешним осмотром.
25.10.2 Ручные светильники для осмотра не должны иметь штепсельных розеток или разъемов и должны иметь один кабельный ввод.
Проверку проводят внешним осмотром.
25.10.3 Гибкие кабели или шнуры ручных светильников для осмотра и переносных светильников для общего обследования должны быть защищены от многократного изгиба в месте их ввода в светильник при помощи защитной муфты из изоляционного материала, или входное отверстие должно иметь специальную форму.
Защитные муфты кабеля или шнура должны:
a) не составлять единого целого с гибким кабелем или шнуром;
b) быть надежно закреплены на кабеле, чтобы их нельзя было случайно потерять;
c) иметь длину не менее 25 мм, считая от входного отверстия светильника;
d) иметь достаточную механическую прочность и эластичность.
Проверку проводят внешним осмотром, измерениями и испытанием по 25.10.3.1 настоящего стандарта.
25.10.3.1 Светильники закрепляют на маятниковом устройстве, указанном на рисунке 2, таким образом, чтобы ось гибкого кабеля или шнура в месте входа в отверстие светильника находилась в вертикальной плоскости и проходила через ось качания маятника, когда маятник находится в среднем положении.

1 - образец; 2 - устройство для крепления образца; 3 - ось качания; 4 - ограничитель; 5 - груз; 6 - отверстие в ограничителе
Рисунок 2 - Устройство для испытания светильника на изгиб
К кабелю или шнуру при помощи груза прикладывают растягивающее усилие 20 Н.
По проводам пропускают ток, значение которого определяют отношением нормируемой мощности к номинальному напряжению на контактах патрона.
Маятник должен раскачиваться в обе стороны на угол 90° (45° в каждую сторону от вертикали), число изгибов - 20000 при частоте 60 изгибов в минуту.
После испытания не должно быть сломано более 50 % проволок в каждой жиле, а кабель или шнур должны выдержать испытание на сопротивление и электрическую прочность изоляции по разделу 10 МЭК 598-1.
Примечание - Изгибом считают движение маятника в каждую из сторон.
25.10.4 У разборного ручного светильника для осмотра и переносного светильника для общего обследования устройство крепления шнура испытывают по 5.2.10.1 МЭК 598-1 без защитной муфты, сальника или другого аналогичного устройства. Неразборный ручной светильник для осмотра и переносной светильник для общего обследования испытывают в состоянии поставки. Сальниковые вводы не должны служить устройством крепления шнура. Проверку проводят внешним осмотром и испытанием по 5.2.10.1 МЭК 598-1.
Применяют положения раздела 8 МЭК 598-1 совместно с требованиями 25.11.1 и 25.11.2 настоящего стандарта.
25.11.1 У ручных светильников для осмотра должно быть невозможно вручную снять те детали светильника, которые преграждают доступ к резьбовым или байонетным цоколям ламп.
Проверку проводят внешним осмотром и испытанием вручную.
У ручных светильников для осмотра с лампами накаливания при проверке защиты от поражения электрическим током защитное стекло снимают, если только оно не является неотъемлемой частью корпуса светильника.
25.11.2 Светильники или части светильников, расположенные на высоте не более 2 м от пола и которые необходимо выдвинуть или переместить для чистки, замены лампы или стартера, должны быть закреплены так, чтобы для доступа к ним требовалось применение инструмента или должен быть использован другой способ недоступности.
Проверку проводят внешним осмотром.
Применяют положения раздела 12 МЭК 598-1, за исключением светильников с частями, до которых часто дотрагиваются или которые зажимаются; предельные температуры, указанные в таблице 12.1 МЭК 598-1 для этих частей, должны быть снижены на 10 °С. Для светильников, снабженных катушкой с автоматически убирающимся шнуром, применимы также требования 25.12.1 настоящего стандарта. Для ручных светильников для осмотра применимы также требования 25.12.2- 25.12.5 настоящего стандарта.
Для светильников для операционного стола применимы также требования 25.12.5 настоящего стандарта.
25.12.1 У светильников, снабженных катушкой с автоматически убирающимся шнуром, одна треть длины кабеля или шнура должна быть раскручена. Превышение температуры резиновой или ПВХ изоляции измеряют как можно ближе к втулке катушки и между двумя самыми дальними от центра слоями кабеля или шнура в катушке. Превышение температуры скользящих контактов катушки не должно превышать 65 К.
25.12.2 Ручные светильники для осмотра и независимые пускорегулирующие аппараты (ПРА) к ним с внешними деталями, повреждение которых может нарушить их безопасность, дополнительно к испытанию по 12.3.1 МЭК 598-1 подвергают следующему испытанию на старение.
25.12.3 Резиновые оболочки ручных светильников для осмотра и независимой аппаратуры управления подвергают старению в атмосфере с обычным составом и давлением воздуха, свободно подвешивая их в камере тепла, вентилируемой естественным путем.
Образец выдерживают в камере 10 сут (240 ч) при температуре (70 ± 2) °С или при температуре на (30 ± 2) °С выше самой высокой температуры, до которой нагревается резина при испытаниях по 12.4.1 МЭК 598-1, какой бы высокой она ни была.
Во время испытания резиновые части не должны иметь никаких изменений, которые могут стать причиной нарушения безопасности светильника. Это испытание проводят на отдельном образце.
25.12.4 Тепловые испытания, имитирующие работу в нормальном рабочем и в аномальном режимах по 12.4 и 12.5 МЭК 598-1, проводят на ручных светильниках для осмотра и независимом ПРА, если он имеется, располагаемых на деревянной горизонтальной поверхности, окрашенной черной матовой краской, или подвешенных так, чтобы они опирались на вертикальную деревянную поверхность, окрашенную черной матовой краской, в зависимости от того, что соответствует наиболее неблагоприятному режиму работы.
25.12.5 Предельная температура 70 °С для натуральной резины, указанная в таблице 12.2 МЭК 598-1, не относится к деталям оболочки или рукоятки ручного светильника для осмотра, от которых не зависит защита от поражения электрическим током или от попадания пыли и влаги. Достаточным является испытание по 25.12.1 настоящего стандарта.
Применяют положения раздела 9 МЭК 598-1 совместно с требованиями 25.13.1 настоящего стандарта. Ручные светильники также должны соответствовать требованиям 25.13.1.
25.13.1 Защитные стекла, прозрачные колпаки и другие аналогичные элементы снимают перед испытанием светильника на влагозащищенность, даже если для этого требуется применение инструмента, кроме тех случаев, когда они являются несъемной частью корпуса ручного светильника для осмотра.
Применяют положения раздела 10 МЭК 598-1.
Применяют положения раздела 13 МЭК 598-1 совместно с требованиями 25.15.1 настоящего стандарта. Ручные светильники для осмотра также должны соответствовать требованиям 25.15.1.
25.15.1 Для ручных светильников для осмотра, имеющих рукоятку или оболочку из такого гибкого материала, как резина или полихлоропрен, проверка должна проводиться следующим образом.
Детали светильника, которые при нормальной эксплуатации держат в руке, подвергают испытанию сжатием в устройстве, указанном на рисунке 3. Испытание проводят в камере тепла при температуре (100 ± 2) °С.

1 - направление приложения усилия сжатия; 2 - подвижная губка; 3 - неподвижная губка; 4 - направляющие; 5 - образец
Рисунок 3 - Устройство для испытания светильника на сжатие
Образец сжимают двумя металлическими губками, имеющими цилиндрическую поверхность радиусом 25 мм, ширину 15 мм и длину 50 мм. Острые углы скруглены радиусом 2,5 мм.
Образец сжимают так, чтобы губки попали в зону, которая при работе находится в руке, и чтобы ось губок как можно точнее совпала с центром этой зоны.
Усилие сжатия губок должно составлять 100 Н.
Через 1 ч губки раздвигают и осматривают образец, на котором не должно быть никаких повреждений.
В стадии рассмотрения.
|
Обозначение стандартов МЭК |
Обозначение государственных стандартов |
|
МЭК 598-1 (1992) |
ГОСТ Р МЭК 598-1-96 |
|
МЭК 598-2-8 (1996) |
ГОСТ Р МЭК 598-2-8-97 |
|
МЭК 601-1 (1988) |
ГОСТ Р 50267.0-92 |
|
Ключевые слова: требования частные, требования, испытания |