Нормативные документы размещены исключительно с целью ознакомления учащихся ВУЗов, техникумов и училищ.
Объявления:

ГОСУДАРСТВЕННЫЙ СТАНДАРТ СОЮЗА ССР

КАБЕЛИ КОАКСИАЛЬНЫЕ МАГИСТРАЛЬНЫЕ С ПАРАМИ ТИПА 2,6/9,4 И 2,6/9,5

ТЕХНИЧЕСКИЕ УСЛОВИЯ

ГОСТ 10971-78

ГОСУДАРСТВЕННЫЙ КОМИТЕТ СССР ПО СТАНДАРТАМ

Москва

ГОСУДАРСТВЕННЫЙ СТАНДАРТ СОЮЗА ССР

КАБЕЛИ КОАКСИАЛЬНЫЕ МАГИСТРАЛЬНЫЕ С ПАРАМИ ТИПА 2,6/9,4 и 2,6/9,5

Технические условия

Main coaxial cables with type 2,6/9,4 and 2,6/9,5 pairs. Specifications.

ГОСТ
10971-78*

Взамен
ГОСТ
10971-71

Постановлением Государственного комитета стандартов Совета Министров СССР от 3 мая 1978 г. № 1193 срок введения установлен

с 01.01.80

Проверен в 1983 г. Постановлением Госстандарта от 31.08.83 № 4110 срок действия продлен

до 01.01.88

Настоящий стандарт распространяется на магистральные коаксиальные кабели связи с четырьмя коаксиальными парами типа 2,6/9,4 с нормированными электрическими параметрами в диапазоне частот до 140 МГц, или типа 2,6/9,5 для диапазона частот до 60 МГц, пятью звездными четверками с металлическими оболочками различного типа (свинцовой, алюминиевой, алюминиево-свинцовой). Кабели предназначены для многоканальной связи и телевидения.

(Измененная редакция, Изм. № 5, 6).

Настоящий стандарт устанавливает требования к кабелям, изготовляемым для нужд народного хозяйства и для экспорта.

(Измененная редакция, Изм. № 5).

Требования настоящего стандарта являются обязательными.

(Измененная редакция, Изм. № 3, 4, 6).

1. МАРКИ И РАЗМЕРЫ.

1.1. Марки и преимущественные области применения кабелей должны соответствовать указанным в табл. 1.

(Измененная редакция, Изм. № 3).

Таблица 1

Обозначение марки кабеля

Наименование кабеля

Преимущественная область применения

КМГ-4

КМГ-4-60

Коаксиальный магистральный в свинцовой оболочке без защитного покрова

Для прокладки в телефонной канализации, трубах, блоках, коллекторах, тоннелях и внутри помещений при отсутствии механических воздействий на кабель и эксплуатации и среде, нейтральной по отношению к оболочке, в районах, не характеризующихся повышенным электромагнитным влиянием

КМГШп-4

КМГШп-4-60

То же, в свинцовой оболочке с защитным покровом типа Шп

Для прокладки в телефонной канализации, трубах, блоках при отсутствии механических воздействий на кабель и эксплуатации в среде, агрессивной по отношению к оболочке, в районах, не характеризующихся повышенным электромагнитным влиянием

КМАШп-4

КМАШп-4-60

То же, в алюминиевой оболочке с защитным покровом типа Шп

То же, и для прокладки по мостам и в грунтах, если кабель не подвергается большим растягивающим усилиям

КМБл-4

КМБл-4-60

То же, в свинцовой оболочке с защитным покровом типа Бл

Для прокладки в грунтах, агрессивных по отношению к свинцовой оболочке, если кабель не подвергается значительным растягивающим или сдавливающим усилиям, в районах, не характеризующихся повышенным электромагнитным влиянием

КМБШп-4

КМБШп-4-60

То же, в свинцовой оболочке с защитным покровом типа БШп

То же, но в грунтах, агрессивных по отношению к стальной броне

КМБп-4

КМБп-4-60

То же, в свинцовой оболочке с защитным покровом типа Бп

То же, но в грунтах, агрессивных по отношению к свинцовой оболочке

КМБпШп-4

КМБпШп-4-60

То же, в свинцовой оболочке с защитным покровом типа БпШп

То же, но в грунтах, агрессивных по отношению к свинцовой оболочке и стальной броне

КМБпГ-4

КМБпГ-4-60

То же, в свинцовой оболочке с защитным покровом типа БпГ

Для прокладки в пожароопасных помещениях, в шахтах, тоннелях, каналах и коллекторах, если кабель не подвергается большим растягивающим усилиям, в районах, не характеризующихся повышенным электромагнитным влиянием

КМАБпШп-4

КМАБпШп-4-60

То же, в алюминиевой оболочке с защитным покровом типа БпШп

Для прокладки в грунтах всех категорий, кроме подверженных мерзлотным деформациям, в районах, характеризующихся повышенным электромагнитным влиянием, и в воде при пересечении неглубоких болот, несудоходных и несплавных рек со спокойным течением воды

КМАБп-4

КМАБп-4-60

То же, в алюминиевой оболочке с защитным покровом типа Бп

То же, но в грунтах, не агрессивных по отношению к стальной броне

КМАБпГ-4

КМАБпГ-4-60

То же, в алюминиевой оболочке с защитным покровом типа БпГ

Для прокладки в пожароопасных помещениях, в шахтах, тоннелях, каналах и коллекторах, если кабель не подвергается большим растягивающим усилиям, в условиях, характеризующихся повышенным электромагнитным влиянием

КМАКпШп-4

КМАКпШп-4-60

То же, в алюминиевой оболочке с защитным покровом типа КпШп

Для прокладки через горные, судоходные и сплавные реки, их затопляемые и заболоченные поймы, болота глубиной более 2 м, а также в грунтах, подверженных мерзлотным деформациям и при наличии больших растягивающих усилий на кабеле, в районах, характеризующихся повышенным электромагнитным влиянием

КМК-4

КМК-4-60

То же, в свинцовой оболочке с защитным покровом типа К

То же, но в районах, не характеризующихся повышенным электромагнитным влиянием

КМКл-4

КМКл-4-60

То же, в свинцовой оболочке с защитным покровом типа Кл

То же, и в грунтах с повышенной коррозионной опасностью по отношению к свинцовой оболочке

КМКпШп-4

КМКпШп-4-60

То же, в свинцовой оболочке с защитным покровом типа КпШп

То же, но в грунтах с повышенной коррозионной опасностью по отношению к свинцовой оболочке и стальной броне

КМЭБл-4

То же, в двойной металлической оболочке (алюминий-свинец) с защитным покровом типа Бл

Для прокладки в районах с частыми грозами, повышенного влияния ЛЭП и электрифицированных железных дорог в грунтах, агрессивных по отношению к свинцовой оболочке, если кабель не подвергается значительным растягивающим или сдавливающим усилиям.

КМЭБп-4

То же, в двойной металлической оболочке (алюминий-свинец) с защитным покровом типа Бп

То же

КМЭБШп-4

То же, в двойной металлической оболочке (алюминий-свинец) с защитным покровом типа БШп

То же, но в грунтах, агрессивных по отношению к стальной броне

КМЭБпШп-4

То же, в двойной металлической оболочке (алюминий-свинец) с защитным покровом типа БпШп

То же, но в грунтах, агрессивных по отношению к оболочке и стальной броне

КМЭКпШп-4

То же, в двойной металлической оболочке (алюминий-свинец) с защитным покровом типа КпШп

То же, для прокладки через горные, судоходные и сплавные реки, их затопляемые и заболоченные поймы, болота глубиной более 2 м, а также в грунтах, агрессивных по отношению к стальной броне, подверженных мерзлотным деформациям и при наличии больших растягивающих усилий

КМЭК-4

То же, в двойной металлической оболочке (алюминий-свинец) с защитным покровом типа К

То же, но в грунтах, нейтральных по отношению к стальной броне

КМБлГ-4

То же, в свинцовой оболочке с защитным покровом типа БлГ

Для прокладки в пожароопасных помещениях, в шахтах, тоннелях, каналах и коллекторах, если кабель не подвергается большим растягивающим усилиям, в районах, не характеризующихся повышенным электромагнитным влиянием

(Измененная редакция, Изм. № 6).

Примечания:

1. К обозначению марки кабеля в тропическом исполнении в свинцовой и в двойной металлической оболочке (алюминий-свинец) с защитными покровами типов Г, БпГ, ГШп, БШп, БпШп, Бл, Бп и Шп добавляют через тире букву Т.

(Измененная редакция, Изм. № 4, 6).

2. К обозначению марок кабелей со звездными четверками, изолированными полиэтиленом, добавляют через тире букву П.

3. Допускается изготовление кабеля марки КМБШп-4-60 с наружным покровом, усиленным пластмассовой лентой вместо шланга.

4. Кабели с защитным покровом типа Шп не должны прокладываться в районах, характеризующихся опасностью повреждения грызунами.

1.2. Номинальный диаметр внутреннего проводника коаксиальной пары типа 2,6/9,4 должен быть 2,58 мм, номинальный внутренний диаметр внешнего проводника 9,4 мм.

Номинальный диаметр внутреннего проводника коаксиальной пары типа 2,6/9,5 должен быть 2,64 мм, номинальный внутренний диаметр внешнего проводника 9,5 мм.

(Измененная редакция, Изм. № 3).

1.3. Номинальный диаметр токопроводящих жил звездных четверок должен быть 0,9 мм.

1.4. Толщина свинцовой оболочки кабелей должна соответствовать ГОСТ 24641-81.

Толщина свинцовой оболочки кабелей марки КМЭ-4 должна быть не менее 1,3 мм.

Толщина алюминиевой оболочки кабелей должна соответствовать ГОСТ 24641-81.

Номинальная толщина алюминиевой оболочки кабелей типа КМЭ-4 должна быть 1,4 мм.

(Измененная редакция, Изм. № 6).

Номинальная толщина свинцовой оболочки кабелей в тропическом исполнении должна быть:

- с ленточной броней -  мм;

- с броней из круглых проволок -  мм;

- без защитных покровов -  мм;

- с двойной металлической оболочкой - не менее 1,30;

- свинцовую оболочку кабелей без защитных покровов, защищенную слоем технического вазелина.

(Измененная редакция, Изм. № 3, 4).

1.5. Размеры защитных покровов должны соответствовать ГОСТ 7006-72.

1.6. Код ОКП, наружный диаметр и расчетная масса кабелей приведены в справочном приложении 1.

Наружные диаметры кабелей в тропическом исполнении могут быть на 5 мм больше указанных в справочном приложении 1.

(Измененная редакция, Изм. № 1, 3).

1.7. Строительная длина кабелей всех марок, кроме кабелей с броней типа К, должна быть не менее 600 м.

Для кабелей с парами 2,6/9,4 в свинцовой оболочке, кроме кабелей с броней типа К, допускаются отрезки длиной от 200 до 599 м в количестве не более 20 % общей длины партии кабелей; для кабелей в алюминиевой, в двойной металлической оболочке (алюминий-свинец) и в свинцовой оболочке с защитными покровами шлангового типа допускаются отрезки длиной от 200 до 399 м в количестве не более 20 % и отрезки длиной от 400 до 599 м в количестве не более 30 % общей длины партии кабелей, отгружаемых в один адрес.

Для кабелей с парами 2,6/9,5 в свинцовой оболочке, в алюминиевой оболочке и в свинцовой оболочке с защитными покровами шлангового типа, кроме кабелей с броней типа К, допускаются отрезки длиной от 200 до 599 м не более 20 % общей длины партии кабелей.

Для кабелей всех марок, кроме кабелей с броней типа К, допускаются отрезки длиной от 100 до 199 м в количестве не более 10 % общей длины партии, отгружаемой в один адрес.

Строительная длина кабелей с парами 2,6/9,4 и 2,6/9,5 с броней типа К должна быть не менее 400 м; допускаются отрезки длиной от 100 до 399 м не более 10 %. общей длины партии.

Допускается увеличение числа отрезков в партии длиной от 200 до 599 и от 200 до 399 м за счет уменьшения числа отрезков длиной от 100 до 199 м.

В условном обозначении кабеля указываются его марка и обозначение настоящего стандарта.

Пример условного обозначения:

- кабеля коаксиального магистрального с четырьмя коаксиальными парами типа 2,6/9,4 и пятью звездными четверками с воздушно-бумажной изоляцией в свинцовой оболочке, бронированного стальными лентами, без наружного покрова:

Кабель КМБпГ-4 ГОСТ 10971-78

- кабеля, коаксиального магистрального с четырьмя коаксиальными парами типа 2,6/9,5 и пятью звездными четверками с полиэтиленовой изоляцией в свинцовой оболочке, бронированного стальными листами без наружного покрова, для диапазона частот до 60 МГц, в тропическом исполнении:

Кабель КМБпГ-4-60-Т-П ГОСТ 10971-78

(Измененная редакция, Изм. № 3, 6).

2. ТЕХНИЧЕСКИЕ ТРЕБОВАНИЯ.

2.1. Кабели должны изготовляться в соответствии с требованиями настоящего стандарта по технологической документации, утвержденной в установленном порядке.

(Измененная редакция, Изм. № 1).

2.1.1. Кабели изготовляют в климатических исполнениях УХЛ и Т, категории размещения 5 по ГОСТ 15150-69.

(Введен дополнительно, Изм. № 5)

2.2. Конструкция коаксиальных пар.

2.2.1. Коаксиальные пары должны состоять из внутреннего проводника, изолирующих шайб, внешнего проводника, экрана и изоляции.

2.2.2. Внутренний проводник должен быть однопроволочным, изготовленным из медной проволоки марки МТ.

(Измененная редакция, Изм. № 6).

2.2.3. Внешний проводник должен быть изготовлен в виде трубки из медной мягкой ленты номинальной толщиной 0,26 мм с одним продольным швом.

2.2.4. Изолирующие шайбы, насаженные на внутренний проводник, должны быть изготовлены из полиэтилена.

2.2.5. Поверх внешнего проводника должен быть наложен экран из двух стальных или омедненных стальных лент толщиной 0,10 - 0,15 мм. Верхняя лента должна перекрывать зазоры между витками нижней ленты.

2.2.6. Поверх стальных лент коаксиальная пара должна быть изолирована бумажными или пластмассовыми лентами, или пластмассовой оболочкой.

2.2.5 - 2.2.6. (Измененная редакция, Изм. № 3).

2.3. Конструкция звездных четверок.

2.3.1. Токопроводящие жилы звездных четверок должны быть однопроволочными, изготовленными из медной отожженной проволоки марки ММ.

(Измененная редакция, Изм. № 4, 6).

2.3.2. На токопроводящую жилу должна быть наложена воздушно-бумажная, кордельно-бумажная или полиэтиленовая изоляция. Изолированные жилы должны быть скручены в звездную четверку.

(Измененная редакция, Изм. № 4).

2.3.3. Изоляция жил четверки должна быть разного цвета. Жилы в четверке, расположенные по диагонали, образуют рабочие пары, имеющие расцветку: изоляция жил первой пары четверки должна иметь красный и желтый (натуральный) цвета, второй пары - синий (фиолетовый) и зеленый.

2.3.4. Шаг скрутки центральной четверки должен отличаться от шагов скрутки четверок, расположенных в повиве, причем шаги скрутки смежных четверок, расположенных в повиве, также должны быть различными.

2.3.5. Каждая скрученная четверка должна быть обмотана по спирали цветной хлопчатобумажной или синтетической пряжей. Цвет пряжи должен быть: в первой центральной четверке - желтый, во второй - красный, в третьей - зеленый, в четвертой - белый, в пятой - коричневый (черный).

2.3.6. Материалы, применяемые для расцвечивания четверок и жил, не должны изменять своего цвета в процессе производства и эксплуатации.

2.4. Общая конструкция кабеля.

2.4.1. Сердечник кабеля должен быть скручен из четырех коаксиальных пар и пяти звездных четверок. На сердечник должна быть наложена поясная изоляция из бумажных лент или другого изолирующего материала.

2.4.2. Под слоями поясной изоляции или между ними, или под металлической оболочкой должна быть проложена мерная лента, на которой не более чем через каждые 200 мм должны быть нанесены условные обозначения предприятия-изготовителя, год изготовления кабеля и мерные деления с цифрами, позволяющими определить длину кабеля с точностью до ± 0,6 %.

(Измененная редакция, Изм. № 4).

2.4.3. Поверх поясной изоляции должна быть наложена свинцовая или алюминиевая оболочка по ГОСТ 24641-81, или двойная металлическая оболочка (алюминий-свинец), внутренняя оболочка должна быть из алюминия, внешняя из свинца. Технические требования к свинцовой оболочке кабелей в тропическом исполнении должны соответствовать ГОСТ 24641-81 и п. 1.4 настоящего стандарта, к двойной металлической оболочке (алюминий-свинец) кабелей - ГОСТ 24641-81.

2.4.4. Поверх металлической оболочки на кабели всех марок должны быть наложены защитные покровы, соответствующие требованиям ГОСТ 7006-72. Защитные покровы кабелей в тропическом исполнении должны соответствовать РД 16.509-88.

(Измененная редакция, Изм. № 6).

Допускается изготовление подушки покровов типов Бп, БпШп, КпШп, БпГ и наружного покрова типа Шп без полиэтилентерефталатной, полиамидной или других равноценных лент.

Допускается ремонт полиэтиленового шланга в подушке.

Защитные покровы кабелей в тропическом исполнении должны соответствовать следующим требованиям:

- подушка бронированных кабелей со свинцовой оболочкой и покровом типа Б и БГ должны быть типа л по ГОСТ 7006-72 с применением кабельной пряжи;

- броня кабелей с защитным покровом типа Б должна быть стальной оцинкованной;

- броня кабелей с защитным покровом типа БГ, предназначенных для районов с сухим тропическим климатом, должна быть стальной оцинкованной, а для районов с влажным тропическим климатом - стальной оцинкованной, покрытой битумным составом предварительно или в процессе наложения ленты на кабель;

- битумный состав должен быть марок БН 70/30, БН 90/10 или МБК;

- допускается применение битума, битумного состава или вязкого подклеивающего состава с температурой невытекания не ниже 50 °С;

- в защитных покровах бронированных кабелей должна применяться кабельная пряжа, пропитанная специальным пропиточным составом (обедненно-пропитанная) или стеклянная пряжа из штапелированного волокна марки СПКТ-б. Допускается применение стеклопряжи марки СПК-б в кабелях, предназначенных для районов с сухим тропическим климатом;

- в бронированных кабелях с наружной поверхностью, покрытой битумным составом, для предохранения витков от слипания должна применяться дробленая слюда или смесь дробленой слюды с тальком (50 % дробленой слюды и 50 % талька).

(Измененная редакция, Изм. № 3, 5).

2.5. Электрические параметры кабеля при температуре 20 °С должны соответствовать указанным в табл. 2.

Таблица 2

Наименование параметра

Частота тока, кГц

Норма

Коэффициент пересчета нормы на другую длину

Коаксиальные пары

1. Электрическое сопротивление постоянному току. Ом/км, не более

-

 

 

а) внутреннего проводника

 

3,6

б) внешнего проводника:

 

 

 

для 100 % значений

 

2,5

То же

для 90 % значений

 

2,4

» »

2 Сопротивление постоянному току изоляции между внутренним и внешним проводниками МОм · км, не менее

-

10000

3. Номинальное концевое значение волнового сопротивления, Ом

 

 

 

для коаксиальных пар типа 2,6/9,4

1000, 2500

75, 74,6

 

для коаксиальных пар типа 2,6/9,5

2500, ¥

75, 74,4

 

а) отклонение концевого значения волнового сопротивления от номинального 75 Ом, измеренного импульсным прибором при длительности импульса от 0,04 до 0,06 мкс, Ом не более:

 

 

 

для коаксиальных пар типа 2,6/9,4

 

 

 

для 100 % значений

 

± 0,6

 

для 95 % значений

 

± 0,5

 

для 50 % значений

 

± 0,3

 

для коаксиальных пар типа 2,6/9,5

 

± 0,4

 

б) разность волновых сопротивлений концов А и Б каждой коаксиальной пары при длительности импульса от 0,04 до 0,06 мкс, Ом, не более:

 

 

 

для коаксиальных пар типа 2,6/9,4

 

 

 

для 100 % значений

 

0,6

 

для 95 % значений

 

0,4

 

для 60 % значений

 

0,2

 

для коаксиальных пар типа 2,6/9,5

 

 

 

для 100 % значений

 

0,4

 

для 90 % значений

 

0,3

 

в) внутренняя неоднородность - коэффициент отражения в любой точке каждой коаксиальной пары строительной длины, ‰, не более (дБ, не менее)

 

 

 

для коаксиальных пар типа 2,6/9,4 при длительности импульса от 0,04 до 0,06 мкс:

 

 

 

для 100 % значений

 

3 (50)

 

для 95 % значений

 

2 (53)

 

для 55 % значений

 

1 (60)

 

для коаксиальных пар типа 2,6/9,5:

 

 

 

при длительности импульса от 0,04 до 0,06 мкс

 

 

 

для 100 % значений

 

3 (50)

 

для 90 % значений

 

1,5 (56)

 

при длительности импульса 0,01 мкс

 

 

 

для 100 % значений

 

4 (48)

 

для 90 % значений

 

2 (54)

 

г) среднее арифметическое значение трех наибольших коэффициентов отражения в каждой коаксиальной паре любой строительной длины, ‰, не более (дБ, не менее)

 

 

 

для коаксиальных пар типа 2,6/9,4 при длительности импульса от 0,04 до 0,06 мкс

 

2 · 10-3(54)

 

для коаксиальных пар типа 2,6/9,5 при длительности импульса 0,01 мкс

 

2,8 · 10-3(51)

 

д) разность концевых значений волнового сопротивления между двумя любыми коаксиальными парами типа 2,6/9,5 на концах А и Б при длительности импульса от 0,04 до 0,06 мкс, Ом, не более

 

0,3

 

4. Переходное затухание между коаксиальными парами на длине 600 м, дБ (Нп), не менее

 

 

 

для коаксиальных пар 2,6/9,4

300

130(15)

для коаксиальных пар типа 2,6/9,5

4000 - 60000

145,0

5. Коэффициент затухания коаксиальной пары типа 2,6/9,4

1000 - 140000

Типовое значение, указанное в табл.3

Коэффициент затухания коаксиальной пары типа 2,6/9,5

1000 - 60000

Типовое значение, указанное в табл.3а

6. Испытательное напряжение в течение 2 мин, В:

 

 

 

а) между внутренним и внешним проводниками коаксиальных пар при постоянном токе

-

3700

-

б) между экранами коаксиальных пар:

 

 

 

при постоянном токе

-

430

 

при переменном токе

0,05

300

 

Звездные четверки

7. Электрическое сопротивление токопроводящей жилы постоянному току, Ом/км, не более

-

28,5

8. Разность максимального и минимального электрических сопротивлений жил постоянному току в паре на длине 600 м, Ом, не более, для значений:

-

 

 

100 %

-

1,1

80 %

 

0,6

 

9. Сопротивление постоянному току изоляции каждой жилы относительно всех других жил, соединенных с внешними проводниками коаксиальных пар и заземленной металлической оболочкой, отнесенное к длине 1 км, МОм, не менее

 

 

 

а) жилы четверок с воздушно-бумажной, кордельно-бумажной и из пористого полиэтилена изоляцией

 

3000

б) жилы четверок с полиэтиленовой изоляцией

 

5000

 

10. Рабочая емкость пары звездной четверки кабеля, отнесенная к длине 1 км, нФ

 

 

 

а) номинальное значение для пар звездной четверки с воздушно-бумажной, кордельно-бумажной и из пористого полиэтилена изоляцией

0,8

32

б) отклонение от номинального значения для пар звездных четверок с воздушно-бумажной и кордельно-бумажной изоляцией*

 

 

 

для 100 % значений

 

± 5

 

для 90 % значений

 

± 4

 

в) номинальное значение для пар звездных четверок с полиэтиленовой изоляцией

 

 

 

четверок повива

0,8

38,0

 

центральной четверки

 

39,0

 

г) отклонение от поминального значения для пар звездных четверок с полиэтиленовой изоляцией

 

± 4

 

11. Коэффициент затухания пар звездных четверок должен соответствовать типовой характеристике (табл. 4)

10 - 2000

 

12. Испытательное напряжение в течение 2 мин между каждой жилой относительно всех других жил и внешних проводников, соединенных с заземленной металлической оболочкой на строительной длине, В

 

 

 

а) жилы четверок с воздушно-бумажной, кордельно-бумажной и из пористого полиэтилена изоляцией

 

 

 

при постоянном токе

-

1000

 

при переменном токе

0,05

700

 

б) жилы четверок с полиэтиленовой изоляцией

 

 

 

при постоянном токе

 

1400

 

при переменном токе

0,05

1000

 

13. Испытательное напряжение в течение 2 мин между всеми жилами звездных четверок и внешними проводниками коаксиальных пар, соединенных вместе по отношению к металлической оболочке, на строительной длине, В:

 

 

 

для коаксиальных пар типа 2,6/9,4

 

 

 

при постоянном токе

-

2500

 

при переменном токе

0,05

2000

 

для коаксиальных пар типа 2,6/9,5 и типа 2,6/9,4 с жилами звездных четверок с полиэтиленовой изоляцией

 

 

 

при постоянном токе

-

2800

 

при переменном токе

0,05

2000

 

14. Коэффициент защитного действия металлических покровов кабеля с ленточной броней в исходном состоянии при продольных э. д. с., не более:

 

 

-

для кабелей в свинцовой оболочке 50-150 В/км

0,05

0,5

 

для кабелей в алюминиевой и двойной (алюминиево-свинцовой) металлической оболочке

 

 

 

50 В/км

 

0,14

 

80 В/км

0,05

0,12

 

100 - 300 В/км

 

0,10

 

Коэффициент защитного действия алюминиевой оболочки кабелей марки КМАШп-4 при продольных э.д.с. 50-300 В/км в исходном состоянии, не более

0,05

0,45

 

15. Электрическое сопротивление металлических покровов постоянному току, Ом/км, не более, для кабелей:

 

 

 

в алюминиевой оболочке

-

0,25

в двойной металлической оболочке (алюминиево-свинцовой)

-

0,28

 

16. Электрическое сопротивление постоянному току изоляции пластмассового защитного шланга между металлической оболочкой и водой, броней и водой и между металлической оболочкой и броней, отнесенное к длине 1 км, МОм, не менее

 

20

17. Затухание отражения коаксиальных пар типа 2,6/9,5, дБ, не менее

4000 - 70000

 

 

для длин до 500 м

 

41

 

для длин свыше 500 м

 

40

 

18. Затухание отражения коаксиальных пар типа 2,6/9,4, дБ, не менее

20000-100000

25

 

19. Переходное затухание на ближнем конце между парами звездных четверок, дБ, не менее

10 - 2000

70

*Для 1 % измеренных значений допускается отклонение рабочей емкости пар звездных четверок, равное ± 6 нф/км.

(Измененная редакция, Изм. № 4, 5, 6).

Примечания:

1. L - фактическая длина кабеля, м.

2. Номинальное значение рабочей емкости пар звездных четверок с полиэтиленовой и пористой полиэтиленовой изоляцией является факультативным до 1 января 1986 г.

3. Допустимое распределение (в процентах) значений отклонений величин, указанных в пп. 1, 3 и 10, проверяется по фактическим результатам, полученным при измерении не менее 100 строительных длин кабеля.

4. Для коаксиальных пар типа 2,6/9,5 значение волнового сопротивления 74,4 Ом относится к теоретически принятой частоте «бесконечная» (Z ¥). Зависимость волнового сопротивления (Z) Ом, от частоты определяют по формуле:

где f - частота, МГц.

5. Для кабеля с парами типа 2,6/9,5 значения внутренней неоднородности относятся к партии длиной не менее 2 км, отгружаемой в один адрес.

Для партии менее 2 км допускается не более одного значения на две строительные длины со скорректированным значением затухания эха между 50 и 56 дБ.

6. Для длин кабеля менее 150 м принимается L =150.

7. Допускается переходное затухание на ближнем конце между парами соседних звездных четверок на отдельных частотах – не менее 65 дБ.

(Измененная редакция, Изм. № 5).

Типовая характеристика частотной зависимости коэффициента затухания коаксиальных пар типа 2,6/9,4 должна соответствовать указанной в табл. 3.

Отклонение от номинальных значений не должно быть более ± 2 % для частот 1 - 60 МГц и ± 6 % для частот 70 – 140 МГц.

(Измененная редакция, Изм. № 5).

Типовые значения коэффициента затухания коаксиальных пар типа 2,6/9,5 в зависимости от частоты должны соответствовать указанным в табл. 3а.

Отклонение от номинальных значений не должно быть более ± 1 %.

Таблица 3

Частота, МГц

Номинальный коэффициент затухания, дБ/км

Частота, МГц

Номинальный коэффициент затухания, дБ/км

1

2,455

18

10,476

3

4,252

19

10,766

5

5,493

20

11,050

6

6,020

21

11,326

7

6,506

22

11,596

8

6,958

23

11,860

9

7,383

24

12,119

10

7,785

25

12,373

11

8,169

40

15,700

12

8,535

60

19,300

13

8,888

70

20,900

14

9,226

100

25,100

15

9,553

120

27,600

16

9,870

140

29,900

17

10,177

 

 

(Измененная редакция, Изм. № 5).

Таблица 3а

Частота, МГц

Номинальный коэффициент затухания, дБ, на длину 1 км

Частота, МГц

Номинальный коэффициент затухания, дБ, на длину 1 км

1,0

2,40

20,0

10,72

4,0

4,79

40,0

15,20

12,0

8,29

60,0

18,65

Типовая характеристика частотной зависимости коэффициента затухания пар звездных четверок должна соответствовать указанной в табл. 4.

Таблица 4

Частота, кГц

Номинальный коэффициент затухания

для воздушно-бумажной или кордельно-бумажной изоляции, дБ/км

для полиэтиленовой изоляции, дБ/км

для изоляции из пористого полиэтилена, дБ/км

10

1,301

1,41

1,35

20

1,480

1,63

1,56

30

1,659

1,82

1,71

40

1,839

2,01

1,85

50

2,018

2,18

2,00

60

2,197

2,36

2,14

70

2,376

2,53

2,28

80

2,555

2,70

2,43

90

2,734

2,87

2,59

100

2,913

3,05

2,75

110

3,092

3,23

2,91

(Измененная редакция, Изм. № 4, 6).

Таблица 4а

Частота, кГц

Номинальный коэффициент затухания, дБ/км

для воздушно-бумажной изоляции

для кордельно-бумажной изоляции

для полиэтиленовой изоляции

200

4,7

4,7

4,7

500

8,9

8,8

8,5

800

12,6

12,3

11,6

1000

15,0

14,5

13,6

1500

20,6

19,7

18,0

2000

25,9

24,6

22,3

(Измененная редакция, Изм. № 5, 6).

Отклонение от номинальных значений на частотах 10 – 110 кГц ± 6 %, на частотах 200 – 2000 кГц - ± 7,5 % для кордельно-бумажной и воздушно-бумажной изоляции, а для полиэтиленовой изоляции - ± 10 %.

(Измененная редакция, Изм. № 1, 3, 5, 6).

2.6. Коаксиальные пары кабелей должны быть механически стойкими. После двухкратной перемотки электрические параметры кабелей должны соответствовать требованиям табл. 2 (пп. 3, 6, 12 и 16), оболочка кабеля и защитный шланг в части герметичности - ГОСТ 24641-81 и ГОСТ 7006-72 соответственно.

(Измененная редакция, Изм. № 3).

2.7. Каждой строительной длине кабеля в зависимости от измеренных концевых значений волнового сопротивления коаксиальных пар (в пределах отклонений, указанных в п. 3, табл. 2) должен быть присвоен номер группы. Группы должны определяться по средним значениям волнового сопротивления отдельно для концов А и Б, как указано в табл. 5. Номера групп должны обозначаться римскими цифрами и указываться на щеке барабана дробью, где числитель обозначает номер группы конца А, а знаменатель - конца Б.

Таблица 5

Группа кабеля

Среднее значение волнового сопротивления, Ом

Коаксиальной пары типа 2,6/9,4

Коаксиальной пары типа 2,6/9,5

I

74,40-74,65

-

II

74,66-74,90

74,60-74,90

III

74,91-75,15

74,91-75,15

IV

75,16-75,40

75,16-75,40

V

75,41-75,60

-

Примечания.

1. Перед скруткой коаксиальных пар в кабель должна быть произведена их комплектация по концевым значениям волнового сопротивления.

2. Если значения волновых сопротивлений коаксиальной пары концов строительной длины отличаются одно от другого более чем на 0,25 Ом, то номер группы должен обозначаться дополнительной цифрой «0» (например, I - 0/II или III/II - 0).

3. Все концевые значения волновых сопротивлений коаксиальных пар должны быть указаны в протоколе испытаний, приложенном к каждому барабану.

4. Не менее 20 % строительных длин кабеля должны иметь волновое сопротивление коаксиальных пар III группы. Это требование должно быть обеспечено отдельно для концов А и Б. Допускаются кабели III группы с цифрой 0, причем волновые сопротивления коаксиальных пар не должны превышать значений, соответствующих II и IV группам.

2.8. (Исключен, Изм. № 3).

2.9. Материалы, применяемые для изготовления кабелей, должны соответствовать:

катанка медная МКЛПС                                                            - ТУ 16.К71-003-87;

лента медная                                                                               - ГОСТ 16358-79;

лента стальная                                                                            - ГОСТ 503-81;

композиция полиэтилена для кабельной промышленности:

для изоляции – марок 153-01К (02К), 102-01К (02К),

107-01К (02К), 178-01К (02К), 206-07К, 204-07К, 271-70К,

для оболочки - марок 153-10К, 102-10К.                                 - ГОСТ 16336-77;

бумага кабельная                                                                        - ГОСТ 23436-83;

пряжа хлопчатобумажная суровая крученая                           - ГОСТ 6904-83;

кордель для кабелей связи бумажный                                     - ТУ 13 0281099-09-91;

нить полиэфирная техническая                                                - ГОСТ 24662-94;

полиэтиленовые концентраты пигментов П2КП                   - ТУ 6-05-1565-83;

суперконцентраты пигментов СПК                                         - ТУ 6-05-05-149-81;

пленка поливинилхлоридная марки ОН                                  - ГОСТ 16272-79;

пленка из полиэтилена низкого давления

для литья керамической ленты                                                     - ЫУ0.037.053ТУ;

пленка полиэтилентерефталатная                                           - ГОСТ 24234-80;

лента опознавательно-мерная                                                  - нормативной документации, утвержденной в установленном порядке.

По согласованию с разработчиком допускается применять другие равноценные материалы.

Примечание.

Медная проволока марок МТ и ММ, изготовленная из катанки МКЛПС, должна соответствовать нормативно-техническому документу предприятия-изготовителя.

(Измененная редакция, Изм. № 1, 3, 4, 6).

2.10. Рабочее напряжение коаксиальных пар не должно превышать 1000 В переменного тока частотой 50 Гц или 1400 В постоянного тока при электрической прочности коаксиальных пар на смонтированных усилительных участках, равной 3000 В постоянного тока, в течение 2 мин. Допускается кратковременные (не более 1,2 с) перенапряжения коаксиальных пар до 1400 В переменного тока частотой 50 Гц или 2000 В постоянного тока.

(Измененная редакция, Изм. № 5).

Рабочее напряжение каждой жилы звездных четверок по отношению к земле не должно превышать 500 В постоянного напряжения или 350 В переменного напряжения частотой 50 Гц для жил с полиэтиленовой изоляцией и 430 В постоянного напряжения или 300 В переменного напряжения частотой 50 Гц для жил с воздушно-бумажной и кордельно-бумажной изоляцией.

Допускается кратковременное (не более 1,2 с) увеличение напряжения звездных четверок по отношению к земле, в 1,5 раза превышающее максимальное рабочее напряжение.

(Измененная редакция, Изм. № 3, 5).

2.11. Срок службы кабелей - не менее 30 лет.

3. ПРАВИЛА ПРИЕМКИ.

3.1. Для проверки кабелей на соответствие требованиям настоящего стандарта устанавливаются приемо-сдаточные, периодические и типовые испытания.

3.2. За партию изготовителя принимают кабели одной марки, предъявленные к приемке в течение суток. Минимальный объем партии – 3 строительные длины (барабана), максимальный - 20 строительных длин (барабанов).

(Измененная редакция, Изм. № 5).

3.3. Приемо-сдаточным испытаниям на соответствие требованиям пп. 1.1 - 1,7; 2.2.1 - 2.3.5; 2.4.1 - 2.4.4 и 2.5 табл. 2 (пп. 1 - 3, 6 - 10, 12) должны быть подвергнуты все строительные длины кабелей.

(Измененная редакция, Изм. № 6).

Потребитель проводит приемо-сдаточные испытания на соответствие требованиям пп. 1.1 - 1,7; 2.2 - 2.6 (за исключением п. 4 табл. 2 для коаксиальных пар типа 2,6/9,5 и п. 6а) на 3 % строительных длин от партии.

За партию принимают количество кабелей с одним типом изоляции звездных четверок, полученное потребителем по одному сопроводительному документу.

При получении неудовлетворительных результатов хотя бы по одному из показателей, по этому показателю проводят повторные испытания на удвоенном числе строительных длин, отобранных от той же партии.

Результаты повторных испытаний распространяются на всю партию.

(Измененная редакция, Изм. № 3).

3.4. Периодические испытания должны быть проведены не менее чем на трех строительных длинах, прошедших приемо-сдаточные испытания.

Испытания на соответствие требованиям табл. 2 пп. 4 и 13 проводят один раз в 3 мес.; п. 2.6, табл. 2 пп. 5, 11, 14, 15, 16, 18 и 19 - один раз в 6 мес.

(Измененная редакция, Изм. № 5, 6).

Испытания кабелей на соответствие требованиям табл. 2 п. 11 проводят на парах звездных четверок одной или нескольких строительных длин, соединенных последовательно.

Испытания кабелей на соответствие требованиям табл. 2 пп. 14 и 15 проводят на одной строительной длине.

При получении неудовлетворительных результатов периодических испытаний хотя бы по одному показателю по этому показателю должны быть проведены повторные испытания на удвоенном числе строительных длин.

При получении неудовлетворительных результатов повторных испытаний приемку кабеля прекращают.

После устранения причин дефектов и получения удовлетворительных результатов периодических испытаний, приемка кабелей должна быть возобновлена.

3.5. Типовые испытания кабелей на соответствие всем требованиям настоящего стандарта должны проводиться по программе, утвержденной в установленном порядке.

3.6. Протоколы периодических и типовых испытаний должны предъявляться потребителю по его требованию.

3.7. (Исключен, Изм. № 3).

4. МЕТОДЫ ИСПЫТАНИЙ.

4.1. Испытания должны проводиться в нормальных климатических условиях: при температуре окружающего воздуха 25 ± 10 °С, относительной влажности воздуха до 90 % и атмосферном давлении 84 - 117 кПа (630 - 880 мм рт. ст.).

4.2. Проверку конструктивных элементов кабеля (пп. 1.1, 2.2.1 - 2.4.4) проводят внешним осмотром без применения увеличительных приборов.

4.3. Конструктивные размеры (пп. 1.2 - 1.6, 2.2.3) проверяют по ГОСТ 12177-79.

(Измененная редакция, Изм. № 3).

4.4. Проверку свинцовой и алюминиевой оболочек проводят по ГОСТ 24641-81.

Герметичность кабелей в двойной металлической оболочке проверяют в совокупности алюминиевой и свинцовой оболочек.

(Измененная редакция, Изм. № 6).

4.5. Проверку защитных покровов (п. 2.4.4) производят по ГОСТ 7006-72.

Плотность прилегания полиэтиленового защитного шланга проверяют по ГОСТ 7006-72.

При испытании концы образца кабеля должны находиться над поверхностью раствора. Та часть образца, на которой в шланге высверлены отверстия, должна быть полностью погружена в раствор. Глубина погружения должна быть не менее 500 мм.

Испытания на холодоустойчивость кабелей с покровами типов Шп, БпШп, БШп, КпШп проводят при температуре минус 40 ± 2 °С на пяти витках кабеля, плотно намотанных вокруг цилиндра диаметром, равным 25-кратному диаметру кабеля по свинцовой оболочке, 40-кратному диаметру кабеля по алюминиевой оболочке, 30-кратному диаметру кабеля по двойной металлической оболочке (алюминий-свинец).

4.6. Измерение электрического сопротивления токопроводящих жил и металлических покровов (пп. 1, 7 и 15 табл. 2) и определение разности максимального и минимального электрического сопротивления жил в паре (п. 8 табл. 2) должны производиться по результатам измерений электрического сопротивления по ГОСТ 7229-76.

4.7. Измерение сопротивления изоляции (пп. 2, 9 и 16 табл. 2) - по ГОСТ 3345-76. Сопротивление изоляции полиэтиленового шланга (п. 16 табл. 2) кабеля с покровом типа Шп должно быть измерено после 1 ч пребывания в воде.

4.8. Измерение волнового сопротивления (п. 3 табл. 2) - по ГОСТ 27893-88.

(Измененная редакция, Изм. № 6).

4.9. Измерение переходного затухания между коаксиальными парами на строительных длинах (п. 4 табл. 2) должно быть проведено на ближнем конце кабеля методом сравнения на аппаратуре типа КИПЗ-300 с несимметричным измерителем переходного затухания. При этом измеряемые коаксиальные пары на дальнем конце нагружают сопротивлением 75 Ом, внешние проводники всех четырех коаксиальных пар в начале и в конце строительной длины соединяют между собой, а жилы звездных четверок остаются изолированными.

Измерение переходного затухания на ближнем конце между парами соседних звездных четверок на строительных длинах должно быть проведено методом непосредственного отсчета на комплекте типа РМА-60 или WМР-61 (62) согласно техническому описанию на комплект или другими равноценными приборами. При измерении пары звездных четверок на дальнем конце нагружают сопротивлением 150 Ом.

(Измененная редакция, Изм. № 5).

Переходное затухание измеряют на частотах 10, 110, 250, 600, 1000 и 2000 кГц.

(Введен дополнительно, Изм. № 6).

4.10. Измерение коэффициента затухания коаксиальных пар типа 2,6/9,4 (п. 5 табл. 2) должно быть проведено в диапазоне частот 1 - 17 МГц методом компенсации на измерительном пульте типа ИП 10/25 и высокочастотном трансформаторе с погрешностью приборов ± 0,7 %. Допускаются измерения методом сравнения с использованием комплектов КС и ИП 10/25 с погрешностью приборов не более 1 % для диапазона частот до 10 МГц или другими равноценными по точности приборами и методами, позволяющими производить измерения в диапазоне до 17 МГц.

Измерение коэффициента затухания коаксиальных пар типа 2,6/9,5 в диапазоне частот до 60 МГц должно быть проведено по методу, указанному в обязательном приложении 2.

(Измененная редакция, Изм. № 3).

Измерение коэффициента затухания коаксиальных пар типа 26/9,4 в диапазоне частот 40 - 140 МГц должно быть проведено на комплекте Р4-11 в соответствии с техническим описанием на комплект Допускается в диапазоне до 60 МГц измерение проводить методом разности уровней на комплекте РМА-60 в соответствии с техническим описанием на комплект.

(Измененная редакция, Изм. № 5).

4.11. Измерение коэффициента затухания пар звездных четверок (п. 11 табл. 2) должно быть проведено методом разности уровней на комплекте типа РМА-60 или WМР-61 (62) в соответствии с техническим описанием на комплект или другими равноценными приборами. Дли определения коэффициента затухания при температуре 20° температурный коэффициент затухания пар звездных четверок указан в приложениях 3а и .

(Измененная редакция, Изм. № 5, 6).

4.12. Испытание напряжением постоянного тока (пп. 6, 12 и 13 табл. 2 и п. 2.8) должно быть проведено на тренировочно-испытательных установках типа ТИУ или других установках малой мощности с емкостью конденсатора на выходе, не превышающей 0,5 мкФ, и с плавным повышением напряжения до установленных норм. Испытание напряжением коаксиальных пар (п. 6 табл. 2 и п. 2.8) должно быть проведено на тренировочно-испытательных установках типа ТИУ малой мощности с емкостью конденсатора на выходе 0,25 - 0,5 мкФ - на строительных длинах у предприятия-изготовителя; 0,1 - 0,25 мкФ - после транспортирования у потребителя. При этом суммарная емкость конденсатора и коаксиальной пары не должна превышать 0,6 мкФ.

Испытание проводят при плавном повышении постоянного напряжения тока до установленных нормами величии. Если появляется разряд, на что указывают колебания (сбросы) стрелки киловольтметра испытательной установки, дальнейшее повышение напряжения приостанавливают до прекращения разрядов. При учащенных разрядах напряжение следует несколько снизить и дальнейшее повышение его проводить лишь после прекращения разрядов. Прекращение разрядов указывает на повышение электрической прочности изоляции коаксиальных пар в результате тренирования.

Если разряды прекратились при напряжении, ниже установленного нормой, необходимо возобновить его плавное повышение до наступления разрядов при более высоком напряжении и т. д. до тех пор, пока при напряжении, установленном нормой, в течение 2 мин не произойдет ни одного разряда.

Допускается по пп. 6, б, 12 и 13 табл. 2 проводить испытание напряжением переменного тока по ГОСТ 2990-78.

4.13. Измерение рабочей емкости пар звездных четверок (п. 10 табл. 2) - по ГОСТ 27893-88.

(Измененная редакция, Изм. № 6).

4.14. Определение идеального коэффициента защитного действия металлических покровов кабелей (п. 14 табл. 2) по ГОСТ 27893-88.

(Измененная редакция, Изм. № 6).

Измерение должно быть проведено на одном образце кабеля длиной 1110 ± 10 мм. На образце на расстоянии 1000 мм друг от друга и на равном расстоянии от концов спаивают между собой все элементы металлических покровов кабеля. На обоих концах поверх припоя к оболочке припаивают медные тросики (отводы) сечением 3 - 4 мм2 и длиной 50 - 80 мм. Отводы располагают по окружности (по периметру), на каждом конце по четыре отвода, отходящих от поверхности кабеля строго по взаимно перпендикулярным диаметрам; на разных концах образца отводы располагают попарно по одной линии. На передающем конце жилу и оболочку соединяют с помощью соединительного кольца (экрана), контактные лепестки кольца припаивают к краю оболочки по всему периметру, образуя сплошной экран. На приемном конце жилу и оболочку соединяют с измерительным шнуром через соединительное кольцо. Контактные лепестки кольца подпаивают к оболочке как на передающем конце.

Подготовленный образец кабеля размещают внутри потенциальной трубы. Отводы от оболочки с обеих сторон подключают под зажим контактных колец.

Измерительный шнур подключают через переключающую колодку к милливольтметру.

При помощи милливольтметра должно быть измерено два напряжения:

- на оболочке, равное продольной э. д. с., которое должно быть установлено регулировкой автотрансформатора Vоб в мВ;

- между жилой и оболочкой Vж-об в мВ.

Идеальный коэффициент защитного действия Sид определяют как отношение напряжения на жиле образца к напряжению, измеренному на оболочке:

Погрешность милливольтметра должна быть ± 6 %.

Допускается измерение коэффициента защитного действия другими равноценными приборами на образцах другой длины.

4.15. Испытание механической устойчивости коаксиальных пар кабелей (п. 2.6) должно быть проведено путем двукратной перемотки с барабана на барабан, диаметры шейки которых должны быть равны 25-кратному диаметру кабеля по свинцовой оболочке, 40-кратному диаметру кабеля по алюминиевой оболочке, 30-кратному диаметру кабеля по двойной металлической оболочке алюминий-свинец).

4.16. Средняя величина волнового сопротивления и номер группы в строительной длине (п. 2.7) должны быть определены по результатам измерений концевых значений волнового сопротивления коаксиальных пар согласно ГОСТ 27893-88.

(Измененная редакция, Изм. № 6).

4.17. Измерение затухания отражения (п. 17 табл. 2) коаксиальных пар должно быть проведено по методу, указанному в обязательном приложении 5.

(Введен дополнительно, Изм. № 3, 5).

5. МАРКИРОВКА, УПАКОВКА, ТРАНСПОРТИРОВАНИЕ И ХРАНЕНИЕ.

5.1. Маркировка, упаковка, транспортирование и хранение кабелей - по ГОСТ 18690-82.

5.2. Кабели должны наматываться на деревянные барабаны с улиткой по ГОСТ 5151-79. Диаметр шейки барабана должен быть не менее 25-кратного диаметра кабеля по свинцовой оболочке, 40-кратного диаметра кабеля по алюминиевой оболочке, 30-кратного диаметра кабеля по двойной металлической оболочке (алюминий-свинец).

Концы кабеля должны быть запаяны и снабжены вентилем, позволяющим контролировать давление в кабеле при отправке с предприятия-изготовителя и после транспортирования.

Алюминиевая оболочка на концах кабеля должна быть предохранена от коррозии: покрыта битумом или краской и поверх этого слоя должны быть насажены пластмассовые колпаки путем термоусадки или приварки к полиэтиленовому шлангу. Длина колпаков должна обеспечивать их повторное использование после проверки кабеля у потребителя.

Оба конца кабеля должны быть расположены под обшивкой барабана на расстоянии не менее 100 мм от внутренней поверхности обшивки. Концы кабеля должны быть защищены от механических повреждений и доступны для испытаний. Конец А должен быть верхним на барабане и иметь расцветку звездных четверок, следующих друг за другом по часовой стрелке в следующем порядке: зеленая - красная.

5.3. Кабели должны выпускаться, транспортироваться и храниться при избыточном давлении воздуха или инертного газа внутри кабеля от 49 до 108 кПа (0,5 - 1,1 кгс/см2). Значение давления и температура, при которой оно измерялось, должны быть указаны в документе о качестве, прилагаемом к барабану. Допускается отклонение давления от указанного значения у потребителя от 29 до 98 кПа (0,3 - 1,0 кгс/см2), если дополнительная проверка установила герметичность оболочки.

(Измененная редакция, Изм. № 4).

5.4. Условия хранения кабелей в части воздействия климатических факторов должны соответствовать условиям хранения: 6 - для кабелей в тропическом исполнении, 5,8 (не более 6 мес.) для кабелей в исполнении УХЛ по ГОСТ 15150-69.

5.5. Условия транспортирования кабелей в части воздействия климатических факторов должны соответствовать условиям хранения: 9 - для кабелей в тропическом исполнении, 8 - для кабелей в исполнении УХЛ по ГОСТ 15150 - 69.

5.4 – 5.5. (Измененная редакция, Изм. № 5).

5.6. Каждый барабан с кабелем должен сопровождаться документом о качестве, вложенным в водонепроницаемый пакет, укрепленный на внутренней поверхности щеки барабана у верхнего конца кабеля под обшивкой. Второй экземпляр документа о качестве должен быть направлен потребителю вместе с отгрузочными документами.

(Измененная редакция, Изм. № 4).

5.7. На каждом барабане должны быть указаны:

а) товарный знак предприятия-изготовителя;

б) марка кабеля;

в) номер группы кабеля по волновому сопротивлению;

г) длина в метрах;

д) масса брутто барабана в килограммах;

е) номер барабана предприятия-изготовителя;

ж) дата изготовления (год, месяц);

з) обозначение настоящего стандарта.

Место крепления концов кабелей должно указываться на щеке барабана буквами А и Б.

(Измененная редакция, Изм. № 3).

5.8. (Исключен, Изм. № 3).

6. УКАЗАНИЯ ПО ЭКСПЛУАТАЦИИ.

6.1. Кабели предназначены для прокладки ручным и механизированным способом без предварительного подогрева при температуре не ниже минус 10 °С. Для прокладки при температуре ниже минус 10 °С кабели должны быть предварительно прогреты.

6.2. При прокладке кабелей допускается не более двух двойных перегибов кабеля по окружности, имеющей кратность по диаметру, указанному в п. 5.2.

6.3. Температура окружающей среды, при которой допускается эксплуатация кабеля, должна быть от минус 30 до плюс 40 °С. Допускается эксплуатация кабеля под избыточным давлением воздуха или инертного газа внутри кабеля 49 - 59 кПа (0,5 - 0,6 кгс/см2) при относительной влажности не более 15 % при температуре 20 °С.

6.4. В период прокладки и монтажа кабеля влага не должна попадать под оболочку через концы.

6.5. Все коаксиальные пары кабелей перед эксплуатацией должны быть испытаны в течение 2 мин постоянным напряжением:

3400 В - для отдельных длин на строительной площадке;

3200 В - для отдельных длин после прокладки;

3000 В - для смонтированных усилительных участков длиной до 6,3 км

(Введен дополнительно, Изм. № 3).

7. ГАРАНТИИ ИЗГОТОВИТЕЛЯ.

7.1. Изготовитель гарантирует соответствие кабелей требованиям настоящего стандарта при соблюдении условий транспортирования, прокладки, монтажа, эксплуатации и хранения.

Гарантийный срок эксплуатации - 3 года со дня ввода кабелей в эксплуатацию.

(Измененная редакция, Изм. № 3).

ПРИЛОЖЕНИЕ 1
Справочное

Обозначение марки кабеля

Код ОКП

Наружный диаметр, мм

Расчетная масса, кг/км ,

КМГ-4

35 7144 0100

35

3185

КМГШп-4

35 7144 2300

39

3555

КМАШп-4

35 7145 1100

41

1820

КМБл-4

35 7144 0400

46

4200

КМБШп-4

35 7144 0500

49

4255

КМБп-4

35 7144 2700

49

4190

КМБпШп-4

35 7144 2800

54

4505

КМАБпШп-4

35 7145 1200

53

3210

КМАБп-4

35 7145 1300

51

3240

КМЛБпГ-4

35 7145 1400

47

2818

КМЛКпШп-4

35 7145 1500

60

6607

КМК-4

35 7144 0600

54

7590

КМКл-4

35 7144 0700

55

7820

КМКпШп-4

35 7144 2900

61

8270

КМЭБл-4

35 7148 0200

50

5000

КМЭБп-4

35 7148 0300

54

5250

КМЭБШп-4

39 7148 0400

50

4835

КМЭБпШп-4

35 7148 0501

56

5300

КМЭКпШп-4

35 7148 0600

62

8375

КМЭК-4

35 7148 0700

56

7840

КМ БлГ-4

35 7144 5100

42

3825

КМГ-4-60

35 7144 3501

35

3200

КМГШп-4-60

35 7144 3601

39

3570

КМАШп-4-60

35 7145 2501

41

1835

КМБл-4-60

35 7144 3701

46

4215

КМБШп-4-60

35 7144 3901

46

4270

КМБп-4-60

35 7144 3801

49

4205

КМБпШп-4-60

35 7144 4001

54

4520

КМАБпШп-4-60

35 7145 2601

53

3225

КМАБп-4-60

35 7145 2701

51

3255

КМАБпГ-4-60

35 7145 2801

47

2833

КМАКпШп-4-60

35 7145 2901

60

6622

КМК-4-60

35 7144 4201

54

7605

КМКл-4-60

35 7144 4301

55

7835

КМКпШп-4-60

35 7144 4401

61

8285

КМБпГ-4

35 7144 0300

41

3650

КМБпГ-4-60

35 7144 4101

42

3900

(Измененная редакция, Изм. № 1, 3, 6).

ПРИЛОЖЕНИЕ 2
Обязательное

МЕТОД ОПРЕДЕЛЕНИЯ КОЭФФИЦИЕНТА ЗАТУХАНИЯ КОАКСИАЛЬНЫХ КАБЕЛЕЙ СВЯЗИ до 60 МГц.

Настоящий метод предназначен для определения затухания коаксиальных пар кабелей связи в диапазоне частот до 60 МГц.

Метод предусматривает определение коэффициента затухания кабелей типов КМ-4 и КМ-4-60 в диапазоне частот до 60 МГц с использованием измерительного комплекта фирмы «Сименс» (ФРГ) до 100 МГц или 17 МГц, с магазином затухания МЗ-50-2 или коммутационной панелью КС-10 или измерительного пульта ИП-10/25 и применением высокочастотного компенсационного трансформатора.

1. Аппаратура.

Измерение затухания коаксиальных пар кабелей типов КМ-4, КМ-4-60 проводят одним из следующих комплектов аппаратуры.

1.1. В диапазоне частот 0,06 - 60 МГц комплектом аппаратуры «Сименс- 100 МГц», состоящим из:

- генератора уровня W-2072;

- управляющего генератора G-2006;

- измерителя уровня D-2072;

- дифференциального измерителя уровня типа D-2003;

- переключателя типа В-2003;

- разветвителя В-2032;

- комплекта соединительных шнуров к аппаратуре «Сименс-100 МГц».

1.2. В диапазоне частот 0,06 - 17 МГц комплектом аппаратуры «Сименс- 17 МГц», состоящим из:

- генератора уровня ReL 3W 518;

- измерителя уровня ReL 3D 335;

- комплекта соединительных шнуров к аппаратуре «Сименс-17 МГц».

Дополнительно к аппаратуре «Сименс-17 МГц» необходимы:

- коммутационная панель КС-10, со встроенным в нее магазином затухания, либо магазин затухания типа МЗ-50-2.

1.3. В диапазоне частот 0,06 - 25 МГц измерительным пультом ИП-10/25, состоящим из:

- задающего генератора ГЗ-25;

- выходного устройства УБ-25;

- измерительного приемника ПрИ-25;

- коммутационного прибора ПК-25 с магазином затухания МЗ-50-2;

- комплекта соединительных шнуров к измерительному пульту ИП-10/25.

1.4. Для обеспечения измерений по методу компенсации необходим компенсационный трансформатор, имеющий затухание асимметрии не менее 40 дБ в диапазоне частот до 60 МГц.

2. Методы измерений.

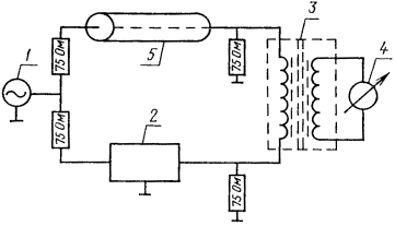
2.1. Измерения комплектом «Сименс-100 МГц» проводят методом сравнения (черт. 1) в соответствии с технической документацией.

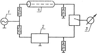
2.2. Измерения комплектом «Сименс-17 МГц», измерительным пультом ИП-10/25 или комплектом «Сименс-100 МГц» без дифференциального измерителя уровня и электротехнического переключателя проводят по методу компенсации на критических частотах по схеме черт. 2.

3. Подготовка к измерениям.

3.1. Измерения затухания производят на линии, составленной из строительных длин кабеля, на барабанах.

Длина линии должна быть не менее:

3500-4000 м - при измерении в диапазонах частот 0,06 - 25 МГц;

2000-2400 м - при измерении в диапазонах частот 1 - 60 МГц.

Измеряемая цепь должна быть составлена из одной или двух строительных длин (длиной порядка 500 - 600 м) кабеля КМ-4 или КМ-4-60.

Соединение (шлейфование) коаксиальных пар строительной длины должно быть выполнено пайкой.

Соединение коаксиальных пар двух строительных длин (в случае кабеля КМ-4) должно быть выполнено пайкой с применением стандартных деталей для их монтажа.

Температура кабеля в период проведения измерений (не реже одного раза за 30 мин) определяется с учетом длины кабеля по мерным лентам и среднего значения сопротивления 1 км внутреннего проводника при температуре 20 °С, полученного статическим методом на образцах длиной 50 см, а также с учетом измеренного значения сопротивления внутреннего проводника цепи.

4. Проведение измерений.

4.1. Для измерения собирают схему по черт. 1 или 2, исходя из наличия измерительной аппаратуры.

1 - генератор; 2 - магазин затухания; 3 - индикатор; 4 - измеряемая коаксиальная линия.

Черт. 1.

4.2. Приборы подготавливают к работе в соответствии с инструкцией по эксплуатации.

4.3. Процесс проведения измерений затухания коаксиальных пар методом сравнения заключается в следующем:

- на управляющем генераторе устанавливают частоты согласно табл. 1 приложения;

- на магазине затухания устанавливают ориентировочное значение затухания измеряемой цепи для соответствующей частоты;

- регулировкой курбелей магазина затухания с постепенным повышением чувствительности дифференциального указателя разности уровней добиваются минимального отклонения стрелки прибора относительно нуля;

1 - генератор; 2 - магазин затухания; 3 - высокочастотный трансформатор; 4 - индикатор; 5 - измеряемая коаксиальная линия

Черт. 2.

- производят отсчет затухания на магазине с точностью до 0,1 дБ и показания стрелочного прибора дифференциального указателя уровня (с точностью до ± 0,01 дБ) при максимальной его чувствительности;

- определяют суммарное значение затухания измеряемой цепи путем сложения значения затухания на магазине и дополнительного значения затухания дифференциального указателя уровня с учетом его знака.

4.4. Приближенное значение первой критической частоты (f1) при измерении по схеме черт. 2 определяют по формуле:

где С0 = 3 · 108 м/с - скорость распространения электромагнитных волн в пустоте;

eэ - эквивалентная относительная диэлектрическая проницаемость изоляции пар 2,6/9,4 или 2,6/9,5 кабеля равная 1,08;

l - длина линии, м.

На выходе генератора устанавливают уровень 0 дБ.

На генераторе устанавливают рассчитанную частоту по формуле (1):

- изменяя частоту генератора и затухание магазина попеременно, добиться минимальных показаний измерителя уровня (приемника);

- значение первой критической частоты и показания магазина затухания заносят в таблицу протокола измерений (форма 1).

Измерения в диапазоне 0,06 - 60 МГц проводят на частотах, близких к частотам, указанным в табл. 2 п. 5.

Измерения проводят с фиксацией номера критических частот.

4.6. Рабочую емкость коаксиальной пары на линии измеряют по методу ГОСТ 10786-72.

Значения рабочей емкости используют при анализе коэффициента затухания кабеля, в случае несоответствия его требованиям настоящего стандарта.

4.7. Среднюю температуру кабеля (tср) определяют по формуле:

где  - среднее измеренное значение сопротивления шлейфа внутренних проводников исследуемой цепи (Ом);

lшл - длина шлейфа цепи по мерным лентам (км);

z20 - среднее статистическое значение сопротивления внутреннего проводника коаксиальной пары при температуре 20 °С (Ом/км),

aR - температурный коэффициент сопротивления 3,93 · 10-3 1/град.

В протокол измерений заносят среднюю расчетную температуру (tср) и длину линии. Их значения используют при обработке результатов измерений.

5. Обработка результатов измерений.

5.1. Определение коэффициента затухания в диапазоне частот 0,06 - 25 МГц.

5.1.1. Затухание линии при температуре 20 °С (a20) в децибелах определяют по формуле

где at - измеренное затухание линии;

aa -температурный коэффициент затухания, указанный в таблице приложения 3 (для метода компенсации значения для критических частот принимают равными ближайшим частотам, приведенным в таблице приложения 3),

tcp - средняя расчетная температура кабеля.

5.1.2. Коэффициент затухания (a20) в дБ/км определяют по формуле

5.1.3. Строят график по формуле  и проводят графическое сглаживание кривой.

5.1.4. По полученной кривой определяют значения  на частотах, указанных в табл. 2 п. 5 и на этих частотах определяют коэффициент затухания a в дБ/км по формуле

5.2. Определение коэффициента затухания в диапазоне частот 1 - 60 МГц.

5.2.1. По результатам измерений строят график  при температуре tср.

Производят графическое сглаживание этой кривой для исключения промахов ошибок измерений. Измеренные значения затухания на этих частотах при дальнейшем расчете не учитывают.

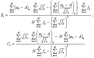
5.2.2. По результатам измерений затухания и критических частот (за исключением промахов), по методу наименьших квадратов (МНК) определяют коэффициенты аппроксимации Bt и Ct эмпирической зависимости.

где f - частота, МГц,

А - коэффициент аппроксимации, определенный расчетным путем, равный 0,0145 дБ/км.

Определение коэффициента аппроксимации методом наименьших квадратов приведены в обязательном приложении 4.

5.2.3. Коэффициенты аппроксимации В и С при температуре 20 °С определяют по формуле

где  - температурный коэффициент В (С);

(aB = 2,011 · 10-3, ac = - 1,60 · 10-3).

Значения коэффициентов аппроксимации заносят в протокол измерений (форма 2).

5.2.4. Значения коэффициента затухания при 20 °С (a20) на частотах, указанных в табл. 2 п. 5, рассчитывают по эмпирической формуле.

Расчетный коэффициент затухания сравнивают с нормативными значениями, указанными в табл. 2 п. 5, и определяют отклонения от них, которые должны быть не более, указанных в п. 2.5.

Расчетные данные и нормативные значения заносят в протокол измерений (форма 3).

6. Показатели точности.

6.1. Интервал, в котором суммарная относительная погрешность измерения коэффициента затухания находится с вероятностью Р - 0,99 при соблюдении всех требований настоящего метода, составляет ± d % Значения d в зависимости от типа аппаратуры и частоты указаны в табл. 1.

Таблица 1

Комплект аппаратуры

Длина кабеля, км

Значения отклонений, %, на частотах, МГц

1

17

25

60

Сименс-100

2,0 - 2,4

± 1,0

± 0,3

± 0,25

± 0,125

 

3,5 - 4,0

± 0,5

± 0,15

± 0,125

± 0,07

Сименс-17

2,0 - 2,4

± 1,0

± 1,0

-

-

 

3,5 - 4,0

± 1,0

± 0,8

-

-

ИП 10/25

2,0 - 2,4

± 1,0

± 1,0

± 1,0

-

 

3,5 - 4,0

± 2,0

± 0,8

± 0,6

-

Примечание.

Относительная погрешность приборов ИП 10/25 определена по ТУ на комплект ИП 10-25.

7. Форма представления результатов измерений.

7.1. Результаты измерений оформляют протоколом измерений по формуле, установленной на предприятии, проводящем испытания, в котором должны быть указаны:

- марка кабеля;

- номер партии;

- число строительных длин;

- длина кабеля;

- температура кабеля при измерении;

- емкость кабеля;

- номера и тип приборов;

- отметка о метрической исправности приборов.

8. Требования к технике безопасности.

Измерения проводят в соответствии с инструкцией по эксплуатации приборов, используемых для измерений, и настоящим стандартом. Клеммы «Земля» приборов должны быть соединены с землей.

Форма 1

Протокол результатов измерений. Значения критической частоты и затухания.

Наименование параметра

Значения

Критическая частота, fк, МГц

 

Номер критической частоты, К

 

Затухание при температуре измерения, at, дБ

 

 

Форма 2

Протокол результатов измерений. Коэффициенты аппроксимации.

дБ/км

Bt

Ct

B

C

 

 

 

 

Форма 3

Протокол результатов измерений. Сравнение результатов измерений коэффициента затухания со значениями по ГОСТ 10971-78.

Наименование параметра

Частота f, МГц

Расчетные значения

по ГОСТ 10971-78

Коэффициент затухания, измеренный при температуре 20 °С, a20 изм, дБ/км

 

 

 

Коэффициент затухания типовой по ГОСТ 10971-78, aтип, Дб/км

 

 

 

Разность между измеренным коэффициентом затухания и типовым, a изм - aтип, дБ/км

 

 

 

Черт. 3

(Введено дополнительно, Изм. № 3).

ПРИЛОЖЕНИЕ 3
Обязательное

ТЕМПЕРАТУРНЫЙ КОЭФФИЦИЕНТ ЗАТУХАНИЯ (aa) КОАКСИАЛЬНЫХ ПАР КАБЕЛЕЙ ТИПОВ КМ-4, КМ-4-60.

Частота, МГц

aa 10-3

Частота, МГц

aa 10-3

Частота, МГц

aa 10-3

0,06

2,430

3,5

1,989

16,0

1,965

0,1

2,150

4,0

1,988

17,0

1,964

0,2

1,894

4,5

1,987

18,0

1,963

0,3

1,928

5,0

1,985

19,0

1,962

0,4

1,984

5,5

1,984

20,0

1,960

0,5

2,020

6,0

1,983

21,0

1,959

0,6

2,035

6,5

1,982

22,0

1,958

0,7

2,040

7,0

1,981

23,0

1,957

0,8

2,040

7,5

1,980

24,0

1,955

0,9

2,035

8,0

1,979

25,0

1,954

1,00

2,026

8,5

1,978

30,0

1,949

1,1

2,018

9,0

1,977

35,0

1,944

1,2

2,012

9,5

1,976

40,0

1,940

1,3

2,005

10,0

1,975

45,0

1,935

1,4

2,003

11,0

1,973

50,0

1,931

1,5

2,000

12,0

1,972

55,0

1,928

2,0

1,995

13,0

1,970

60,0

1,924

2,5

1,993

14,0

1,968

 

 

3,0

1,991

15,0

1,967

 

 

(Введено дополнительно, Изм. № 3).

ПРИЛОЖЕНИЕ 3а
Обязательное

Температурный коэффициент затухания (aa) пар звездных четверок диаметром жил 0,9 мм и воздушно-бумажной или кордельно-бумажной изоляцией в кабеле типа КМ-4.

Частота, кГц

aa · 10-3

Частота, кГц

aa · 10-3

Частота, кГц

aa · 10-3

10

3,56

70

1,28

500

0,69

20

2,95

80

1,18

800

0,92

30

238

90

1,10

1000

1,08

40

1,88

100

1,04

1500

1,41

50

1,59

110

1,00

2000

1,79

60

1,41

200

0,70

 

 

(Измененная редакция, Изм. № 5).

ПРИЛОЖЕНИЕ 3б
Обязательное

Температурный коэффициент затухания (aa) пар звездных четверок с полиэтиленовой изоляцией в кабеле типа КМ-4-II

Частота, кГц

aa · 10-3

Частота, кГц

aa · 10-3

Частота, кГц

aa · 10-3

10

3,61

70

2,35

500

1,23

20

3,01

80

2,22

800

1,16

30

2,97

90

2,12

1000

1,12

40

2,68

100

2,01

1500

1,09

50

2,60

110

1,90

2000

1,04

60

2,44

200

1,54

 

 

(Введено дополнительно, Изм. № 6).

ПРИЛОЖЕНИЕ 4
Обязательное

ОПРЕДЕЛЕНИЕ КОЭФФИЦИЕНТОВ АППРОКСИМАЦИИ КОЭФФИЦИЕНТА ЗАТУХАНИЯ МЕТОДОМ НАИМЕНЬШИХ КВАДРАТОВ (МНК).

Коэффициенты аппроксимации по МНК рассчитывают по следующим формулам:

где .

l - длина кабеля, км;

f - частота, МГц;

N - число измерений.

Вычисление коэффициентов В и С рекомендуется проводить на программируемых микрокалькуляторах типов «Электроника Б3-21» или «Электроника Б3-34».

1. Вычисление на микрокалькуляторе «Электроника Б3-21». Вычисление проводится в два этапа:

На первом этапе вычисляют суммы формулы (1а) по программе

При этом постоянные значения занесены:

А в регистр Р7, N в Р2;

переменные: a в Р; fк в X.

Суммы остаются в регистрах Р3, Р4, Р5, Р6. На втором этапе определяют коэффициенты В и С по программе:

При нажатии клавиш В/О, С/П индицируется значение В, при повторном нажатии клавиши с/п индицируется значение С.

2. Вычисление на микрокалькуляторе «Электроника Б3-34» проводится по программе:

П8ИП4 + П4ИП8FÖИП5 + П5ИП9ИПО ¸ ИП7 – ПАИП3 + П3ИПАИП8FÖ ¸ ИП6 +

+ П61ИП2 + П2 с/п (накопление сумм)

ИП2ИП4 × ИП5FX2 - П8ИП3ИП5 × ПВИП6ИП4 × ИПВ - ИПВ8 ¸ с/п (В)

ИП5ИП6 × ПВИП2ИП3ИП3 × ИПВ - ИП8 ¸ с/п (С)

При этом: постоянные Л в П7, l в ПО; переменные аt в П9, fк в х.

at - измеренное затухание на частоте fизм (дБ) при температуре t °С.

(Введено дополнительно, Изм. № 3).

ПРИЛОЖЕНИЕ 5
Обязательное

МЕТОД ИЗМЕРЕНИЯ ЗАТУХАНИЯ ОТРАЖЕНИЯ КОАКСИАЛЬНЫХ ПАР.

Настоящий метод применяется для измерения средней отраженной мощности и входного коэффициента отражения кабелей связи в диапазоне частот до 100 МГц.

(Измененная редакция, Изм. № 5).

1. Аппаратура.

Измерение коэффициента отражения производят одним из следующих комплектов.

1.1. Комплект аппаратуры Р4-11 (измеритель комплексных коэффициентов передачи), состоящий из:

- генератора качающейся частоты;

- измерительного блока;

- рефлектора № 2 для диапазона частот 1 - 610 МГц для измерительных трактов с волновым сопротивлением 75 Ом;

- аттенюатора Д2-27 (3 дБ);

- аттенюатора Д2-31 (10 дБ);

- согласованной нагрузки (75 Ом);

- нагрузки В. Ч. - 75 Ом;

- комплекта соединительных шнуров;

- разъема для подключения измеряемой коаксиальной пары к рефлектометру.

1.2. Комплект аппаратуры фирмы «Сименс», состоящий из:

- генератора уровня W-2072;

- измерителя уровня Д-2072;

- переключателя типа В-2003;

- магазина затухания Д-117;

- разветвителя В-2017;

- измерительного моста типа Rel-273. Допускается также применение моста типа Rel 3 R 132а1а;

- панорамного осциллографа Rel 3Д-346 со вставным блоком типа Rel 3Д-922;

- нагрузки согласованной - 75 Ом (входит в комплект моста);

- нагрузки Б.Ч.-75 Ом;

- комплекта соединительных шнуров.

2. Метод измерений.

2.1. Измерение комплектом Р4-11 производят мостовым методом с применением преобразования частоты, по схеме, указанной на черт. 1 обязательного приложения 2.

В. Ч. - сигнал генератора качающейся частоты (ГКЧ) поступает на измерительный блок, где он преобразуется в два сигнала, сдвинутые по частоте один относительно другого на 100 кГц. Один из сигналов через рефлектометр поступает на измеряемую коаксиальную пару. В рефлектометре выделяются сигналы, пропорциональные напряжениям падающей (опорный) и отраженной (измерительный) волн. Эти сигналы поступают на смесители опорного и измерительного канала, куда в качестве гетеродина подается сигнал, сдвинутый по частоте на 100 кГц. После смесителей сигналы с частотой 100 кГц поступают в делительную схему, где производится измерение отношения амплитуд. После детекторов постоянная составляющая напряжения подается на экран.

2.2. Измерение с помощью комплекта «Сименс» производят мостовым методом с применением способа сравнения по схеме, указанной на черт. 2 обязательного приложения 2.

В. Ч. - сигнал с генератора качающейся частоты через разветвитель поступает на магазин затухания и мост отражения, к которому подсоединены измеряемая коаксиальная пара и согласованная нагрузка. Сигналы с выхода моста и выхода магазина затухания поступают на переключающее устройство, которое осуществляет их попеременное подключение к панорамному осциллографу, где производится наблюдение и сравнение этих сигналов.

3. Проведение измерений.

Измерение коэффициента отражения должны производиться на всех коаксиальных парах строительных длин кабеля с обоих концов на комплектах аппаратуры Р4-11 и «Сименс».

3.1. Комплект аппаратуры Р4-11.

Измерения проводятся в следующем порядке:

- собирают схему, указанную на черт. 1 обязательного приложения 2;

- подготавливают приборы к работе и производят их калибровку в соответствии с инструкцией по эксплуатации;

- устанавливают на ГКЧ диапазон качания частоты от 1 до 65 МГц.

Для этого на ГКЧ ручкой «Частотомер» устанавливают частоту «0» МГц, а вращением ручки «начальная частота» устанавливают частотную метку в крайнее левое положение на экране ЭЛТ, что соответствует начальной частоте качания порядка 1 МГц. Для установления конечной частоты диапазона - 100 МГц ручкой «частотомер» устанавливают частоту 100 МГц, а вращением ручки «конечная частота» сдвигают частотную метку в крайнее правое положение;

- подсоединяют измеряемую коаксиальную пару к рефлектометру № 2 (диапазон 1 - 610 МГц). Подсоединение следует производить через разъем без применения соединительных шнуров, с тем чтобы избежать дополнительных погрешностей. Противоположный конец коаксиальной пары на В. Ч. нагружают сопротивлением 75 Ом;

- переключателем «режим работы» устанавливают скорость развертки в положение 10 или 40 с (в последнем случае для наблюдения рефлектограмм на экране ЭЛТ необходимо нажать кнопку «пуск»);

- переключателем «Модуль В» устанавливают размах рефлектограммы такой величины, чтобы можно было оценить максимальные выбросы;

- ручкой «отсчет» совмещают линию визира на экране с максимальным выбросом рефлектограммы;

- значение коэффициента отражения Рвх определяют суммированием показаний отсчетного устройства со значением, установленным на переключателе «модуль aВ». Результат заносят в протокол результатов измерений (форме 1);

- определяют частоту максимального выброса f. Для этого вращением ручки «частотомер» на ГКЧ совмещают частотную метку с измеряемым выбросом на рефлектограмме. При этом, показания шкалы частотомера будут соответствовать частоте выброса на рефлектограмме. Результат заносят в протокол результатов измерения (форма 2).

3.2. Комплект аппаратуры «Сименс».

Измерения проводят в следующем порядке:

- собирают схему, указанную на черт. 2 приложения 2. Подсоединение измеряемой пары к мосту отражения производят с помощью коротких соединительных шнуров, входящих в комплект аппаратуры «Сименс»;

- подготавливают приборы к работе в соответствии с инструкцией по эксплуатации;

- устанавливают переключатель S1 в положение «Start-stop»;

- переключателем S2 и ручкой Р5 устанавливают выходной уровень «0» дБ;

- на генераторе устанавливают диапазон качания частоты от 1 до 100 МГц.

Для этого ручкой «Р4» устанавливают начальную частоту 1 МГц и ручкой «Р6» конечную частоту 100 МГц;

- переключателем S2 и ручкой Р5 устанавливают период качания порядка 3 - 5 с. При такой скорости выявление максимальных выбросов на рефлектограмме производится наиболее достоверно;

- переключатель S4 устанавливают в нижнее положение;

- переключатель S5 устанавливают в положение 10 ¸ 1 МГц, а переключателем S3 добиваются необходимой интенсивности свечения меток;

- переключатель S22 на блоке Д-922 панорамного осциллографа устанавливают в положение «0» дБ;

- переключателем S1/S2 измерителя уровня устанавливают размах рефлектограммы, удобный для оценки максимальных выбросов;

- вращением курбелей магазина затухания совмещают измерительную линию на экране (характеристику магазина) с максимальными выбросами рефлектограммы в следующих полосах частот:

1 - 20 МГц, 20 - 30 МГц, 30 - 40 МГц, 40 - 50 МГц, 50 - 100 МГц.

Показания магазина затухания (aизм) для каждого выброса заносят в табл. 1;

- определяют частоту выбросов (f) по частотным меткам и заносят в табл. 1.

Таблица 1

Номер коаксиальных пар

Измерение на конце строительной длины

Затухание магазина, дБ, на частоте в диапазоне частот, МГц

10 - 20

20 - 30

30 - 40

40 - 50

50 - 100

I

А

 

 

 

 

 

 

Б

 

 

 

 

 

II

А

 

 

 

 

 

 

Б

 

 

 

 

 

III

А

 

 

 

 

 

 

Б

 

 

 

 

 

IV

А

 

 

 

 

 

 

Б

 

 

 

 

 

4. Обработка результатов измерений.

4.1. При измерении комплектом аппаратуры Р4-11.

Результаты измерения всех коаксиальных пар с обоих концов строительной длины заносят в таблицу и оформляют протоколом результатов измерении по форме 1.

4.2. При измерении комплектом аппаратуры «Сименс».

Для всех коаксиальных пар с обоих концов строительной длины кабеля определяют величину максимальных коэффициентов отражения в диапазонах частот 1 - 20, 20 - 30, 40 - 40, 40 - 50, 50 - 100 МГц по формуле:

где aизм - затухание магазина;

a0 + Da - затухание, вносимое мостом отражения (определяют по графику, приведенному в описании, и на его корпусе).

Значения результатов расчета по формуле (1) заносят в протокол результатов измерений (форма 2);

в таблицу протокола заносят максимальные значения входного коэффициента отражения по всем диапазоне частот от 1 - 100 МГц для каждой коаксиальной пары.

Вывод о соответствии средней отраженной мощности делается на основании сравнения измеренных значений средней отраженной мощности для всех пар со значениями, указанными в табл. 2 п. 17.

(Измененная редакция, Изм. № 5).

Форма 1

Протокол результатов измерения входного коэффициента отражения.

Дата                                                     Марка кабеля

Измеритель                                         номер кабеля

                                                             длина кабеля

Номер коаксиальных пар

Измерения на концах строительных длин кабеля

Максимальный коэффициент отражения, дБ

Частота, МГц

Норма на входной коэффициент отражения

I

А

 

 

 

 

Б

 

 

 

II

А

 

 

 

 

Б

 

 

 

III

А

 

 

 

 

Б

 

 

 

IV

А

 

 

 

 

Б

 

 

 

Форма 2

Протокол результатов измерения входного коэффициента отражения.

Дата                                                     Марка кабеля

измерение                                           номер барабана

                                                             длина кабеля

Номер коаксиальных пар

Измерения на концах строительных длин кабеля

Максимальный коэффициент отражения, дБ/км на частоте, МГц в диапазоне частот

Максимальный коэффициент отражения, дБ/км на частоте, МГц

Коэффициент отражения

1 – 20; 20 – 30; 30 – 40; 40 – 50; 50 - 100

1 ….. 100

 

 

 

 

 

(Введено дополнительно, Изм. № 3).

ПРИЛОЖЕНИЕ 6

Справочное

(Исключено, Изм. № 6).

СОДЕРЖАНИЕ

1. Марки и размеры. 1

2. Технические требования. 4

3. Правила приемки. 11

4. Методы испытаний. 12

5. Маркировка, упаковка, транспортирование и хранение. 14

6. Указания по эксплуатации. 15

7. Гарантии изготовителя. 15

Приложение 1 справочное. 16

Приложение 2 обязательное Метод определения коэффициента затухания коаксиальных кабелей связи до 60 мгц. 16

Приложение 3 обязательное Температурный коэффициент затухания (aa) коаксиальных пар кабелей типов км-4, км-4-60. 21

Приложение 3а обязательное Температурный коэффициент затухания (aa) пар звездных четверок диаметром жил 0,9 мм и воздушно-бумажной или кордельно-бумажной изоляцией в кабеле типа км-4. 22

Приложение 3б обязательное Температурный коэффициент затухания (aa) пар звездных четверок с полиэтиленовой изоляцией в кабеле типа км-4-ii 22

Приложение 4 обязательное Определение коэффициентов аппроксимации коэффициента затухания методом наименьших квадратов (мнк). 22

Приложение 5 обязательное Метод измерения затухания отражения коаксиальных пар. 23

2008-2013. ГОСТы, СНиПы, СанПиНы - Нормативные документы - стандарты.