Нормативные документы размещены исключительно с целью ознакомления учащихся ВУЗов, техникумов и училищ.
Объявления:

ГОСТ 13196-93

 

МЕЖГОСУДАРСТВЕННЫЙ СТАНДАРТ

УСТРОЙСТВА АВТОМАТИЗАЦИИ
РЕЗЕРВУАРНЫХ ПАРКОВ.
СРЕДСТВА ИЗМЕРЕНИЯ УРОВНЯ
И ОТБОРА ПРОБ НЕФТИ
И НЕФТЕПРОДУКТОВ

ОБЩИЕ ТЕХНИЧЕСКИЕ ТРЕБОВАНИЯ И МЕТОДЫ
ИСПЫТАНИЙ

 

МЕЖГОСУДАРСТВЕННЫЙ СОВЕТ
ПО СТАНДАРТИЗАЦИИ, МЕТРОЛОГИИ И СЕРТИФИКАЦИИ

Минск

Предисловие

1 РАЗРАБОТАН Госстандартом России

ВНЕСЕН Техническим секретарем Межгосударственного Совета по стандартизации, метрологии и сертификации

2 ПРИНЯТ Межгосударственным Советом по стандартизации, метрологии и сертификации 21 октября 1993 г.

За принятие проголосовали:

Наименование государства

Наименование национального органа
по стандартизации

Республика Беларусь

Белстандарт

Республика Кыргызстан

Кыргызстандарт

Республика Молдова

Молдовастандарт

Российская Федерация

Госстандарт России

Республика Таджикистан

Таджикстандарт

Туркменистан

Туркменглавгосинспекция

Украина

Госстандарт Украины

3. ВВЕДЕН ВЗАМЕН ГОСТ 13196-85

 

МЕЖГОСУДАРСТВЕННЫЙ СТАНДАРТ

УСТРОЙСТВА АВТОМАТИЗАЦИИ
РЕЗЕРВУАРНЫХ ПАРКОВ.
СРЕДСТВА ИЗМЕРЕНИЯ УРОВНЯ И
ОТБОРА ПРОБ НЕФТИ И НЕФТЕПРОДУКТОВ

Общие технические требования и методы испытаний

Devices for automation of tank farms.
Means for level measurement and
sampling of oil products
General technical requirements and test methods

ГОСТ
13196-93

Дата введения 1995-01-01

Настоящий стандарт распространяется на устройства автоматизации резервуарных парков, предназначенные для контроля за наполнением и опорожнением резервуаров и емкостей (далее - средства измерения уровня), а также для автоматического отбора проб из наземных, заглубленных, подземных и изотермических резервуаров с нефтью и нефтепродуктами (далее - средства отбора проб).

Номенклатура показателей качества, устанавливаемых при разработке технического задания и технических условий на конкретные типы средств измерения уровня и отбора проб, приведена в приложении 1.

Перечень организационно-методических и общетехнических стандартов, необходимых при разработке технических заданий и технических условий на конкретные типы средств измерения уровня и отбора проб, приведен в приложении 2.

Требования разд. 2 (п.п. 2.8- 2.10, 2.12), 3, 4, 5 настоящего стандарта являются обязательными; другие требования настоящего стандарта являются рекомендуемыми.

1. КЛАССИФИКАЦИЯ

1.1. Средства измерения уровня подразделяют на:

1.1.1. По принципу действия:

- механические;

- электромеханические;

- пневматические;

- гидростатические;

- радиоизотопные;

- ультразвуковые;

- лазерные;

- оптические.

1.1.2. По способу отсчета показаний:

- с местным отсчетом;

- с местным отсчетом и дистанционной передачей значений;

- с местным отсчетом и передачей значений на ЭВМ и (или) видеотерминал.

1.2. Средства отбора проб подразделяют на:

1.2.1. По принципу действия:

- механические;

- электромеханические;

- пневматические;

- гидравлические.

1.2.2. По способу отбора пробы:

- порционные (в том числе для взятия донной пробы);

- интегральные;

- порционно-интегральные.

1.3. В зависимости от исполнения средства отбора проб подразделяют на:

1.3.1. В зависимости от образования пробы:

- нормально открытые;

- нормально закрытые.

1.3.2. В зависимости от сохранения температуры отбираемого нефтепродукта:

- изотермические;

- неизотермические.

1.3.3. В зависимости от способа слива пробы:

- с принудительным вытеснением пробы;

- с самотечным сливом пробы.

1.4. В зависимости от химического воздействия нефтепродуктов средства измерения уровня и отбора проб подразделяют:

- для неагрессивных нефтепродуктов;

- для агрессивных нефтепродуктов.

Примечание. Агрессивными являются нефть и нефтепродукты, химическая активность которых превышает активность продуктов, нейтральных к стали марки 12Х18Н9Т по ГОСТ 5949.

1.5. В зависимости от назначения исполнения средств измерения уровня и отбора проб в соответствии с типами резервуаров подразделяют:

- для наземных резервуаров (вертикальных, цилиндрических, горизонтальных, сферических, с понтоном, с плавающей крышей);

- для заглубленных;

- для подземных;

- для изотермических.

2. ОСНОВНЫЕ ХАРАКТЕРИСТИКИ

2.1. Давление внутри резервуара:

1) избыточное давление выбирается из ряда: до 0,025; 0,16; 0,25; 0,40; 10,0; 25,0 МПа (до 0,25; 1,6; 2,5; 4,0; 100,0; 250,0 кгс/см2);

2) вакуумметрические - не менее 0,0015 МПа (0,015 кгс/см2).

2.2. Диапазон измерения уровня выбирается из ряда: от 0,4 до 4; от 0 до 12; от 0 до 20; от 0 до 25 м.

2.3. Скорость изменения уровня должна быть в пределах от 0 до 200 мм/мин.

2.4. Средства отбора проб должны обеспечивать отбор пробы из резервуара высотой от 2 до 25 м.

2.5. Температура продукта в резервуаре выбирается из ряда:

нижний предел - минус 50; 30 °С;

верхний предел - плюс 50; 100 °С.

2.6. Диапазон плотности нефти и нефтепродуктов - от 400 до 1200 кг/м3 (от 0,4 до 1,2 г/см3).

2.7. Средства отбора проб должны обеспечивать отбор пробы нефти и нефтепродуктов при диапазонах кинематической вязкости, выбираемой из ряда: до 0,02; от 0,02 до 0,08; от 0,08 до 0,15; от 0,15 до 0,25; от 0,25 до 0,40; от 0,40 до 0,60 и от 0,60 м2/с и более.

2.8. Пределы допускаемой основной погрешности средства измерения уровня при местном и дистанционном отсчете показаний должны выбираться из рядов:

до ± 1,0; ± 1,0; ± 2,0; ± 3,0; ± 4,0; ± 5,0; ± 10,0; ± 20,0 мм

или 0,1; 0,5; 1,0; 2,5; 5,0 %.

2.9. Дополнительные погрешности от влияния температуры окружающего воздуха и измеряемой жидкости для средств измерения уровня должны быть не более 0,3 пределов допускаемой основной погрешности, указанной в п. 2.8, и устанавливаются в технических условиях на конкретный тип средства измерения уровня.

2.10. Предельная функция влияния температуры окружающего воздуха  ии дополнительная погрешность, вызываемая изменением температуры измеряемой жидкости , поплавковых (буйковых) средств измерения уровня приведены в приложении 3.

2.11. Средства измерения уровня и отбора проб взрывозащищенного исполнения предназначены для работы с взрывоопасной смесью категории IIВ, группа Т2, Т3, Т4 по классификации ГОСТ 12.1.011.

2.12. Требования к средствам измерения уровня и отбора проб в транспортной таре - по ГОСТ 12997.

3. ПАРАМЕТРЫ, ОБЕСПЕЧИВАЮЩИЕ СОВМЕСТИМОСТЬ

3.1. Расстояние от стенки резервуара до зоны отбора пробы должно быть не менее 0,4 м. Установка средства отбора пробы предпочтительна с северной стороны резервуара. Конкретное положение средства отбора пробы должно устанавливаться проектом размещения технологического оборудования на резервуаре.

3.2. Предельные значения требований по устойчивости к воздействию температуры и влажности окружающего воздуха средств измерения уровня и отбора проб должны соответствовать группе Д3 для изделий третьего порядка по ГОСТ 12997, но для температур окружающего воздуха, выбираемых из ряда:

нижний предел - минус 65; 60; 50; 40; 30 °С;

верхний предел - плюс 30; 40; 50 °С.

3.3. Параметры питания средств измерения уровня и отбора проб:

электрические - от сети переменного тока напряжением 220 В, а также от сети постоянного тока напряжением 12; 24 В. Допускаемое отклонение напряжения сети ± 15 %. Частота переменного тока (50 ± 1) Гц;

гидравлические: давление жидкости питания должно выбираться из ряда: 0,16; 0,40; 0,63; 1,0 МПа (1,6; 4,0; 6,3; 10,0 кгс/см2); допускаемое отклонение ± 10 %;

пневматические: давление питания должно выбираться из ряда: 0,14; 0,25; 0,40; 0,60; 0,80; 1,0 МПа (1,4; 2,5; 4,0; 6,0; 8,0; 10,0 кгс/см2); допускаемое отклонение ± 10 %.

3.4. Объем пробы, взятой на 1 м высоты продукта, должен быть от 40 до 400 см3.

Объем пробоотборной части колонны должен устанавливаться в технических условиях на средства отбора пробы конкретного типа.

Величина разовой пробы должна быть установлена в технической документации на средство отбора пробы конкретного типа.

4. ТРЕБОВАНИЯ БЕЗОПАСНОСТИ

4.1. Средства измерения уровня и отбора проб или их элементы, располагаемые во взрывоопасной зоне резервуара, должны быть взрывозащищенного исполнения согласно ГОСТ 12.2.020, ГОСТ 22782.0 и правилам устройств электроустановок.

Электробезопасность средств измерения уровня и отбора проб, имеющих электрическое питание - по ГОСТ 12997.

Примечание. Не допускается устанавливать элементы средств измерения уровня и отбора проб, несущие электрическую часть внутри резервуара.

4.2. Основные характеристики прочности и герметичности (Ру по ГОСТ 356), а также номенклатура и значения показателей надежности должны быть установлены в стандартах и (или) технических условиях на конкретный тип средства измерения уровня и отбора проб.

4.3. Запорные устройства средств отбора проб должны обеспечивать дублирование друг друга и полное предотвращение пропуска продукта, а также иметь запираемый и пломбируемый кожух на шарнире и козырек над колпаком.

4.4. Конструкция средств измерения уровня и отбора проб должна предусматривать возможность проверки их работоспособности без демонтажа и освобождения резервуара от продукта.

5. МЕТОДЫ ИСПЫТАНИЙ

5.1. Номинальные условия испытаний средств измерения уровня и отбора проб - по ГОСТ 15150.

5.2. Поверка средств измерения уровня - по ГОСТ 8.321.

Метод поверки средств измерения уровня, имеющих в качестве гибкой связи между поплавком и показывающим прибором перфорированную ленту, приведен в приложении 4.

5.3. Проверку на устойчивость к воздействию температуры окружающей среды проводят помещением средств измерения уровня и отбора проб в камеру холода (тепла).

Температуру в камере повышают (понижают) до температур, указанных в п. 3.2, поддерживая температуру с допускаемой погрешностью ± 3 °С. В указанном режиме средства выдерживают в течение 6 ч.

5.4. Средства измерения уровня считают выдержавшими испытания, если пределы допускаемой основной погрешности не превышают значений, указанных в п. 2.8.

Средства отбора проб считают выдержавшими испытания, если они обеспечивают отбор проб из ряда, указанного в п. 2.7.

5.5. Проверку на воздействие относительной влажности проводят помещением средств измерения уровня и отбора проб (их составных частей) в камеру влажности, где создают влажность и температуру в соответствии с требованиями п. 3.2.

Влажность в камере поддерживают с допускаемой погрешностью ± 3 % в течение 24 ч. Затем средства (их составные части) извлекают из камеры и выдерживают в течение 6 ч при температуре (20 ± 5) °С и относительной влажности воздуха не более 80 %.

5.6. Средства измерения уровня (их составные части) считают выдержавшими испытания, если на них отсутствуют следы коррозии и нарушение покрытий и пределы допускаемой основной погрешности не превышают значений, указанных в п. 2.8.

Средства отбора проб (их составные части) считают выдержавшими испытания, если на них отсутствуют следы коррозии и нарушения покрытий и они обеспечивают отбор проб из ряда, указанного в п. 2.7.

5.7. Проверка прочности и герметичности средств измерения уровня и отбора проб - по техническим условиям на конкретные средства измерения уровня и отбора проб.

5.8. Проверка на электробезопасность средств измерения уровня и отбора проб - по ГОСТ 12997.

5.9. Проверка на взрывозащищенность средств измерения уровня и отбора проб - по ГОСТ 22782.0.

5.10. Проверка средств измерения уровня и отбора проб в транспортной таре - по ГОСТ 12997.

 

ПРИЛОЖЕНИЕ 1

Справочное

НОМЕНКЛАТУРА ПОКАЗАТЕЛЕЙ КАЧЕСТВА, УСТАНАВЛИВАЕМЫХ ПРИ
РАЗРАБОТКЕ ТЕХНИЧЕСКОГО ЗАДАНИЯ И ТЕХНИЧЕСКИХ УСЛОВИЙ
НА КОНКРЕТНЫЕ ТИПЫ СРЕДСТВ ИЗМЕРЕНИЯ УРОВНЯ И ОТБОРА ПРОБ

Номер
показателя

Наименование показателя

 

1. Показатели назначения

1.1

Вид используемой энергии средствами уровня и отбора проб

1.2

Способ отсчета показаний средствами измерения уровня

1.3

Способ отбора пробы

1.4

Исполнение средств отбора пробы

1.5

Условное давление в резервуаре с нефтью и нефтепродуктами, кПа, МПа

1.6

Диапазон измерения уровня, м

1.7

Длина пробоотборной колонны, м

1.8

Величина объема пробы, см3

1.9

Расстояние от колонны до стенки резервуара, м

1.10

Температура продукта в резервуаре, °С

1.11

Диапазон температуры окружающего воздуха и влажность, °С, %

1.12

Диапазон плотности нефти и нефтепродуктов, г/см3

1.13

Диапазон кинематической вязкости нефти и нефтепродуктов, м2

1.14

Параметры питания

1.15

Скорость изменения уровня, мм/мин

1.16

Пределы допускаемой основной погрешности средств измерения уровня, мм

1.17

Дополнительная погрешность, вызванная изменением температуры окружающего воздуха и изменением температуры жидкости

 

2. Показатели надежности

2.1

Средняя наработка на отказ, ч

2.2

Полный средний срок службы, лет

2.3

Среднее время восстановления работоспособного состояния

 

3. Показатели экономного использования сырья, топлива,
материалов, энергии и трудовых ресурсов

3.1

Масса изделия, кг

3.2

Потребляемая мощность, В×А

 

4. Эргономические показатели

4.1

Соответствие средств измерения уровня и отбора проб размером человека и его частей, балл

 

5. Эстетические показатели

5.1

Показатели информационной выразительности

5.2

Показатели рациональности формы

 

6. Показатели транспортабельности

6.2

Устойчивость к транспортной тряске

6.1

Устойчивость к воздействию внешней среды при транспортировании

 

7. Показатели безопасности

7.1

Электрическая прочность изоляции

7.2

Электрическое сопротивление изоляции, МОм

7.3

Исполнение по взрывозащите

 

ПРИЛОЖЕНИЕ 2

Справочное

ПЕРЕЧЕНЬ ОРГАНИЗАЦИОННО-МЕТОДИЧЕСКИХ И ОБЩЕТЕХНИЧЕСКИХ
СТАНДАРТОВ, НЕОБХОДИМЫХ ПРИ РАЗРАБОТКЕ ТЕХНИЧЕСКИХ
ЗАДАНИЙ И ТЕХНИЧЕСКИХ УСЛОВИЙ НА КОНКРЕТНЫЕ ТИПЫ
СРЕДСТВ ИЗМЕРЕНИЯ УРОВНЯ И ОТБОРА ПРОБ

ГОСТ 2.601-68

"ЕСКД. Эксплуатационные документы".

ГОСТ 8.321-78

"Государственная система обеспечения единства измерений. Уровнемеры промышленного применения и поплавковые. Методы и средства поверки".

ГОСТ 26.015-81

"ЕССП. Средства измерений и автоматизации. Сигналы пневматические входные и выходные".

ГОСТ 27.002-89

"Надежность в технике. Основные понятия. Термины и определения".

ГОСТ 1510-84

"Нефть и нефтепродукты. Маркировка, упаковка, транспортирование и хранение".

ГОСТ 2517-85

"Нефть и нефтепродукты. Метод отбора проб".

ГОСТ 12997-84

"Изделия ГСП. Общие технические условия".

ГОСТ 15150-69

"Машины, приборы и другие технические изделия. Исполнения для различных климатических районов. Категории, условия эксплуатации, хранения и транспортирования в части воздействия климатических факторов внешней среды".

ГОСТ 26098-84

"Нефтепродукты. Термины и определения".

ГОСТ 27883-88

"Средства измерения и управления техническими процессами. Надежность. Общие требования и методы испытаний".

ГОСТ 28725-90

"Приборы для измерения уровня жидкостей и сыпучих материалов. Общие технические требования и методы испытаний".

 

ПРИЛОЖЕНИЕ 3

Справочное

ПРЕДЕЛЬНАЯ ФУНКЦИЯ ВЛИЯНИЯ ТЕМПЕРАТУРЫ ОКРУЖАЮЩЕГО ВОЗДУХА И ДОПОЛНИТЕЛЬНАЯ ПОГРЕШНОСТЬ, ВЫЗЫВАЕМАЯ
ИЗМЕНЕНИЕМ ТЕМПЕРАТУРЫ ИЗМЕРЯЕМОЙ ЖИДКОСТИ,
ПОПЛАВКОВЫХ (БУЙКОВЫХ) СРЕДСТВ ИЗМЕРЕНИЯ УРОВНЯ

1. Предельная функция влияния температуры окружающего воздуха  для средств измерения уровня, имеющих в качестве связи между поплавком и показывающим прибором перфорированную ленту, в мм, должна иметь вид:

,

где

- допускаемая основная погрешность средств измерения уровня по п. 2.8;

 

- абсолютное значение разности температур, °С;

;

 

tв

- значение температуры окружающего воздуха, °С;

 

tн

- значение температуры окружающего воздуха по п. 3.2, °С;

 

- максимальное значение ;

 

H

- верхний предел диапазона измерения уровня средств измерения уровня, мм;

 

- температурный коэффициент линейного расширения материала гибкой связи между поплавком (буйком) и показывающим прибором, 1/°С.

2. Дополнительная погрешность, вызываемая изменением температуры измеряемой жидкости , в мм, не должна превышать значения, определяемого по формуле

,

где

tж

- значение температуры измеряемой жидкости по п. 2.5, °С;

 

tн

- температура измеряемой жидкости (20±5) °С.

 

ПРИЛОЖЕНИЕ 4

Справочное

1. МЕТОД ПОВЕРКИ СРЕДСТВ ИЗМЕРЕНИЯ УРОВНЯ, ИМЕЮЩИХ В КАЧЕСТВЕ ГИБКОЙ СВЯЗИ МЕЖДУ ПОПЛАВКОМ И ПОКАЗЫВАЮЩИМ ПРИБОРОМ ПЕРФОРИРОВАННУЮ ЛЕНТУ

Для средств измерения уровня, у которых в качестве гибкой связи между поплавком и пружиной уравновешивания используется перфорированная лента, допускается применение следующей методики поверки погрешности измерения.

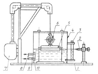
Испытания проводят на уровнемерной установке, принципиальная схема которой приведена на чертеже.

 

1 - монтажная плита; 2 - отсчетный микроскоп типа МПБ; 3 - водомерное стекло; 4 - емкость для рабочей жидкости; 5 - поплавок; 6 - кассетное устройство для крепления бухты уровнемерной установки; 8, 9 - штуцера для налива и слива рабочей жидкости; 10 - гаситель прямой струи рабочей жидкости

 

Сущность метода заключается  том, что не производится полное измерение уровня жидкости в мерном баке на весь диапазон измерения, а осуществляется моделирование этого изменения последовательным изменением длины перфорированной ленты, соединяющей поплавок с пружиной уравновешивания.

Емкость при испытаниях должна заполняться рабочей жидкостью, имеющей наименьшую плотность. Допускается применение жидкостей с другой плотностью по п. 2.10, но в этом случае в результаты вносят поправки, учитывающие разность плотностей.

Для определения пределов допускаемой погрешности уровнемерную установку устанавливают на монтажную плиту. Заполняют мерный бак рабочей жидкостью до уровня, соответствующего средней отметке шкалы микроскопа МПВ.

Погрешность установления и контроля уровня в мерном баке должна быть в диапазоне ± 0,5 мм.

Перфорированную ленту длиной, равной диапазону измерения, перематывают в бухту и крепят с помощью кассетного устройства к поплавку (масса кассетного устройства не должна вызывать дополнительного погружения поплавка, превышающего 0,1 общей высоты поплавка).

На счетчике уровнемерной установки устанавливают нулевые значения. Уровень в мерном баке предварительно снижают на 50 - 100 мм и затем медленно повышают до первоначального (нулевого) положения. Данную операцию проводят 3 раза. Каждый раз при нулевом положении уровня производится отсчет показаний по уровнемеру.

После этого проводят трехкратные испытания при предварительном повышении уровня от 50 до 100 мм.

Аналогичные испытания проводят при показаниях уровнемера, равных половине диапазона измерения, и верхнем его значении. Для этого перед очередной серией измерений освобождают из бухты перфорированную ленту длиной, равной половине диапазона измерения, и на этом расстоянии от предыдущего крепления соединяют с поплавком. Длину ленты определяют как произведение шага нанесения перфорированных отверстий ленты на их количество.

Абсолютные погрешности измерений:

при предварительном снижении уровня

и при предварительном повышении уровня

где

- соответственно показания уровнемера при предварительном снижении и повышении уровня;

 

 

- действительное значение уровня;

 

Нд=L, где L

- длина освобожденной из бухты ленты;

 

i

- номер значения уровня, на котором производят испытания;

 

j

- номер опыта.

Систематические составляющие допускаемой основной погрешности измерения:

;

Среднеквадратическое отклонение случайной составляющей основной погрешности  измерения

.

Погрешности измерения  определяют при доверительной вероятности 0,95 и надежности результата 0,95 по следующим формулам:

;

.

При проведении испытаний с жидкостью, плотность которой отлична от наименьшей

;

.

где

- плотность жидкости, применяемой при испытаниях, при

t = 20 ± 5 °C

 

- наименьшая плотность рабочей жидкости при t = 20 ± 5 °C по п. 2.6.

Из найденных значений  выбирают максимальное по абсолютной величине значение , принимаемое за допускаемую основную погрешность средства измерения.

2. ОПРЕДЕЛЕНИЕ ДОПОЛНИТЕЛЬНОЙ ПОГРЕШНОСТИ, ВЫЗЫВАЕМОЙ ИЗМЕНЕНИЕМ ТЕМПЕРАТУРЫ ИЗМЕРЯЕМОЙ СРЕДЫ, ПОПЛАВКОВЫХ (БУЙКОВЫХ) СРЕДСТВ ИЗМЕРЕНИЯ УРОВНЯ

Дополнительную погрешность средств измерения уровня (приложение 3), вызываемую изменением температуры измеряемой жидкости, определяют при проведении испытаний по разделу 1 приложения 4 путем однократного измерения с погрешностью до ± 1 мм величины погружения поплавка в жидкость на каждом из трех значений диапазона измерения и последующими расчетами:

,

где

- максимальный коэффициент объемного расширения измеряемой жидкости;

 

h

- величина погруженной в жидкость части поплавка.

ИНФОРМАЦИОННЫЕ ДАННЫЕ

ССЫЛОЧНЫЕ НОРМАТИВНО-ТЕХНИЧЕСКИЕ ДОКУМЕНТЫ

Обозначение НТД, на который дана ссылка

Номер пункта

ГОСТ 8.321-78

5.2

ГОСТ 12.1.011-78

2.11

ГОСТ 12.2.020-76

4.1

ГОСТ 356-80

4.2

ГОСТ 5949-75

1.4

ГОСТ 12997-84

2.12; 3.2; 4.1; 5.8; 5.10

ГОСТ 15150-69

5.1

ГОСТ 22782.0-81

4.1; 5.9

 

 

2008-2013. ГОСТы, СНиПы, СанПиНы - Нормативные документы - стандарты.