
ГОСУДАРСТВЕННЫЙ СТАНДАРТ СОЮЗА ССР
ШПИЛЬКИ ДЛЯ ФЛАНЦЕВЫХ СОЕДИНЕНИЙ С ТЕМПЕРАТУРОЙ СРЕДЫ
от 0 до 650°С
Типы и основные размеры
ГОСТ 9066-75
ГОСУДАРСТВЕННЫЙ КОМИТЕТ СССР ПО СТАНДАРТАМ
Москва
ГОСУДАРСТВЕННЫЙ СТАНДАРТ СОЮЗА ССР
|
ШПИЛЬКИ ДЛЯ
ФЛАНЦЕВЫХ СОЕДИНЕНИЙ Типы и основные размеры Studs for flanged connections with medium temperature from 0 to 650°C. Types and main dimensions |
ГОСТ Взамен |
Постановлением Государственного комитета стандартов Совета Министров СССР от 28 марта 1975 г. № 794 срок введения установлен
с 01.01.76
Проверен в 1985 г. Постановлением Госстандарта от 27.12.85 № 4667 срок действия продлен
до 01.01.96
Несоблюдение стандарта преследуется по закону
1. Настоящий стандарт распространяется на шпильки односторонние и двусторонние для фланцевых соединений паровых и газовых турбин, паровых котлов, трубопроводов и соединительных частей, арматуры, приборов, аппаратов и резервуаров с температурой среды от 0 до 650°С.
Стандарт не распространяется на фланцевые соединения объектов, подведомственных Госгортехнадзору СССР, с условным давлением Ру менее 4 МПа (40кгс/см2).
(Измененная редакция, Изм. № 1).
2. Шпильки должны изготовляться следующих типов:
А - шпилька сплошная с одинаковыми номинальными диаметрами резьбы и гладкой части, применяемая для фланцевых соединений трубопроводов паровых котлов, паровых и газовых турбин, арматуры, приборов и резервуаров с температурой металла менее или равной 300°С;
Б - шпилька сплошная с номинальными диаметрами резьбы, большими номинального диаметра гладкой части, применяемая для фланцевых соединений турбин, трубопроводов и соединительных частей паровых котлов, паровых и газовых турбин, арматуры, приборов, аппаратов и резервуаров с температурой металла свыше 300°С;
В - шпилька с осевым отверстием по всей длине, с номинальными диаметрами резьбы, большими номинального диаметра гладкой части, и выступом четырехгранным «под ключ», затягиваемая с нагревом, применяемая для разъемов корпусов цилиндров паровых и газовых турбин, стопорных и регулирующих клапанов с контролируемым затягом шпильки и температурой металла от 0 до 650°С;
Г - шпилька с осевым отверстием по всей длине, с номинальными диаметрами резьбы, большими номинального диаметра гладкой части, и цилиндрическим выступом на ввинчиваемом конце, затягиваемая с нагревом, применяемая для разъемов корпусов цилиндров паровых и газовых турбин, стопорных и регулирующих клапанов, арматуры с контролируемым затягом шпильки и температурой металла от 0 до 650°С;
Д - шпилька с осевым отверстием по всей длине, с номинальными диаметрами резьбы, большими номинального диаметра гладкой части, затягиваемая с нагревом, применяемая для разъемов корпусов цилиндров паровых и газовых турбин, трубопроводов и соединительных частей, арматуры, стопорных и регулирующих клапанов с контролируемым затягом шпильки и температурой металла от 0 до 650°С.
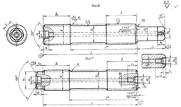
3. Размеры шпилек должны соответствовать указанным на черт. 1 - 3 и в табл. 1, 2.
Тип А
Тип Б

__________
* Размер для справки
Черт. 1

Черт. 2
Тип Д
__________
* Размер для справки.
Черт. 3
мм
|
Номинальный диаметр резьбы d |
10 |
12 |
16 |
20 |
(22) |
24 |
(27) |
30 |
36 |
42 |
48 |
(52) |
56 |
(60) |
||||
|
Шаг резьбы |
крупный |
1,5 |
1,75 |
2 |
2,5 |
3 |
3,5 |
4 |
4,5 |
5 |
5,5 |
|||||||
|
мелкий |
1,25 |
1,5 |
2 |
3 |
4 |
|||||||||||||
|
Диаметр гладкой части |
для шпилек типа А |
d1 |
По ГОСТ 1925.8-73 и ГОСТ 19256-73. |
|||||||||||||||
|
для шпилек типов Б, В, Г, Д |
d2 (пред. откл. по h12) |
с крупным шагом |
7,8 |
9,5 |
13 |
16 |
18 |
20 |
22 |
24 |
30 |
35 |
40 |
44 |
48 |
52 |
||
|
с мелким шагом |
8 |
10 |
14 |
18 |
20 |
21 |
24 |
27 |
33 |
35 |
40 |
44 |
50 |
54 |
||||
|
- |
||||||||||||||||||
|
Диаметр осевого отверстия d3 для шпилек типов В, Г, Д |
- |
10 |
||||||||||||||||
|
Диаметр резьбы осевого отверстия d4 для шпилек типов В, Г, Д |
- |
М12 |
||||||||||||||||
|
Диаметр расточки осевого отверстия для шпилек типов В, Г, Д |
d5s |
- |
13 |
17 |
||||||||||||||
|
d6 |
- |
|||||||||||||||||
|
Диаметр цилиндрического выступа d7 для шпилек типа Г |
- |
24 |
30 |
34 |
39 |
43 |
48 |
52 |
||||||||||
|
Диаметр вписанной окружности d8 для шпилек типа В |
- |
14 |
20 |
25 |
30 |
|||||||||||||
|
Диаметр описанной окружности d9 для шпилек типа В |
- |
20 |
30 |
34 |
40 |
|||||||||||||
|
Радиус перехода R для шпилек типов Б, В, Г, Д |
6 |
8 |
12 |
|||||||||||||||
|
Глубина расточки осевого отверстия h1 для шпилек типов В, Г, Д |
- |
7 |
||||||||||||||||
|
Высота головки «под ключ» h2 для шпилек типа В |
- |
12 |
15 |
20 |
||||||||||||||
|
Глубина резьбы осевого отверстия из для шпилек типов В, Г, Д |
- |
30 |
||||||||||||||||
|
Размер «под ключ» для шпилек типа В |
S (пред. откл. по h12) |
- |
13 |
22 |
27 |
32 |
||||||||||||
|
Длина ввинчиваемого резьбового конца b1 |
номин. |
15 |
18 |
22 |
28 |
30 |
35 |
38 |
42 |
50 |
58 |
65 |
70 |
75 |
80 |
|||
|
пред. откл. |
+1,8 |
+2,1 |
+2,5 |
|
+3,0 |
+4,0 |
||||||||||||
|
Высота цилиндрического выступа l2 для шпилек типа Г |
при нарезании резьбы |
- |
15 |
25 |
||||||||||||||
|
при накатке резьбы |
- |
|||||||||||||||||
|
Высота головки 13 для шпилек типа В |
- |
45 |
55 |
65 |
70 |
75 |
85 |
|||||||||||
Продолжение
мм
|
Номинальный диаметр резьбы d |
64 |
(68) |
72 |
(76) |
80 |
90 |
100 |
110 |
(120) |
125 |
140 |
160 |
||||||||||||||||
|
Шаг резьбы |
крупный |
6 |
|
|||||||||||||||||||||||||
|
мелкий |
4 |
4 и 6 |
||||||||||||||||||||||||||
|
Диаметр гладкой части |
для шпилек типа А |
D1 |
По ГОСТ 19268-73 и ГОСТ 19256-73 |
|||||||||||||||||||||||||
|
для шпилек типов Б, В, Г, Д |
d2 (пред откл. по h12) |
с крупным шагом |
54 |
56 |
|
|||||||||||||||||||||||
|
с мелким шагом |
58 |
62 |
66 |
70 |
74 |
84 |
94 |
104 |
114 |
119 |
134 |
154 |
||||||||||||||||
|
- |
64 |
68 |
72 |
80 |
92 |
102 |
112 |
116 |
132 |
152 |
||||||||||||||||||
|
Диаметр осевого отверстия d3 для шпилек типов В, Г, Д |
10 и 20 |
20 |
36 |
|||||||||||||||||||||||||
|
Диаметр резьбы осевого отверстия d4 для шпилек типов В, Г, Д |
М12 и М24 |
М24 |
М42 |
|||||||||||||||||||||||||
|
Диаметр расточки осевого отверстия для шпилек типов В, Г, Д |
d5 |
17 и 32 |
32 |
54 |
||||||||||||||||||||||||
|
d6 |
- |
40 |
85 |
|||||||||||||||||||||||||
|
Диаметр цилиндрического выступа d7 для шпилек типа Г |
56 |
60 |
64 |
68 |
72 |
82 |
92 |
102 |
112 |
116 |
132 |
152 |
||||||||||||||||
|
Диаметр вписанной окружности d8 для шпилек типа В |
30 |
32 |
35 |
42 |
50 |
60 |
70 |
75 |
||||||||||||||||||||
|
Диаметр описанной окружности d9 для шпилек типа В |
40 |
45 |
58 |
70 |
80 |
95 |
100 |
|||||||||||||||||||||
|
Радиус перехода R для шпилек типов Б, В, Г, Д |
12 |
16 |
||||||||||||||||||||||||||
|
Глубина расточки осевого отверстия h1 для шпилек типов В, Г, Д |
7 |
10 |
13 |
|||||||||||||||||||||||||
|
Высота головки «под ключ» h2 для шпилек типа В |
20 |
25 |
30 |
35 |
40 |
50 |
||||||||||||||||||||||
|
Глубина резьбы осевого отверстия h3 для шпилек типов В, Г, Д |
30 и 50 |
50 |
75 |
|||||||||||||||||||||||||
|
Размер «под ключ» для шпилек типа В |
S (пред. откл. по hl2) |
32 |
36 |
46 |
55 |
65 |
75 |
80 |
||||||||||||||||||||
|
Длина ввинчиваемого резьбового конца b1 |
номин. |
90 |
95 |
100 |
105 |
110 |
125 |
135 |
150 |
160 |
170 |
190 |
220 |
|||||||||||||||
|
пред. откл. |
+4,0 |
|||||||||||||||||||||||||||
|
Высота цилиндрического выступа l2 для шпилек типа Г |
при нарезании резьбы |
25 |
||||||||||||||||||||||||||
|
при накатке резьбы |
- |
35 |
40 |
|||||||||||||||||||||||||
|
Высота головки 13 для шпилек типа В |
90 |
100 |
115 |
120 |
135 |
145 |
160 |
180 |
||||||||||||||||||||
Примечания:
1. Шпильки с размерами, заключенными в скобки, по возможности не применять.
2 Диаметр гладкой части d1 шпилек типа А с мелкой резьбой, выполняемой накаткой, при d>52 мм должен быть равен среднему диаметру резьбы. Допускается диаметр гладкой части шпилек типов Б, В, Г и Д выполнять размером среднего диаметра резьбы, выполненной методом накатки.
3. Размеры радиусов перехода R и концевых фасок не распространяются на шпильки, резьба которых выполняется методом накатки.
4. Длину ввинчиваемого резьбового конца допускается выполнять равной 1,6 d или 1,8 d на шпильках всех типов.
5. Допускается на шпильках типов Г и Д не делать расточку осевого отверстия d6, при этом на шпильках типа Г цилиндрический выступ допускается выполнять по высоте I2, равной удвоенному шагу резьбы.
6. Допускается на шпильках типов В, Г и Д осевое отверстие выполнять диаметром d3, равным 6,7 мм для шпилек М30 и М36 и 8,5 мм для шпилек М42 и М48, размеры гнезда под рым-болт - по ГОСТ 4751-73.
7. Допускается уменьшение диаметра d7 на величину шага резьбы.
8. Допускается для шпилек типов В, Г, Д с номинальным диаметром резьбы до М60 осевое отверстие d3 и гнездо под рым-болт не выполнять.
9. Неуказанные предельные отклонения размеров:
Н14, h14, ±
по ГОСТ 25670-83.
мм
|
Длина шпильки L (пред. откл. по js 16) |
Номинальный диаметр резьбы, d |
|||||||||||||||||||||||||||||||||||||||||||||||||
|
10 |
12 |
16 |
20 |
(22) |
24 |
(27) |
30 |
36 |
42 |
48 |
(52) |
56 |
(60) |
64 |
(68) |
72 |
(76) |
80 |
100 |
110 |
(120) |
125 |
140 |
160 |
||||||||||||||||||||||||||
|
Длина резьбового конца, b |
||||||||||||||||||||||||||||||||||||||||||||||||||
|
45 |
- |
- |
- |
- |
- |
- |
- |
- |
- |
- |
- |
- |
- |
- |
- |
- |
- |
- |
- |
- |
- |
- |
- |
- |
- |
- |
||||||||||||||||||||||||
|
50 |
- |
- |
- |
- |
- |
- |
- |
- |
- |
- |
- |
- |
- |
- |
- |
- |
- |
- |
- |
- |
- |
- |
- |
- |
- |
- |
||||||||||||||||||||||||
|
55 |
- |
- |
- |
- |
- |
- |
- |
- |
- |
- |
- |
- |
- |
- |
- |
- |
- |
- |
- |
- |
- |
- |
- |
- |
- |
- |
||||||||||||||||||||||||
|
60 |
- |
- |
- |
- |
- |
- |
- |
- |
- |
- |
- |
- |
- |
- |
- |
- |
- |
- |
- |
- |
- |
- |
- |
- |
- |
- |
||||||||||||||||||||||||
|
65 |
- |
- |
- |
- |
- |
- |
- |
. |
- |
- |
- |
- |
- |
- |
- |
- |
- |
- |
- |
- |
- |
- |
- |
- |
- |
- |
||||||||||||||||||||||||
|
70 |
22 |
- |
- |
- |
- |
- |
- |
- |
- |
- |
- |
- |
- |
- |
- |
- |
- |
- |
- |
- |
- |
- |
- |
- |
- |
- |
||||||||||||||||||||||||
|
75 |
- |
25 |
- |
- |
- |
- |
- |
- |
- |
- |
- |
- |
- |
- |
- |
- |
- |
- |
- |
- |
- |
- |
- |
- |
- |
- |
||||||||||||||||||||||||
|
80 |
- |
- |
- |
- |
- |
- |
- |
- |
- |
- |
- |
- |
- |
- |
- |
- |
- |
- |
- |
- |
- |
- |
- |
- |
- |
- |
||||||||||||||||||||||||
|
85 |
- |
- |
- |
- |
- |
- |
- |
- |
- |
- |
- |
- |
- |
- |
- |
- |
- |
- |
- |
- |
- |
- |
- |
- |
- |
- |
||||||||||||||||||||||||
|
90 |
- |
- |
32 |
- |
- |
- |
- |
- |
- |
- |
- |
- |
- |
- |
- |
- |
- |
- |
- |
- |
- |
- |
- |
- |
- |
- |
||||||||||||||||||||||||
|
95 |
- |
- |
- |
- |
- |
- |
- |
- |
- |
- |
- |
- |
- |
- |
- |
- |
- |
- |
- |
- |
- |
- |
- |
- |
- |
- |
||||||||||||||||||||||||
|
100 |
- |
- |
- |
- |
- |
- |
- |
. |
- |
- |
- |
- |
- |
- |
- |
- |
- |
- |
- |
- |
- |
- |
- |
- |
- |
- |
||||||||||||||||||||||||
|
110 |
- |
- |
- |
- |
- |
- |
- |
- |
- |
- |
- |
- |
- |
- |
- |
- |
- |
- |
- |
- |
- |
- |
- |
- |
- |
- |
||||||||||||||||||||||||
|
120 |
28 |
- |
- |
40 |
- |
- |
- |
- |
- |
- |
- |
- |
- |
- |
- |
- |
- |
- |
- |
- |
- |
- |
- |
- |
- |
- |
||||||||||||||||||||||||
|
130 |
- |
- |
- |
- |
45 |
- |
- |
|
- |
- |
- |
- |
- |
- |
- |
- |
- |
- |
- |
- |
- |
- |
- |
- |
- |
- |
||||||||||||||||||||||||
|
140 |
- |
- |
- |
- |
- |
- |
- |
- |
- |
- |
- |
- |
- |
- |
- |
- |
- |
- |
- |
- |
- |
- |
- |
- |
- |
- |
||||||||||||||||||||||||
|
150 |
- |
30 |
- |
- |
- |
- |
- |
- |
- |
- |
- |
- |
- |
- |
- |
- |
- |
- |
- |
- |
- |
- |
- |
- |
- |
- |
||||||||||||||||||||||||
|
160 |
- |
- |
- |
- |
- |
48 |
- |
- |
- |
- |
- |
- |
- |
- |
- |
- |
- |
- |
- |
- |
- |
- |
- |
- |
- |
- |
||||||||||||||||||||||||
|
170 |
- |
- |
- |
- |
- |
- |
55 |
- |
- |
- |
- |
- |
- |
- |
- |
- |
- |
- |
- |
- |
- |
- |
- |
- |
- |
- |
||||||||||||||||||||||||
|
180 |
- |
- |
40 |
- |
- |
- |
- |
60 |
- |
- |
- |
- |
- |
- |
- |
- |
- |
- |
- |
- |
- |
- |
- |
- |
- |
- |
||||||||||||||||||||||||
|
190 |
- |
- |
- |
- |
- |
- |
- |
- |
- |
- |
- |
- |
- |
- |
- |
- |
- |
- |
- |
- |
- |
- |
- |
- |
- |
- |
||||||||||||||||||||||||
|
200 |
- |
- |
- |
48 |
- |
- |
- |
- |
- |
- |
- |
- |
- |
- |
- |
- |
- |
- |
- |
- |
- |
- |
- |
- |
- |
- |
||||||||||||||||||||||||
|
210 |
- |
- |
- |
- |
52 |
- |
- |
- |
70 |
- |
- |
- |
- |
- |
- |
- |
- |
- |
- |
- |
- |
- |
- |
- |
- |
- |
||||||||||||||||||||||||
|
220 |
- |
- |
- |
- |
- |
- |
- |
- |
- |
75 |
- |
- |
- |
- |
- |
- |
- |
- |
- |
- |
- |
- |
- |
- |
- |
- |
||||||||||||||||||||||||
|
230 |
- |
- |
- |
- |
- |
58 |
- |
- |
- |
- |
- |
- |
- |
- |
- |
- |
- |
- |
- |
- |
- |
- |
- |
- |
- |
- |
||||||||||||||||||||||||
|
240 |
- |
- |
- |
- |
- |
- |
|
- |
- |
- |
- |
- |
- |
- |
- |
- |
- |
- |
- |
- |
- |
- |
- |
- |
- |
- |
||||||||||||||||||||||||
|
250 |
- |
- |
- |
- |
- |
- |
65 |
- |
- |
- |
- |
- |
- |
- |
- |
- |
- |
- |
- |
- |
- |
- |
- |
- |
- |
- |
||||||||||||||||||||||||
|
260 |
- |
- |
- |
- |
- |
- |
- |
- |
- |
- |
- |
- |
- |
- |
- |
- |
- |
- |
- |
- |
- |
- |
- |
- |
- |
- |
||||||||||||||||||||||||
|
270 |
- |
- |
- |
- |
- |
- |
- |
- |
- |
- |
90 |
- |
- |
- |
- |
- |
- |
- |
- |
- |
- |
- |
- |
- |
- |
- |
||||||||||||||||||||||||
|
280 |
- |
- |
- |
- |
- |
- |
- |
- |
- |
- |
- |
- |
- |
- |
- |
- |
- |
- |
- |
- |
- |
- |
- |
- |
- |
- |
||||||||||||||||||||||||
|
290 |
- |
- |
- |
- |
- |
- |
- |
- |
- |
- |
- |
95 |
- |
- |
- |
- |
- |
- |
- |
- |
- |
- |
- |
- |
- |
- |
||||||||||||||||||||||||
|
300 |
- |
- |
- |
- |
- |
- |
- |
70 |
- |
- |
- |
- |
- |
- |
- |
- |
- |
- |
- |
- |
- |
- |
- |
- |
- |
- |
||||||||||||||||||||||||
|
310 |
- |
- |
- |
- |
- |
- |
- |
- |
- |
- |
- |
- |
105 |
115 |
120 |
- |
- |
- |
- |
- |
- |
- |
- |
- |
- |
- |
||||||||||||||||||||||||
|
320 |
- |
- |
- |
- |
- |
- |
- |
- |
80 |
- |
- |
- |
- |
- |
- |
- |
- |
- |
- |
- |
- |
- |
- |
- |
- |
- |
||||||||||||||||||||||||
|
330 |
- |
- |
- |
- |
- |
- |
- |
- |
- |
90 |
- |
- |
- |
- |
- |
125 |
- |
- |
- |
- |
- |
- |
- |
- |
- |
- |
||||||||||||||||||||||||
|
340 |
- |
- |
- |
- |
- |
- |
- |
- |
- |
- |
- |
- |
- |
- |
- |
- |
135 |
135 |
- |
- |
- |
- |
- |
- |
- |
- |
||||||||||||||||||||||||
|
350 |
- |
- |
- |
- |
- |
- |
- |
- |
- |
- |
- |
- |
- |
- |
- |
- |
- |
- |
135 |
- |
- |
- |
- |
- |
- |
- |
||||||||||||||||||||||||
|
360 |
- |
- |
- |
- |
- |
- |
- |
- |
- |
- |
- |
- |
- |
- |
- |
- |
- |
- |
|
- |
- |
- |
- |
- |
- |
- |
||||||||||||||||||||||||
|
370 |
- |
- |
- |
- |
- |
- |
- |
- |
- |
- |
- |
- |
- |
- |
- |
- |
- |
- |
- |
- |
- |
- |
- |
- |
- |
- |
||||||||||||||||||||||||
|
380 |
- |
- |
- |
- |
- |
- |
- |
- |
- |
- |
- |
- |
105 |
- |
- |
- |
- |
- |
- |
- |
- |
- |
- |
- |
- |
- |
||||||||||||||||||||||||
|
390 |
- |
- |
- |
- |
- |
- |
- |
- |
- |
- |
100 |
- |
- |
- |
- |
- |
- |
- |
- |
- |
- |
- |
- |
- |
- |
- |
||||||||||||||||||||||||
|
400 |
- |
- |
- |
- |
- |
- |
- |
- |
- |
- |
- |
- |
- |
115 |
- |
- |
- |
- |
- |
- |
- |
- |
- |
- |
- |
- |
||||||||||||||||||||||||
|
410 |
- |
- |
- |
- |
- |
- |
- |
- |
- |
- |
- |
- |
- |
- |
- |
- |
- |
- |
- |
- |
- |
- |
- |
- |
- |
- |
||||||||||||||||||||||||
|
420 |
- |
- |
- |
- |
- |
- |
- |
- |
- |
- |
- |
- |
- |
- |
120 |
- |
- |
- |
- |
- |
- |
- |
- |
- |
- |
- |
||||||||||||||||||||||||
|
430 |
- |
- |
- |
- |
- |
- |
- |
- |
- |
- |
- |
- |
- |
- |
- |
- |
- |
- |
- |
- |
- |
- |
- |
- |
- |
- |
||||||||||||||||||||||||
|
440 |
- |
- |
- |
- |
- |
- |
- |
- |
- |
- |
- |
105 |
- |
- |
- |
125 |
- |
- |
- |
- |
- |
- |
- |
- |
- |
- |
||||||||||||||||||||||||
|
450 |
- |
- |
- |
- |
- |
- |
- |
- |
- |
- |
- |
- |
- |
- |
- |
- |
- |
- |
- |
- |
- |
- |
- |
- |
- |
- |
||||||||||||||||||||||||
|
460 |
- |
- |
- |
- |
- |
- |
- |
- |
- |
- |
- |
- |
- |
- |
- |
- |
- |
- |
- |
- |
- |
- |
- |
- |
- |
- |
||||||||||||||||||||||||
|
470 |
- |
- |
- |
- |
- |
- |
- |
- |
- |
- |
- |
- |
120 |
- |
- |
- |
135 |
135 |
135 |
145 |
- |
- |
- |
- |
- |
- |
||||||||||||||||||||||||
|
480 |
- |
- |
- |
- |
- |
- |
- |
- |
- |
- |
- |
- |
- |
- |
- |
- |
- |
- |
- |
- |
- |
- |
- |
- |
- |
- |
||||||||||||||||||||||||
|
490 |
- |
- |
- |
- |
- |
- |
- |
- |
- |
- |
- |
- |
- |
- |
- |
- |
- |
- |
- |
- |
- |
- |
- |
- |
- |
- |
||||||||||||||||||||||||
|
500 |
- |
- |
- |
- |
- |
- |
- |
- |
- |
- |
- |
- |
- |
130 |
- |
- |
- |
- |
- |
- |
- |
- |
- |
- |
- |
- |
||||||||||||||||||||||||
|
510 |
- |
- |
- |
- |
- |
- |
- |
- |
- |
- |
- |
- |
- |
- |
- |
- |
- |
- |
- |
- |
- |
- |
- |
- |
- |
- |
||||||||||||||||||||||||
|
520 |
- |
- |
- |
- |
- |
- |
- |
- |
- |
- |
- |
- |
- |
- |
- |
- |
- |
- |
- |
- |
145 |
145 |
- |
- |
- |
- |
||||||||||||||||||||||||
|
530 |
- |
- |
- |
- |
- |
- |
- |
- |
- |
- |
- |
- |
- |
- |
- |
- |
- |
- |
- |
- |
- |
- |
- |
- |
- |
- |
||||||||||||||||||||||||
|
540 |
- |
- |
- |
- |
- |
- |
- |
- |
- |
- |
- |
- |
- |
- |
- |
- |
- |
- |
- |
- |
- |
- |
- |
- |
- |
- |
||||||||||||||||||||||||
|
550 |
- |
- |
- |
- |
- |
- |
- |
- |
- |
- |
- |
- |
- |
- |
135 |
- |
- |
- |
- |
- |
- |
- |
- |
- |
- |
- |
||||||||||||||||||||||||
|
560 |
- |
- |
- |
- |
- |
- |
- |
- |
- |
- |
- |
- |
- |
- |
- |
- |
- |
- |
- |
- |
- |
- |
- |
- |
- |
- |
||||||||||||||||||||||||
|
570 |
- |
- |
- |
- |
- |
- |
- |
- |
- |
- |
- |
- |
- |
- |
- |
- |
- |
- |
- |
- |
- |
- |
- |
- |
- |
- |
||||||||||||||||||||||||
|
580 |
- |
- |
- |
- |
- |
- |
- |
- |
- |
- |
- |
- |
- |
- |
- |
- |
- |
- |
- |
- |
- |
- |
- |
- |
- |
- |
||||||||||||||||||||||||
|
590 |
- |
- |
- |
- |
- |
- |
- |
- |
- |
- |
- |
- |
- |
- |
- |
145 |
- |
- |
- |
- |
- |
- |
- |
- |
- |
- |
||||||||||||||||||||||||
|
600 |
- |
- |
- |
- |
- |
- |
- |
- |
- |
- |
- |
- |
- |
- |
- |
- |
- |
- |
- |
- |
- |
- |
- |
- |
- |
- |
||||||||||||||||||||||||
|
610 |
- |
- |
- |
- |
- |
- |
- |
- |
- |
- |
- |
- |
- |
- |
- |
- |
- |
- |
- |
- |
- |
- |
175 |
175 |
- |
- |
||||||||||||||||||||||||
|
620 |
- |
- |
- |
- |
- |
- |
- |
- |
- |
- |
- |
- |
- |
- |
- |
- |
- |
- |
- |
- |
- |
- |
- |
- |
- |
- |
||||||||||||||||||||||||
|
630 |
- |
- |
- |
- |
- |
- |
- |
- |
- |
- |
- |
- |
- |
- |
- |
- |
- |
- |
- |
- |
- |
- |
- |
- |
- |
- |
||||||||||||||||||||||||
|
640 |
- |
- |
- |
- |
- |
- |
- |
- |
- |
- |
- |
- |
- |
- |
- |
- |
155 |
155 |
155 |
- |
- |
- |
- |
- |
- |
- |
||||||||||||||||||||||||
|
650 |
- |
- |
- |
- |
- |
- |
- |
- |
- |
- |
- |
- |
- |
- |
- |
- |
- |
- |
- |
- |
- |
- |
- |
- |
- |
- |
||||||||||||||||||||||||
|
660 |
- |
- |
- |
- |
- |
- |
- |
- |
- |
- |
- |
- |
- |
- |
- |
- |
- |
- |
- |
165 |
165 |
165 |
- |
- |
210 |
240 |
||||||||||||||||||||||||
|
670 |
- |
- |
- |
- |
- |
- |
- |
- |
- |
- |
- |
- |
- |
- |
- |
- |
- |
- |
- |
- |
- |
- |
- |
- |
- |
- |
||||||||||||||||||||||||
|
680 |
- |
- |
- |
- |
- |
- |
- |
- |
- |
- |
- |
- |
- |
- |
- |
- |
- |
- |
- |
- |
- |
- |
- |
- |
- |
- |
||||||||||||||||||||||||
|
690 |
- |
- |
- |
- |
- |
- |
- |
- |
- |
- |
- |
- |
- |
- |
- |
- |
- |
- |
- |
- |
- |
- |
- |
- |
- |
- |
||||||||||||||||||||||||
|
700 |
- |
- |
- |
- |
- |
- |
- |
- |
- |
- |
- |
- |
- |
- |
- |
- |
- |
- |
- |
- |
- |
- |
- |
- |
- |
- |
||||||||||||||||||||||||
|
710 |
- |
- |
- |
- |
- |
- |
- |
- |
- |
- |
- |
- |
- |
- |
- |
- |
- |
- |
- |
- |
- |
- |
- |
- |
- |
- |
||||||||||||||||||||||||
|
720 |
- |
- |
- |
- |
- |
- |
- |
- |
- |
- |
- |
- |
- |
- |
- |
- |
- |
- |
- |
- |
- |
- |
- |
- |
- |
- |
||||||||||||||||||||||||
|
730 |
- |
- |
- |
- |
- |
- |
- |
- |
- |
- |
- |
- |
- |
- |
- |
- |
- |
- |
- |
- |
- |
- |
- |
- |
- |
- |
||||||||||||||||||||||||
|
740 |
- |
- |
- |
- |
- |
- |
- |
- |
- |
- |
- |
- |
- |
- |
- |
- |
- |
- |
- |
165 |
165 |
165 |
175 |
175 |
210 |
240 |
||||||||||||||||||||||||
|
750 |
- |
- |
- |
- |
- |
- |
- |
- |
- |
- |
- |
- |
- |
- |
- |
- |
- |
- |
- |
- |
- |
- |
- |
- |
- |
- |
||||||||||||||||||||||||
Примечания:
1. Шпильки с размерами, заключенными в скобки, по возможности не применять.
2. При применении шпилек с длиной более 750 мм длина резьбы шпилек должна соответствовать ряду Ra 40 ГОСТ 6636-69.
3. Длина I шпилек A2, Б2, В, Г и Д2 более 0,25 d+b по ряду Ra 40 и дополнительному ряду ГОСТ 6636-69.
4. Допускается для шпилек типов В, Г и Д уменьшение длины резьбового конца Ь, но не более чем на 0,25 d.
5. Длину шпилек типов А и Б необходимо выбирать так, чтобы выступание шпильки из гайки типа А в резьбовом соединении было не менее шага резьбы, включая фаску на конце шпильки.
Примеры условных обозначений:
Шпилька типа А, исполнения 1, с диаметром резьбы 48 мм, с крупным шагом резьбы 5 мм, с полем допуска 6g, с длиной шпильки 200 мм, с длиной резьбового конца 90 из стали марки ЭП182, категории IV, группы качества 2, без покрытия:
Шпилька AM48-6g´200.90.3U 182.IV.2 ГОСТ 9066-75
То же, исполнения 2, с мелким шагом резьбы 3 мм, с полем допуска 6g, с длиной ввинчиваемого конца l1=65 мм, с длиной резьбового конца l0 = 90 мм, вакуумно-дугового переплава, без покрытия:
Шпилька A2M48´3-6g´200
ЭП182-BД,.III.2. ГОСТ 9066-75
То же, из стали 35, категории II, группы качества 3, с покрытием 02, толщиной 9 мкм:
Шпилька A2M48´3-6g´200
35.II.3.029 ГОСТ 9066-75
4. Резьба метрическая - по ГОСТ 24705-81.
(Измененная редакция, Изм. № 2).
5. Масса шпилек приведена в справочных приложениях 1-7.
6. Технические требования - по ГОСТ 20700-75.
7. (Исключен, Изм. № 2).
|
Длина шпильки L, мм |
Теоретическая масса шпильки типа А исполнений 1и 2, кг », при номинальном диаметре резьбы d, мм |
|||||||||||
|
10 |
12 |
16 |
20 |
(22) |
24 |
(27) |
30 |
36 |
42 |
48 |
(52) |
|
|
45 |
0,028 |
|
|
|
|
|
|
|
|
|
|
|
|
50 |
0,031 |
|
|
|
|
|
|
|
|
|
|
|
|
55 |
0,034 |
0,041 |
|
|
|
|
|
|
|
|
|
|
|
60 |
0,037 |
0,045 |
|
|
|
|
|
|
|
|
|
|
|
65 |
0,040 |
0,049 |
|
|
|
|
|
|
|
|
|
|
|
70 |
0,043 |
0,054 |
0,094 |
|
|
|
|
|
|
|
|
|
|
75 |
0,046 |
0,058 |
0,102 |
|
|
|
|
|
|
|
|
|
|
80 |
0,049 |
0,063 |
0,110 |
|
|
|
|
|
|
|
|
|
|
85 |
0,052 |
0,067 |
0,118 |
0,178 |
|
|
|
|
|
|
|
|
|
90 |
0,055 |
0,072 |
0,126 |
0,191 |
|
|
|
|
|
|
|
|
|
95 |
0,058 |
0,076 |
0,134 |
0,203 |
0,246 |
|
|
|
|
|
|
|
|
100 |
0,061 |
0,081 |
0,142 |
0,216 |
0,261 |
|
|
|
|
|
|
|
|
110 |
0,064 |
0,090 |
0,158 |
0,241 |
0,291 |
0,336 |
|
|
|
|
|
|
|
120 |
0,067 |
0,099 |
0,173 |
0,266 |
0,321 |
0,371 |
0,469 |
|
|
|
|
|
|
130 |
0,070 |
0,108 |
0,189 |
0,290 |
0,350 |
0,407 |
0,514 |
0,623 |
|
|
|
|
|
140 |
0,073 |
0,117 |
0,205 |
0,315 |
0,380 |
0,442 |
0,559 |
0,679 |
|
|
|
|
|
150 |
0,076 |
0,126 |
0,221 |
0,340 |
0,410 |
0,477 |
0,603 |
0,734 |
1,042 |
|
|
|
|
160 |
|
0,135 |
0,236 |
0,364 |
0,440 |
0,513 |
0,648 |
0,750 |
1,122 |
1,520 |
|
|
|
170 |
|
0,144 |
0,252 |
0,389 |
0,470 |
0,548 |
0,694 |
0,845 |
1,202 |
1,628 |
|
|
|
180 |
|
0,153 |
0,268 |
0,413 |
0,499 |
0,584 |
0,738 |
0,901 |
1,282 |
1,737 |
|
|
|
190 |
|
0,162 |
0,283 |
0,438 |
0,529 |
0,620 |
0,784 |
0,456 |
1,362 |
1,845 |
|
|
|
200 |
- |
0,171 |
0,300 |
0,463 |
0,559 |
0,655 |
0,827 |
1,012 |
1,443 |
1,953 |
2,504 |
|
|
210 |
- |
- |
0,316 |
0,488 |
0,589 |
0,691 |
0,873 |
1,067 |
1,523 |
2,062 |
2,645 |
|
|
220 |
- |
- |
0,332 |
0,513 |
0,619 |
0,726 |
0,919 |
1,123 |
1,603 |
2,171 |
2,787 |
3,280 |
|
230 |
- |
- |
0,348 |
0,538 |
0,648 |
0,761 |
0,964 |
1,178 |
1,683 |
2,279 |
2,929 |
3,446 |
|
240 |
- |
- |
- |
- |
- |
0,797 |
1,009 |
1,234 |
1,763 |
2,387 |
3,071 |
3,612 |
|
250 |
- |
- |
- |
- |
- |
0,833 |
1,053 |
1,289 |
1,843 |
2,494 |
3,214 |
3,778 |
|
260 |
- |
- |
- |
- |
- |
- |
1,098 |
1,345 |
1,923 |
2,602 |
3,358 |
3,945 |
|
270 |
- |
- |
- |
- |
- |
- |
1,141 |
1,400 |
2,003 |
2,712 |
3,499 |
4,112 |
|
280 |
- |
- |
- |
- |
- |
- |
- |
1,455 |
2,083 |
2,822 |
3,640 |
4,280 |
|
290 |
- |
- |
- |
- |
- |
- |
- |
1,511 |
2,164 |
2,927 |
3,782 |
4,445 |
|
300 |
- |
- |
- |
- |
- |
- |
- |
1,567 |
2,245 |
3,032 |
3,925 |
4,610 |
|
310 |
- |
- |
- |
- |
- |
- |
- |
1,622 |
2,323 |
3,142 |
4,067 |
4,777 |
|
320 |
- |
- |
- |
- |
- |
- |
- |
1,678 |
2,402 |
3,252 |
4,210 |
4,945 |
|
330 |
- |
- |
- |
- |
- |
- |
- |
1,733 |
2,482 |
3,362 |
4,350 |
5,112 |
|
340 |
- |
- |
- |
- |
- |
- |
- |
1,788 |
2,563 |
3,472 |
4,490 |
5,280 |
|
350 |
- |
- |
- |
- |
- |
- |
- |
- |
2,642 |
3,582 |
4,635 |
5,445 |
|
360 |
- |
- |
- |
- |
- |
- |
- |
- |
2,722 |
3,692 |
4,780 |
5,610 |
|
370 |
- |
- |
- |
- |
- |
- |
- |
- |
2,804 |
3,799 |
4,920 |
5,777 |
|
380 |
- |
- |
- |
- |
- |
- |
- |
- |
2,887 |
3,907 |
5,060 |
5,945 |
|
390 |
- |
- |
- |
- |
- |
- |
- |
- |
2,964 |
4,019 |
5,202 |
6,107 |
|
400 |
- |
- |
- |
- |
- |
- |
- |
- |
3,442 |
4,132 |
5,345 |
6,270 |
|
410 |
- |
- |
- |
- |
- |
- |
- |
- |
- |
4,232 |
5,487 |
6,435 |
|
420 |
- |
- |
- |
- |
- |
- |
- |
- |
- |
- |
5,630 |
6,600 |
|
430 |
- |
- |
- |
- |
- |
- |
- |
- |
- |
- |
5,775 |
6,770 |
|
440 |
- |
- |
- |
- |
- |
- |
- |
- |
- |
- |
5,920 |
6,940 |
|
450 |
- |
- |
- |
- |
- |
- |
- |
- |
- |
- |
- |
7,110 |
|
460 |
- |
- |
- |
- |
- |
- |
- |
- |
- |
- |
- |
7,280 |
|
470 |
- |
- |
- |
- |
- |
- |
- |
- |
- |
- |
- |
7,440 |
|
480 |
|
|
|
|
|
|
|
|
|
|
|
7,600 |
|
490 |
|
|
|
|
|
|
|
|
|
|
|
7,770 |
|
500 |
|
|
|
|
|
|
|
|
|
|
|
7,940 |
|
510 |
|
|
|
|
|
|
|
|
|
|
|
- |
|
520 |
|
|
|
|
|
|
|
|
|
|
|
- |
|
530 |
|
|
|
|
|
|
|
|
|
|
|
- |
|
540 |
|
|
|
|
|
|
|
|
|
|
|
- |
|
550 |
|
|
|
|
|
|
|
|
|
|
|
- |
|
560 |
|
|
|
|
|
|
|
|
|
|
|
|
|
570 |
|
|
|
|
|
|
|
|
|
|
|
|
|
580 |
|
|
|
|
|
|
|
|
|
|
|
|
|
590 |
|
|
|
|
|
|
|
|
|
|
|
|
|
600 |
|
|
|
|
|
|
|
|
|
|
|
|
|
610 |
|
|
|
|
|
|
|
|
|
|
|
|
|
620 |
|
|
|
|
|
|
|
|
|
|
|
|
|
630 |
|
|
|
|
|
|
|
|
|
|
|
|
|
640 |
|
|
|
|
|
|
|
|
|
|
|
|
|
650 |
|
|
|
|
|
|
|
|
|
|
|
|
|
660 |
|
|
|
|
|
|
|
|
|
|
|
|
|
670 |
|
|
|
|
|
|
|
|
|
|
|
|
|
680 |
|
|
|
|
|
|
|
|
|
|
|
|
|
690 |
|
|
|
|
|
|
|
|
|
|
|
|
|
700 |
|
|
|
|
|
|
|
|
|
|
|
|
|
710 |
|
|
|
|
|
|
|
|
|
|
|
|
|
720 |
|
|
|
|
|
|
|
|
|
|
|
|
|
730 |
|
|
|
|
|
|
|
|
|
|
|
|
|
740 |
|
|
|
|
|
|
|
|
|
|
|
|
|
750 |
|
|
|
|
|
|
|
|
|
|
|
|
Продолжение
|
Длина шпильки L, мм |
Теоретическая масса шпильки типа А исполнений 1 и 2, кг », при номинальном диаметре резьбы d, мм |
|||||||||||||
|
56 |
(60) |
64 |
(68) |
72 |
(76) |
80 |
90 |
100 |
110 |
(120) |
125 |
140 |
160 |
|
|
45 |
|
|
|
|
|
|
|
|
|
|
|
|
|
|
|
50 |
|
|
|
|
|
|
|
|
|
|
|
|
|
|
|
55 |
|
|
|
|
|
|
|
|
|
|
|
|
|
|
|
60 |
|
|
|
|
|
|
|
|
|
|
|
|
|
|
|
65 |
|
|
|
|
|
|
|
|
|
|
|
|
|
|
|
70 |
|
|
|
|
|
|
|
|
|
|
|
|
|
|
|
75 |
|
|
|
|
|
|
|
|
|
|
|
|
|
|
|
80 |
|
|
|
|
|
|
|
|
|
|
|
|
|
|
|
85 |
|
|
|
|
|
|
|
|
|
|
|
|
|
|
|
90 |
|
|
|
|
|
|
|
|
|
|
|
|
|
|
|
95 |
|
|
|
|
|
|
|
|
|
|
|
|
|
|
|
100 |
|
|
|
|
|
|
|
|
|
|
|
|
|
|
|
110 |
|
|
|
|
|
|
|
|
|
|
|
|
|
|
|
120 |
|
|
|
|
|
|
|
|
|
|
|
|
|
|
|
130 |
|
|
|
|
|
|
|
|
|
|
|
|
|
|
|
140 |
|
|
|
|
|
|
|
|
|
|
|
|
|
|
|
150 |
|
|
|
|
|
|
|
|
|
|
|
|
|
|
|
160 |
|
|
|
|
|
|
|
|
|
|
|
|
|
|
|
170 |
|
|
|
|
|
|
|
|
|
|
|
|
|
|
|
180 |
|
|
|
|
|
|
|
|
|
|
|
|
|
|
|
190 |
|
|
|
|
|
|
|
|
|
|
|
|
|
|
|
200 |
|
|
|
|
|
|
|
|
|
|
|
|
|
|
|
210 |
|
|
|
|
|
|
|
|
|
|
|
|
|
|
|
220 |
|
|
|
|
|
|
|
|
|
|
|
|
|
|
|
230 |
|
|
|
|
|
|
|
|
|
|
|
|
|
|
|
240 |
|
|
|
|
|
|
|
|
|
|
|
|
|
|
|
250 |
4,332 |
|
|
|
|
|
|
|
|
|
|
|
|
|
|
260 |
4,525 |
|
|
|
|
|
|
|
|
|
|
|
|
|
|
270 |
4,717 |
|
|
|
|
|
|
|
|
|
|
|
|
|
|
280 |
4,910 |
5,620 |
|
|
|
|
|
|
|
|
|
|
|
|
|
290 |
5,105 |
5,842 |
|
|
|
|
|
|
|
|
|
|
|
|
|
300 |
5,300 |
6,065 |
|
|
|
|
|
|
|
|
|
|
|
|
|
310 |
5,492 |
6,287 |
7,120 |
|
|
|
|
|
|
|
|
|
|
|
|
320 |
5,685 |
6,510 |
7,370 |
|
|
|
|
|
|
|
|
|
|
|
|
330 |
5,877 |
6,730 |
7,625 |
8,620 |
|
|
|
|
|
|
|
|
|
|
|
340 |
6,070 |
6,950 |
7,880 |
8,910 |
9,960 |
12,097 |
|
|
|
|
|
|
|
|
|
350 |
6,262 |
7,175 |
8,130 |
9,190 |
10,270 |
12,453 |
13,811 |
|
|
|
|
|
|
|
|
360 |
6,455 |
7,400 |
8,380 |
9,470 |
10,580 |
12,809 |
14,206 |
17,978 |
|
|
|
|
|
|
|
370 |
6,647 |
7,620 |
8,635 |
9,760 |
10,900 |
13,165 |
14,600 |
18,478 |
|
|
|
|
|
|
|
380 |
6,840 |
7,840 |
8,890 |
10,050 |
11,220 |
13,520 |
14,995 |
18,978 |
|
|
|
|
|
|
|
390 |
7,035 |
8,065 |
9,140 |
10,330 |
11,540 |
13,876 |
15,389 |
19,478 |
|
|
|
|
|
|
|
400 |
7,230 |
8,290 |
9,390 |
10,610 |
11,870 |
14,232 |
15,784 |
19,977 |
|
|
|
|
|
|
|
410 |
7,420 |
8,510 |
9,645 |
10,900 |
12,080 |
14,588 |
16,177 |
20,475 |
|
|
|
|
|
|
|
420 |
7,610 |
8,730 |
9,900 |
11,190 |
12,300 |
14,944 |
16,573 |
20,975 |
|
|
|
|
|
|
|
430 |
7,810 |
8,950 |
10,150 |
11,470 |
12,720 |
15,299 |
16,968 |
21,471 |
|
|
|
|
|
|
|
440 |
8,010 |
9,170 |
10,410 |
11,750 |
13,140 |
15,655 |
17,362 |
21,974 |
|
|
|
|
|
|
|
450 |
8,200 |
9,390 |
10,660 |
12,040 |
13,460 |
16,011 |
17,757 |
22,473 |
27,742 |
|
|
|
|
|
|
460 |
8,390 |
9,610 |
10,910 |
12,330 |
13,780 |
16,367 |
18,152 |
22,972 |
28,359 |
34,316 |
|
|
|
|
|
470 |
8,580 |
10,060 |
11,160 |
12,600 |
14,100 |
16,723 |
18,546 |
23,472 |
28,976 |
35,062 |
|
|
|
|
|
480 |
8,770 |
10,280 |
11,420 |
12,880 |
14,420 |
17,078 |
18,941 |
23,971 |
29,592 |
35,808 |
|
|
|
|
|
490 |
8,965 |
10,510 |
11,670 |
13,170 |
14,740 |
17,434 |
19,335 |
24,471 |
30,208 |
36,554 |
|
|
|
|
|
500 |
9,160 |
10,730 |
11,930 |
13,460 |
15,060 |
17,790 |
19,730 |
24,970 |
30,825 |
37,300 |
44,390 |
|
|
|
|
510 |
9,350 |
10,960 |
12,170 |
13,750 |
15,380 |
18,146 |
20,125 |
25,469 |
31,442 |
38,046 |
45,278 |
|
|
|
|
520 |
9,540 |
11,180 |
12,420 |
14,040 |
15,700 |
18,502 |
20,519 |
25,969 |
32,058 |
38,792 |
46,166 |
|
|
|
|
530 |
- |
11,410 |
12,680 |
14,320 |
16,010 |
18,857 |
20,914 |
26,468 |
32,674 |
39,538 |
47,053 |
|
|
|
|
540 |
- |
11,610 |
12,940 |
14,600 |
16,320 |
19,213 |
21,308 |
26,968 |
33,291 |
40,286 |
4,7,941 |
|
|
|
|
550 |
- |
- |
13,190 |
14,890 |
16,65С |
19,509 |
21,703 |
27,467 |
33,907 |
41,030 |
48,829 |
|
|
|
|
560 |
- |
- |
13,450 |
15,180 |
16,980 |
19,925 |
22,098 |
27,966 |
34,524 |
41,776 |
49,717 |
|
|
|
|
570 |
|
|
13,700 |
15,460 |
17,290 |
20,281 |
22,492 |
28,466 |
13,141 |
42,552 |
50,605 |
|
|
|
|
580 |
|
|
13,950 |
15,740 |
17,610 |
20,636 |
22,887 |
28,965 |
35,757 |
43,268 |
51,492 |
|
|
|
|
590 |
|
|
14,200 |
16,020 |
17,910 |
20,992 |
23,281 |
29,465 |
36,374 |
44,014 |
52,380 |
|
|
|
|
600 |
|
|
14,450 |
16,310 |
18,210 |
21,348 |
23,676 |
29,964 |
36,990 |
44,760 |
53,288 |
57,798 |
72,480 |
94,680 |
|
610 |
|
|
- |
16,600 |
18,530, |
21,704 |
24,071 |
30,463 |
37,606 |
45,506 |
54,156 |
57,761 |
93,688 |
96,258 |
|
620 |
|
|
- |
16,890 |
18,860 |
22,060 |
24,466 |
30,963 |
38,223 |
46,252 |
55,044 |
59,725 |
74,896 |
97,836 |
|
630 |
|
|
- |
17,160 |
19,180 |
22,415 |
24,860 |
31,462 |
38,840 |
46,998 |
55,931 |
60,688 |
76,104 |
99,414 |
|
640 |
|
|
|
17,440 |
19,510 |
22,771 |
25,254 |
31,962 |
39,456 |
47,774 |
56,819 |
61,651 |
77,312 |
100,992 |
|
650 |
|
|
- |
17,740 |
19,830 |
23,127 |
25,649 |
32,461 |
40,072 |
48,490 |
57,707 |
62,614 |
78,520 |
102,570 |
|
660 |
|
|
- |
- |
20,160 |
23,483 |
26,044 |
32,960 |
40,689 |
49,236 |
58,595 |
63,578 |
79,728 |
104,148 |
|
670 |
|
|
- |
- |
20,480 |
23,839 |
26,438 |
33,460 |
41,306 |
49,982 |
59,483 |
64,541 |
80,936 |
105,728 |
|
680 |
|
|
- |
- |
20,810 |
24,194 |
26,833 |
33,959 |
41,922 |
50,728 |
60,370 |
65,504 |
82,144 |
10,304 |
|
690 |
|
|
- |
- |
- |
24,560 |
27,227 |
34,459 |
42,538 |
51,474 |
61,258 |
66,468 |
83,359 |
108,882 |
|
700 |
|
|
- |
- |
- |
24,906 |
27,622 |
34,958 |
43,155 |
52,220 |
62,146 |
67,431 |
84,560 |
110,460 |
|
710 |
|
|
- |
- |
- |
- |
- |
35,457 |
43,772 |
52,966 |
63,034 |
68,394 |
85,768 |
112,038 |
|
720 |
|
|
- |
- |
- |
- |
- |
3,5,957 |
44,388 |
53,712 |
63,922 |
69,358 |
86,976 |
113,616 |
|
730 |
|
|
- |
- |
- |
- |
- |
36,456 |
45,004 |
54,458 |
64,809 |
70,321 |
88,184 |
115,194 |
|
740 |
|
|
- |
- |
- |
- |
- |
36,956 |
45,621 |
55,204 |
65,697 |
71,284 |
89,392 |
116,772 |
|
750 |
|
|
- |
- |
- |
- |
- |
37,455 |
46,238 |
55,950 |
66,585 |
72,248 |
90,600 |
118,350 |
|
Длина шпильки L, мм |
Теоретическая масса шпильки типа Б исполнения 1, кг », при номинальном диаметре резьбы d, мм |
|||||||||||
|
10 |
12 |
16 |
20 |
(22) |
24 |
(27) |
30 |
36 |
42 |
48 |
(52) |
|
|
45 |
0,028 |
- |
- |
- |
- |
- |
- |
- |
- |
- |
- |
- |
|
50 |
0,030 |
- |
- |
- |
- |
- |
- |
- |
- |
- |
- |
- |
|
55 |
0,031 |
0,040 |
- |
- |
- |
- |
- |
- |
- |
- |
- |
- |
|
60 |
0,033 |
0,044 |
- |
- |
- |
- |
- |
- |
- |
- |
- |
- |
|
65 |
0,036 |
0,048 |
- |
- |
- |
- |
- |
- |
- |
- |
- |
- |
|
70 |
0,038 |
0,052 |
0,097 |
- |
- |
- |
- |
- |
- |
- |
- |
- |
|
75 |
0,040 |
0,056 |
0,104 |
- |
- |
- |
- |
- |
- |
- |
- |
- |
|
80 |
0,041 |
0,059 |
0,111 |
- |
- |
- |
- |
- |
- |
- |
- |
- |
|
85 |
0,043 |
0,063 |
0,118 |
0,170 |
- |
- |
- |
- |
- |
- |
- |
- |
|
90 |
0,045 |
0,067 |
0,125 |
0,180 |
- |
- |
- |
- |
- |
- |
- |
- |
|
95 |
0,047 |
0,071 |
0,132 |
0,190 |
0,222 |
- |
- |
- |
- |
- |
- |
- |
|
100 |
0,049 |
0,075 |
0,139 |
0,200 |
0,247 |
- |
- |
- |
- |
- |
- |
- |
|
110 |
0,053 |
0,082 |
0,153 |
0,220 |
0,271 |
0,328 |
- |
- |
- |
- |
- |
- |
|
120 |
0,054 |
0,090 |
0,166 |
0,240 |
0,296 |
0,358 |
0,462 |
- |
- |
- |
- |
- |
|
130 |
0,055 |
0,098 |
0,180 |
0,260 |
0,321 |
0,388 |
0,501 |
0,628 |
- |
- |
- |
- |
|
140 |
0,056 |
0,115 |
0,194 |
0,280 |
0,345 |
0,418 |
0,539 |
0,677 |
- |
- |
- |
- |
|
150 |
0,057 |
0,123 |
0,208 |
0,300 |
0,370 |
0,448 |
0,578 |
0,725 |
1,007 |
- |
- |
- |
|
160 |
- |
0,130 |
0,222 |
0,320 |
0,395 |
0,477 |
0,616 |
0,773 |
1,074 |
1,500 |
- |
- |
|
170 |
- |
0,138 |
0,236 |
0,340 |
0,419 |
0,507 |
0,655 |
0,822 |
1,141 |
1,594 |
- |
- |
|
180 |
- |
0,145 |
0,250 |
0,360 |
0,444 |
0,537 |
0,694 |
0,870 |
1,209 |
1,688 |
- |
- |
|
190 |
- |
0,153 |
0,264 |
0,380 |
0,469 |
0,567 |
0,732 |
0,918 |
1,276 |
1,782 |
- |
- |
|
200 |
- |
0,160 |
0,277 |
0,400 |
0,493 |
0,597 |
0,771 |
0,967 |
1,343 |
1,876 |
2,497 |
- |
|
210 |
- |
- |
0,291 |
0,420 |
0,518 |
0,627 |
0,809 |
1,015 |
1,410 |
1,969 |
2,622 |
- |
|
220 |
- |
- |
0,305 |
0,440 |
0,543 |
0,656 |
0,848 |
1,063 |
1,477 |
1,063 |
2,747 |
3,257 |
|
230 |
|
|
0,319 |
0,460 |
0,567 |
0,686 |
0,886 |
1,112 |
1,544 |
2,157 |
2,872 |
3,405 |
|
240 |
|
|
|
|
|
0,716 |
0,925 |
1,160 |
1,611 |
2,251 |
2,996 |
3,553 |
|
250 |
|
|
|
|
|
0,746 |
0,963 |
1,209 |
1,679 |
2,345 |
3,121 |
3,701 |
|
260 |
|
|
|
|
|
|
1,002 |
1,257 |
1,746 |
2,438 |
3,246 |
3,849 |
|
270 |
|
|
|
|
|
|
1,040 |
1,305 |
1,813 |
2,532 |
3,371 |
3,997 |
|
280 |
|
|
- |
- |
- |
- |
- |
1,354 |
1,880 |
2,626 |
3,496 |
4,145 |
|
290 |
|
|
|
|
|
|
|
1,402 |
1,947 |
2,720 |
3,621 |
4,293 |
|
300 |
|
|
|
|
|
|
|
1,450 |
2,014 |
2,813 |
3,746 |
4,441 |
|
310 |
|
|
|
|
|
|
|
1,499 |
2,081 |
2,907 |
3,870 |
4,589 |
|
320 |
|
|
|
|
|
|
|
1,547 |
2,148 |
3,001 |
3,995 |
4,737 |
|
330 |
|
|
|
|
|
|
|
1,595 |
2,216 |
3,095 |
4,120 |
4,885 |
|
340 |
|
|
|
|
|
|
|
1,644 |
2,283 |
3,189 |
3,245 |
5,033 |
|
350 |
|
|
|
|
|
|
|
|
2,350 |
3,282 |
4,370 |
5,181 |
|
360 |
|
|
|
|
|
|
|
|
2,417 |
3,376 |
4,495 |
5,329 |
|
370 |
|
|
|
|
|
|
|
|
2,484 |
3,470 |
4,619 |
5,477 |
|
380 |
|
|
|
|
|
|
|
|
2,551 |
3,564 |
4,744 |
5,626 |
|
390 |
|
|
|
|
|
|
|
|
2,618 |
3,657 |
4,869 |
5,773 |
|
400 |
|
|
|
|
|
|
|
|
2,686 |
3,751 |
4,994 |
5,921 |
|
410 |
|
|
|
|
|
|
|
|
|
3,845 |
5,119 |
6,069 |
|
420 |
|
|
|
|
|
|
|
|
|
|
5,244 |
6,217 |
|
430 |
|
|
|
|
|
|
|
|
|
|
5,369 |
5,365 |
|
440 |
|
|
|
|
|
|
|
|
|
|
5,493 |
6,513 |
|
450 |
|
|
|
|
|
|
|
|
|
|
|
6,661 |
|
460 |
|
|
|
|
|
|
|
|
|
|
|
6,809 |
|
470 |
|
|
|
|
|
|
|
|
|
|
|
6,957 |
|
480 |
|
|
|
|
|
|
|
|
|
|
|
7,105 |
|
490 |
|
|
|
|
|
|
|
|
|
|
|
7,253 |
|
500 |
|
|
|
|
|
|
|
|
|
|
|
7,402 |
|
510 |
|
|
|
|
|
|
|
|
|
|
|
|
|
520 |
|
|
|
|
|
|
|
|
|
|
|
|
|
530 |
|
|
|
|
|
|
|
|
|
|
|
|
|
540 |
|
|
|
|
|
|
|
|
|
|
|
|
|
550 |
|
|
|
|
|
|
|
|
|
|
|
|
|
560 |
|
|
|
|
|
|
|
|
|
|
|
|
|
570 |
|
|
|
|
|
|
|
|
|
|
|
|
|
580 |
|
|
|
|
|
|
|
|
|
|
|
|
|
590 |
|
|
|
|
|
|
|
|
|
|
|
|
|
600 |
|
|
|
|
|
|
|
|
|
|
|
|
|
610 |
|
|
|
|
|
|
|
|
|
|
|
|
|
620 |
|
|
|
|
|
|
|
|
|
|
|
|
|
630 |
|
|
|
|
|
|
|
|
|
|
|
|
|
640 |
|
|
|
|
|
|
|
|
|
|
|
|
|
650 |
|
|
|
|
|
|
|
|
|
|
|
|
|
660 |
|
|
|
|
|
|
|
|
|
|
|
|
|
670 |
|
|
|
|
|
|
|
|
|
|
|
|
|
680 |
|
|
|
|
|
|
|
|
|
|
|
|
|
690 |
|
|
|
|
|
|
|
|
|
|
|
|
|
700 |
|
|
|
|
|
|
|
|
|
|
|
|
|
710 |
|
|
|
|
|
|
|
|
|
|
|
|
|
720 |
|
|
|
|
|
|
|
|
|
|
|
|
|
730 |
|
|
|
|
|
|
|
|
|
|
|
|
|
740 |
|
|
|
|
|
|
|
|
|
|
|
|
|
750 |
|
|
|
|
|
|
|
|
|
|
|
|
Продолжение
|
Длина шпильки L, мм |
Теоретическая масса шпильки типа Б исполнения 1, кг », при номинальном диаметре резьбы d, мм |
|||||||||||||
|
56 |
(60) |
64 |
(68) |
72 |
(76) |
80 |
90 |
100 |
110 |
(120) |
125 |
140 |
160 |
|
|
45 |
- |
- |
- |
- |
- |
- |
- |
- |
- |
- |
- |
- |
- |
- |
|
50 |
- |
- |
- |
- |
- |
- |
- |
- |
- |
- |
- |
- |
- |
- |
|
55 |
- |
- |
- |
- |
- |
- |
- |
- |
- |
- |
- |
- |
- |
- |
|
60 |
- |
- |
- |
- |
- |
- |
- |
- |
- |
- |
- |
- |
- |
- |
|
65 |
- |
- |
- |
- |
- |
- |
- |
- |
- |
- |
- |
- |
- |
- |
|
70 |
- |
- |
- |
- |
- |
- |
- |
- |
- |
- |
- |
- |
- |
- |
|
75 |
- |
- |
- |
- |
- |
- |
- |
- |
- |
- |
- |
- |
- |
- |
|
80 |
- |
- |
- |
- |
- |
- |
- |
- |
- |
- |
- |
- |
- |
- |
|
85 |
- |
- |
- |
- |
- |
- |
- |
- |
- |
- |
- |
- |
- |
- |
|
90 |
- |
- |
- |
- |
- |
- |
- |
- |
- |
- |
- |
- |
- |
- |
|
95 |
- |
- |
- |
- |
- |
- |
- |
- |
- |
- |
- |
- |
- |
- |
|
100 |
- |
- |
- |
- |
- |
- |
- |
- |
- |
- |
- |
- |
- |
- |
|
110 |
- |
- |
- |
- |
- |
- |
- |
- |
- |
- |
- |
- |
- |
- |
|
120 |
- |
- |
- |
- |
- |
- |
- |
- |
- |
- |
- |
- |
- |
- |
|
130 |
- |
- |
- |
- |
- |
- |
- |
- |
- |
- |
- |
- |
- |
- |
|
140 |
- |
- |
- |
- |
- |
- |
- |
- |
- |
- |
- |
- |
- |
- |
|
150 |
- |
- |
- |
- |
- |
- |
- |
- |
- |
- |
- |
- |
- |
- |
|
160 |
- |
- |
- |
- |
- |
- |
- |
- |
- |
- |
- |
- |
- |
- |
|
170 |
- |
- |
- |
- |
- |
- |
- |
- |
- |
- |
- |
- |
- |
- |
|
180 |
- |
- |
- |
- |
- |
- |
- |
- |
- |
- |
- |
- |
- |
- |
|
190 |
- |
- |
- |
- |
- |
- |
- |
- |
- |
- |
- |
- |
- |
- |
|
200 |
- |
- |
- |
- |
- |
- |
- |
- |
- |
- |
- |
- |
- |
- |
|
210 |
- |
- |
- |
- |
- |
- |
- |
- |
- |
- |
- |
- |
- |
- |
|
220 |
- |
- |
- |
- |
- |
- |
- |
- |
- |
- |
- |
- |
- |
- |
|
230 |
|
|
|
|
|
|
|
|
|
|
|
|
|
|
|
240 |
|
|
|
|
|
|
|
|
|
|
|
|
|
|
|
250 |
4,168 |
|
|
|
|
|
|
|
|
|
|
|
|
|
|
260 |
4,334 |
|
|
|
|
|
|
|
|
|
|
|
|
|
|
270 |
4,501 |
|
|
|
|
|
|
|
|
|
|
|
|
|
|
280 |
4,668 |
5,414 |
|
|
|
|
|
|
|
|
|
|
|
|
|
290 |
4,293 |
5,607 |
|
|
|
|
|
|
|
|
|
|
|
|
|
300 |
5,001 |
5,800 |
|
|
|
|
|
|
|
|
|
|
|
|
|
310 |
5,168 |
5,994 |
6,880 |
|
|
|
|
|
|
|
|
|
|
|
|
320 |
5,335 |
6,187 |
7,102 |
|
|
|
|
|
|
|
|
|
|
|
|
330 |
5,501 |
6,381 |
7,324 |
8,333 |
|
|
|
|
|
|
|
|
|
|
|
340 |
5,668 |
6,574 |
7,546 |
8,586 |
9,980 |
11,710 |
|
|
|
|
|
|
|
|
|
350 |
5,835 |
6,767 |
7,768 |
8,839 |
10,270 |
12,023 |
13,351 |
|
|
|
|
|
|
|
|
360 |
6,002 |
6,961 |
7,990 |
9,091 |
10,560 |
12,319 |
13,686 |
17,528 |
|
|
|
|
|
|
|
370 |
6,168 |
7,154 |
8,212 |
9,314 |
10,860 |
12,625 |
14,030 |
17,958 |
|
|
|
|
|
|
|
380 |
6,335 |
7,347 |
8,434 |
9,596 |
11,150 |
12,920 |
14,365 |
18,398 |
|
|
|
|
|
|
|
390 |
6,507 |
7,541 |
8,656 |
9,849 |
11,440 |
13,226 |
14,699 |
18,828 |
|
|
|
|
|
|
|
400 |
6,668 |
7,734 |
8,878 |
10,100 |
11,740 |
13,522 |
15,044 |
19,267 |
|
|
|
|
|
|
|
410 |
6,835 |
7,927 |
9,100 |
10,350 |
12,030 |
13,822 |
15,377 |
19,695 |
|
|
|
|
|
|
|
420 |
7,002 |
8,121 |
9,322 |
10,600 |
12,320 |
14,134 |
15,713 |
20,135 |
|
|
|
|
|
|
|
430 |
7,169 |
8,314 |
9,544 |
10,850 |
12,620 |
14,429 |
16,048 |
20,564 |
|
|
|
|
|
|
|
440 |
7,335 |
8,507 |
9,766 |
11,110 |
12,910 |
14,735 |
16,392 |
21,004 |
|
|
|
|
|
|
|
450 |
7,502 |
8,701 |
9,988 |
11,360 |
13,200 |
15,031 |
16,727 |
21,433 |
26,592 |
|
|
|
|
|
|
460 |
7,669 |
8,894 |
10,210 |
11,610 |
13,500 |
15,337 |
17,062 |
21,872 |
27,129 |
32,966 |
|
|
|
|
|
470 |
7,835 |
9,087 |
10,430 |
11,860 |
12,790 |
15,633 |
17,406 |
22,312 |
27,676 |
33,632 |
- |
- |
- |
- |
|
480 |
8,002 |
9,281 |
10,650 |
12,120 |
14,080 |
15,938 |
17,741 |
22,741 |
28,222 |
34,298 |
|
|
|
|
|
490 |
8,169 |
9,474 |
10,870 |
12,370 |
14,380 |
16,244 |
18,075 |
23,181 |
28,768 |
34,964 |
|
|
|
|
|
500 |
8,336 |
9,668 |
11,090 |
12,620 |
14,670 |
16,540 |
18,410 |
23,610 |
29,305 |
35,631 |
43,090 |
46,805 |
|
|
|
510 |
8,502 |
9,861 |
11,310 |
12,870 |
14,970 |
16,846 |
18,755 |
24,049 |
29,852 |
36,296 |
43,888 |
47,775 |
|
|
|
520 |
8,669 |
10,050 |
11,510 |
13,130 |
15,260 |
17,142 |
19,089 |
24,479 |
30,398 |
36,962 |
44,686 |
48,552 |
|
|
|
530 |
|
10,250 |
11,760 |
13,380 |
15,550 |
17,447 |
19,424 |
24,918 |
30,944 |
37,628 |
45,483 |
49,425 |
|
|
|
540 |
|
10,440 |
11,980 |
13,630 |
15,850 |
17,743 |
19,758 |
25,348 |
31,491 |
38,294 |
46,291 |
50,298 |
|
|
|
550 |
|
10,630 |
12,200 |
13,880 |
16,140 |
18,049 |
20,103 |
25,787 |
32,027 |
38,960 |
47,089 |
51,162 |
|
|
|
560 |
|
|
12,420 |
14,140 |
16,430 |
18,345 |
20,438 |
26,216 |
32,574 |
39,626 |
47,877 |
52,035 |
|
|
|
570 |
|
|
12,650 |
14,390 |
16,730 |
18,651 |
20,772 |
26,656 |
33,121 |
40,292 |
48,685 |
52,908 |
|
|
|
580 |
|
|
12,870 |
14,640 |
17,020 |
18,456 |
21,107 |
27,065 |
33,667 |
40,958 |
49,492 |
53,781 |
|
|
|
590 |
|
|
13,030 |
14,890 |
17,310 |
19,472 |
21,681 |
27,525 |
34,214 |
41,624 |
50,290 |
54,655 |
|
|
|
600 |
|
|
13,310 |
15,150 |
17,610 |
19,768 |
22,016 |
28,214 |
35,040 |
42,290 |
51,108 |
55,528 |
70,650 |
93,370 |
|
610 |
|
|
|
15,400 |
17,900 |
20,074 |
22,351 |
28,653 |
35,786 |
43,276 |
51,896 |
56,401 |
71,748 |
94,838 |
|
620 |
|
|
|
15,650 |
18,190 |
20,380 |
22,685 |
29,083 |
36,133 |
43,942 |
51,694 |
57,275 |
72,856 |
96,306 |
|
630 |
|
|
|
15,900 |
18,490 |
20,675 |
22,930 |
29,522 |
36,680 |
44,608 |
53,491 |
58,148 |
74,064 |
97,974 |
|
640 |
|
|
|
16,160 |
18,780 |
20,981 |
23,364 |
29,952 |
37,216 |
45,271 |
54,299 |
59,021 |
75,07? |
99,242 |
|
650 |
|
|
|
16,410 |
19,070 |
21,277 |
23,699 |
30,391 |
37,762 |
45,940 |
55,097 |
59,894 |
76,180 |
100,710 |
|
660 |
|
|
|
|
19,370 |
21,583 |
24,044 |
30,820 |
38,309 |
46,606 |
55,895 |
60,768 |
77,278 |
102,178 |
|
670 |
|
|
|
|
19,660 |
21,879 |
24,378 |
31,260 |
38,956 |
47,272 |
56,703 |
61,641 |
78,386 |
103,646 |
|
680 |
|
|
|
|
19,960 |
22,184 |
24,713 |
31,699 |
39,402 |
47,938 |
57,500 |
62,504 |
79,494 |
105,144 |
|
690 |
|
|
|
|
20,250 |
22,490 |
25,047 |
32,129 |
39,939 |
48,614 |
58,298 |
63,376 |
80,609 |
106,582 |
|
700 |
|
|
|
|
20,540 |
22,786 |
25,392 |
32,568 |
40,485 |
49,280 |
59,096 |
64,251 |
81,710 |
108,050 |
|
710 |
|
|
|
|
|
|
|
32,997 |
41,032 |
49,946 |
59,984 |
65,124 |
82,808 |
109,518 |
|
720 |
|
|
|
|
|
|
|
33,437 |
41,578 |
50,612 |
60,792 |
65,998 |
83,916 |
110,796 |
|
730 |
|
|
|
|
|
|
|
33,866 |
42,114 |
51,278 |
61,589 |
66,871 |
85,024 |
111,464 |
|
740 |
|
|
|
|
|
|
|
34,306 |
42,661 |
51,944 |
62,387 |
67,741 |
86,132 |
113,932 |
|
750 |
|
|
|
|
|
|
|
34,735 |
43,208 |
52,610 |
63,195 |
68,618 |
86,960 |
115,400 |
|
Длина шпильки L, мм |
Теоретическая масса шпильки типа Б исполнения 2, кг », при номинальном диаметре резьбы d, мм |
|||||||||||
|
10 |
12 |
16 |
20 |
(22) |
24 |
(27) |
30 |
36 |
42 |
48 |
(52) |
|
|
45 |
0,021 |
|
|
|
|
|
|
|
|
|
|
|
|
50 |
0,023 |
|
|
|
|
|
|
|
|
|
|
|
|
55 |
0,025 |
0,038 |
|
|
|
|
|
|
|
|
|
|
|
60 |
0,027 |
0,041 |
|
|
|
|
|
|
|
|
|
|
|
65 |
0,029 |
0,043 |
|
|
|
|
|
|
|
|
|
|
|
70 |
0,031 |
0,046 |
0,089 |
|
|
|
|
|
|
|
|
|
|
75 |
0,033 |
0,019 |
0,095 |
|
|
|
|
|
|
|
|
|
|
80 |
0,035 |
0,052 |
0,100 |
|
|
|
|
|
|
|
|
|
|
85 |
0,037 |
0,055 |
0,105 |
0,170 |
|
|
|
|
|
|
|
|
|
90 |
0,039 |
0,058 |
0,110 |
0,178 |
|
|
|
|
|
|
|
|
|
95 |
0,041 |
0,061 |
0,115 |
0,186 |
0,223 |
|
|
|
|
|
|
|
|
100 |
0,043 |
0,064 |
0,121 |
0,195 |
0,243 |
|
|
|
|
|
|
|
|
110 |
0,047 |
0,070 |
0,131 |
0,211 |
0,263 |
0,313 |
|
|
|
|
|
|
|
120 |
0,051 |
0,075 |
0,141 |
0,228 |
0,283 |
0,336 |
0,443 |
|
|
|
|
|
|
130 |
0,055 |
0,081 |
0,152 |
0,244 |
0,303 |
0,360 |
0,473 |
0,581 |
|
|
|
|
|
140 |
0,058 |
0,086 |
0,162 |
0,261 |
0,323 |
0,383 |
0,503 |
0,629 |
|
|
|
|
|
150 |
0,062 |
0,092 |
0,173 |
0,277 |
0,344 |
0,406 |
0,533 |
0,667 |
1,016 |
|
|
|
|
160 |
- |
0,098 |
0,183 |
0,294 |
0,364 |
0,430 |
0,562 |
0,705 |
1,087 |
1,543 |
|
|
|
170 |
- |
0,103 |
0,193 |
0,311 |
0,384 |
0,453 |
0,592 |
0,743 |
1,143 |
1,620 |
|
|
|
180 |
- |
0,109 |
0,204 |
0,327 |
0,404 |
0,477 |
0,622 |
0,781 |
1,198 |
1,695 |
|
|
|
190 |
- |
0,114 |
0,214 |
0,344 |
0,428 |
0,500 |
0,652 |
0,819 |
1,254 |
1,772 |
|
|
|
200 |
- |
0,120 |
0,225 |
0,360 |
0,448 |
0,524 |
0,681 |
0,857 |
1,309 |
1,849 |
2,486 |
|
|
210 |
- |
- |
0,235 |
0,377 |
0,468 |
0,547 |
0,711 |
0,895 |
1,365 |
1,925 |
2,587 |
|
|
220 |
- |
- |
0,245 |
0,393 |
0,488 |
0,570 |
0,741 |
0,933 |
1,420 |
2,001 |
2,689 |
3,243 |
|
230 |
- |
- |
0,256 |
0,410 |
0,508 |
0,594 |
0,771 |
0,970 |
1,476 |
2,078 |
2,780 |
3,3b4 |
|
240 |
- |
- |
- |
- |
- |
0,617 |
0,801 |
1,008 |
1,531 |
2,154 |
2,891 |
3,484 |
|
250 |
|
|
|
|
|
0,641 |
0,831 |
1,038 |
1,587 |
2,230 |
2,992 |
3,604 |
|
260 |
|
|
|
|
|
|
0,860 |
1,084 |
1,642 |
2,307 |
3,093 |
3,725 |
|
270 |
|
|
|
|
|
|
0,890 |
1,122 |
1,697 |
2,383 |
3,194 |
3,845 |
|
280 |
|
|
|
|
|
|
|
1,160 |
1,753 |
2,460 |
3,295 |
3,966 |
|
290 |
|
|
|
|
|
|
|
1,198 |
1,808 |
2,536 |
3,396 |
4,085 |
|
300 |
|
|
|
|
|
|
|
1,236 |
1,854 |
2,612 |
3,497 |
4,206 |
|
310 |
|
|
|
|
|
|
|
1,274 |
1,909 |
2,687 |
3,598 |
4,326 |
|
320 |
|
|
|
|
|
|
|
1,312 |
1,975 |
2,765 |
3,699 |
4,447 |
|
330 |
|
|
|
|
|
|
|
1,350 |
2,019 |
2,841 |
3,800 |
4,567 |
|
340 |
|
|
|
|
|
|
|
1,387 |
2,086 |
2,918 |
3,901 |
4,688 |
|
350 |
|
|
|
|
|
|
|
- |
2,139 |
2,993 |
4,002 |
4,708 |
|
360 |
|
|
|
|
|
|
|
- |
2,197 |
3,070 |
4,104 |
4,929 |
|
370 |
|
|
|
|
|
|
|
|
2,249 |
3,146 |
4,206 |
5,049 |
|
380 |
|
|
|
|
|
|
|
|
2,308 |
3,223 |
4,305 |
5,170 |
|
390 |
|
|
|
|
|
|
|
|
2,359 |
3,298 |
4,406 |
5,290 |
|
400 |
|
|
|
|
|
|
|
|
2,419 |
3,376 |
4,508 |
5,410 |
|
410 |
|
|
|
|
|
|
|
|
- |
3,451 |
4,610 |
5,530 |
|
420 |
|
|
|
|
|
|
|
|
- |
- |
4,710 |
5,651 |
|
430 |
|
|
|
|
|
|
|
|
|
- |
4,811 |
5,772 |
|
440 |
|
|
|
|
|
|
|
|
|
- |
4,912 |
5,892 |
|
450 |
|
|
|
|
|
|
|
|
|
|
- |
6,012 |
|
460 |
|
|
|
|
|
|
|
|
|
|
|
6,133 |
|
470 |
|
|
|
|
|
|
|
|
|
|
|
6,253 |
|
480 |
|
|
|
|
|
|
|
|
|
|
|
6,373 |
|
490 |
|
|
|
|
|
|
|
|
|
|
|
6,493 |
|
500 |
|
|
|
|
|
|
|
|
|
|
|
6,614 |
|
510 |
|
|
|
|
|
|
|
|
|
|
|
- |
|
520 |
|
|
|
|
|
|
|
|
|
|
|
- |
|
530 |
|
|
|
|
|
|
|
|
|
|
|
- |
|
540 |
|
|
|
|
|
|
|
|
|
|
|
- |
|
550 |
|
|
|
|
|
|
|
|
|
|
|
- |
|
560 |
|
|
|
|
|
|
|
|
|
|
|
|
|
570 |
|
|
|
|
|
|
|
|
|
|
|
|
|
580 |
|
|
|
|
|
|
|
|
|
|
|
|
|
590 |
|
|
|
|
|
|
|
|
|
|
|
|
|
600 |
|
|
|
|
|
|
|
|
|
|
|
|
|
610 |
|
|
|
|
|
|
|
|
|
|
|
|
|
620 |
|
|
|
|
|
|
|
|
|
|
|
|
|
630 |
|
|
|
|
|
|
|
|
|
|
|
|
|
640 |
|
|
|
|
|
|
|
|
|
|
|
|
|
650 |
|
|
|
|
|
|
|
|
|
|
|
|
|
660 |
|
|
|
|
|
|
|
|
|
|
|
|
|
670 |
|
|
|
|
|
|
|
|
|
|
|
|
|
680 |
|
|
|
|
|
|
|
|
|
|
|
|
|
690 |
|
|
|
|
|
|
|
|
|
|
|
|
|
700 |
|
|
|
|
|
|
|
|
|
|
|
|
|
710 |
|
|
|
|
|
|
|
|
|
|
|
|
|
720 |
|
|
|
|
|
|
|
|
|
|
|
|
|
730 |
|
|
|
|
|
|
|
|
|
|
|
|
|
740 |
|
|
|
|
|
|
|
|
|
|
|
|
|
750 |
|
|
|
|
|
|
|
|
|
|
|
|
Продолжение
|
Длина шпильки L, мм |
Теоретическая масса шпильки типа Б исполнения 2, кг », при номинальном диаметре резьбы d, мм |
|||||||||||||
|
56 |
(60) |
64 |
(68) |
72 |
(76) |
80 |
90 |
100 |
110 |
(120) |
125 |
140 |
160 |
|
|
45 |
|
|
|
|
|
|
|
|
|
|
|
|
|
|
|
50 |
|
|
|
|
|
|
|
|
|
|
|
|
|
|
|
55 |
|
|
|
|
|
|
|
|
|
|
|
|
|
|
|
60 |
|
|
|
|
|
|
|
|
|
|
|
|
|
|
|
65 |
|
|
|
|
|
|
|
|
|
|
|
|
|
|
|
70 |
|
|
|
|
|
|
|
|
|
|
|
|
|
|
|
75 |
|
|
|
|
|
|
|
|
|
|
|
|
|
|
|
80 |
|
|
|
|
|
|
|
|
|
|
|
|
|
|
|
85 |
|
|
|
|
|
|
|
|
|
|
|
|
|
|
|
90 |
|
|
|
|
|
|
|
|
|
|
|
|
|
|
|
95 |
|
|
|
|
|
|
|
|
|
|
|
|
|
|
|
100 |
|
|
|
|
|
|
|
|
|
|
|
|
|
|
|
110 |
|
|
|
|
|
|
|
|
|
|
|
|
|
|
|
120 |
|
|
|
|
|
|
|
|
|
|
|
|
|
|
|
130 |
|
|
|
|
|
|
|
|
|
|
|
|
|
|
|
140 |
|
|
|
|
|
|
|
|
|
|
|
|
|
|
|
150 |
|
|
|
|
|
|
|
|
|
|
|
|
|
|
|
160 |
|
|
|
|
|
|
|
|
|
|
|
|
|
|
|
170 |
|
|
|
|
|
|
|
|
|
|
|
|
|
|
|
180 |
|
|
|
|
|
|
|
|
|
|
|
|
|
|
|
190 |
|
|
|
|
|
|
|
|
|
|
|
|
|
|
|
200 |
|
|
|
|
|
|
|
|
|
|
|
|
|
|
|
210 |
|
|
|
|
|
|
|
|
|
|
|
|
|
|
|
220 |
|
|
|
|
|
|
|
|
|
|
|
|
|
|
|
230 |
|
|
|
|
|
|
|
|
|
|
|
|
|
|
|
240 |
|
|
|
|
|
|
|
|
|
|
|
|
|
|
|
250 |
4,157 |
5,420 |
5,655 |
|
|
|
|
|
|
|
|
|
|
|
|
260 |
4,299 |
5,591 |
5,848 |
|
|
|
|
|
|
|
|
|
|
|
|
270 |
4,441 |
5,763 |
6,140 |
|
|
|
|
|
|
|
|
|
|
|
|
280 |
4,583 |
5,934 |
6,333 |
|
|
|
|
|
|
|
|
|
|
|
|
290 |
4,733 |
6,107 |
6,525 |
|
|
|
|
|
|
|
|
|
|
|
|
300 |
4,867 |
6,288 |
6,618 |
|
|
|
|
|
|
|
|
|
|
|
|
310 |
5,009 |
6,450 |
6,811 |
|
|
|
|
|
|
|
|
|
|
|
|
320 |
5,151 |
6,621 |
7,005 |
|
|
|
|
|
|
|
|
|
|
|
|
330 |
5,293 |
6,794 |
7,197 |
8,196 |
|
|
|
|
|
|
|
|
|
|
|
340 |
5,435 |
6,965 |
7,391 |
8,418 |
9,76 |
11,08 |
|
|
|
|
|
|
|
|
|
350 |
5,577 |
7,138 |
7,584 |
8,699 |
10,02 |
11,39 |
12,70 |
|
|
|
|
|
|
|
|
360 |
5,719 |
7,309 |
7,778 |
8,862 |
10,29 |
11,69 |
13,02 |
16,72 |
|
|
|
|
|
|
|
370 |
5,861 |
7,481 |
7,971 |
9,083 |
10,56 |
12,00 |
13,37 |
17,16 |
|
|
|
|
|
|
|
380 |
6,003 |
7,552 |
8,165 |
9,306 |
10,83 |
12,30 |
13,69 |
17,59 |
|
|
|
|
|
|
|
390 |
6,145 |
7,825 |
8,357 |
9,528 |
11,09 |
12,61 |
14,04 |
18,03 |
|
|
|
|
|
|
|
400 |
6,287 |
7,996 |
8,551 |
9,749 |
11,36 |
12,83 |
14,36 |
18,46 |
|
|
|
|
|
|
|
410 |
6,429 |
8,168 |
8,744 |
9,971 |
11,62 |
13,22 |
14,71 |
18,90 |
|
|
|
|
|
|
|
420 |
6,571 |
8,339 |
8,938 |
10,194 |
11,89 |
13,52 |
15,03 |
19,33 |
|
|
|
|
|
|
|
430 |
6,713 |
8,512 |
9,130 |
10,416 |
12,16 |
13,83 |
15,38 |
19,77 |
|
|
|
|
|
|
|
440 |
6,855 |
8,683 |
9,324 |
10,638 |
12,42 |
14,13 |
15,70 |
20,20 |
|
|
|
|
|
|
|
450 |
6,997 |
8,856 |
9,517 |
10,860 |
12,69 |
14,44 |
16,03 |
20,64 |
25,64 |
|
|
|
|
|
|
460 |
7,139 |
9,027 |
9,711 |
11,081 |
12,95 |
14,74 |
16,37 |
21,06 |
26,18 |
32,05 |
|
|
|
|
|
470 |
7,281 |
9,199 |
10,097 |
11,303 |
13,22 |
14,97 |
16,76 |
21,50 |
26,73 |
32,72 |
|
|
|
|
|
480 |
7,421 |
9,370 |
10,290 |
11,525 |
13,49 |
15,35 |
17,04 |
21,93 |
27,27 |
33,38 |
|
|
|
|
|
490 |
7,561 |
9,543 |
10,484 |
11,747 |
13,75 |
15,56 |
17,39 |
22,37 |
27,82 |
34,05 |
|
|
|
|
|
500 |
7,706 |
9,714 |
10,677 |
11,969 |
14,02 |
15,96 |
17,71 |
22,80 |
28,36 |
34,71 |
41,97 |
45,53 |
|
|
|
510 |
7,848 |
9,886 |
10,870 |
12,190 |
14,29 |
16,26 |
18,05 |
23,23 |
28,95 |
35,37 |
42,78 |
46,40 |
|
|
|
520 |
7,991 |
10,057 |
11,063 |
12,412 |
14,55 |
16,57 |
18,38 |
23,67 |
29,45 |
36,04 |
43,58 |
47,28 |
|
|
|
530 |
- |
10,230 |
11,257 |
12,633 |
14,82 |
16,87 |
18,72 |
24,10 |
29,99 |
36,70 |
44,39 |
48,15 |
|
|
|
540 |
|
10,401 |
11,450 |
12,866 |
15,08 |
17,18 |
19,05 |
24,54 |
30,54 |
37,37 |
45,19 |
49,03 |
|
|
|
550 |
|
10,572 |
11,643 |
13,078 |
15,34 |
17,48 |
19,39 |
24,97 |
31,08 |
38,03 |
46,01 |
49,91 |
|
|
|
560 |
|
- |
11,836 |
13,300 |
15,62 |
17,79 |
19,72 |
25,41 |
31,63 |
38,70 |
46,80 |
50,78 |
|
|
|
570 |
|
|
12,030 |
13,521 |
15,88 |
18,09 |
20,06 |
25,84 |
32,17 |
39,36 |
47,62 |
51,66 |
|
|
|
580 |
|
|
12,223 |
13,743 |
16,15 |
18,75 |
20,39 |
26,28 |
32,72 |
40,03 |
48,41 |
52,53 |
|
|
|
590 |
|
|
12,416 |
13,964 |
16,48 |
19,05 |
20,81 |
26,71 |
33,26 |
40,69 |
49,23 |
53,41 |
|
|
|
600 |
|
|
12,609 |
14,187 |
16,74 |
19,36 |
21,14 |
27,24 |
33,89 |
41,36 |
50,03 |
54,29 |
68,96 |
91,18 |
|
610 |
|
|
- |
14,409 |
17,01 |
19,66 |
21,48 |
27,67 |
34,43 |
42,12 |
50,84 |
55,26 |
70,07 |
92,64 |
|
620 |
|
|
- |
14,631 |
17,27 |
19,97 |
21,87 |
27,11 |
34,98 |
42,79 |
51,64 |
56,04 |
71,19 |
94,11 |
|
630 |
|
|
|
14,853 |
17,54 |
20,27 |
22,15 |
28,54 |
35,52 |
43,45 |
52,45 |
56,91 |
72,30 |
95,57 |
|
640 |
|
|
|
14,966 |
17,81 |
20,58 |
22,48 |
28,98 |
36,07 |
44,12 |
53,25 |
57,79 |
73,42 |
97,04 |
|
650 |
|
|
|
15,188 |
18,07 |
20,88 |
22,82 |
29,41 |
36,61 |
44,78 |
54,07 |
58,67 |
74,54 |
98,51 |
|
660 |
|
|
|
- |
18,34 |
21,19 |
23,15 |
29,85 |
37,16 |
45,45 |
54,86 |
59,54 |
75,65 |
99,97 |
|
670 |
|
|
|
- |
18,61 |
21,49 |
23,44 |
30,28 |
37,70 |
46,11 |
55,68 |
60,42 |
76,77 |
101,44 |
|
680 |
|
|
|
|
18,81 |
21,80 |
23,82 |
30,72 |
38,25 |
46,78 |
56,47 |
61,29 |
77,88 |
102,90 |
|
690 |
|
|
|
|
19,14 |
22,10 |
24,16 |
31,15 |
38,79 |
47,44 |
57,29 |
62,17 |
79,00 |
104,37 |
|
700 |
|
|
|
|
19,40 |
22,41 |
24,49 |
31,59 |
39,34 |
48,11 |
58,09 |
63,05 |
80,12 |
105,84 |
|
710 |
|
|
|
|
- |
- |
- |
32,02 |
39,88 |
48,77 |
58,90 |
63,92 |
81,23 |
107,36 |
|
720 |
|
|
|
|
- |
- |
- |
32,42 |
40,42 |
49,43 |
59,70 |
64,80 |
82,35 |
108,77 |
|
730 |
|
|
|
|
|
|
|
32,89 |
40,97 |
50,10 |
60,51 |
65,67 |
83,46 |
110,23 |
|
740 |
|
|
|
|
|
|
|
33,33 |
41,52 |
50,77 |
61,31 |
66,55 |
84,58 |
111,70 |
|
750 |
|
|
|
|
|
|
|
33,76 |
42,06 |
51,43 |
62,13 |
67,43 |
85,70 |
113,17 |
|
Длина шпильки L, мм |
Теоретическая масса шпильки типа В, кг », при номинальном диаметре резьбы d, мм |
||||||||||||||||||
|
30 |
36 |
42 |
48 |
(52) |
56 |
(60) |
64 |
(68) |
72 |
(76) |
80 |
90 |
100 |
110 |
(120) |
125 |
140 |
160 |
|
|
130 |
0,488 |
|
|
|
|
|
|
|
|
|
|
|
|
|
|
|
|
|
|
|
140 |
0,518 |
1,072 |
|
|
|
|
|
|
|
|
|
|
|
|
|
|
|
|
|
|
150 |
0,548 |
1,122 |
|
|
|
|
|
|
|
|
|
|
|
|
|
|
|
|
|
|
160 |
0,578 |
1,172 |
1,692 |
|
|
|
|
|
|
|
|
|
|
|
|
|
|
|
|
|
170 |
0,608 |
1,222 |
1,762 |
|
|
|
|
|
|
|
|
|
|
|
|
|
|
|
|
|
180 |
0,638 |
1,272 |
1,832 |
|
|
|
|
|
|
|
|
|
|
|
|
|
|
|
|
|
190 |
0,668 |
1,322 |
1,902 |
|
|
|
|
|
|
|
|
|
|
|
|
|
|
|
|
|
200 |
0,698 |
1,372 |
1,972 |
2,682 |
|
|
|
|
|
|
|
|
|
|
|
|
|
|
|
|
210 |
0,728 |
1,422 |
2,042 |
2,782 |
|
|
|
|
|
|
|
|
|
|
|
|
|
|
|
|
220 |
0,758 |
1,472 |
2,112 |
2,882 |
3,409 |
|
|
|
|
|
|
|
|
|
|
|
|
|
|
|
230 |
0,788 |
1,522 |
2,182 |
2,982 |
3,529 |
|
|
|
|
|
|
|
|
|
|
|
|
|
|
|
240 |
0,818 |
1,572 |
2,252 |
3,082 |
3,649 |
|
|
|
|
|
|
|
|
|
|
|
|
|
|
|
250 |
0,858 |
1,622 |
2,322 |
3,182 |
3,769 |
4,261 |
5,433 |
6,100 |
|
|
|
|
|
|
|
|
|
|
|
|
260 |
0,888 |
1,672 |
2,392 |
3,282 |
3,889 |
4,391 |
5,593 |
6,270 |
|
|
|
|
|
|
|
|
|
|
|
|
270 |
0,918 |
1,732 |
2,462 |
3,382 |
4,009 |
4,521 |
5,753 |
6,440 |
|
|
|
|
|
|
|
|
|
|
|
|
280 |
0,948 |
1,782 |
2,532 |
3,482 |
4,129 |
4,651 |
5,913 |
6,610 |
|
|
|
|
|
|
|
|
|
|
|
|
290 |
0,978 |
1,832 |
2,602 |
3,582 |
4,249 |
4,781 |
6,073 |
6,780 |
|
|
|
|
|
|
|
|
|
|
|
|
300 |
1,008 |
1,882 |
2,672 |
3,682 |
4,369 |
4,911 |
6,233 |
6,950 |
|
|
|
|
|
|
|
|
|
|
|
|
310 |
1,038 |
1,932 |
2,762 |
3,782 |
4,489 |
5,041 |
6,393 |
7,120 |
|
|
|
|
|
|
|
|
|
|
|
|
320 |
1,068 |
1,982 |
2,832 |
3,882 |
4,609 |
5,171 |
6,553 |
7,290 |
|
|
|
|
|
|
|
|
|
|
|
|
330 |
1,098 |
2,032 |
2,902 |
3,982 |
4,729 |
5,301 |
6,713 |
7,460 |
8,390 |
|
|
|
|
|
|
|
|
|
|
|
340 |
1,128 |
2,082 |
2,972 |
4,082 |
4,849 |
5,431 |
6,873 |
7,630 |
8,580 |
10,576 |
11,188 |
|
|
|
|
|
|
|
|
|
350 |
- |
2,132 |
3,042 |
4,132 |
4,969 |
5,561 |
7,033 |
7,800 |
8,770 |
10,836 |
11,468 |
12,778 |
|
|
|
|
|
|
|
|
360 |
- |
2,182 |
3,112 |
4,182 |
5,089 |
5,691 |
7,193 |
7,970 |
8,960 |
11,096 |
11,748 |
13,078 |
17,816 |
|
|
|
|
|
|
|
370 |
- |
2,232 |
3,182 |
4,282 |
5,209 |
5,821 |
7,353 |
8,140 |
9,150 |
11,356 |
12,028 |
13,398 |
18,226 |
|
|
|
|
|
|
|
380 |
- |
2,282 |
3,252 |
4,382 |
5,329 |
5,951 |
7,513 |
8,310 |
9,340 |
11,616 |
12,308 |
13,698 |
18,636 |
|
|
|
|
|
|
|
390 |
- |
2,332 |
3,322 |
4,482 |
5,369 |
6,081 |
7,673 |
8,480 |
9,530 |
11,876 |
12,588 |
14,018 |
19,046 |
|
|
|
|
|
|
|
400 |
- |
2,382 |
2,392 |
4,582 |
5,449 |
6,211 |
7,833 |
8,650 |
9,720 |
12,136 |
12,868 |
14,318 |
19,456 |
|
|
|
|
|
|
|
410 |
- |
2,432 |
2,462 |
4,682 |
5,569 |
6,341 |
7,993 |
8,820 |
9,910 |
12,396 |
13,148 |
14,638 |
19,866 |
|
|
|
|
|
|
|
420 |
- |
- |
- |
4,782 |
5,689 |
6,471 |
8,153 |
8,990 |
10,100 |
12,656 |
13,428 |
14,938 |
20,276 |
|
|
|
|
|
|
|
430 |
|
|
|
4,882 |
5,809 |
6,641 |
8,313 |
9,160 |
10,290 |
12,916 |
13,708 |
15,258 |
20,686 |
|
|
|
|
|
|
|
440 |
|
|
|
4,982 |
5,929 |
6,771 |
8,473 |
9,330 |
10,480 |
13,176 |
13,988 |
15,558 |
21,096 |
|
|
|
|
|
|
|
450 |
|
|
|
|
6,049 |
6,901 |
8,633 |
9,500 |
10,670 |
13,436 |
14,268 |
15,678 |
21,506 |
27,669 |
|
|
|
|
|
|
460 |
|
|
|
|
5,169 |
7,031 |
8,793 |
9,670 |
10,860 |
13,696 |
14,548 |
16,178 |
21,916 |
28,189 |
34,444 |
|
|
|
|
|
470 |
|
|
|
|
6,289 |
7,161 |
9,003 |
9840 |
11,050 |
13,956 |
14,828 |
16,498 |
22,326 |
28,709 |
35,084 |
|
|
|
|
|
480 |
|
|
|
|
6,409 |
7,291 |
9,163 |
10,010 |
11,240 |
14,216 |
15,108 |
16,798 |
22,736 |
29,229 |
35,724 |
|
|
|
|
|
490 |
|
|
|
|
6,529 |
7,421 |
9,323 |
10,180 |
11,430 |
14,476 |
15,388 |
17,118 |
23,146 |
29,749 |
36,364 |
|
|
|
|
|
500 |
|
|
|
|
6,649 |
7,551 |
9,483 |
10,350 |
11,620 |
14,736 |
15,668 |
17,418 |
23,556 |
30,269 |
37,004 |
42,563 |
46,123 |
|
|
|
510 |
|
|
|
|
|
7,681 |
9,643 |
10,590 |
11,810 |
14,996 |
15,948 |
17,738 |
23,966 |
30,789 |
37,644 |
43,303 |
46,923 |
|
|
|
520 |
|
|
|
|
|
7,811 |
9,803 |
10,770 |
12,000 |
15,256 |
16,228 |
18,038 |
24,376 |
31,309 |
38,284 |
44,043 |
47,723 |
|
|
|
530 |
|
|
|
|
|
|
9,963 |
10,930 |
12,190 |
15,516 |
16,508 |
18,358 |
24,786 |
31,829 |
38,924 |
44,783 |
48,523 |
|
|
|
540 |
|
|
|
|
|
|
10,123 |
11,110 |
12,380 |
15,776 |
16,788 |
18,658 |
25,196 |
32,349 |
39,564 |
45,523 |
49,323 |
|
|
|
550 |
|
|
|
|
|
|
10,283 |
11,270 |
12,690 |
16,036 |
17,068 |
18,978 |
25,606 |
32,869 |
40,204 |
46,263 |
50,123 |
|
|
|
560 |
|
|
|
|
|
|
|
11,450 |
12,880 |
16,296 |
17,348 |
19,278 |
26,016 |
33,389 |
40,844 |
47,003 |
50,923 |
|
|
|
570 |
|
|
|
|
|
|
|
11,610 |
13,070 |
16,556 |
17,628 |
19,598 |
26,426 |
33,909 |
41,484 |
47,743 |
51,723 |
|
|
|
580 |
|
|
|
|
|
|
|
11,790 |
13,260 |
16,816 |
18,258 |
19,898 |
26,836 |
34,429 |
42,124 |
48,483 |
52,523 |
|
|
|
590 |
|
|
|
|
|
|
|
11,950 |
13,450 |
17,136 |
18,538 |
20,298 |
27,246 |
34,949 |
42,764 |
49,223 |
53,323 |
|
|
|
600 |
|
|
|
|
|
|
|
12,130 |
13,640 |
17,396 |
18,818 |
20,598 |
27,656 |
35,469 |
43,404 |
49,963 |
54,123 |
71,666 |
95,825 |
|
610 |
|
|
|
|
|
|
|
|
13,830 |
17,659 |
19,098 |
20,918 |
28,066 |
36,069 |
44,044 |
50,703 |
54,923 |
72,706 |
97,215 |
|
620 |
|
|
|
|
|
|
|
|
14,020 |
17,916 |
19,378 |
21,218 |
28,476 |
36,589 |
44,684 |
51,443 |
55,723 |
73,746 |
98,605 |
|
630 |
|
|
|
|
|
|
|
|
14,210 |
18,176 |
19,658 |
21,538 |
28,886 |
37,109 |
45,324 |
52,183 |
56,523 |
74,786 |
99,995 |
|
640 |
|
|
|
|
|
|
|
|
14,400 |
18,436 |
19,938 |
21,838 |
29,296 |
37,629 |
45,964 |
52,923 |
57,323 |
75,826 |
101,385 |
|
650 |
|
|
|
|
|
|
|
|
14,590 |
18,696 |
20,218 |
22,158 |
29,706 |
38,149 |
46,604 |
53,663 |
58,123 |
76,866 |
102,775 |
|
660 |
|
|
|
|
|
|
|
|
|
18,956 |
20,498 |
22,458 |
30,116 |
38,669 |
47,244 |
54,403 |
58,923 |
77,906 |
104,165 |
|
670 |
|
|
|
|
|
|
|
|
|
19,216 |
20,778 |
22,778 |
30,526 |
39,189 |
47,884 |
55,143 |
59,723 |
78,946 |
105,555 |
|
680 |
|
|
|
|
|
|
|
|
|
19,476 |
21,058 |
23,078 |
30,936 |
39,709 |
48,524 |
55,883 |
60,523 |
79,986 |
106,945 |
|
690 |
|
|
|
|
|
|
|
|
|
19,736 |
21,338 |
23,398 |
31,346 |
40,229 |
49,164 |
56,623 |
61,323 |
81,026 |
108,335 |
|
700 |
|
|
|
|
|
|
|
|
|
19,996 |
21,618 |
23,698 |
31,756 |
40,749 |
49,804 |
57,363 |
62,123 |
82,066 |
109,725 |
|
710 |
|
|
|
|
|
|
|
|
|
|
|
|
32,166 |
41,269 |
50,444 |
58,103 |
62,923 |
83,106 |
111,115 |
|
720 |
|
|
|
|
|
|
|
|
|
|
|
|
32,576 |
41,789 |
51,084 |
58,843 |
63,723 |
84,146 |
112,505 |
|
730 |
|
|
|
|
|
|
|
|
|
|
|
|
32,986 |
42,309 |
51,724 |
59,583 |
64,523 |
85,186 |
113,895 |
|
740 |
|
|
|
|
|
|
|
|
|
|
|
|
33,396 |
42,829 |
52,364 |
60,323 |
65,323 |
86,226 |
115,285 |
|
750 |
|
|
|
|
|
|
|
|
|
|
|
|
33,806 |
43,349 |
53,004 |
61,063 |
66,123 |
87,266 |
116,675 |
|
Длина шпильки L, мм |
Теоретическая масса шпильки типа Г, кг », при номинальном диаметре резьбы d, мм |
||||||||||||||||||
|
30 |
36 |
42 |
48 |
(52) |
56 |
(60) |
64 |
(68) |
72 |
(76) |
80 |
90 |
100 |
110 |
(120) |
125 |
140 |
160 |
|
|
130 |
0,41 |
|
|
|
|
|
|
|
|
|
|
|
|
|
|
|
|
|
|
|
140 |
0,44 |
0,82 |
|
|
|
|
|
|
|
|
|
|
|
|
|
|
|
|
|
|
150 |
0,47 |
0,87 |
|
|
|
|
|
|
|
|
|
|
|
|
|
|
|
|
|
|
160 |
0,50 |
0,92 |
1,39 |
|
|
|
|
|
|
|
|
|
|
|
|
|
|
|
|
|
170 |
0,53 |
0,97 |
1,46 |
|
|
|
|
|
|
|
|
|
|
|
|
|
|
|
|
|
180 |
0,56 |
1,02 |
1,53 |
|
|
|
|
|
|
|
|
|
|
|
|
|
|
|
|
|
190 |
0,59 |
1,07 |
1,60 |
|
|
|
|
|
|
|
|
|
|
|
|
|
|
|
|
|
200 |
0,62 |
1,12 |
1,67 |
2,34 |
|
|
|
|
|
|
|
|
|
|
|
|
|
|
|
|
210 |
0,65 |
1,17 |
1,74 |
2,44 |
|
|
|
|
|
|
|
|
|
|
|
|
|
|
|
|
220 |
0,68 |
1,22 |
1,81 |
2,54 |
2,97 |
|
|
|
|
|
|
|
|
|
|
|
|
|
|
|
230 |
0,71 |
1,27 |
1,88 |
2,64 |
3,09 |
|
|
|
|
|
|
|
|
|
|
|
|
|
|
|
240 |
0,74 |
1,32 |
1,95 |
2,74 |
3,21 |
|
|
|
|
|
|
|
|
|
|
|
|
|
|
|
250 |
0,78 |
1,37 |
2,02 |
2,84 |
3,33 |
3,79 |
4,68 |
5,30 |
|
|
|
|
|
|
|
|
|
|
|
|
260 |
0,81 |
1,42 |
2,09 |
2,94 |
3,45 |
3,92 |
4,84 |
5,47 |
|
|
|
|
|
|
|
|
|
|
|
|
270 |
0,84 |
1,48 |
2,16 |
3,04 |
3,57 |
4,05 |
5,00 |
5,64 |
|
|
|
|
|
|
|
|
|
|
|
|
280 |
0,87 |
1,53 |
2,23 |
3,14 |
3,69 |
4,18 |
5,16 |
5,81 |
|
|
|
|
|
|
|
|
|
|
|
|
290 |
0,90 |
1,58 |
2,30 |
3,24 |
3,81 |
4,31 |
5,32 |
5,98 |
|
|
|
|
|
|
|
|
|
|
|
|
300 |
0,93 |
1,63 |
2,37 |
3,34 |
3,93 |
4,44 |
5,48 |
6,15 |
|
|
|
|
|
|
|
|
|
|
|
|
310 |
0,96 |
1,68 |
2,46 |
3,44 |
4,06 |
4,57 |
5,64 |
6,32 |
|
|
|
|
|
|
|
|
|
|
|
|
320 |
0,99 |
1,73 |
2,53 |
3,54 |
4,17 |
4,70 |
5,80 |
6,49 |
|
|
|
|
|
|
|
|
|
|
|
|
330 |
1,02 |
1,78 |
2,60 |
3,64 |
4,29 |
4,83 |
5,96 |
6,66 |
7,59 |
|
|
|
|
|
|
|
|
|
|
|
340 |
1,05 |
1,83 |
2,67 |
3,74 |
4,41 |
4,96 |
6,12 |
6,83 |
7,78 |
9,55 |
10,24 |
|
|
|
|
|
|
|
|
|
350 |
|
1,88 |
2,74 |
3,79 |
4,53 |
5,09 |
6,28 |
7,00 |
7,97 |
9,81 |
10,52 |
11,83 |
|
|
|
|
|
|
|
|
360 |
|
1,93 |
2,81 |
3,84 |
4,65 |
5,22 |
6,44 |
7,17 |
8,16 |
10,07 |
10,80 |
12,13 |
15,83 |
|
|
|
|
|
|
|
370 |
|
1,98 |
2,88 |
3,94 |
4,77 |
5,35 |
6,60 |
7,34 |
8,35 |
10,33 |
11,08 |
12,45 |
16,24 |
|
|
|
|
|
|
|
380 |
|
2,03 |
2,95 |
4,04 |
4,89 |
5,48 |
6,76 |
7,51 |
8,54 |
10,59 |
11,36 |
12,75 |
16,65 |
|
|
|
|
|
|
|
390 |
|
2,08 |
3,02 |
4,14 |
4,93 |
5,61 |
6,92 |
7,68 |
8,73 |
10,85 |
11,64 |
13,07 |
17,06 |
|
|
|
|
|
|
|
400 |
|
2,13 |
3,09 |
4,24 |
5,01 |
5,74 |
7,08 |
7,85 |
8,92 |
11,11 |
11,92 |
13,37 |
17,47 |
|
|
|
|
|
|
|
410 |
|
2,18 |
3,16 |
4,34 |
5,13 |
5,87 |
7,24 |
8,02 |
9,11 |
11,37 |
12,20 |
13,69 |
17,88 |
|
|
|
|
|
|
|
420 |
|
|
|
4,44 |
5,25 |
6,00 |
7,40 |
8,19 |
9,30 |
11,63 |
12,48 |
13,99 |
18,29 |
|
|
|
|
|
|
|
430 |
|
|
|
4,54 |
5,37 |
6,17 |
7,56 |
8,36 |
9,49 |
11,89 |
12,76 |
14,31 |
18,70 |
|
|
|
|
|
|
|
440 |
|
|
|
4,64 |
5,49 |
6,30 |
7,72 |
8,53 |
9,68 |
12,15 |
13,04 |
14,61 |
19,11 |
|
|
|
|
|
|
|
450 |
|
|
|
|
5,61 |
6,43 |
7,88 |
8,70 |
9,87 |
12,41 |
13,32 |
14,93 |
19,52 |
24,52 |
|
|
|
|
|
|
460 |
|
|
|
|
5,73 |
6,56 |
8,04 |
8,87 |
10,06 |
12,67 |
13,60 |
15,23 |
19,92 |
25,04 |
30,91 |
|
|
|
|
|
470 |
|
|
|
|
5,85 |
6,69 |
8,25 |
9,04 |
10,25 |
12,93 |
13,88 |
15,55 |
20,33 |
25,56 |
31,55 |
|
|
|
|
|
480 |
|
|
|
|
5,97 |
6,82 |
8,41 |
9,21 |
10,44 |
13,19 |
14,16 |
15,85 |
20,74 |
26,08 |
32,19 |
|
|
|
|
|
490 |
|
|
|
|
6,09 |
6,95 |
8,57 |
9,38 |
10,63 |
13,45 |
14,44 |
16,17 |
21,15 |
26,60 |
32,83 |
|
|
|
|
|
500 |
|
|
|
|
6,21 |
7,08 |
8,73 |
9,55 |
10,82 |
13,71 |
14,72 |
16,47 |
21,56 |
27,12 |
33,47 |
37,17 |
41,73 |
|
|
|
510 |
|
|
|
|
|
7,21 |
8,89 |
9,79 |
11,01 |
13,97 |
15,00 |
16,79 |
21,97 |
27,64 |
34,11 |
38,91 |
42,53 |
|
|
|
520 |
|
|
|
|
|
7,34 |
9,05 |
9,97 |
11,20 |
14,23 |
15,28 |
17,09 |
22,38 |
28,16 |
34,75 |
39,63 |
43,33 |
|
|
|
530 |
|
|
|
|
|
|
9,21 |
10,13 |
11,39 |
14,49 |
15,56 |
17,41 |
22,79 |
28,68 |
35,39 |
40,37 |
44,13 |
|
|
|
540 |
|
|
|
|
|
|
9,37 |
10,31 |
11,58 |
14,75 |
15,84 |
17,71 |
23,20 |
29,20 |
36,03 |
41,09 |
44,93 |
|
|
|
550 |
|
|
|
|
|
|
9,53 |
10,47 |
11,89 |
15,01 |
16,12 |
18,03 |
23,61 |
29,72 |
36,67 |
41,83 |
45,73 |
|
|
|
560 |
|
|
|
|
|
|
|
10,65 |
12,08 |
15,27 |
16,40 |
18,33 |
24,02 |
30,24 |
37,31 |
42,55 |
46,53 |
|
|
|
570 |
|
|
|
|
|
|
|
10,81 |
12,27 |
15,53 |
16,68 |
18,65 |
24,43 |
30,76 |
37,95 |
43,29 |
47,33 |
|
|
|
580 |
|
|
|
|
|
|
|
10,99 |
12,46 |
15,79 |
17,31 |
18,95 |
24,84 |
31,28 |
38,59 |
44,01 |
48,13 |
|
|
|
590 |
|
|
|
|
|
|
|
11,15 |
12,65 |
16,11 |
17,59 |
19,35 |
25,25 |
31,80 |
39,23 |
44,75 |
48,93 |
|
|
|
600 |
|
|
|
|
|
|
|
11,33 |
12,84 |
16,37 |
17,87 |
19,65 |
25,75 |
32,40 |
39,87 |
45,47 |
49,73 |
64,40 |
86,02 |
|
610 |
|
|
|
|
|
|
|
|
13,03 |
16,63 |
18,15 |
19,97 |
26,16 |
32,92 |
40,61 |
46,21 |
50,53 |
65,44 |
88,01 |
|
620 |
|
|
|
|
|
|
|
|
13,22 |
16,89 |
18,43 |
20,27 |
26,57 |
33,44 |
41,25 |
46,93 |
51,33 |
66,48 |
89,40 |
|
630 |
|
|
|
|
|
|
|
|
13,41 |
17,15 |
18,71 |
20,59 |
26,98 |
33,96 |
41,89 |
47,67 |
52,13 |
67,52 |
90,79 |
|
640 |
|
|
|
|
|
|
|
|
13,60 |
17,41 |
18,99 |
20,89 |
27,39 |
34,48 |
42,53 |
48,39 |
52,93 |
68,56 |
92,18 |
|
650 |
|
|
|
|
|
|
|
|
13,79 |
17,67 |
19,27 |
21,21 |
27,80 |
35,00 |
43,17 |
49,13 |
53,73 |
69,60 |
93,57 |
|
660 |
|
|
|
|
|
|
|
|
|
17,93 |
19,55 |
21,51 |
28,21 |
35,52 |
43,81 |
49,85 |
54,53 |
70,64 |
94,96 |
|
670 |
|
|
|
|
|
|
|
|
|
18,19 |
19,83 |
21,83 |
28,62 |
36,04 |
44,45 |
50,59 |
55,33 |
71,68 |
96,35 |
|
680 |
|
|
|
|
|
|
|
|
|
18,45 |
20,11 |
2,13 |
29,03 |
36,56 |
45,09 |
51,31 |
56,13 |
72,72 |
97,74 |
|
690 |
|
|
|
|
|
|
|
|
|
18,71 |
20,39 |
22,45 |
29,44 |
31,08 |
45,73 |
52,05 |
56,93 |
73,76 |
99,13 |
|
700 |
|
|
|
|
|
|
|
|
|
18,97 |
20,67 |
22,75 |
29,85 |
37,60 |
46,37 |
52,77 |
57,73 |
74,80 |
100,52 |
|
710 |
|
|
|
|
|
|
|
|
|
|
|
|
30,26 |
38,12 |
47,01 |
53,51 |
58,53 |
75,84 |
101,91 |
|
720 |
|
|
|
|
|
|
|
|
|
|
|
|
30,67 |
38,64 |
47,65 |
54,23 |
59,33 |
76,88 |
103,30 |
|
730 |
|
|
|
|
|
|
|
|
|
|
|
|
31,08 |
39,16 |
48,29 |
54,97 |
60,13 |
77,92 |
104,69 |
|
740 |
|
|
|
|
|
|
|
|
|
|
|
|
31,49 |
39,68 |
48,93 |
55,69 |
60,93 |
78,92 |
106,08 |
|
750 |
|
|
|
|
|
|
|
|
|
|
|
|
31,90 |
40,20 |
49,57 |
56,43 |
61,73 |
80,00 |
107,47 |
|
Длина шпильки L, мм |
Теоретическая масса шпильки типа Д, исполнения 1, кг », при номинальном диаметре резьбы d, мм |
||||||||||||||||||
|
30 |
36 |
42 |
48 |
(52) |
56 |
(60) |
64 |
(68) |
72 |
(76) |
80 |
90 |
100 |
110 |
(120) |
125 |
140 |
160 |
|
|
130 |
0,45 |
|
|
|
|
|
|
|
|
|
|
|
|
|
|
|
|
|
|
|
140 |
0,48 |
0,89 |
|
|
|
|
|
|
|
|
|
|
|
|
|
|
|
|
|
|
150 |
0,51 |
0,94 |
|
|
|
|
|
|
|
|
|
|
|
|
|
|
|
|
|
|
160 |
0,54 |
0,99 |
1,42 |
|
|
|
|
|
|
|
|
|
|
|
|
|
|
|
|
|
170 |
0,57 |
1,04 |
1,49 |
|
|
|
|
|
|
|
|
|
|
|
|
|
|
|
|
|
180 |
0,60 |
1,09 |
1,56 |
|
|
|
|
|
|
|
|
|
|
|
|
|
|
|
|
|
190 |
0,63 |
1,14 |
1,63 |
|
|
|
|
|
|
|
|
|
|
|
|
|
|
|
|
|
200 |
0,66 |
1,19 |
1,70 |
2,23 |
|
|
|
|
|
|
|
|
|
|
|
|
|
|
|
|
210 |
0,69 |
1,24 |
1,77 |
2,33 |
|
|
|
|
|
|
|
|
|
|
|
|
|
|
|
|
220 |
0,72 |
1,29 |
1,84 |
2,43 |
2,78 |
|
|
|
|
|
|
|
|
|
|
|
|
|
|
|
230 |
0,75 |
1,34 |
1,91 |
2,53 |
2,90 |
|
|
|
|
|
|
|
|
|
|
|
|
|
|
|
240 |
0,78 |
1,39 |
1,98 |
2,63 |
3,02 |
|
|
|
|
|
|
|
|
|
|
|
|
|
|
|
250 |
0,82 |
1,44 |
2,05 |
2,73 |
3,14 |
3,88 |
4,69 |
5,45 |
|
|
|
|
|
|
|
|
|
|
|
|
260 |
0,85 |
1,49 |
2,12 |
2,83 |
3,26 |
4,01 |
4,85 |
5,62 |
|
|
|
|
|
|
|
|
|
|
|
|
270 |
0,88 |
1,51 |
2,19 |
2,93 |
3,38 |
4,14 |
5,01 |
5,79 |
|
|
|
|
|
|
|
|
|
|
|
|
280 |
0,91 |
1,56 |
2,26 |
3,03 |
3,50 |
4,27 |
5,17 |
5,96 |
|
|
|
|
|
|
|
|
|
|
|
|
290 |
0,94 |
1,61 |
2,33 |
3,13 |
3,62 |
4,40 |
5,33 |
6,13 |
|
|
|
|
|
|
|
|
|
|
|
|
300 |
0,97 |
1,66 |
2,40 |
3,23 |
3,74 |
4,53 |
5,49 |
6,30 |
|
|
|
|
|
|
|
|
|
|
|
|
310 |
1,00 |
1,71 |
2,53 |
3,33 |
3,86 |
4,66 |
5,65 |
6,47 |
|
|
|
|
|
|
|
|
|
|
|
|
320 |
1,03 |
1,76 |
2,60 |
3,43 |
3,98 |
4,79 |
5,81 |
6,64 |
|
|
|
|
|
|
|
|
|
|
|
|
330 |
1,06 |
1,81 |
2,67 |
3,53 |
4,10 |
4,92 |
5,97 |
6,81 |
|
|
|
|
|
|
|
|
|
|
|
|
340 |
1,09 |
1,86 |
2,74 |
3,63 |
4,22 |
5,05 |
6,13 |
6,98 |
7,77 |
9,67 |
10,33 |
|
|
|
|
|
|
|
|
|
350 |
|
1,91 |
2,81 |
3,95 |
4,34 |
5,18 |
6,29 |
7,15 |
7,96 |
9,93 |
10,61 |
11,66 |
|
|
|
|
|
|
|
|
360 |
|
1,96 |
2,88 |
4,05 |
4,46 |
5,31 |
6,45 |
7,32 |
8,15 |
10,19 |
10,89 |
11,96 |
15,63 |
|
|
|
|
|
|
|
370 |
|
2,01 |
2,95 |
4,15 |
4,58 |
5,44 |
6,61 |
7,49 |
8,34 |
10,45 |
11,17 |
12,27 |
16,04 |
|
|
|
|
|
|
|
380 |
|
2,06 |
3,02 |
4,25 |
4,70 |
5,57 |
6,77 |
7,66 |
8,53 |
10,71 |
11,45 |
12,58 |
16,45 |
|
|
|
|
|
|
|
390 |
|
2,11 |
3,09 |
4,35 |
5,10 |
5,70 |
6,93 |
7,83 |
8,72 |
10,97 |
11,73 |
12,89 |
16,86 |
|
|
|
|
|
|
|
400 |
|
2,16 |
3,16 |
4,45 |
5,22 |
5,83 |
7,09 |
8,00 |
8,91 |
11,23 |
12,01 |
13,20 |
17,27 |
|
|
|
|
|
|
|
410 |
|
2,21 |
3,23 |
4,55 |
5,34 |
5,96 |
7,25 |
8,17 |
9,10 |
11,49 |
12,29 |
13,51 |
17,68 |
|
|
|
|
|
|
|
420 |
|
|
|
4,65 |
5,46 |
6,09 |
7,41 |
8,34 |
9,29 |
11,75 |
12,57 |
13,82 |
18,09 |
|
|
|
|
|
|
|
430 |
|
|
|
4,75 |
5,58 |
6,31 |
7,57 |
8,51 |
9,48 |
12,01 |
12,85 |
14,13 |
18,50 |
|
|
|
|
|
|
|
440 |
|
|
|
4,85 |
5,70 |
6,44 |
7,73 |
8,68 |
9,67 |
12,27 |
13,13 |
14,44 |
18,91 |
|
|
|
|
|
|
|
450 |
|
|
|
|
5,82 |
6,57 |
7,89 |
8,85 |
9,86 |
12,53 |
13,41 |
14,75 |
19,32 |
24,56 |
|
|
|
|
|
|
460 |
|
|
|
|
5,94 |
6,70 |
8,05 |
9,02 |
10,05 |
12,79 |
13,69 |
15,06 |
19,73 |
25,08 |
29,96 |
|
|
|
|
|
470 |
|
|
|
|
6,06 |
6,83 |
8,30 |
9,19 |
10,24 |
13,05 |
13,97 |
15,37 |
20,14 |
25,60 |
30,60 |
|
|
|
|
|
480 |
|
|
|
|
6,18 |
6,96 |
8,46 |
9,36 |
10,43 |
13,31 |
14,25 |
15,68 |
20,55 |
26,12 |
31,24 |
|
|
|
|
|
490 |
|
|
|
|
6,30 |
7,09 |
8,62 |
9,53 |
10,62 |
13,57 |
14,53 |
15,99 |
30,96 |
26,54 |
31,88 |
|
|
|
|
|
500 |
|
|
|
|
6,42 |
7,22 |
8,78 |
9,70 |
10,81 |
13,83 |
14,71 |
16,30 |
21,37 |
27,16 |
32,52 |
38,10 |
41,75 |
|
|
|
510 |
|
|
|
|
|
7,35 |
8,94 |
10,02 |
11,00 |
14,09 |
15,09 |
16,61 |
21,78 |
27,68 |
33,16 |
38,82 |
42,55 |
|
|
|
520 |
|
|
|
|
|
7,48 |
9,10 |
10,19 |
11,19 |
14,35 |
15,37 |
16,92 |
22,19 |
28,20 |
33,80 |
39,54 |
43,35 |
|
|
|
530 |
|
|
|
|
|
|
9,26 |
10,36 |
11,38 |
14,61 |
15,65 |
17,23 |
22,60 |
28,72 |
34,44 |
40,26 |
44,15 |
|
|
|
540 |
|
|
|
|
|
|
9,42 |
10,53 |
11,57 |
14,87 |
15,93 |
17,54 |
23,01 |
29,24 |
35,08 |
40,98 |
44,95 |
|
|
|
550 |
|
|
|
|
|
|
9,58 |
10,70 |
11,76 |
15,13 |
16,21 |
17,85 |
23,42 |
29,76 |
35,72 |
41,70 |
45,75 |
|
|
|
560 |
|
|
|
|
|
|
|
10,87 |
12,19 |
15,39 |
16,49 |
18,16 |
23,83 |
30,28 |
36,36 |
42,42 |
46,55 |
|
|
|
570 |
|
|
|
|
|
|
|
11,04 |
12,38 |
15,65 |
16,77 |
18,57 |
24,24 |
30,80 |
37,00 |
43,14 |
47,35 |
|
|
|
580 |
|
|
|
|
|
|
|
11,21 |
12,57 |
15,91 |
17,05 |
18,78 |
24,65 |
31,32 |
37,64 |
43,86 |
48,15 |
|
|
|
590 |
|
|
|
|
|
|
|
11,38 |
12,76 |
16,27 |
17,45 |
19,22 |
25,06 |
31,84 |
38,28 |
44,58 |
48,95 |
|
|
|
600 |
|
|
|
|
|
|
|
11,55 |
12,95 |
16,53 |
17,73 |
19,53 |
25,59 |
32,52 |
38,92 |
45,30 |
49,75 |
64,32 |
86,16 |
|
610 |
|
|
|
|
|
|
|
|
13,14 |
16,79 |
18,01 |
19,84 |
26,00 |
33,04 |
39,56 |
46,02 |
50,55 |
65,35 |
87,54 |
|
620 |
|
|
|
|
|
|
|
|
13,33 |
17,05 |
18,29 |
20,15 |
26,41 |
33,56 |
40,30 |
46,74 |
51,35 |
66,38 |
88,92 |
|
630 |
|
|
|
|
|
|
|
|
13,52 |
17,31 |
18,57 |
20,46 |
26,82 |
34,08 |
41,00 |
47,46 |
52,15 |
67,41 |
90,30 |
|
640 |
|
|
|
|
|
|
|
|
13,71 |
17,57 |
18,85 |
20,77 |
27,23 |
34,60 |
41,64 |
48,18 |
52,95 |
68,44 |
91,68 |
|
650 |
|
|
|
|
|
|
|
|
13,90 |
17,83 |
19,13 |
21,08 |
27,64 |
35,12 |
42,28 |
48,90 |
53,75 |
69,47 |
93,06 |
|
660 |
|
|
|
|
|
|
|
|
14,09 |
18,09 |
19,41 |
21,39 |
28,05 |
35,64 |
42,92 |
49,62 |
54,55 |
70,50 |
94,44 |
|
670 |
|
|
|
|
|
|
|
|
|
18,35 |
19,69 |
21,70 |
28,46 |
36,16 |
43,56 |
50,34 |
55,35 |
71,53 |
95,82 |
|
680 |
|
|
|
|
|
|
|
|
|
18,61 |
19,97 |
22,01 |
28,87 |
36,68 |
44,20 |
51,06 |
56,15 |
72,56 |
97,20 |
|
690 |
|
|
|
|
|
|
|
|
|
18,87 |
20,25 |
22,32 |
29,28 |
37,20 |
44,84 |
51,78 |
56,95 |
73,59 |
98,58 |
|
700 |
|
|
|
|
|
|
|
|
|
19,13 |
20,53 |
22,65 |
29,69 |
37,72 |
45,48 |
52,50 |
57,75 |
74,62 |
99,96 |
|
710 |
|
|
|
|
|
|
|
|
|
|
|
|
30,10 |
38,24 |
46,76 |
59,22 |
58,55 |
75,65 |
101,34 |
|
720 |
|
|
|
|
|
|
|
|
|
|
|
|
30,51 |
38,76 |
47,40 |
53,94 |
59,35 |
76,68 |
102,72 |
|
730 |
|
|
|
|
|
|
|
|
|
|
|
|
30,92 |
39,28 |
48,04 |
54,66 |
60,15 |
77,71 |
104,10 |
|
740 |
|
|
|
|
|
|
|
|
|
|
|
|
31,33 |
39,80 |
48,68 |
55,38 |
60,95 |
78,74 |
105,48 |
|
750 |
|
|
|
|
|
|
|
|
|
|
|
|
31,74 |
40,32 |
49,32 |
56,10 |
61,75 |
79,77 |
106,86 |
|
Длина шпильки L, мм |
Теоретическая масса шпильки типа Д, исполнения 2, кг », при номинальном диаметре резьбы d, мм |
||||||||||||||||||
|
30 |
36 |
42 |
48 |
(52) |
56 |
(60) |
64 |
(68) |
72 |
(76) |
80 |
90 |
100 |
110 |
(120) |
125 |
140 |
160 |
|
|
130 |
0,41 |
|
|
|
|
|
|
|
|
|
|
|
|
|
|
|
|
|
|
|
140 |
0,44 |
0,82 |
|
|
|
|
|
|
|
|
|
|
|
|
|
|
|
|
|
|
150 |
0,47 |
0,87 |
|
|
|
|
|
|
|
|
|
|
|
|
|
|
|
|
|
|
160 |
0,50 |
0,92 |
1,39 |
|
|
|
|
|
|
|
|
|
|
|
|
|
|
|
|
|
170 |
0,53 |
0,97 |
1,46 |
|
|
|
|
|
|
|
|
|
|
|
|
|
|
|
|
|
180 |
0,56 |
1,02 |
1,53 |
|
|
|
|
|
|
|
|
|
|
|
|
|
|
|
|
|
190 |
0,62 |
1,07 |
1,60 |
|
|
|
|
|
|
|
|
|
|
|
|
|
|
|
|
|
200 |
0,65 |
1,12 |
1,67 |
2,34 |
|
|
|
|
|
|
|
|
|
|
|
|
|
|
|
|
210 |
0,68 |
1,17 |
1,74 |
2,44 |
|
|
|
|
|
|
|
|
|
|
|
|
|
|
|
|
220 |
0,71 |
1,22 |
1,81 |
2,54 |
2,97 |
|
|
|
|
|
|
|
|
|
|
|
|
|
|
|
230 |
0,74 |
1,27 |
1,88 |
2,64 |
3,09 |
|
|
|
|
|
|
|
|
|
|
|
|
|
|
|
240 |
0,78 |
1,32 |
1,95 |
2,74 |
3,21 |
|
|
|
|
|
|
|
|
|
|
|
|
|
|
|
250 |
0,81 |
1,37 |
2,02 |
2,84 |
3,33 |
3,79 |
4,68 |
5,30 |
|
|
|
|
|
|
|
|
|
|
|
|
260 |
0,84 |
1,42 |
2,09 |
2,94 |
3,45 |
3,92 |
4,84 |
5,47 |
|
|
|
|
|
|
|
|
|
|
|
|
270 |
0,87 |
1,48 |
2,16 |
3,04 |
3,57 |
4,05 |
5,00 |
5,64 |
|
|
|
|
|
|
|
|
|
|
|
|
280 |
0,90 |
1,53 |
2,23 |
3,14 |
3,69 |
4,18 |
5,16 |
5,81 |
|
|
|
|
|
|
|
|
|
|
|
|
290 |
0,93 |
1,58 |
2,30 |
3,24 |
3,81 |
4,31 |
5,32 |
5,98 |
|
|
|
|
|
|
|
|
|
|
|
|
300 |
0,96 |
1,63 |
2,37 |
3,34 |
3,93 |
4,44 |
5,48 |
6,15 |
|
|
|
|
|
|
|
|
|
|
|
|
310 |
0,99 |
1,68 |
2,46 |
3,44 |
4,05 |
4,57 |
5,64 |
6,32 |
|
|
|
|
|
|
|
|
|
|
|
|
320 |
1,02 |
1,73 |
2,53 |
3,54 |
4,17 |
4,70 |
5,80 |
6,49 |
|
|
|
|
|
|
|
|
|
|
|
|
330 |
1,05 |
1,78 |
2,60 |
3,64 |
4,29 |
4,83 |
5,96 |
6,66 |
7,59 |
|
|
|
|
|
|
|
|
|
|
|
340 |
|
1,83 |
2,67 |
3,74 |
4,41 |
4,96 |
6,12 |
6,83 |
7,78 |
9,55 |
10,24 |
|
|
|
|
|
|
|
|
|
350 |
|
1,88 |
2,74 |
3,79 |
4,53 |
5,09 |
6,28 |
7,00 |
7,97 |
9,81 |
10,52 |
11,83 |
|
|
|
|
|
|
|
|
360 |
|
1,93 |
2,81 |
3,84 |
4,65 |
5,22 |
6,44 |
7,17 |
8,16 |
10,07 |
10,80 |
12,13 |
15,83 |
|
|
|
|
|
|
|
370 |
|
1,98 |
2,88 |
3,94 |
4,77 |
5,35 |
6,60 |
7,34 |
8,35 |
10,33 |
11,08 |
12,45 |
16,24 |
|
|
|
|
|
|
|
380 |
|
2,03 |
2,95 |
4,04 |
4,89 |
5,48 |
6,76 |
7,51 |
8,54 |
10,59 |
11,36 |
12,75 |
16,65 |
|
|
|
|
|
|
|
390 |
|
2,08 |
3,02 |
4,14 |
4,93 |
5,61 |
6,92 |
7,68 |
8,73 |
10,85 |
11,64 |
13,07 |
17,06 |
|
|
|
|
|
|
|
400 |
|
2,13 |
3,09 |
4,24 |
5,01 |
5,74 |
7,08 |
7,85 |
8,92 |
11,11 |
11,92 |
13,37 |
17,47 |
|
|
|
|
|
|
|
410 |
|
2,18 |
3,16 |
4,34 |
5,13 |
5,87 |
7,24 |
8,02 |
9,11 |
11,37 |
12,20 |
13,69 |
17,88 |
|
|
|
|
|
|
|
420 |
|
|
|
4,44 |
5,25 |
6,00 |
7,40 |
8,19 |
9,30 |
11,63 |
12,48 |
13,99 |
18,29 |
|
|
|
|
|
|
|
430 |
|
|
|
4,54 |
5,37 |
6,17 |
7,56 |
8,36 |
9,49 |
11,89 |
12,76 |
14,31 |
18,70 |
|
|
|
|
|
|
|
440 |
|
|
|
4,65 |
5,49 |
6,30 |
7,72 |
8,53 |
9,68 |
12,15 |
13,04 |
14,61 |
19,11 |
|
|
|
|
|
|
|
450 |
|
|
|
|
5,61 |
6,43 |
7,88 |
8,70 |
9,87 |
12,41 |
13,32 |
14,93 |
19,52 |
24,52 |
|
|
|
|
|
|
460 |
|
|
|
|
5,73 |
6,56 |
8,04 |
8,87 |
10,06 |
12,67 |
13,60 |
15,23 |
19,92 |
25,04 |
30,91 |
|
|
|
|
|
470 |
|
|
|
|
5,85 |
6,69 |
8,25 |
9,04 |
10,25 |
12,93 |
13,88 |
15,55 |
20,33 |
25,56 |
31,55 |
|
|
|
|
|
480 |
|
|
|
|
5,97 |
6,82 |
8,41 |
9,21 |
10,44 |
13,19 |
14,16 |
15,85 |
20,74 |
26,08 |
32,19 |
|
|
|
|
|
490 |
|
|
|
|
6,09 |
6,95 |
8,57 |
9,38 |
10,63 |
13,45 |
14,44 |
16,17 |
21,15 |
26,60 |
32,83 |
|
|
|
|
|
500 |
|
|
|
|
6,21 |
7,08 |
8,73 |
9,55 |
10,82 |
13,71 |
14,72 |
16,47 |
21,56 |
27,12 |
33,47 |
38,17 |
41,73 |
|
|
|
510 |
|
|
|
|
|
7,21 |
8,89 |
9,79 |
11,01 |
13,97 |
15,00 |
16,79 |
21,97 |
27,64 |
34,11 |
38,91 |
42,53 |
|
|
|
520 |
|
|
|
|
|
7,34 |
9,05 |
9,97 |
11,20 |
14,23 |
15,28 |
17,09 |
22,68 |
28,16 |
34,75 |
39,63 |
43,33 |
|
|
|
530 |
|
|
|
|
|
|
9,21 |
10,13 |
11,39 |
14,49 |
15,56 |
17,41 |
22,79 |
28,68 |
35,39 |
40,37 |
44,13 |
|
|
|
540 |
|
|
|
|
|
|
9,37 |
10,31 |
11,58 |
14,75 |
15,84 |
17,71 |
23,20 |
29,20 |
36,03 |
41,09 |
44,93 |
|
|
|
550 |
|
|
|
|
|
|
9,53 |
10,47 |
11,89 |
15,01 |
16,12 |
18,03 |
23,61 |
29,72 |
36,67 |
41,83 |
45,73 |
|
|
|
560 |
|
|
|
|
|
|
|
10,65 |
12,08 |
15,27 |
16,40 |
18,33 |
24,02 |
30,24 |
37,31 |
42,55 |
46,53 |
|
|
|
570 |
|
|
|
|
|
|
|
10,81 |
12,27 |
15,53 |
16,68 |
18,65 |
24,43 |
30,76 |
37,95 |
43,29 |
47,33 |
|
|
|
580 |
|
|
|
|
|
|
|
10,99 |
12,46 |
15,79 |
17,31 |
18,95 |
24,84 |
31,28 |
38,59 |
44,01 |
48,13 |
|
|
|
590 |
|
|
|
|
|
|
|
11,15 |
12,65 |
16,11 |
17,59 |
19,35 |
25,25 |
31,80 |
39,23 |
44,75 |
48,93 |
|
|
|
600 |
|
|
|
|
|
|
|
11,33 |
12,84 |
16,37 |
17,87 |
19,65 |
25,75 |
32,40 |
39,87 |
45,47 |
49,73 |
64,40 |
86,62 |
|
610 |
|
|
|
|
|
|
|
|
13,03 |
16,63 |
18,15 |
19,97 |
26,16 |
32,92 |
40,61 |
46,21 |
50,53 |
65,44 |
88,01 |
|
620 |
|
|
|
|
|
|
|
|
13,22 |
16,89 |
18,43 |
20,27 |
26,57 |
33,44 |
41,25 |
46,93 |
51,33 |
66,48 |
89,40 |
|
630 |
|
|
|
|
|
|
|
|
13,41 |
17,15 |
18,71 |
20,59 |
26,98 |
33,96 |
41,89 |
47,67 |
52,13 |
67,52 |
90,79 |
|
640 |
|
|
|
|
|
|
|
|
13,60 |
17,41 |
18,99 |
20,89 |
27,39 |
34,48 |
42,53 |
48,39 |
52,93 |
68,56 |
92,18 |
|
650 |
|
|
|
|
|
|
|
|
13,79 |
17,67 |
19,27 |
21,21 |
27,80 |
35,00 |
43,17 |
49,13 |
53,73 |
69,60 |
93,57 |
|
660 |
|
|
|
|
|
|
|
|
|
17,93 |
19,55 |
21,51 |
28,21 |
35,52 |
43,81 |
49,85 |
54,53 |
70,64 |
94,96 |
|
670 |
|
|
|
|
|
|
|
|
|
18,19 |
19,83 |
21,83 |
28,62 |
36,04 |
44,45 |
50,59 |
55,33 |
71,68 |
96,35 |
|
680 |
|
|
|
|
|
|
|
|
|
18,45 |
20,11 |
22,13 |
29,03 |
36,56 |
45,09 |
51,31 |
56,13 |
72,71 |
97,74 |
|
690 |
|
|
|
|
|
|
|
|
|
18,71 |
20,39 |
22,45 |
29,44 |
37,08 |
45,73 |
52,05 |
56,93 |
73,76 |
99,13 |
|
700 |
|
|
|
|
|
|
|
|
|
18,97 |
20,67 |
22,75 |
29,85 |
37,60 |
46,37 |
52,77 |
57,73 |
74,80 |
100,52 |
|
710 |
|
|
|
|
|
|
|
|
|
|
|
|
30,26 |
38,12 |
47,01 |
53,51 |
58,53 |
75,84 |
101,91 |
|
720 |
|
|
|
|
|
|
|
|
|
|
|
|
30,67 |
38,64 |
47,65 |
54,23 |
59,33 |
76,88 |
103,30 |
|
730 |
|
|
|
|
|
|
|
|
|
|
|
|
31,08 |
39,16 |
48,29 |
54,97 |
60,13 |
77,92 |
104,69 |
|
740 |
|
|
|
|
|
|
|
|
|
|
|
|
31,49 |
39,68 |
48,93 |
55,69 |
60,93 |
78,96 |
106,08 |
|
750 |
|
|
|
|
|
|
|
|
|
|
|
|
31,90 |
40,20 |
49,57 |
56,43 |
61,73 |
80,00 |
107,47 |
Приложение 8 справочное. (Исключено, Изм. № 2).