
ГОСУДАРСТВЕННЫЙ СТАНДАРТ СОЮЗА ССР
ФЛАНЦЫ АРМАТУРЫ,
СОЕДИНИТЕЛЬНЫХ ЧАСТЕЙ И ТРУБОПРОВОДОВ
НА Ру от 0,1 до 20,0 МПа (от 1 до 200 кгс/см2)
ТИПЫ. ПРИСОЕДИНИТЕЛЬНЫЕ РАЗМЕРЫ И РАЗМЕРЫ УПЛОТНИТЕЛЬНЫХ ПОВЕРХНОСТЕЙ
ГОСТ 12815-80
(СТ СЭВ 3249-81, СТ СЭВ 3250-81, СТ СЭВ 3251-81)
ГОСУДАРСТВЕННЫЙ КОМИТЕТ СССР ПО УПРАВЛЕНИЮ КАЧЕСТВОМ ПРОДУКЦИИ И СТАНДАРТАМ
Москва
ГОСУДАРСТВЕННЫЙ СТАНДАРТ СОЮЗА ССР
|
ФЛАНЦЫ АРМАТУРЫ, СОЕДИНИТЕЛЬНЫХ Типы. Присоединительные размеры Flanges for valves,
fittings, and pipelines for |
ГОСТ (СТ СЭВ 3249-81, |
Срок действия с 01.01.83
до 01.01.93
1. Настоящий стандарт распространяется на фланцы трубопроводов и соединительных частей, а также на присоединительные фланцы арматуры, машин, приборов, патрубков, аппаратов и резервуаров на условное давление Pу от 0,1 до 20,0 МПа (от 1 до 200 кгс/см2) и температуру среды от 20 до 873 К (от минус 253 до плюс 600 °С) и на фланцы с прокладками из фторопласта-4 на условное давление Pу от 0,1 до 20,0 МПа (от 1 до 200 кгс/см2) и температуру среды от 73 до 473 К (от минус 200 до плюс 200 °С).
Стандарт не распространяется на фланцы трубопроводов транспортных машин, если эти фланцы не предназначены для присоединения арматуры или приборов общего назначения, а также фланцы стандартизованные ГОСТ 1536-76 и ГОСТ 4433-76.
Требования пп. 1 - 3; 5; 6; 10 - 12 настоящего стандарта являются обязательными, остальные требования - рекомендуемыми.
(Измененная редакция, Изм. № 2, 3).
(Измененная редакция, Изм. № 5).
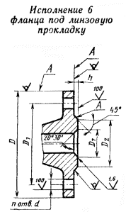
2. Типы и основные параметры фланцев должны соответствовать указанным в табл. 1, присоединительные размеры, размеры и исполнения уплотнительных поверхностей - указанным на черт. 1 - 6 и в табл. 2 - 11, кроме размеров уплотнительных поверхностей щип-паз под фторопластовые прокладки, которые должны соответствовать указанным на черт. 6 и в табл. 12.
(Измененная редакция, Изм. № 5).
|
Тип фланца |
Условное давление Py, МПа (кгс/см2) |
Уловный проход Dy, мм |
|
Литые из серого чугуна по ГОСТ 12817-80 |
0,1; 0,25 (1; 2,5) |
15 - 3000 |
|
0,6 (6) |
15 - 2400 |
|
|
1,0 (10) |
15 - 2000 |
|
|
1,6 (16) |
15 - 1000 |
|
|
Литые из ковкого чугуна по ГОСТ 12818-80 |
1,6; 2,5; 4,0 (16; 25; 40) |
15 - 80 |
|
Литые стальные по ГОСТ 12819-80 |
1,6 (16) |
15 - 1600 |
|
2,5 (25) |
15 - 1400 |
|
|
4,0 (40) |
15 - 800 |
|
|
6,3 (63) |
15 - 600 |
|
|
10 (100) |
15 - 400 |
|
|
16 (160) |
15 - 300 |
|
|
20 (200) |
15 - 250 |
|
|
Стальные плоские приварные по ГОСТ 12820-80 |
0,1; 0,25 (1; 2,5) |
10 - 2400 |
|
0,6 (6) |
10 - 1600 |
|
|
1,0 (10) |
10 - 1600 |
|
|
1,6 (16) |
10 - 1200 |
|
|
2,5 (25) |
10 - 800 |
|
|
Стальные приварные встык по ГОСТ 12821-80 |
0,1; 0,25; 0,6 (1; 2,5; 6) |
10 - 1600 |
|
1,0; 1,6; 2,5; 4,0 (10; 16; 25; 40) |
10 - 1200 |
|
|
6,3 (63) |
10 - 400; 500 - 1200 |
|
|
10 (100) |
10 - 400 |
|
|
16 (160) |
15 - 300 |
|
|
20 (200) |
15 - 250 |
|
|
Стальные свободные на приварном кольце по ГОСТ 12822-80 |
0,1; 0,25; 0,6; 1,0; 1,6; 2,5 (1; 2,5; 6; 10; 16; 25) |
10 - 500 |
Черт. 1.

Черт. 2.

Черт. 3.

Черт. 4.

Черт. 5.
Черт. 6.
1. Допускается обработка поверхностей А с шероховатостью Ra £ 100 мкм.
2. Допускается обработка поверхности Б с шероховатостью Ra £ 25 мкм при кругообразном направлении неровностей.
3. Допускается вместо Ð 45° выполнять округление.
Py 0,1 и 0,25 МПа (1,0 и 2,5 кгс/см2)
Размеры, мм
|
Проход условный Dy |
D |
D1 |
D2 |
D3 |
D4 |
D5 |
D6 |
d |
n |
h |
h1 |
h2 |
B |
Номинальный диаметр болтов или шпилек |
|||||||||
|
Ряд 1 |
Ряд 2 |
Ряд 1 |
Ряд 2 |
Ряд 1 |
Ряд 2 |
Ряд 1 |
Ряд 2 |
Ряд 1 |
Ряд 2 |
Ряд 1 |
Ряд 2 |
Ряд 1 |
Ряд 2 |
Ряд 1 |
Ряд 2 |
Ряд 1 |
Ряд 2 |
||||||
|
10 |
75 |
50 |
35 |
20 |
19 |
30 |
29 |
19 |
18 |
31 |
30 |
11 |
11 |
4 |
4 |
2 |
4 |
4 |
3 |
3 |
60 |
М10 |
М10 |
|
15 |
80 |
55 |
40 |
25 |
23 |
35 |
33 |
24 |
22 |
36 |
34 |
65 |
|||||||||||
|
20 |
90 |
65 |
50 |
32 |
33 |
46 |
43 |
31 |
32 |
47 |
44 |
70 |
|||||||||||
|
25 |
100 |
75 |
60 |
39 |
41 |
53 |
51 |
38 |
40 |
54 |
52 |
75 |
|||||||||||
|
32 |
120 |
90 |
70 |
49 |
49 |
63 |
59 |
48 |
48 |
64 |
60 |
14 |
14 |
95 |
М12 |
М12 |
|||||||
|
40 |
130 |
100 |
80 |
56 |
55 |
70 |
69 |
55 |
54 |
71 |
70 |
3 |
100 |
||||||||||
|
50 |
140 |
110 |
90 |
69 |
66 |
83 |
80 |
68 |
65 |
84 |
81 |
110 |
|||||||||||
|
65 |
160 |
130 |
110 |
89 |
86 |
103 |
100 |
88 |
85 |
104 |
101 |
125 |
|||||||||||
|
80 |
185 |
150 |
128 |
103 |
101 |
17 |
115 |
102 |
100 |
118 |
116 |
18 |
18 |
140 |
М16 |
М16 |
|||||||
|
100 |
205 |
170 |
148 |
123 |
117 |
143 |
137 |
122 |
116 |
144 |
138 |
4,5 |
3,5 |
155 |
|||||||||
|
125 |
235 |
200 |
178 |
149 |
146 |
169 |
166 |
148 |
145 |
170 |
167 |
8 |
8 |
- |
|||||||||
|
150 |
260 |
225 |
202 |
176 |
171 |
196 |
191 |
175 |
170 |
197 |
192 |
||||||||||||
|
(175) |
290 |
255 |
232 |
206 |
203 |
226 |
223 |
205 |
202 |
227 |
224 |
||||||||||||
|
200 |
315 |
280 |
258 |
231 |
229 |
251 |
249 |
230 |
228 |
252 |
250 |
||||||||||||
|
(225) |
340 |
305 |
282 |
256 |
256 |
276 |
276 |
255 |
255 |
277 |
277 |
||||||||||||
|
250 |
370 |
335 |
312 |
286 |
283 |
306 |
303 |
285 |
282 |
307 |
304 |
12 |
12 |
||||||||||
|
300 |
435 |
395 |
365 |
336 |
336 |
356 |
356 |
335 |
335 |
357 |
357 |
22 |
22 |
4 |
5 |
4 |
М20 |
М20 |
|||||
|
350 |
485 |
445 |
415 |
381 |
386 |
407 |
406 |
380 |
385 |
408 |
407 |
5 |
4 |
||||||||||
|
400 |
535 |
495 |
465 |
431 |
436 |
457 |
456 |
430 |
435 |
458 |
457 |
16 |
16 |
||||||||||
|
(450) |
590 |
550 |
520 |
481 |
489 |
507 |
509 |
480 |
488 |
508 |
510 |
||||||||||||
|
500 |
640 |
600 |
570 |
531 |
541 |
557 |
561 |
530 |
540 |
558 |
562 |
20 |
|||||||||||
|
600 |
755 |
705 |
670 |
531 |
635 |
657 |
661 |
630 |
634 |
658 |
662 |
26 |
26 |
20 |
5 |
6 |
5 |
М24 |
М24 |
||||
|
(700) |
860 |
810 |
775 |
736 |
737 |
762 |
763 |
735 |
736 |
763 |
764 |
24 |
24 |
||||||||||
|
800 |
975 |
920 |
880 |
841 |
841 |
867 |
867 |
840 |
840 |
868 |
868 |
30 |
30 |
М27 |
М27 |
||||||||
|
(900) |
1075 |
1020 |
980 |
- |
- |
- |
- |
- |
- |
- |
- |
- |
- |
- |
- |
||||||||
|
1000 |
1175 |
1120 |
1080 |
28 |
28 |
||||||||||||||||||
|
1200 |
1375 |
1320 |
1280 |
32 |
32 |
||||||||||||||||||
|
1400 |
1575 |
1520 |
1480 |
36 |
36 |
||||||||||||||||||
|
1600 |
1785 |
1730 |
1690 |
40 |
40 |
||||||||||||||||||
|
(1800) |
1985 |
1930 |
1890 |
44 |
44 |
||||||||||||||||||
|
2000 |
2190 |
2130 |
2090 |
48 |
48 |
||||||||||||||||||
|
(2200) |
2405 |
2340 |
2295 |
33 |
33 |
52 |
52 |
6 |
М30 |
М30 |
|||||||||||||
|
2400 |
2605 |
2540 |
2495 |
56 |
56 |
||||||||||||||||||
|
(2600) |
2805 |
2740 |
2695 |
60 |
60 |
||||||||||||||||||
|
(2800) |
3035 |
2960 |
2910 |
36 |
39 |
64 |
64 |
М33 |
М36 |
||||||||||||||
|
3000 |
3240 |
3160 |
3110 |
68 |
68 |
||||||||||||||||||
(Поправка. ИУС 11-2005 г.)
Таблица 3
Py 0,6 МПа (6 кгс/см2)
Размеры, мм
|
Проход условный Dy |
D |
D1 |
D2 |
D3 |
D4 |
D5 |
D6 |
d |
n |
h |
h1 |
h2 |
B |
Номинальный диаметр болтов или шпилек |
|||||||||
|
Ряд 1 |
Ряд 2 |
Ряд 1 |
Ряд 2 |
Ряд 1 |
Ряд 2 |
Ряд 1 |
Ряд 2 |
Ряд 1 |
Ряд 2 |
Ряд 1 |
Ряд 2 |
Ряд 1 |
Ряд 2 |
Ряд 1 |
Ряд 2 |
Ряд 1 |
Ряд 2 |
||||||
|
10 |
75 |
50 |
35 |
20 |
19 |
30 |
29 |
19 |
18 |
31 |
30 |
11 |
11 |
4 |
4 |
2 |
4 |
4 |
3 |
3 |
60 |
М10 |
М10 |
|
15 |
80 |
55 |
40 |
25 |
23 |
35 |
33 |
24 |
22 |
36 |
34 |
65 |
|||||||||||
|
20 |
90 |
65 |
50 |
32 |
33 |
46 |
43 |
31 |
32 |
47 |
44 |
70 |
|||||||||||
|
25 |
100 |
75 |
60 |
39 |
41 |
53 |
51 |
38 |
40 |
54 |
52 |
75 |
|||||||||||
|
32 |
120 |
90 |
70 |
49 |
49 |
63 |
59 |
48 |
48 |
64 |
60 |
14 |
14 |
95 |
М12 |
М12 |
|||||||
|
40 |
130 |
100 |
80 |
56 |
55 |
70 |
69 |
55 |
54 |
71 |
70 |
3 |
100 |
||||||||||
|
50 |
140 |
110 |
90 |
69 |
66 |
83 |
80 |
68 |
65 |
84 |
81 |
110 |
|||||||||||
|
65 |
160 |
130 |
110 |
89 |
86 |
103 |
100 |
88 |
85 |
104 |
101 |
125 |
|||||||||||
|
80 |
185 |
150 |
128 |
103 |
101 |
117 |
115 |
102 |
100 |
118 |
116 |
18 |
18 |
140 |
М16 |
М16 |
|||||||
|
100 |
205 |
170 |
148 |
123 |
117 |
143 |
137 |
122 |
116 |
144 |
138 |
4,5 |
3,5 |
155 |
|||||||||
|
125 |
235 |
200 |
178 |
149 |
146 |
169 |
166 |
148 |
145 |
170 |
167 |
8 |
8 |
- |
|||||||||
|
150 |
260 |
225 |
202 |
176 |
171 |
196 |
191 |
175 |
170 |
197 |
192 |
||||||||||||
|
(175) |
290 |
255 |
232 |
206 |
203 |
226 |
223 |
205 |
202 |
227 |
224 |
||||||||||||
|
200 |
315 |
280 |
258 |
231 |
229 |
251 |
249 |
230 |
228 |
252 |
250 |
||||||||||||
|
(225) |
340 |
305 |
282 |
256 |
256 |
276 |
276 |
255 |
255 |
277 |
277 |
||||||||||||
|
250 |
370 |
335 |
312 |
286 |
283 |
306 |
303 |
285 |
282 |
307 |
304 |
12 |
12 |
||||||||||
|
300 |
435 |
395 |
365 |
336 |
336 |
356 |
356 |
335 |
335 |
357 |
357 |
22 |
22 |
4 |
5 |
4 |
М20 |
М20 |
|||||
|
350 |
485 |
445 |
415 |
381 |
386 |
407 |
406 |
380 |
385 |
408 |
407 |
5 |
4 |
||||||||||
|
400 |
535 |
495 |
465 |
431 |
436 |
457 |
456 |
430 |
435 |
458 |
457 |
16 |
16 |
||||||||||
|
(450) |
590 |
550 |
520 |
481 |
489 |
507 |
509 |
480 |
488 |
508 |
510 |
||||||||||||
|
500 |
640 |
600 |
570 |
531 |
541 |
557 |
561 |
53U |
540 |
558 |
562 |
20 |
|||||||||||
|
600 |
755 |
705 |
670 |
631 |
635 |
657 |
661 |
630 |
634 |
658 |
662 |
26 |
26 |
20 |
5 |
6 |
5 |
М24 |
М24 |
||||
|
(700) |
860 |
810 |
775 |
736 |
737 |
762 |
763 |
735 |
73iS |
763 |
764 |
24 |
24 |
||||||||||
|
800 |
975 |
920 |
880 |
841 |
841 |
867 |
867 |
840 |
840 |
868 |
868 |
30 |
30 |
М27 |
М27 |
||||||||
|
(900) |
1075 |
1020 |
980 |
- |
- |
- |
- |
- |
- |
- |
- |
- |
- |
- |
- |
||||||||
|
1000 |
1175 |
1120 |
1080 |
28 |
28 |
||||||||||||||||||
|
1200 |
1400 |
1340 |
1295 |
33 |
33 |
32 |
32 |
М30 |
М30 |
||||||||||||||
|
1400 |
1620 |
1560 |
1510 |
36 |
36 |
36 |
М33 |
||||||||||||||||
|
1600 |
1820 |
1760 |
1710 |
40 |
40 |
||||||||||||||||||
|
(1800) |
2045 |
1970 |
1920 |
39 |
39 |
44 |
44 |
М36 |
М36 |
||||||||||||||
|
2000 |
2265 |
2180 |
2125 |
42 |
45 |
48 |
48 |
М39 |
М42 |
||||||||||||||
|
(2200) |
2475 |
2390 |
2335 |
52 |
52 |
6 |
|||||||||||||||||
|
2400 |
2685 |
2600 |
2545 |
56 |
56 |
||||||||||||||||||
(Поправка. ИУС 11-2005 г.)
Таблица 4
Py 1,0 МПа (10 кгс/см2)
Размеры, мм
|
Проход условный Dy |
D |
D1 |
D2 |
D3 |
D4 |
D5 |
D6 |
d |
n |
h |
h1 |
h2 |
B |
Номинальный диаметр болтов или шпилек |
|||||||||
|
Ряд 1 |
Ряд 2 |
Ряд 1 |
Ряд 2 |
Ряд 1 |
Ряд 2 |
Ряд 1 |
Ряд 2 |
Ряд 1 |
Ряд 2 |
Ряд 1 |
Ряд 2 |
Ряд 1 |
Ряд 2 |
Ряд 1 |
Ряд 2 |
Ряд 1 |
Ряд 2 |
||||||
|
10 |
90 |
60 |
42 |
24 |
34 |
23 |
35 |
14 |
14 |
4 |
4 |
2 |
4 |
4 |
3 |
3 |
70 |
М12 |
М12 |
||||
|
15 |
95 |
65 |
47 |
29 |
39 |
28 |
40 |
75 |
|||||||||||||||
|
20 |
105 |
75 |
58 |
36 |
50 |
35 |
51 |
80 |
|||||||||||||||
|
25 |
115 |
85 |
68 |
43 |
57 |
42 |
58 |
90 |
|||||||||||||||
|
32 |
135 |
100 |
78 |
51 |
65 |
50 |
66 |
18 |
18 |
105 |
М16 |
М16 |
|||||||||||
|
40 |
145 |
110 |
88 |
61 |
75 |
60 |
76 |
3 |
110 |
||||||||||||||
|
50 |
160 |
125 |
102 |
73 |
87 |
72 |
88 |
125 |
|||||||||||||||
|
65 |
180 |
145 |
122 |
95 |
109 |
94 |
110 |
140 |
|||||||||||||||
|
80 |
195 |
160 |
133 |
106 |
120 |
105 |
121 |
8 |
150 |
||||||||||||||
|
100 |
215 |
180 |
158 |
129 |
149 |
128 |
150 |
8 |
4,5 |
3,5 |
- |
||||||||||||
|
125 |
245 |
210 |
184 |
155 |
175 |
154 |
176 |
||||||||||||||||
|
150 |
280 |
240 |
212 |
183 |
203 |
182 |
204 |
22 |
22 |
М20 |
М20 |
||||||||||||
|
(175) |
310 |
270 |
242 |
213 |
233 |
212 |
234 |
||||||||||||||||
|
200 |
335 |
295 |
268 |
239 |
259 |
238 |
260 |
||||||||||||||||
|
(225) |
365 |
325 |
295 |
266 |
286 |
265 |
287 |
||||||||||||||||
|
250 |
390 |
350 |
320 |
292 |
312 |
291 |
313 |
12 |
12 |
||||||||||||||
|
300 |
440 |
400 |
370 |
343 |
363 |
342 |
364 |
4 |
5 |
4 |
|||||||||||||
|
350 |
500 |
460 |
430 |
395 |
421 |
394 |
422 |
16 |
16 |
5 |
4 |
||||||||||||
|
400 |
565 |
515 |
482 |
447 |
473 |
446 |
474 |
26 |
26 |
М24 |
М24 |
||||||||||||
|
(450) |
615 |
565 |
532 |
497 |
523 |
496 |
524 |
20 |
20 |
||||||||||||||
|
500 |
670 |
620 |
585 |
549 |
575 |
548 |
576 |
||||||||||||||||
|
600 |
780 |
725 |
685 |
649 |
651 |
675 |
677 |
648 |
650 |
676 |
678 |
30 |
30 |
5 |
6 |
5 |
М27 |
М27 |
|||||
|
(700) |
895 |
840 |
800 |
751 |
751 |
777 |
777 |
750 |
750 |
778 |
778 |
24 |
24 |
||||||||||
|
800 |
1010 |
950 |
905 |
856 |
851 |
882 |
877 |
855 |
850 |
883 |
878 |
33 |
33 |
М30 |
М30 |
||||||||
|
(900) |
1110 |
1050 |
1005 |
- |
- |
- |
- |
- |
- |
- |
- |
28 |
28 |
- |
- |
- |
- |
||||||
|
1000 |
1220 |
1160 |
1110 |
36 |
М33 |
М30 |
|||||||||||||||||
|
1200 |
1455 |
1380 |
1330 |
39 |
39 |
32 |
32 |
М36 |
М36 |
||||||||||||||
|
1400 |
1675 |
1590 |
1530 |
42 |
45 |
36 |
36 |
М39 |
М42 |
||||||||||||||
|
1600 |
1915 |
1820 |
1750 |
48 |
52 |
40 |
40 |
М45 |
М48 |
||||||||||||||
|
(1800) |
2115 |
2020 |
1950 |
44 |
44 |
||||||||||||||||||
|
2000 |
2325 |
2230 |
2150 |
48 |
48 |
||||||||||||||||||
Таблица 5
Py 1,6 МПа (16 кгс/см2)
Размеры, мм
|
Проход условный Dy |
D |
D1 |
D2 |
D3 |
D4 |
D5 |
D6 |
d |
n |
h |
h1 |
h2 |
B |
Номинальный диаметр болтов или шпилек |
|||||||||
|
Ряд 1 |
Ряд 2 |
Ряд 1 |
Ряд 2 |
Ряд 1 |
Ряд 2 |
Ряд 1 |
Ряд 2 |
Ряд 1 |
Ряд 2 |
Ряд 1 |
Ряд 2 |
Ряд 1 |
Ряд 2 |
Ряд 1 |
Ряд 2 |
Ряд 1 |
Ряд 2 |
||||||
|
10 |
90 |
60 |
42 |
24 |
34 |
23 |
35 |
14 |
14 |
4 |
4 |
2 |
4 |
4 |
3 |
3 |
70 |
М12 |
М12 |
||||
|
15 |
95 |
65 |
47 |
29 |
39 |
28 |
40 |
75 |
|||||||||||||||
|
20 |
105 |
75 |
58 |
36 |
50 |
35 |
51 |
80 |
|||||||||||||||
|
25 |
115 |
85 |
68 |
43 |
57 |
42 |
58 |
90 |
|||||||||||||||
|
32 |
135 |
100 |
78 |
51 |
65 |
50 |
66 |
18 |
18 |
105 |
М16 |
М16 |
|||||||||||
|
40 |
145 |
110 |
88 |
61 |
75 |
60 |
76 |
3 |
110 |
||||||||||||||
|
50 |
160 |
125 |
102 |
73 |
87 |
72 |
88 |
125 |
|||||||||||||||
|
65 |
180 |
145 |
122 |
95 |
109 |
94 |
110 |
140 |
|||||||||||||||
|
80 |
195 |
160 |
133 |
106 |
120 |
105 |
121 |
8 |
150 |
||||||||||||||
|
100 |
215 |
180 |
158 |
129 |
149 |
128 |
150 |
8 |
4,5 |
3,5 |
- |
||||||||||||
|
125 |
245 |
210 |
184 |
155 |
175 |
154 |
176 |
||||||||||||||||
|
150 |
280 |
240 |
212 |
183 |
203 |
182 |
204 |
22 |
22 |
М20 |
М20 |
||||||||||||
|
(175) |
310 |
270 |
242 |
213 |
233 |
212 |
234 |
||||||||||||||||
|
200 |
335 |
295 |
268 |
239 |
259 |
238 |
260 |
12 |
12 |
||||||||||||||
|
(225) |
365 |
325 |
295 |
266 |
286 |
265 |
287 |
||||||||||||||||
|
250 |
405 |
355 |
320 |
292 |
312 |
291 |
313 |
26 |
26 |
М24 |
М24 |
||||||||||||
|
300 |
460 |
410 |
370 |
343 |
363 |
342 |
364 |
4 |
5 |
4 |
|||||||||||||
|
350 |
520 |
470 |
430 |
395 |
421 |
394 |
422 |
16 |
16 |
5 |
4 |
||||||||||||
|
400 |
580 |
525 |
482 |
447 |
473 |
446 |
474 |
30 |
30 |
М27 |
М27 |
||||||||||||
|
(450) |
640 |
585 |
532 |
497 |
523 |
496 |
524 |
20 |
20 |
||||||||||||||
|
500 |
710 |
650 |
585 |
549 |
575 |
548 |
576 |
33 |
33 |
М30 |
М30 |
||||||||||||
|
600 |
840 |
770 |
685 |
649 |
651 |
675 |
677 |
648 |
650 |
676 |
678 |
36 |
39 |
5 |
6 |
5 |
М33 |
М36 |
|||||
|
(700) |
910 |
840 |
800 |
751 |
751 |
777 |
777 |
750 |
750 |
778 |
778 |
24 |
24 |
||||||||||
|
800 |
1020 |
950 |
905 |
856 |
851 |
882 |
877 |
855 |
850 |
883 |
878 |
39 |
М36 |
||||||||||
|
(900) |
1120 |
1050 |
1005 |
- |
- |
- |
- |
- |
- |
- |
- |
28 |
28 |
- |
- |
- |
- |
||||||
|
1000 |
1255 |
1170 |
1110 |
42 |
45 |
М39 |
М42 |
||||||||||||||||
|
1200 |
1485 |
1390 |
1330 |
48 |
52 |
32 |
32 |
М45 |
М48 |
||||||||||||||
|
1400 |
1685 |
1590 |
1530 |
36 |
36 |
||||||||||||||||||
|
1600 |
1925 |
1820 |
1750 |
56 |
56 |
40 |
40 |
М52 |
М52 |
||||||||||||||
Таблица 6
Py 2,5 МПа (25 кгс/см2)
Размеры, мм
|
Проход условный Dy |
D |
D1 |
D2 |
D3 |
D4 |
D5 |
D6 |
d |
n |
h |
h1 |
h2 |
B |
Номинальный диаметр болтов или шпилек |
||||||||
|
Ряд 1 |
Ряд 2 |
Ряд 1 |
Ряд 2 |
Ряд 1 |
Ряд 2 |
Ряд 1 |
Ряд 2 |
Ряд 1 |
Ряд 2 |
Ряд 1 |
Ряд 2 |
Ряд 1 |
Ряд 2 |
Ряд 1 |
Ряд 2 |
|||||||
|
10 |
90 |
60 |
42 |
24 |
34 |
23 |
35 |
14 |
14 |
4 |
2 |
4 |
4 |
3 |
3 |
70 |
М12 |
М12 |
||||
|
15 |
05 |
65 |
47 |
29 |
39 |
28 |
40 |
75 |
||||||||||||||
|
20 |
105 |
75 |
58 |
36 |
50 |
35 |
51 |
80 |
||||||||||||||
|
25 |
115 |
85 |
68 |
43 |
57 |
42 |
58 |
90 |
||||||||||||||
|
32 |
135 |
100 |
78 |
51 |
65 |
50 |
66 |
18 |
18 |
105 |
М16 |
М16 |
||||||||||
|
40 |
115 |
110 |
88 |
61 |
75 |
60 |
76 |
3 |
110 |
|||||||||||||
|
50 |
160 |
125 |
102 |
73 |
87 |
72 |
88 |
125 |
||||||||||||||
|
65 |
180 |
145 |
122 |
95 |
109 |
94 |
110 |
8 |
- |
|||||||||||||
|
80 |
195 |
160 |
133 |
106 |
120 |
105 |
121 |
|||||||||||||||
|
100 |
230 |
190 |
158 |
129 |
149 |
128 |
150 |
22 |
22 |
4,5 |
3,5 |
М20 |
М20 |
|||||||||
|
125 |
270 |
220 |
184 |
155 |
175 |
154 |
176 |
26 |
26 |
М24 |
М24 |
|||||||||||
|
150 |
300 |
250 |
212 |
183 |
203 |
182 |
204 |
|||||||||||||||
|
(175) |
33C |
280 |
242 |
213 |
233 |
212 |
234 |
12 |
||||||||||||||
|
200 |
360 |
310 |
278 |
239 |
259 |
238 |
260 |
|||||||||||||||
|
(225) |
395 |
340 |
305 |
266 |
286 |
265 |
287 |
30 |
30 |
М27 |
М27 |
|||||||||||
|
250 |
425 |
370 |
335 |
292 |
312 |
291 |
313 |
|||||||||||||||
|
300 |
485 |
430 |
390 |
343 |
363 |
312 |
364 |
16 |
4 |
5 |
4 |
|||||||||||
|
350 |
550 |
490 |
450 |
395 |
421 |
394 |
422 |
33 |
33 |
5 |
4 |
М30 |
М30 |
|||||||||
|
400 |
610 |
550 |
505 |
447 |
473 |
446 |
474 |
36 |
М33 |
|||||||||||||
|
(450) |
660 |
600 |
555 |
497 |
523 |
496 |
524 |
20 |
||||||||||||||
|
500 |
730 |
660 |
615 |
549 |
575 |
548 |
576 |
39 |
М36 |
|||||||||||||
|
600 |
840 |
770 |
720 |
649 |
651 |
575 |
377 |
648 |
550 |
676 |
678 |
39 |
5 |
6 |
5 |
М36 |
||||||
|
(700) |
960 |
875 |
820 |
751 |
751 |
777 |
777 |
750 |
750 |
778 |
778 |
42 |
45 |
24 |
М39 |
М42 |
||||||
|
800 |
1075 |
990 |
930 |
356 |
351 |
882 |
877 |
855 |
350 |
883 |
878 |
48 |
М45 |
|||||||||
|
(900) |
1185 |
1090 |
1030 |
- |
- |
- |
- |
- |
- |
- |
- |
52 |
28 |
- |
- |
- |
- |
М48 |
||||
|
1000 |
1315 |
1210 |
1140 |
56 |
56 |
М52 |
М52 |
|||||||||||||||
|
1200 |
1525 |
1420 |
1350 |
32 |
||||||||||||||||||
|
1400 |
1750 |
1640 |
1560 |
62 |
62 |
36 |
М56 |
М56 |
||||||||||||||
(Поправка. ИУС 4-2010 г.)
Таблица 7
Py 4,0 МПа (40 кгс/см2)
Размеры, мм
|
Проход условный Dy |
D |
D1 |
D2 |
D3 |
D4 |
D5 |
D6 |
d |
n |
h |
h1 |
h2 |
B |
Номинальный диаметр болтов или шпилек |
||||||||
|
Ряд 1 |
Ряд 2 |
Ряд 1 |
Ряд 2 |
Ряд 1 |
Ряд 2 |
Ряд 1 |
Ряд 2 |
Ряд 1 |
Ряд 2 |
Ряд 1 |
Ряд 2 |
Ряд 1 |
Ряд 2 |
Ряд 1 |
Ряд 2 |
|||||||
|
10 |
90 |
60 |
42 |
24 |
34 |
23 |
35 |
14 |
14 |
4 |
2 |
4 |
4 |
3 |
3 |
70 |
М12 |
М12 |
||||
|
15 |
95 |
65 |
47 |
29 |
39 |
28 |
40 |
75 |
||||||||||||||
|
20 |
105 |
75 |
58 |
36 |
50 |
35 |
51 |
80 |
||||||||||||||
|
25 |
115 |
85 |
68 |
43 |
57 |
42 |
58 |
90 |
||||||||||||||
|
32 |
135 |
100 |
78 |
51 |
65 |
50 |
66 |
18 |
18 |
105 |
М16 |
М16 |
||||||||||
|
40 |
145 |
110 |
88 |
61 |
75 |
60 |
76 |
3 |
110 |
|||||||||||||
|
50 |
160 |
125 |
102 |
73 |
87 |
72 |
88 |
125 |
||||||||||||||
|
65 |
180 |
145 |
122 |
95 |
109 |
94 |
110 |
8 |
- |
|||||||||||||
|
80 |
195 |
160 |
133 |
106 |
120 |
105 |
121 |
|||||||||||||||
|
100 |
230 |
190 |
158 |
129 |
149 |
128 |
150 |
22 |
22 |
4,5 |
3,5 |
М20 |
М20 |
|||||||||
|
125 |
270 |
220 |
184 |
155 |
175 |
154 |
176 |
26 |
26 |
М24 |
М24 |
|||||||||||
|
150 |
300 |
250 |
212 |
183 |
203 |
182 |
204 |
|||||||||||||||
|
(175) |
350 |
295 |
242 |
213 |
233 |
212 |
234 |
30 |
30 |
12 |
М27 |
М27 |
||||||||||
|
200 |
375 |
320 |
285 |
239 |
259 |
238 |
260 |
|||||||||||||||
|
(225) |
415 |
355 |
315 |
266 |
286 |
265 |
287 |
33 |
33 |
М30 |
М30 |
|||||||||||
|
250 |
445 |
385 |
345 |
292 |
312 |
291 |
313 |
|||||||||||||||
|
300 |
510 |
450 |
410 |
343 |
363 |
342 |
364 |
16 |
4 |
5 |
4 |
|||||||||||
|
350 |
570 |
510 |
465 |
395 |
421 |
394 |
422 |
36 |
5 |
4 |
М33 |
М30 |
||||||||||
|
400 |
655 |
585 |
535 |
447 |
473 |
446 |
474 |
39 |
39 |
М36 |
М36 |
|||||||||||
|
(450) |
680 |
610 |
560 |
497 |
523 |
496 |
524 |
20 |
||||||||||||||
|
500 |
755 |
670 |
615 |
549 |
575 |
548 |
576 |
42 |
45 |
М39 |
М42 |
|||||||||||
|
600 |
890 |
795 |
735 |
649 |
651 |
675 |
677 |
648 |
650 |
676 |
678 |
48 |
52 |
5 |
6 |
5 |
М45 |
М48 |
||||
|
(700) |
995 |
900 |
810 |
751 |
751 |
777 |
777 |
750 |
750 |
778 |
778 |
24 |
||||||||||
|
800 |
1135 |
1030 |
960 |
856 |
851 |
882 |
877 |
855 |
850 |
883 |
878 |
56 |
56 |
М52 |
М52 |
|||||||
|
(900) |
1250 |
1140 |
1070 |
- |
- |
- |
- |
- |
- |
- |
- |
28 |
- |
- |
- |
- |
||||||
|
1000 |
1360 |
1250 |
1180 |
|||||||||||||||||||
|
1200 |
1575 |
1460 |
1380 |
62 |
62 |
32 |
М56 |
М56 |
||||||||||||||
Таблица 8
Py 6,3 МПа (63 кгс/см2)
Размеры, мм
|
Проход условный Dy |
D |
D1 |
D2 |
D3 |
D4 |
D5 |
D6 |
D7 |
D8 |
D9 |
||||
|
Ряд 1 |
Ряд 2 |
Ряд 1 |
Ряд 2 |
Ряд 1 |
Ряд 2 |
Ряд 1 |
Ряд 2 |
|||||||
|
10 |
100 |
70 |
42 |
24 |
34 |
23 |
35 |
18 |
35 |
50 |
||||
|
15 |
105 |
75 |
47 |
29 |
39 |
28 |
40 |
24 |
55 |
|||||
|
20 |
125 |
90 |
58 |
36 |
50 |
35 |
51 |
30 |
45 |
58 |
||||
|
25 |
135 |
100 |
68 |
43 |
57 |
42 |
58 |
35 |
50 |
68 |
||||
|
32 |
150 |
110 |
78 |
51 |
65 |
50 |
66 |
42 |
65 |
78 |
||||
|
40 |
165 |
125 |
88 |
61 |
75 |
60 |
76 |
52 |
75 |
88 |
||||
|
50 |
175 |
135 |
102 |
73 |
87 |
72 |
88 |
63 |
85 |
102 |
||||
|
65 |
200 |
160 |
122 |
95 |
109 |
94 |
110 |
85 |
10 |
132 |
||||
|
80 |
210 |
170 |
133 |
106 |
120 |
105 |
121 |
97 |
115 |
133 |
||||
|
100 |
250 |
200 |
158 |
129 |
149 |
128 |
150 |
124 |
145 |
170 |
||||
|
125 |
295 |
240 |
184 |
155 |
175 |
154 |
176 |
153 |
175 |
205 |
||||
|
150 |
340 |
280 |
212 |
183 |
203 |
182 |
204 |
181 |
205 |
240 |
||||
|
(175) |
370 |
310 |
212 |
213 |
233 |
212 |
234 |
218 |
235 |
270 |
||||
|
200 |
405 |
345 |
285 |
239 |
259 |
238 |
260 |
243 |
265 |
285 |
||||
|
(225) |
430 |
370 |
315 |
266 |
286 |
265 |
287 |
270 |
280 |
315 |
||||
|
250 |
470 |
400 |
345 |
292 |
312 |
291 |
313 |
298 |
320 |
345 |
||||
|
300 |
530 |
460 |
410 |
343 |
363 |
342 |
364 |
345 |
375 |
410 |
||||
|
350 |
595 |
525 |
465 |
395 |
421 |
394 |
422 |
394 |
420 |
465 |
||||
|
400 |
670 |
585 |
535 |
447 |
473 |
446 |
474 |
445 |
480 |
535 |
||||
|
500 |
800 |
705 |
615 |
549 |
575 |
548 |
576 |
- |
- |
- |
||||
|
600 |
925 |
820 |
735 |
649 |
651 |
675 |
677 |
648 |
650 |
676 |
678 |
|||
|
(700) |
1045 |
935 |
840 |
- |
- |
- |
- |
|||||||
|
800 |
1165 |
1050 |
960 |
|||||||||||
|
(900) |
1285 |
1170 |
1070 |
|||||||||||
|
1000 |
1415 |
1290 |
1180 |
|||||||||||
|
1200 |
1665 |
1530 |
1380 |
|||||||||||
Продолжение табл. 8
|
Проход условный Dy |
d |
n |
h |
h1 |
h2 |
h3 |
b2 |
r |
Номинальный диаметр шпилек |
||||
|
Ряд 1 |
Ряд 2 |
Ряд 1 |
Ряд 2 |
Ряд 1 |
Ряд 2 |
Ряд 1 |
Ряд 2 |
||||||
|
10 |
14 |
14 |
4 |
2 |
4 |
4 |
3 |
3 |
6,5 |
9 |
2,8 |
М12 |
М12 |
|
15 |
|||||||||||||
|
20 |
18 |
18 |
М16 |
М16 |
|||||||||
|
25 |
|||||||||||||
|
32 |
22 |
22 |
М20 |
М20 |
|||||||||
|
40 |
3 |
||||||||||||
|
50 |
8,0 |
12 |
4,0 |
||||||||||
|
65 |
8 |
||||||||||||
|
80 |
|||||||||||||
|
100 |
26 |
26 |
4,5 |
3,5 |
М24 |
М24 |
|||||||
|
125 |
30 |
30 |
М27 |
М27 |
|||||||||
|
150 |
33 |
33 |
М30 |
М30 |
|||||||||
|
(175) |
12 |
||||||||||||
|
200 |
36 |
М33 |
|||||||||||
|
(225) |
|||||||||||||
|
250 |
39 |
М36 |
|||||||||||
|
300 |
16 |
4 |
5 |
4 |
|||||||||
|
350 |
39 |
39 |
5 |
4 |
М36 |
М36 |
|||||||
|
400 |
42 |
45 |
М39 |
М42 |
|||||||||
|
500 |
48 |
52 |
20 |
- |
- |
- |
М45 |
М48 |
|||||
|
600 |
56 |
56 |
5 |
6 |
5 |
М52 |
М52 |
||||||
|
(700) |
24 |
- |
- |
- |
- |
||||||||
|
800 |
62 |
62 |
М56 |
М56 |
|||||||||
|
(900) |
28 |
||||||||||||
|
1000 |
70 |
70 |
М64 |
М64 |
|||||||||
|
1200 |
78 |
78 |
32 |
М72 |
М72 |
||||||||
Таблица 9
Py 10 МПа (100 кгс/см2)
Размеры, мм
|
Проход условный Dy |
D |
D1 |
D2 |
D3 |
D4 |
D5 |
D6 |
D7 |
D8 |
D9 |
d |
n |
h |
h1 |
h2 |
h3 |
b2 |
r |
Номинальный диаметр шпилек |
||||
|
Ряд 1 |
Ряд 2 |
Ряд 1 |
Ряд 2 |
Ряд 1 |
Ряд 2 |
Ряд 1 |
Ряд 2 |
||||||||||||||||
|
10 |
100 |
70 |
42 |
24 |
34 |
23 |
35 |
18 |
35 |
50 |
14 |
14 |
4 |
2 |
4 |
4 |
3 |
3 |
6,5 |
9 |
2,8 |
М12 |
М12 |
|
15 |
105 |
75 |
47 |
29 |
39 |
28 |
40 |
24 |
55 |
||||||||||||||
|
20 |
125 |
90 |
58 |
36 |
50 |
35 |
51 |
30 |
45 |
58 |
18 |
18 |
М16 |
М16 |
|||||||||
|
25 |
135 |
100 |
68 |
43 |
57 |
42 |
58 |
35 |
50 |
68 |
|||||||||||||
|
32 |
150 |
110 |
78 |
51 |
65 |
50 |
66 |
42 |
65 |
78 |
22 |
22 |
М20 |
М20 |
|||||||||
|
40 |
165 |
125 |
88 |
61 |
75 |
60 |
76 |
52 |
75 |
88 |
3 |
||||||||||||
|
50 |
195 |
145 |
102 |
73 |
87 |
72 |
88 |
63 |
85 |
102 |
26 |
26 |
8,0 |
12 |
4,0 |
М24 |
М24 |
||||||
|
65 |
220 |
170 |
122 |
95 |
109 |
94 |
110 |
85 |
110 |
140 |
8 |
||||||||||||
|
80 |
230 |
180 |
133 |
106 |
120 |
105 |
121 |
97 |
115 |
150 |
|||||||||||||
|
100 |
265 |
210 |
158 |
129 |
149 |
128 |
150 |
124 |
145 |
175 |
30 |
30 |
4,5 |
3,5 |
М27 |
М27 |
|||||||
|
125 |
310 |
250 |
184 |
155 |
175 |
154 |
176 |
153 |
175 |
210 |
33 |
33 |
М30 |
М30 |
|||||||||
|
150 |
350 |
290 |
212 |
183 |
203 |
182 |
204 |
181 |
205 |
250 |
12 |
||||||||||||
|
(175) |
380 |
320 |
242 |
213 |
233 |
212 |
234 |
218 |
235 |
280 |
|||||||||||||
|
200 |
430 |
360 |
285 |
239 |
259 |
238 |
260 |
243 |
265 |
285 |
36 |
39 |
М33 |
М36 |
|||||||||
|
(225) |
470 |
400 |
315 |
266 |
286 |
265 |
287 |
270 |
280 |
315 |
39 |
М36 |
|||||||||||
|
250 |
500 |
430 |
345 |
292 |
312 |
291 |
313 |
298 |
320 |
345 |
|||||||||||||
|
300 |
585 |
500 |
410 |
343 |
363 |
342 |
364 |
345 |
375 |
410 |
42 |
45 |
16 |
4 |
5 |
4 |
М39 |
М42 |
|||||
|
350 |
655 |
560 |
465 |
395 |
421 |
394 |
422 |
394 |
420 |
65 |
48 |
52 |
5 |
4 |
11,0 |
17 |
5,8 |
М45 |
М48 |
||||
|
400 |
715 |
620 |
535 |
447 |
473 |
446 |
474 |
445 |
480 |
535 |
|||||||||||||
Таблица 10
Py 16 МПа (160 кгс/см2)
Размеры, мм
|
Проход условный Dy |
D |
D1 |
D2 |
D3 |
D4 |
D5 |
D6 |
D7 |
D8 |
D9 |
d |
n |
h |
h1 |
h2 |
h3 |
b2 |
r |
Номинальный диаметр шпилек |
||||
|
Ряд 1 |
Ряд 2 |
Ряд 1 |
Ряд 2 |
Ряд 1 |
Ряд 2 |
Ряд 1 |
Ряд 2 |
||||||||||||||||
|
15 |
105 |
75 |
47 |
29 |
39 |
28 |
40 |
24 |
35 |
55 |
14 |
14 |
4 |
2 |
4 |
4 |
3 |
3 |
6,5 |
9 |
2,8 |
М12 |
М12 |
|
20 |
125 |
90 |
58 |
36 |
50 |
35 |
51 |
30 |
45 |
58 |
18 |
18 |
М16 |
М16 |
|||||||||
|
25 |
135 |
100 |
68 |
43 |
57 |
42 |
58 |
35 |
50 |
68 |
|||||||||||||
|
32 |
150 |
110 |
78 |
51 |
65 |
50 |
66 |
42 |
65 |
78 |
22 |
22 |
М20 |
М20 |
|||||||||
|
40 |
165 |
125 |
88 |
61 |
75 |
60 |
76 |
52 |
75 |
88 |
3 |
||||||||||||
|
50 |
195 |
145 |
102 |
73 |
87 |
72 |
88 |
63 |
95 |
115 |
26 |
26 |
8,0 |
12 |
4,0 |
М24 |
М24 |
||||||
|
65 |
220 |
170 |
122 |
95 |
109 |
94 |
110 |
85 |
110 |
140 |
8 |
||||||||||||
|
80 |
230 |
180 |
133 |
106 |
120 |
105 |
121 |
97 |
130 |
150 |
|||||||||||||
|
100 |
265 |
210 |
158 |
129 |
149 |
128 |
150 |
124 |
145 |
175 |
30 |
30 |
4,5 |
3,5 |
М27 |
М27 |
|||||||
|
125 |
310 |
250 |
184 |
155 |
175 |
154 |
176 |
153 |
190 |
210 |
33 |
33 |
М30 |
М30 |
|||||||||
|
150 |
350 |
290 |
212 |
183 |
203 |
182 |
204 |
181 |
205 |
250 |
12 |
10,0 |
14 |
4,2 |
|||||||||
|
(175) |
380 |
320 |
242 |
213 |
233 |
212 |
234 |
218 |
255 |
280 |
36 |
11,0 |
17 |
5,8 |
М33 |
||||||||
|
200 |
430 |
360 |
285 |
239 |
259 |
238 |
260 |
243 |
275 |
315 |
39 |
М36 |
М36 |
||||||||||
|
(225) |
470 |
400 |
315 |
266 |
286 |
265 |
287 |
270 |
305 |
350 |
39 |
||||||||||||
|
250 |
500 |
430 |
345 |
292 |
312 |
291 |
313 |
298 |
330 |
380 |
42 |
М39 |
|||||||||||
|
300 |
585 |
500 |
410 |
343 |
363 |
342 |
364 |
345 |
380 |
410 |
45 |
16 |
4 |
5 |
4 |
14,0 |
23 |
8,5 |
М42 |
||||
Таблица 11
Py 20 МПа (200 кгс/см2)
Размеры, мм
|
Проход условный Dy |
D |
D1 |
D2 |
D3 |
D4 |
D5 |
D6 |
D7 |
D8 |
D9 |
d |
n |
h |
h1 |
h2 |
h3 |
b2 |
r |
Номинальный диаметр шпилек |
|
|
15 |
120 |
82 |
47 |
29 |
39 |
28 |
40 |
24 |
40 |
55 |
22 |
4 |
2 |
4 |
3 |
6,5 |
9 |
2,8 |
М20 |
|
|
20 |
130 |
90 |
58 |
36 |
50 |
35 |
51 |
30 |
45 |
58 |
||||||||||
|
25 |
150 |
102 |
68 |
43 |
57 |
42 |
58 |
35 |
50 |
68 |
26 |
М24 |
||||||||
|
32 |
160 |
115 |
78 |
51 |
65 |
50 |
66 |
42 |
65 |
78 |
||||||||||
|
40 |
170 |
124 |
88 |
61 |
75 |
60 |
76 |
52 |
75 |
91 |
3 |
8,0 |
12 |
4,0 |
||||||
|
50 |
210 |
160 |
102 |
73 |
87 |
72 |
88 |
63 |
95 |
129 |
8 |
|||||||||
|
65 |
260 |
203 |
122 |
99 |
109 |
94 |
110 |
85 |
130 |
167 |
30 |
М27 |
||||||||
|
80 |
290 |
230 |
133 |
106 |
120 |
105 |
121 |
97 |
160 |
190 |
33 |
М30 |
||||||||
|
100 |
360 |
292 |
158 |
129 |
149 |
128 |
150 |
124 |
190 |
245 |
39 |
4,5 |
3,5 |
М36 |
||||||
|
125 |
385 |
318 |
184 |
155 |
175 |
154 |
176 |
153 |
205 |
271 |
12 |
10,0 |
14 |
4,2 |
||||||
|
150 |
440 |
360 |
212 |
183 |
203 |
182 |
204 |
181 |
240 |
306 |
45 |
11,0 |
17 |
5,8 |
М42 |
|||||
|
(175) |
475 |
394 |
242 |
213 |
233 |
212 |
234 |
218 |
275 |
340 |
||||||||||
|
200 |
535 |
440 |
285 |
239 |
259 |
238 |
260 |
243 |
305 |
380 |
52 |
М48 |
||||||||
|
(225) |
580 |
483 |
315 |
266 |
286 |
265 |
287 |
- |
- |
- |
56 |
- |
- |
- |
М52 |
|||||
|
250 |
670 |
572 |
345 |
292 |
312 |
291 |
313 |
- |
- |
- |
16 |
|||||||||
1. Фланцы с условными проходами, указанными в скобках, не допускается применять для арматуры общего назначения.
2. Фланцы должны изготовляться с размерами по предпочтительному ряду 2.
3. Для ранее разработанных изделий размеры d и D2, D7 и D9 допускается выполнять по рабочим чертежам до замены технологической оснастки.
Таблица 12
Размеры, мм
|
Условный проход Dy |
Py, МПа (кгс/см2) |
Ряд |
D3, D5 |
D4, D6 |
h1 |
h2 |
|
10 |
До 0,63 (6,3) |
1 |
19 |
31 |
4 |
3 |
|
2 |
18 |
30 |
||||
|
Св. 0,63 (6,3) до 10 (100) |
1; 2 |
23 |
35 |
|||
|
15 |
До 0,63 (6,3) |
1 |
24 |
36 |
||
|
2 |
22 |
34 |
||||
|
Св. 0,63 (6,3) до 20 (200) |
1; 2 |
28 |
40 |
|||
|
20 |
До 0,63 (6,3) |
1 |
31 |
47 |
||
|
2 |
32 |
44 |
||||
|
Св. 0,63 (6,3) до 20 (200) |
1; 2 |
35 |
51 |
|||
|
25 |
До 0,63 (6,3) |
1 |
38 |
54 |
||
|
2 |
40 |
52 |
||||
|
Св. 0,63 (6,3) до 20 (200) |
1; 2 |
42 |
58 |
|||
|
32 |
До 0,63 (6,3) |
1 |
48 |
64 |
||
|
2 |
60 |
|||||
|
Св. 0,63 (6,3) до 20 (200) |
1; 2 |
50 |
66 |
|||
|
40 |
До 0,63 (6,3) |
1 |
55 |
71 |
||
|
2 |
54 |
70 |
||||
|
Св. 0,63 (6,3) до 20 (200) |
1; 2 |
60 |
76 |
|||
|
50 |
До 0,63 (6,3) |
1 |
68 |
84 |
||
|
2 |
65 |
81 |
||||
|
Св. 0,63 (6,3) до 20 (200) |
1; 2 |
72 |
88 |
|||
|
65 |
До 0,63 (6,3) |
1 |
88 |
104 |
||
|
2 |
85 |
101 |
||||
|
Св. 0,63 (6,3) до 20 (200) |
1; 2 |
94 |
110 |
|||
|
80 |
До 0,63 (6,3) |
1 |
102 |
118 |
||
|
2 |
100 |
116 |
||||
|
Св. 0,63 (6,3) до 20 (200) |
1; 2 |
105 |
121 |
|||
|
100 |
До 0,63 (6,3) |
1 |
122 |
144 |
6 |
5 |
|
2 |
116 |
138 |
||||
|
Св. 0,63 (6,3) до 20 (200) |
1; 2 |
128 |
150 |
|||
|
125 |
До 0,63 (6,3) |
1 |
148 |
170 |
||
|
2 |
145 |
167 |
||||
|
Св. 0,63 (6,3) до 20 (200) |
1; 2 |
154 |
176 |
|||
|
150 |
До 0,63 (6,3) |
1 |
175 |
197 |
||
|
2 |
170 |
192 |
||||
|
Св. 0,63 (6,3) до 20 (200) |
1; 2 |
182 |
204 |
|||
|
(175) |
До 0,63 (6,3) |
1 |
205 |
227 |
||
|
2 |
202 |
224 |
||||
|
Св. 0,63 (6,3) до 20 (200) |
1; 2 |
212 |
234 |
|||
|
200 |
До 0,63 (6,3) |
1 |
230 |
252 |
||
|
2 |
228 |
250 |
||||
|
Св. 0,63 (6,3) до 20 (200) |
1; 2 |
238 |
260 |
|||
|
(225) |
До 0,63 (6,3) |
1; 2 |
225 |
277 |
||
|
Св. 0,63 (6,3) до 20 (200) |
1; 2 |
265 |
287 |
|||
|
250 |
До 0,63 (6,3) |
1 |
285 |
307 |
||
|
2 |
282 |
304 |
||||
|
Св. 0,63 (6,3) до 20 (200) |
1; 2 |
291 |
313 |
|||
|
300 |
До 0,63 (6,3) |
1; 2 |
335 |
357 |
||
|
Св. 0,63 (6,3) до 16 (160) |
1; 2 |
242 |
364 |
|||
|
350 |
До 0,63 (6,3) |
1 |
380 |
408 |
||
|
2 |
385 |
407 |
||||
|
Св. 0,63 (6,3) до 10 (100) |
1; 2 |
394 |
422 |
|||
|
400 |
До 0,63 (6,3) |
1 |
430 |
458 |
||
|
2 |
435 |
457 |
||||
|
Св. 0,63 (6,3) до 10 (100) |
1; 2 |
446 |
474 |
|||
|
450 |
До 0,63 (6,3) |
1 |
480 |
508 |
||
|
2 |
488 |
510 |
||||
|
Св. 0,63 (6,3) до 4,0 (400) |
1; 2 |
496 |
524 |
|||
|
500 |
До 0,63 (6,3) |
1 |
530 |
558 |
||
|
2 |
540 |
562 |
||||
|
Св. 0,63 (6,3) до 6,3 (63) |
1; 2 |
548 |
576 |
|||
|
600 |
До 0,63 (6,3) |
1 |
630 |
658 |
||
|
2 |
634 |
662 |
||||
|
Св. 0,63 (6,3) до 6,3 (63) |
1 |
648 |
676 |
|||
|
2 |
650 |
678 |
||||
|
700 |
До 0,63 (6,3) |
1 |
735 |
763 |
||
|
2 |
736 |
764 |
||||
|
Св. 0,63 (6,3) до 4,0 (40) |
1; 2 |
750 |
778 |
|||
|
800 |
До 0,63 (6,3) |
1; 2 |
840 |
868 |
||
|
Св. 0,63 (6,3) до 4,0 (40) |
1 |
855 |
883 |
|||
|
2 |
850 |
878 |
(Измененная редакция, Изм. № 1, 3, 4).
3. Поля допусков посадочных мест под фторопластовые прокладки в сопрягаемых деталях должны соответствовать указанным в табл. 13.
4. Допускается изготовлять фланцы других конструкций с другими исполнениями уплотнительных поверхностей, в том числе с уплотнительными канавками на соединительном выступе или приварном кольце, с обязательным выполнением присоединительных размеров по табл. 2 - 11.
5. Проходы условные - по ГОСТ 28338-89.
Давление номинальное (условное) - по ГОСТ 26349-84.
Давления рабочие - по ГОСТ 356-80.
(Измененная редакция, Изм. № 5).
Таблица 13
|
Диаметр (шипа или паза), мм |
Поле допуска |
|
|
Отверстие |
Вал |
|
|
От 18 до 30 |
Н12 |
b12 |
|
Св. 30 до 130 |
d11 |
|
|
Св. 130 до 260 |
Н11 |
|
|
Св. 260 до 500 |
f9 |
|
|
Св. 500 до 800 |
Н10 |
f9 |
|
Св. 800 до 1000 |
Н9 |
|
(Измененная редакция, Изм. № 3).
(Измененная редакция, Изм. № 3).
(Измененная редакция, Изм. № 5).
7. Допускается фланцы всех исполнений, имеющие 4 отверстия под болты (или шпильки), изготовлять квадратными на Ру £ 4,0 МПа (40 кгс/см2).
8. Допуски размеров D и В:
для чугунных литых и литых стальных фланцев - по 9 классу точности ГОСТ 26645-85;
для фланцев, изготавливаемых из проката обычной точности (В), - по ГОСТ 2590-88 и ГОСТ 2591-88;
для фланцев, изготавливаемых методом кислородной и плазменно-дуговой резки, - по 2-му классу точности ГОСТ 14792-80;
для фланцев штампованных, изготавливаемых методом гибки из полосового проката с последующей сваркой стыка и горячей рихтовкой, - по классу точности Т4 ГОСТ 7505-89, при этом допускается усиление шва, которое при определении предельного отклонения не учитывается;
при изготовлении другими методами - по h16.
(Измененная редакция, Изм. № 4).
(Измененная редакция, Изм. № 5).
9. (Исключен, Изм. № 3).
10. Предельные отклонения номинального размера h:
± 1 мм при h = 2 мм;
± 2 мм при h > 2 мм.
Для литых фланцев допускается выполнение размера h
не менее 2 мм для Dy £ 32 мм
и не менее 3 мм для Dy > 32 мм.
(Измененная редакция, Изм. № 3).
11. Предельные отклонения номинальных размеров:
h1 и h2 + 0,5 мм
D2 ± 4,0 мм
D3, D6 Н12
D4, D5 h12
D7 ± 0,75 мм
D8 ± 0,15 мм
b2, h3 0,4 мм
d Н15
D9 h14
(Измененная редакция, Изм. № 3, 4).
12. Для соединений типа А по ГОСТ 14140-81 позиционный допуск осей отверстий d (допуск зависимый) в диаметральном выражении не должен быть более, мм:
1,0 - для отверстий диаметром 11 мм;
2,0 - для отверстий диаметром от 14 до 26 мм;
3,0 - для отверстий диаметром от 30 до 45 мм;
4,0 - для отверстий диаметром 52 и 56 мм;
6,0 - для отверстий диаметром от 62 до 78 мм.
При изготовлении фланцев с резьбовыми отверстиями (тип В по ГОСТ 14140-81) позиционный допуск осей отверстий d (допуск зависимый) в диаметральном выражении не должен быть более, мм:
0,5 - для отверстий диаметром 11 мм;
1,0 - для отверстий диаметром от 14 до 26 мм;
1,6 - для отверстий диаметром от 30 до 45 мм;
2,0 - для отверстий диаметром 52 и 56 мм;
3,0 - для отверстий диаметром от 62 до 78 мм.
(Измененная редакция, Изм. № 1).
ПРИЛОЖЕНИЕ
Справочное
Информационные данные о соответствии ГОСТ 12815-80 СТ СЭВ 3249-81 СТ СЭВ 3250-81 и СТ СЭВ 3251-81.
Пункт 2 ГОСТ 12815-80 соответствует пунктам: 4 и 5 СТ СЭВ 3249-81; 4, 5 и 6 СТ СЭВ 3250-81; 4 и 5 СТ СЭВ 3251-81.
(Введено дополнительно, Изм. № 2).
ИНФОРМАЦИОННЫЕ ДАННЫЕ
1. РАЗРАБОТАН И ВНЕСЕН Министерством химического и нефтяного машиностроения СССР.
ИСПОЛНИТЕЛИ
М. И. Власов, Ю. И. Тарасьев (руководитель темы), Р. И. Хасанов, О. И. Федоров.
2. УТВЕРЖДЕН И ВВЕДЕН В ДЕЙСТВИЕ Постановлением Государственного комитета СССР по стандартам от 20.05.80 № 2240.
3. Срок проверки - 1992 г.; периодичность проверки 5 лет.
4. Стандарт соответствует СТ СЭВ 3249-81, СТ СЭВ 3250-81, СТ СЭВ 3251-81 в части присоединительных размеров круглых и квадратных фланцев.
5. ВЗАМЕН ГОСТ 1233-67, ГОСТ 1234-67.
6. ССЫЛОЧНЫЕ НОРМАТИВНО-ТЕХНИЧЕСКИЕ ДОКУМЕНТЫ
|
Обозначение НТД, на который дана ссылка |
Номер пункта |
|
ГОСТ 1536-76 |
|
|
ГОСТ 4433-76 |
|
|
ГОСТ 14140-81 |
|
7. Переиздание (ноябрь 1989 г.) с Изменениями № 1, 2, 3, 4, 5, утвержденными в марте 1983 г., декабре 1983 г., декабре 1987 г., сентябре 1980 г, апреле 92 г. (ИУС 6-83, 3-84, 4-88, 12-89, 7-92).